|
(21), (22) Заявка: 2006104495/12, 13.02.2006
(24) Дата начала отсчета срока действия патента:
13.02.2006
(46) Опубликовано: 10.01.2008
(56) Список документов, цитированных в отчете о поиске:
SU 1670311 A1, 15.08.1991. SU 643728 A, 28.01.1979. RU 2131096 C1, 27.05.1999. US 328586 A, 25.10.1966. US 4555908 A, 03.12.1985.
Адрес для переписки:
302016, г.Орел, ул. Латышских Стрелков, 37, кв.410, С.А. Ермакову
|
(72) Автор(ы):
Ермаков Сергей Анатольевич (RU)
(73) Патентообладатель(и):
Ермаков Сергей Анатольевич (RU)
|
(54) СПОСОБ ОХЛАЖДЕНИЯ, ЗАМОРАЖИВАНИЯ ИЛИ НИЗКОТЕМПЕРАТУРНОГО ХРАНЕНИЯ ПРОДУКТОВ, ХОЛОДИЛЬНАЯ КАМЕРА
(57) Реферат:
Изобретение относится к области холодильной техники и может быть использовано в пищевой промышленности для охлаждения, замораживания или низкотемпературного хранения продуктов, в том числе и в регулируемой газовой среде. Способ охлаждения, замораживания или низкотемпературного хранения продуктов в холодильной камере содержит приборы батарейного охлаждения, непосредственно в близости от охлаждающих поверхностей батареи располагают канал, по которому пропускают водосодержащий раствор, замерзающий при низкой температуре, который контактирует с рабочим объемом камеры.
Использование заявленного изобретения позволит осуществлять регулирование концентрации углекислого газа в газовой среде хранилища с пониженным содержанием кислорода, без необходимости воздухообмена между хранилищем и внешними регенерационными устройствами, что снизит степень разбавления газовой среды хранилища наружным воздухом через условно герметичные стены хранилища. 2 н. и 19 з.п. ф-лы, 3 ил.
Изобретение относится к области холодильной техники и может быть использовано в пищевой промышленности для охлаждения, замораживания или низкотемпературного хранения продуктов.
Из уровня техники известно изобретение аналогичного назначения (SU №1670311, F25D 13/00, 1991), которое раскрывает холодильную камеру, содержащую приборы батарейного охлаждения, расположенные вдоль ограждающих потолочных и/или стеновых поверхностей камеры (наиболее близкий аналог).
Указанная холодильная камера (SU №1670311) реализует способ охлаждения, замораживания или низкотемпературного хранения продуктов, содержащий приборы батарейного охлаждения (наиболее близкий аналог).
Недостатком известного изобретения, являющегося наиболее близким аналогом для заявленной группы изобретений, является необходимость периодического размораживания приборов батарейного охлаждения, приводящая к нарушениям режима работы холодильной камеры и требующая сложных приемов и средств для удаления образовавшейся воды из камеры и значительные энергетические и технологические затраты на циркуляцию и очистку среды хранилища.
Задачей группы изобретений является предотвращение конденсации водяных паров из объема камеры на охлаждающих поверхностях приборов батарейного охлаждения, предотвращение конденсации водяных паров в холодных зонах тепловой изоляции ограждающих конструкций камеры.
Технический результат в способе охлаждения, замораживания или низкотемпературного хранения продуктов в холодильной камере, содержащей приборы батарейного охлаждения, достигается за счет того, что непосредственно вблизи от охлаждающих поверхностей батареи располагают канал, по которому пропускают водосодержащий раствор, замерзающий при низкой температуре, контактирующий с рабочим объемом камеры.
Канал имеет форму желоба, который размещают ниже охлаждающей батареи.
Канал соединяют с охлаждающей батареей при помощи тепловых мостиков.
В качестве канала используют наружную поверхность батареи.
Водосодержащий раствор, замерзающий при низкой температуре, перемещают по каналу путем его свободного течения под действием силы тяжести, после чего, при необходимости, корректируют состав раствора, а затем возвращают его в верхнюю часть канала.
Температуру начала замерзания водосодержащего раствора, подаваемого в начало канала, поддерживают на уровне не выше температурной камеры.
Температуру начала замерзания водосодержащего раствора, подаваемого в начало канала, регулируют путем вымораживания избыточной влаги из раствора или путем пропускания раствора над льдом с соответствующей температурой.
Температуру начала замерзания водосодержащего раствора, подаваемого в начало канала, регулируют путем удаления воды из раствора в дистилляционной или ректификационной установке.
В качестве водосодержащего раствора, замерзающего при низкой температуре, применяют водный раствор электролита.
В качестве водосодержащего раствора, замерзающего при низкой температуре, применяют раствор воды в органической жидкости.
В качестве органической жидкости применяют низкомолекулярный спирт или смесь спиртов.
Водосодержащий раствор обладает повышенной поглотительной способностью по отношению к углекислому газу и/или к кислороду, содержащимся в объеме камеры.
Раствор содержит органические и/или неорганические соли угольной кислоты.
Соотношение карбоновых солей к бикарбонатным солям в растворе поддерживают на уровне, при котором равновесное парциальное давление углекислого газа над раствором при рабочей температуре камеры не превышает нормативное парциальное давление углекислого газа в объеме камеры.
После вывода раствора из холодильной камеры его состав корректируют путем частичного удаления из него воды и/или углекислого газа, после чего раствор возвращают в холодильную камеру.
Коррекцию состава раствора осуществляют в десорбционной установке. Между зоной контакта рабочего объема камеры с приборами батарейного охлаждения и между зоной хранения продукта располагают перфорированную перегородку, частично препятствующую конвективному воздухообмену между двумя этими зонами.
Технический результат, заключающийся в устранении указанных недостатков в холодильной камере, содержащей приборы батарейного охлаждения, расположенные вдоль потолочных и/или стеновых поверхностей камеры, достигается за счет того, что между приборами батарейного охлаждения и рабочим объемом камеры расположена перфорированная перегородка, а под приборами батарейного охлаждения расположены желоба, выполненные с возможностью перемещения по ним водосодержащего раствора, замерзающего при низкой температуре. Желоба являются составной частью перфорированной перегородки. Перегородка изготовлена из тонкослойного полимерного материала. В качестве водосодержащего раствора, замерзающего при низкой температуре, применен концентрированный водный раствор электролита или раствор воды в органической жидкости.
Изобретение поясняется чертежами.
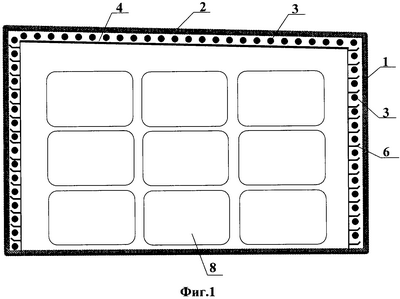
На фиг.1 – общая схема холодильной камеры.
На фиг.2 – конструкция охлаждающей потолочной поверхности камеры.
На фиг.3 – конструкция охлаждающей стеновой поверхности камеры.
Холодильная камера содержит стеновые ограждения 1 и потолочные ограждения 2, приборы 3 батарейного охлаждения, перегородки 4 с отверстиями 5 и желобами 6, по которым протекает водосодержащий раствор 7, замерзающий при низкой температуре. В камере с тепловыми мостиками (на чертеже не показаны) находится продукция 8.
Реализацию способа охлаждения, замораживания или низкотемпературного хранения продуктов осуществляют следующим образом. Продукцию 8 помещают в холодильную камеру, после чего в приборы батарейного охлаждения 3, представляющие собой оребренные трубы, подают хладагент или теплоноситель, охлажденный до необходимой температуры, а в желоба 6, расположенные под приборами батарейного охлаждения 3, подают водный раствор 7, замерзающий при низкой температуре. Охлажденный возле приборов батарейного охлаждения воздух перемещается под действием конвекции к перегородке 4 и к поверхности раствора 7, протекающего по желобам, охлаждая их.
Охлаждаемый раствор 7 поглощает из охлаждающего воздуха влагу, осушая и нагревая воздух, который под действием конвекции возвращается к приборам батарейного охлаждения. В результате пониженного содержания влаги в возвращающемся воздухе, конденсации инея на поверхности приборов батарейного охлаждения не происходит, а если на их поверхности ранее имелся иней, то происходит его сублимационное испарение и удаление с поверхности батарей.
В качестве низкозамерзающего водного раствора применяют концентрированный водный раствор электролита, например раствор хлористого кальция, либо раствор воды в органической жидкости, например раствор этилового спирта или раствор глицерина.
При использовании низкозамерзающего раствора воды в летучей органической жидкости часть жидкости испаряется из раствора и конденсируется на поверхности приборов батарейного охлаждения, после чего стекает обратно в желоба 6, увеличивая интенсивность теплопереноса между раствором и приборами батарейного охлаждения.
Охлажденная перегородка 4 путем теплопроводности передает холод воздуху рабочего объема камеры, который посредством конвекции передает холод продукции, охлаждая или замораживая ее до необходимой температуры. Часть охлажденного осушенного воздуха из зоны приборов батарейного охлаждения через отверстия 5 диффундирует в рабочую зону камеры. Взамен более теплый и более влажный воздух из внутреннего объема камеры через эти же отверстия диффундирует в зону приборов батарейного охлаждения, в которой отдает избыточную влагу протекающему по желобам 6 раствору 7. В непосредственной близости от охлажденной перегородки 4 образуется зона частично осушенного воздуха, в результате чего конденсации инея на поверхностях перегородки не происходит.
Раствор 7, протекающий по желобам 6, поглощает избыточную влагу из охлаждаемого воздуха, при этом в нем растет содержание воды и ухудшаются его влагопоглощающие характеристики. Поэтому раствор 7 после выхода из желобов 6 отводят в специализированное устройство, в котором из него удаляют поглощенную влагу, а затем возвращают сконцентрированный раствор в желоба 6. В качестве специализированного устройства применяют установку криоконцентрирования, выпарную (дистилляционную) установку либо ректификационную установку. Необходимую степень концентрирования раствора определяют по температуре начала замерзания раствора – чем ниже температура начала замерзания, по сравнению с температурой холодильной камеры, тем выше влагопоглотительные характеристики раствора.
После замораживания или охлаждения продукта 8 до рабочей температуры снижают мощность приборов батарейного охлаждения и приближают температуру начала замерзания раствора к рабочей температуре камеры. При этом парциальное давление паров воды над раствором приближается к парциальному давлению паров воды над продуктом, в результате чего относительная влажность воздуха в рабочем объеме камеры приближается к 100% и значительно замедляется усушка продукта. При этих условиях осуществляют длительное низкотемпературное хранение продукта.
При необходимости хранения продукта в газовой среде определенного состава по всем или по части желобов 6 пропускают низкозамерзающий раствор 7, обладающий повышенной поглотительной способностью по отношению к веществу, содержание которого в атмосфере камеры с течением времени самопроизвольно повышается. При этом происходит непрерывная коррекция состава газовой среды, в результате которой содержание данного вещества в атмосфере камеры поддерживается на нормативном уровне. Раствор 7 после выхода из желобов 6 отводят в специализированное устройство, в котором из него удаляют поглощенное вещество и восстанавливают поглотительные характеристики раствора. В качестве раствора, обладающего повышенной поглотительной способностью по отношению к углекислому газу, применяют водный раствор, содержащий соли угольной кислоты, а в качестве специализированного устройства для удаления поглощенного углекислого газа из раствора, применяют десорбционную установку. При этом в желобах 6 происходит повышение содержания бикарбонатных солей в растворе по отношению к карбонатным солям (с одновременным снижением содержания углекислого газа в атмосфере камеры), а в десорбционной установке происходит повышение содержания карбонатных солей в растворе по отношению к бикарбонатным солям (с повышением содержания углекислого газа в удаляемом газе).
Формула изобретения
1. Способ охлаждения, замораживания или низкотемпературного хранения продуктов в холодильной камере, содержащей приборы батарейного охлаждения, отличающийся тем, что непосредственно в близости от охлаждающих поверхностей батареи располагают канал, по которому пропускают водосодержащий раствор, замерзающий при низкой температуре, контактирующий с рабочим объемом камеры.
2. Способ по п.1, отличающийся тем, что канал имеет форму желоба, который размещают ниже охлаждающей батареи.
3. Способ по п.1, отличающийся тем, что канал соединяют с охлаждающей батареей при помощи тепловых мостиков.
4. Способ по п.1, отличающийся тем, что в качестве канала используют наружную поверхность батареи.
5. Способ по п.1, отличающийся тем, что водосодержащий раствор, замерзающий при низкой температуре, перемещают по каналу путем его свободного течения под действием силы тяжести, после чего, при необходимости, корректируют состав раствора, а затем возвращают его в верхнюю часть канала.
6. Способ по п.1, отличающийся тем, что температуру начала замерзания водосодержащего раствора, подаваемого в начало канала, поддерживают на уровне не выше температуры холодильной камеры.
7. Способ по п.1, отличающийся тем, что температуру начала замерзания водосодержащего раствора, подаваемого в начало канала, регулируют путем вымораживания избыточной влаги из раствора или путем пропускания раствора надо льдом с соответствующей температурой.
8. Способ по п.1, отличающийся тем, что температуру начала замерзания водосодержащего раствора, подаваемого в начало канала, регулируют путем удаления воды из раствора в дистилляционной или ректификационной установке.
9. Способ по п.1, отличающийся тем, что в качестве водосодержащего раствора, замерзающего при низкой температуре, применяют водный раствор электролита.
10. Способ по п.1, отличающийся тем, что в качестве водосодержащего раствора, замерзающего при низкой температуре, применяют раствор воды в органической жидкости.
11. Способ по п.10, отличающийся тем, что в качестве органической жидкости применяют низкомолекулярный спирт или смесь спиртов.
12. Способ по п.1, отличающийся тем, что водосодержащий раствор обладает повышенной поглотительной способностью по отношению к углекислому газу и/или к кислороду, содержащимся в объеме камеры.
13. Способ по п.12, отличающийся тем, что раствор содержит органические и/или неорганические соли угольной кислоты.
14. Способ по п.13, отличающийся тем, что соотношение карбонатных солей к бикарбонатным солям в растворе поддерживают на уровне, при котором равновесное парциальное давление углекислого газа над раствором при рабочей температуре камеры не превышает нормативное парциальное давление углекислого газа в объеме камеры.
15. Способ по п.13, отличающийся тем, что после вывода раствора из холодильной камеры его состав корректируют путем частичного удаления из него воды и/или углекислого газа, после чего раствор возвращают в холодильную камеру.
16. Способ по п.15, отличающийся тем, что коррекцию состава раствора осуществляют в десорбционной установке.
17. Способ по п.1, отличающийся тем, что между зоной контакта рабочего объема камеры с приборами батарейного охлаждения и между зоной хранения продукта располагают перфорированную перегородку, частично препятствующую конвективному воздухообмену между двумя этими зонами.
18. Холодильная камера, содержащая приборы батарейного охлаждения, расположенные вдоль потолочных и/или стеновых поверхностей камеры, отличающаяся тем, что между приборами батарейного охлаждения и рабочим объемом камеры расположена перфорированная перегородка, а под приборами батарейного охлаждения расположены желоба, выполненные с возможностью перемещения по ним водосодержащего раствора, замерзающего при низкой температуре.
19. Холодильная камера по п.18, отличающаяся тем, что желоба являются составной частью перфорированной перегородки.
20. Холодильная камера по п.18, отличающаяся тем, что перегородка выполнена из тонкослойного полимерного материала.
21. Холодильная камера по п.18, отличающаяся тем, что в качестве раствора, замерзающего при низкой температуре, применен концентрированный водный раствор электролита или раствор воды в органической жидкости.
РИСУНКИ
|