|
|
(21), (22) Заявка: 2006127354/06, 27.07.2006
(24) Дата начала отсчета срока действия патента:
27.07.2006
(46) Опубликовано: 10.01.2008
(56) Список документов, цитированных в отчете о поиске:
МЕЩЕРЯКОВ Ф.Е. Основы холодильной техники и холодильной технологии. – М.: Пищевая промышленность, 1975, с. 133-135. RU 2230264 С2, 10.06.2004. SU 1747817 A1.15.07.1992. GB 2133518 A, 25.07.1984. US 5433087 А, 18.07.1995. US 5485732 A, 23.01.1996.
Адрес для переписки:
350072, г.Краснодар, ул. Тополиная, 2, ГУ КНИИХ и П с/х прод. РАСХН
|
(72) Автор(ы):
Гущин Анатолий Васильевич (RU), Шаззо Рамазан Измаилович (RU), Саркисов Александр Владимирович (RU)
(73) Патентообладатель(и):
Государственное учреждение Краснодарский научно-исследовательский институт хранения и переработки сельскохозяйственной продукции (RU)
|
(54) ИСПАРИТЕЛЬ ДЛЯ ОХЛАЖДЕНИЯ ТЕПЛОНОСИТЕЛЕЙ
(57) Реферат:
Изобретение относится к холодильной технике и может быть использовано в других отраслях промышленности, например в химической. Испаритель содержит панели, или змеевиковые батареи, или коллекторные батареи, жидкостной и паровой коллекторы с хладагентом. Панели или змеевиковые батареи или коллекторные батареи расположены горизонтально друг под другом со смещением и по периметру обрамлены листовым железом переменной высоты. Панели, или змеевиковые батареи, или коллекторные батареи размещены в металлическом каркасе, жестко соединенном с металлическим поддоном и герметично закрытом по периметру пластиковыми листами. Техническим результатом является возможность получения требуемой температуры теплоносителя и постоянного ее поддержания, сокращение энергозатрат, уменьшение объема теплоносителя, стоимости аппарата и повышение его безопасности. 1 ил.
Изобретение относится к холодильной технике и может быть использовано в других отраслях промышленности, например в химической.
Известен панельный испаритель для охлаждения теплоносителей [Мещеряков Ф.Е. Основы холодильной техники и холодильной технологии. – М: Пищевая промышленность, 1975, с. 134, рис.54].
Недостатком данной конструкции панельного испарителя является применение мешалки с приводом от электродвигателя, невозможность стабильно получать требуемую температуру теплоносителя, большой объем дорогостоящего теплоносителя, что приводит к повышенному расходу электроэнергии на выработку единицы холода, к снижению надежности и безопасности его работы.
Техническим результатом изобретения является возможность получения требуемой температуры теплоносителя и постоянного ее поддержания, сокращение энергозатрат, уменьшение объема теплоносителя, стоимости аппарата и повышение его безопасности.
Технический результат достигается тем, что испаритель для охлаждения теплоносителей содержит панели, или змеевиковые батареи, или коллекторные батареи, жидкостной и паровой коллекторы с хладагентом, причем панели, или змеевиковые батареи, или коллекторные батареи расположены горизонтально друг под другом со смещением и по периметру обрамлены листовым железом переменной высоты, при этом панели, или змеевиковые батареи, или коллекторные батареи размещены в металлическом каркасе, жестко соединенном с металлическим поддоном и герметично закрытом по периметру пластиковыми листами.
Сопоставительный анализ заявляемого технического решения с прототипом показывает, что предлагаемый испаритель отличается конструкцией, имеющей горизонтальное многорядное размещение панелей, змеевиковых, или коллекторных батарей, обрамленных по контуру листовым железом переменной высоты со смещением в сторону слива охлаждаемого теплоносителя, а также имеющей в нижней части металлический поддон и в верхней части пластиковую обшивку.
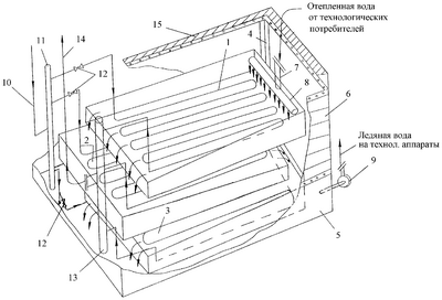
На чертеже изображен испаритель с многорядным горизонтальным расположением панелей.
Испаритель для охлаждения теплоносителей содержит горизонтально размещенные и обрамленные листовым железом панели 1, 2, 3 (вместо панелей можно использовать змеевиковые или коллекторные батареи, горизонтально размещенные в поддонах с переменной высотой боковых и торцовых стенок), размещенные в металлическом каркасе 4, жестко соединенном с металлическим поддоном 5 и герметично закрытом по периметру пластиковыми листами 6 и покрытом теплоизоляцией 15, патрубок 7 с перфорированным коллектором 8, насос 9 для подачи теплоносителя к потребителям, жидкостной трубопровод 10 с жидкостным коллектором 11 и регулирующими вентилями 12, паровой коллектор 13 с трубопроводом отсоса паров хладагента 14.
Испаритель для охлаждения теплоносителей работает следующим образом.
По жидкостному трубопроводу 10 в жидкостной коллектор 11 подается хладагент, который, проходя через регулирующие вентили 12, поступает в горизонтально размещенные панели 1, 2, 3, где происходит его кипение с забором тепла от теплоносителя, а образовавшийся пар хладагента поступает в паровой коллектор 13 и из него по трубопроводу отсоса паров хладагента 14 забирается компрессором.
Отепленный теплоноситель от технологических аппаратов поступает через патрубок 7 в перфорированный коллектор 8 и сливается на холодную поверхность верхней панели 1, проходя по ней охлаждается и переливается последовательно на нижние панели, где теплоноситель также охлаждается и сливается в металлический поддон 5, из которого холодный теплоноситель забирается насосом 9 и подается в технологические аппараты.
Панели 1, 2, 3, обрамленные листовым железом переменной высоты, размещены внутри металлического каркаса 4, герметично закрытого по периметру пластиковыми листами 6 и покрытого теплоизоляцией 15, что позволяет охлаждать теплоноситель до требуемой температуры и поддерживать ее в течение всего цикла термообработки, сократить энергозатраты, уменьшить объем теплоносителя, стоимость аппарата и повысить его безопасность.
Экономический эффект от использования предлагаемого панельного испарителя образуется за счет снижения энергозатрат, стоимости теплоносителя и аппарата, повышения его безопасности.
Формула изобретения
Испаритель для охлаждения теплоносителей, содержащий панели, или змеевиковые батареи, или коллекторные батареи, жидкостной и паровой коллекторы с хладагентом, отличающийся тем, что панели, или змеевиковые батареи, или коллекторные батареи расположены горизонтально друг под другом со смещением и по периметру обрамлены листовым железом переменной высоты, при этом панели, или змеевиковые батареи, или коллекторные батареи размещены в металлическом каркасе, жестко соединенном с металлическим поддоном и герметично закрытом по периметру пластиковыми листами.
РИСУНКИ
MM4A – Досрочное прекращение действия патента СССР или патента Российской Федерации на изобретение из-за неуплаты в установленный срок пошлины за поддержание патента в силе
Дата прекращения действия патента: 28.07.2008
Извещение опубликовано: 10.04.2010 БИ: 10/2010
|
|