|
|
(21), (22) Заявка: 2006100744/06, 10.01.2006
(24) Дата начала отсчета срока действия патента:
10.01.2006
(43) Дата публикации заявки: 20.07.2007
(46) Опубликовано: 10.01.2008
(56) Список документов, цитированных в отчете о поиске:
RU 8789 U1, 16.12.1998. RU 2215963 C2, 10.11.2003. RU 11595 U1, 16.10.1999. SU 173546 A1, 01.01.1965. GB 1315055 A, 26.04.1973.
Адрес для переписки:
614034, г.Пермь, ул. Панфилова, 10, кв.90, пат. пов. С.С. Рочеву, №129
|
(72) Автор(ы):
Рейс Виктор Евгеньевич (RU)
(73) Патентообладатель(и):
Рейс Виктор Евгеньевич (RU)
|
(54) ТРУБЧАТЫЙ ТЕПЛОПЕРЕДАЮЩИЙ МОДУЛЬ
(57) Реферат:
Изобретение относится к теплотехнике, касается теплообменных и теплопередающих устройств, а именно трубчатых теплопередающих модулей, и может использоваться в системах водяного отопления жилых зданий. Изобретение заключается в том, что трубчатый теплопередающий модуль содержит кожух и размещенный в кожухе трубчатый теплопередающий элемент с оребрением, который включает как минимум одну металлическую трубу и пакет оребряющих пластин с шайбами, расположенными между пластинами и обеспечивающими заданный шаг между пластинами, определяемый толщиной шайбы. При этом каждая шайба выполнена из алюминия, имеет форму вертикально вытянутого ромба со сглаженными тупыми углами и скреплена с оребряющими пластинами. Кожух в своих противоположных вертикальных стенках имеет как минимум два соосных отверстия, а каждая оребряющая пластина и каждая шайба имеют как минимум одно отверстие для размещения в них упомянутой трубы, которая через указанные отверстия вставлена в размещенный внутри кожуха пакет оребряющих пластин с шайбами и скреплена с последними. Такое техническое решение позволяет увеличить теплопередачу от трубы к пластинам при упрощении технологии изготовления трубчатого теплопередающего модуля. 4 ил.
Область техники, к которой относится изобретение
Изобретение относится к трубчатым теплопередающим элементам или комплектам из этих элементов с ребрами для увеличения площади теплопередачи, расположенными снаружи и поперек трубы трубчатого элемента.
Уровень техники
Известен трубчатый радиатор, который содержит трубу, установленную в отверстия оребряющих пластин, имеющих отбортовку. При этом отбортовка в основании имеет конический участок, образующий кольцевые карманы. Карманы смежных пластин сообщены между собой прорезями, выполненными в отбортовке, и заполнены адгезионным лакокрасочным покрытием (а.с. СССР №1366852 А1, М. кл. F28F 1/40, опубликовано 15.01.1988 в Бюл. №2).
Признаки известного радиатора, совпадающие с признаками заявленного изобретения, заключаются в наличии трубы и оребряющих пластин с отверстиями, в которые установлена упомянутая труба и которая скреплена с оребряющими пластинами.
Причина, препятствующая получению в известном техническом решении технического результата, который обеспечивается изобретением, заключается в использовании отбортовки для скрепления оребряющих пластин с трубой, выполненной с коническим участком, в неполном использовании теплоотдающей наружной поверхности, в использовании адгезионного лакокрасочного заполнения зазоров, имеющего низкие теплопередающие свойства, в отсутствии кожуха теплообменного модуля.
Наиболее близким аналогом (прототипом) является теплопередающий элемент, состоящий из металлической трубы и пакета оребряющих пластин, каждая из которых имеет центральное отверстие с отбортованным по периметру краем, а труба вставлена в пакет пластин и скреплена с ним при обеспечении заданного шага между пластинами вдоль трубы. При этом крайние пластины пакета и труба скреплены сварными соединениями, а промежуточные пластины и труба скреплены паяными соединениями, образуя паяно-сварное соединение трубы и пакета пластин. Кроме того, оребряющие пластины имеют не менее двух вырубленных и отогнутых перпендикулярно плоскости пластины зубца на высоту, соответствующую расстоянию между пластинами в пакете (Патент RU №2067737 С1, М. кл. F28F 1/24, F28F 1/36).
Признаки известного радиатора, совпадающие с признаками заявленного изобретения, заключаются в наличии трубы и пакета оребряющих пластин, каждая из которых имеет центральное отверстие, а труба вставлена в пакет пластин и скреплена с ним при обеспечении заданного шага между пластинами вдоль трубы.
Причина, препятствующая получению в известном техническом решении технического результата, который обеспечивается изобретением, заключается в использовании отбортовки для скрепления оребряющих пластин с трубой; в использовании не менее двух вырубленных и отогнутых перпендикулярно плоскости пластины зубцов на высоту, соответствующую расстоянию между пластинами в пакете, для обеспечения заданного шага между пластинами, в неполном использовании теплоотдающей наружной поверхности трубы, в отсутствии кожуха теплообменного модуля.
Раскрытие изобретения
Задача, на решение которой направлено изобретение, заключается в увеличении теплопередачи от трубы к пластинам при упрощении технологии изготовления трубчатого теплопередающего модуля, состоящего из кожуха, внутри которого размещен трубчатый теплопередающий элемент.
Технический результат, опосредствующий решение указанной задачи, заключается в тройном функциональном назначении шайб. Каждая шайба, с одной стороны, выполняет функцию элемента, обеспечивающего заданный шаг между пластинами (что исключает необходимость выполнения в пластинах специальных зубцов и отбортовок, усложняющих технологию изготовление пластин), с другой стороны, выполняет функцию элемента, передающего тепло от трубы к пластинам. Передача тепла от трубы к пластинам через шайбу повышает эффективность этой передачи за счет большей площади этой теплопередачи, а также за счет возможности использовать шайбы из алюминия, обладающие (за счет материала) большей теплопроводностью. С третьей стороны, шайба имеет конфигурацию, улучшающую аэродинамические характеристики конвективного потока воздуха вокруг трубы. Технический результат также заключается в том, что многофункциональный кожух модуля защищает от механических повреждений основные детали теплообменного элемента (ребра из листового металла, шайбы между ними), образует вертикальный канал конвективного движения воздуха (обеспечивает «каминный эффект»), служит важным элементом дизайна готового изделия, упрощает технологию изготовления модуля за счет разделения полного технологического цикла на две основные составляющие, первая из которых – это изготовление теплообменного модуля, а вторая – напрессовка необходимого количества модулей на трубу (сборка готового изделия).
Достигается технический результат тем, что трубчатый теплопередающий модуль содержит кожух и размещенный в кожухе трубчатый теплопередающий элемент с оребрением, который включает как минимум одну металлическую трубу и пакет оребряющих пластин с шайбами, расположенными между пластинами и обеспечивающими заданный шаг между пластинами, определяемый толщиной шайбы, при этом каждая шайба выполнена из алюминия, имеет форму вертикально вытянутого ромба со сглаженными тупыми углами и скреплена с оребряющими пластинами, кожух в своих противоположных вертикальных стенках имеет как минимум два соосных отверстия, а каждая оребряющая пластина и каждая шайба имеют как минимум одно отверстие для размещения в них упомянутой трубы, которая через указанные отверстия вставлена в размещенный внутри кожуха пакет оребряющих пластин с шайбами и скреплена с шайбами.
Новые признаки заявленного технического решения заключаются в наличии шайб, расположенных между оребряющими пластинами, при этом шайбы, с одной стороны, скреплены с трубой, а с другой стороны – с указанными пластинами, а также в наличии многофункционального кожуха, образующего вместе с размещенным внутри кожуха теплопередающим элементом теплопередающий модуль.
Краткое описание чертежей
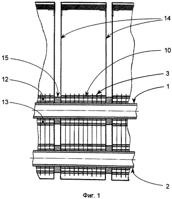
На фиг.1 показан трубчатый теплопередающий модуль в продольном разрезе (в составе отопительной батареи); на фиг.2 отдельно показана оребряющая пластина со стороны ее плоскости, повернутая на 90°; на фиг.3 отдельно показана шайба со стороны ее плоскости, повернутая на 90°; на фиг.4 в аксонометрии показана отопительная батарея, состоящая из нескольких трубчатых теплопередающих модулей.
Осуществление изобретения
Трубчатый теплопередающий модуль содержит кожух 14 и размещенный в кожухе трубчатый теплопередающий элемент с оребрением (1-13). При этом высота кожуха превышает высоту теплопередающего элемента, который расположен в нижней части кожуха.
Трубчатый теплопередающий элемент с оребрением содержит как минимум одну, а в предпочтительном варианте две горизонтально расположенные стальные трубы – верхнюю 1 и нижнюю 2 – и пакет оребряющих пластин 3 с шайбами 10, расположенными между этими пластинами и обеспечивающими заданный шаг между пластинами определяемый толщиной шайбы. Каждая оребряющая пластина 3 выполнена в виде прямоугольного металлического листа (стального или алюминиевого), вытянутого в вертикальном направлении и имеющего отверстия 4 и 5 для размещения в них соответствующих труб 1, 2 и четыре отверстия 6, 7, 8 и 9 для крепления пластин в пакет. Каждая шайба 10 выполнена из алюминия и имеет форму вертикально вытянутого ромба со сглаженными тупыми углами. Такая форма шайбы способствует формированию ламинарного движения нагретого воздуха между пластинами 3 пакета, исключая тем самым возникновение застойных зон. При этом каждая шайба 10 имеет одно отверстие 11 для размещения в нем трубы 1 или 2 и два отверстия 12 и 13 для крепления их в пакет с упомянутыми пластинами 3. Пластины 3 и расположенные между ними шайбы 10 соединены в пакет при помощи четырех стрежней (не показаны), которые продеты через соответствующие соосные отверстия 6, 7, 8 и 9 пластин 3 пакета и соответствующие соосные отверстия 12 и 13 шайб 10 пакета. При помощи указанных стержней пластины 3 и шайбы 10 пакета сжаты в осевом направлении с тем, чтобы обеспечить необходимое скрепление пластин 3 и шайб 10 в единый пакет для обеспечения необходимого теплового контакта между ними в пакете и для обеспечения необходимой жесткости конструкции. Кроме того, в соосные отверстия 4 и 5 пластин 3 и соосные отверстия 11 соответствующих шайб 10 вставлены стальные трубы 1 и 2, которые жестко скреплены с шайбами путем их деформирования в радиальном направлении. Образованный таким образом пакет оребряющих пластин 3 с шайбами 10 расположен в кожухе 14, который в своих противоположных вертикальных стенках имеет две пары соосных отверстий для размещения в них упомянутых труб 1 и 2. При этом кожух 14 выполнен в виде вертикально вытянутого параллелепипеда с открытым верхним и нижним торцами для возможности прохождения воздуха. Кожух 14 с расположенными в нем трубами 1, 2 и пакетом оребряющих пластин 3 с шайбами 10 образуют отдельный трубчатый теплопередающий модуль. При этом указанный модуль может соединяться с другими такими же модулями на основе одной пары труб 1 и 2 посредством шайб 15 с образованием отопительной батареи (фиг.1, 4).
Одним их технологических приемов изготовления модуля может быть замена комплекта шайб между пластинами в пределах одного модуля единым процессом алюминиевого литья. При этом пластины 3 размещаются в специальных пазах пресс-формы для обеспечения заданного шага между пластинами, а конфигурация (сечение) литья соответствует конфигурации шайбы со стороны ее плоскости (фиг.3), причем отлитое таким образом алюминиевое тело должно иметь как минимум одно центральное отверстие для размещения в нем упомянутой трубы.
Работа трубчатого теплопередающего модуля заключается в следующем.
При движении нагретой воды по трубам 1 и 2 тепло от стенок труб передается через алюминиевые шайбы 10 пластинам 3 пакета пластин. Вследствие этого воздух, находящийся между пластинами внутри кожуха 14, нагревается, поднимается вверх, обтекает шайбы 10 и выходит из кожуха 14 наружу через открытый верхний торец кожуха. Одновременно на его место через нижний открытый торец кожуха 14 заходит холодный воздух, который затем нагревается и также поднимается вверх. Таким образом осуществляется непрерывный нагрев воздуха внутри кожуха 14 и непрерывное движение воздуха через кожух 14 снизу вверх, обеспечивая тем самым конвективное нагревание воздуха помещения, в котором установлена батарея из предлагаемых трубчатых теплопередающих модулей. При этом шайбы оказывают минимальное сопротивление движению воздуха благодаря их ромбовидной формы с закругленными тупыми углами.
Формула изобретения
Трубчатый теплопередающий модуль, содержащий кожух и размещенный в кожухе трубчатый теплопередающий элемент с оребрением, который включает как минимум одну металлическую трубу и пакет оребряющих пластин с шайбами, расположенными между пластинами и обеспечивающими заданный шаг между пластинами, определяемый толщиной шайбы, при этом каждая шайба выполнена из алюминия, имеет форму вертикально вытянутого ромба со сглаженными тупыми углами и скреплена с оребряющими пластинами, кожух в своих противоположных вертикальных стенках имеет как минимум два соосных отверстия, а каждая оребряющая пластина и каждая шайба имеют как минимум одно отверстие для размещения в них упомянутой трубы, которая через указанные отверстия вставлена в размещенный внутри кожуха пакет оребряющих пластин с шайбами и скреплена с шайбами.
РИСУНКИ
|
|