|
| На основании пункта 3 статьи 13 Патентного закона Российской Федерации от 23 сентября 1992 г. № 3517-I патентообладатель обязуется передать исключительное право на изобретение (уступить патент) на условиях, соответствующих установившейся практике, лицу, первому изъявившему такое желание и уведомившему об этом патентообладателя и федеральный орган исполнительной власти по интеллектуальной собственности, – гражданину РФ или российскому юридическому лицу. |
|
(21), (22) Заявка: 2005120097/06, 28.06.2005
(24) Дата начала отсчета срока действия патента:
28.06.2005
(43) Дата публикации заявки: 10.01.2007
(46) Опубликовано: 10.01.2008
(56) Список документов, цитированных в отчете о поиске:
ЕР 0281125 А, 07.09.1988. US 4374542 A, 22.02.1983. RU 2031315 C1, 20.03.1995. RU 41118 U1, 10.10.2004. RU 2215246 C1, 27.10.2003. RU 2089785 C1, 10.09.1997. SU 366321 A1, 01.01.1971.
Адрес для переписки:
460048, г.Оренбург, пр-кт Победы, 160, кв.16, А.Ф. Ивашину
|
(72) Автор(ы):
Ивашин Александр Федорович (RU)
(73) Патентообладатель(и):
Ивашин Александр Федорович (RU)
|
(54) КОТЕЛ ОТОПИТЕЛЬНЫЙ
(57) Реферат:
Изобретение предназначено для нагрева теплоносителя и может быть использовано в теплотехнике. Котел содержит топку из теплообменника, состоящего из блоков, собранных из модулей, содержащий кассеты как элементы теплообменника. Поверхности элементов теплообменника состоят из выпукло-полых призм. На входе в топку установлен регулятор тяги в виде жалюзи, на выходе из топки установлен регулятор газодинамический, включающий в себя отражатель и дымоход, закрепленный к отражателю с определенным зазором. В горле отражателя концентрируется центральный основной газовый поток, прикрытый жалюзи, который имеет более низкую скорость перемещения, чем периферийный газовый поток. Изобретение обеспечивает повышение эффективности теплообмена, коэффициента полезного действия (КПД) и экологичности. 6 ил.
Изобретение относится к теплотехнике и предназначено для отопления помещений, комплектования котельных, оборудованных замкнутыми системами отопления непрерывного действия с естественной или принудительной циркуляцией с горелками газовыми атмосферными диффузионными.
Известны устройства для отопления помещений [1, 2], в которых используется принцип сжигания топлива для передачи тепловой энергии теплоносителю в замкнутых системах отопления непрерывного действия.
Подобные устройства обладают следующими общими недостатками:
– большинство котлов выполнено в виде однокамерной схемы теплообменника, что не обеспечивает эффективного теплообмена при соответствующем низком коэффициенте полезного действия (КПД) и завышенном выбросе вредных примесей в атмосферу;
– большинство котлов для выполнения требований по нормам вредных примесей выполняются открытой схемой, т.е. открыта ниша эжекции воздуха из помещения в дымоход, что при опрокидывании тяги небезопасно, т.к. в этом случае не исключена загазованность помещения вредными примесями продуктов сгорания;
– указанные схемы котлов не обеспечивают основного условия для горения в расчетных параметрах – стабильности давления в камере сгорания ввиду отсутствия надежного регулирования газодинамического потока продуктов сгорания на выходе из котла, то есть, не гарантирована стабильность горения, КПД и содержание вредных примесей продуктов сгорания на выходе в дымоходе.
Ближайшим техническим решением, выбранным в качестве прототипа, является «Газовый специальный отопительный котел Atola» [3].
Данное устройство содержит литой из чугуна теплообменник, в модуле которого кассеты выполнены в виде прямолинейной формы внутренних полостей, накопительными сплошными призмами – с наружной стороны.
Целью настоящего изобретения является повышение эффективности теплообмена, (КПД) и экологичности.
Поставленная цель достигается тем, что котел отопительный содержит закрытую топку, состоящую из теплообменника, собранного из модулей, где кассеты, как элементы теплообменника, выполнены в виде поверхности из выпукло-полых призм, обтекаемых с внутренней стороны теплоносителем, с наружной – продуктами сгорания топлива;
регулятор тяги на входе в топку в виде жалюзи;
регулятор газодинамический на выходе из топки, включающий в себя отражатель и дымоход, закрепленный к отражателю с определенным зазором.
Осуществление поставленной цели достигается тем, что в заявленном устройстве основной элемент теплообменника – кассета содержит выпукло-полые призмы, позволяющие получить максимальную теплопередачу, как следствие интенсивной турбулентности газового потока продуктов сгорания и перемешивания теплоносителя при низком сопротивлении трактов как гидравлического, так и газового;
регулятор тяги на входе в котел, обеспечивающий дозированную подачу вторичного воздуха к горелке за счет того, что жалюзи открываются с направлением потока воздуха в сторону фронтального листа крепления горелки, обеспечивая оптимальное перемешивание его с продуктами первичного горения;
регулятор газодинамический на выходе из топки, содержащий отражатель и дымоход, закрепленный на пилонах к отражателю с определенным зазором, обеспечивающий стабильность давления в топке котла за счет образования в дымоходе газодинамического сопротивления при знакопеременном процессе перемещения продуктов сгорания, физический смысл чего объясняется газодинамикой котла на крайних режимах работы:
– при ситуации мгновенного увеличения тяги газовые потоки идут по двум путям с разными сопротивлениями, то есть с разной скоростью перемещения, а именно – центральный основной поток, прикрытый жалюзи, отстает от периферийного и, встречая на пути отражатель, концентрируется в его горле, дросселируясь на выходе с интенсивным завихрением, периферийный поток при этом, разгоняясь и обтекая отражатель с внешней стороны в зоне пилонов, дросселируется в зазоре между дымоходом и отражателем также с завихрением, где оба вихря потоков центрального и периферийного, встречаясь, создают на выходе газодинамическое сопротивление, стабилизирующее давление в топке котла, что обуславливает стабильность и полноту сгорания топлива в расчетных параметрах;
– при опрокидывании тяги в дымоходе схема газодинамики процессов в котле обратная:
газовый поток, устремляясь по двум путям, также мгновенно не изменяет давления в камере, так как в основной массе, встречая на пути отражатель, уходит в периферийные зоны наименьшего сопротивления, причем, достигая огневого фронта, перемещается в зону наибольшего разогрева – в центр, на дожиг и, наряду с условиями ситуации мгновенного увеличения тяги, создает условия стабильности и полноты сгорания топлива в расчетных параметрах и, при одновременном соблюдении соотношения и смешения газа и подаваемого воздуха, обеспечивает полноту сгорания топлива при минимальном выбросе вредных примесей в окружающую среду, что подтверждено испытаниями [4].
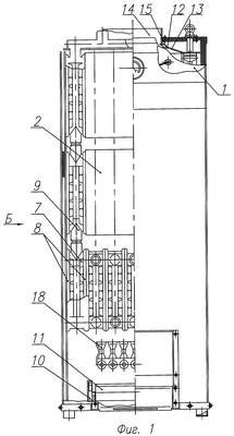
На фиг.1, 2 – схема котла отопительного.
На фиг.3 – аксонометрическое изображение котла отопительного.
На фиг.4 – изображение блока теплообменника.
На фиг.5 – конструктивные элементы теплообменника.
На фиг.6 – общий вид котла отопительного.
Заявляемый котел отопительный содержит закрытую топку 1 из многоуровневого теплообменника 2, состоящего из блоков 3, 4, 5, собранных из модулей 7, кассеты 8 которых соединены между собой посредством коллектора 9, регулятор тяги 10, собранный из жалюзи 11, регулятор тяги газодинамический 12, включающий в себя отражатель 13, установленный на выходе блока 5, дымоход 14, закрепленный на пилонах 15 к отражателю 13 с определенным зазором, теплоизоляцию 16, облицовку 17, горелку газовую 18, термометр 19.
Принцип действия котла отопительного.
Обогащенное газом и перемешанное с первичным воздухом в горелке топливо поступает для сгорания в топку 1, где решается одна из основных задач по соотношению и смешению газа и воздуха, как условия обеспечения полноты сгорания топлива за счет дозированной подачи переменной, вторичной части воздуха, поступающего через жалюзи 11 регулятора 10.
Решение задачи обеспечения стабильности давления в топке 1, как основного условия реализации расчетных параметров процесса горения, выполняется регулятором тяги газодинамическим 12, установленным на выходе блока 5 теплообменника 2 за счет образования на выходе в дымоходе 14 газодинамического сопротивления при знакопеременном процессе перемещения продуктов сгорания топлива, физический смысл чего объясняется газодинамикой котла на крайних режимах работы:
– при ситуации мгновенного увеличения тяги газовые потоки идут по двум путям с разными сопротивлениями, а значит, разной скоростью перемещения, а именно – центральный поток отстает от периферийного и, встречая на пути отражатель 13, концентрируется в его горле, дросселируясь на выходе в дымоход с интенсивным завихрением, при этом периферийный поток, обтекая отражатель 13 с внешней стороны в зоне пилонов 15, дросселируется в зазоре между дымоходом 14 и отражателем 13, где оба вихря потоков центрального и периферийного, встречаясь, создают газодинамическое сопротивление, стабилизирующее давление в топке 1;
– при ситуации опрокидывания тяги в дымоходе 14 схема газодинамики процессов в топке 1 – обратная: сопротивление газового потока также удерживает стабильным давление в топке, так как в основной массе, встречая на пути отражатель 13, уходит через зазор между дымоходом 14 и отражателем 13 в периферийную зону наименьшего сопротивления, причем, достигая огневого фронта горелки 18, перемещается в зону наибольшего разогрева в центр на дожиг, чем создаются условия стабильности и полноты сгорания топлива в расчетных параметрах, обеспечивая минимальный выброс вредных примесей в окружающую среду, что способствует одновременно и повышению коэффициента полезного действия котла;
– наряду с условием полноты сгорания, задача повышения эффективности котла, его КПД, решается применением в кассете 8, как элементе теплообменника, выпукло-полых поверхностей в виде призм, позволяющих получить максимальную теплопередачу за счет интенсивной турбулентности газового потока продуктов сгорания и перемешивания теплоносителя при относительно низком сопротивлении трактов, как гидравлического, так и газового.
Источники информации
1. Бытовые отопительные котлы отечественного производства: [рекламный буклет] / ОАО «Новосергиевский механический завод». – Новосергиевка: ИПК «Южный Урал», 2001. – 14 с.
2. Котлы отопительные газовые водогрейные: [рекламный лист] / По «Стрела». Оренбург, [б.г.]. – 1 л.
3. Газовые специальные отопительные котлы Atola: [рекламный лист] / Viessmann Warke. – М., 1995. – 4 с.
Аттестационные материалы:
Санитарно-эпидемиологическое заключение 56.01.07.515.11.000746.10.03 от 07.10.2003 г. Котлы отопительные водогрейные газовые типа КО-ГВ-10; КО-ГВ-12,5; КО-ГВ-20; КО-ГВ-25; КО-ГВ-31,5; КО-ТГВ-16; КОГ-100 / Гос. сан.-эпидем. Служба РФ. Гл. Гос. врач по Оренб. Обл. – 1 л.
Сертификат соответствия № РООСС RU. АЮ96.В02887. Котлы отопительные водогрейные газовые типа КО-ГВ-10; КО-ГВ-12,5; КО-ГВ-20; КО-ГВ-25; КО-ГВ-31,5; КО-ТГВ-16; КОГ-100 / Система сертификации ГОСТ Р Госстандарт России – Срок действия с 17.09.2004 по 05.07.2005. – 1 л.
Разрешение №4600011 на изготовление и применение “Котлов отопительных водогрейных газовых” типа КО-ГВ-10; КО-ГВ-12,5; КО-ГВ-20; КО-ГВ-25; КО-ГВ-31,5; КО-ТГВ-16; КОГ-100 / Госгортехнадзор России. – 2003. – 1 л.
Акт №14/34 квалификационных испытаний котла КОГ 100 (с протоколом испытаний) ПО «Стрела» – 2002. – 11 л.
Формула изобретения
Котел отопительный, содержащий топку из теплообменника, состоящего из блоков, собранных из модулей, содержащий кассеты как элементы теплообменника, поверхности которых состоят из призм, отличающийся тем, что поверхности элементов теплообменника состоят из выпукло-полых призм, на входе в топку установлен регулятор тяги в виде жалюзи, на выходе из топки установлен регулятор газодинамический, включающий в себя отражатель и дымоход, закрепленный к отражателю с определенным зазором, при этом в горле отражателя концентрируется центральный основной газовый поток, прикрытый жалюзи, который имеет более низкую скорость перемещения, чем периферийный газовый поток.
РИСУНКИ
|
|