|
|
(21), (22) Заявка: 2004122554/06, 23.07.2004
(24) Дата начала отсчета срока действия патента:
23.07.2004
(43) Дата публикации заявки: 20.01.2006
(46) Опубликовано: 10.01.2008
(56) Список документов, цитированных в отчете о поиске:
RU 2133922 C1, 27.07.1999. RU 2098287 C1, 10.12.1997. SU 1370383 A, 30.01.1988. GB 1464626 А, 16.02.1977. US 5673568 А, 07.10.1997.
Адрес для переписки:
117342, Москва, ул. Миклухо-Маклая, 65, корп.4, кв.34, пат.пов. И.Л.Стояченко
|
(72) Автор(ы):
Лебедев-Красин Олег Юрьевич (RU), Цыбин Николай Григорьевич (RU)
(73) Патентообладатель(и):
ОБЩЕСТВО С ОГРАНИЧЕННОЙ ОТВЕТСТВЕННОСТЬЮ “ЛКЦ-НАУКА” (RU)
|
(54) УСТРОЙСТВО ДЛЯ КОНДИЦИОНИРОВАНИЯ ВОЗДУХА
(57) Реферат:
Устройство для кондиционирования воздуха предназначено для вентиляции и/или отопления помещений химических, металлургических, сварочных, литейных, гальванических производств, вызывающих значительное загрязнение воздуха в помещениях и требующих большого расхода вентиляционного воздуха, а также жилых зданий и сооружений. Устройство содержит камеру нагрева выходящего из помещения воздуха, оборудованную нагревателем, регенеративные емкости, напорный воздуховод, оборудованный напорным вентилятором, и вытяжной воздуховод, оборудованный вытяжным вентилятором. Регенеративные емкости снабжены заслонками, обеспечивающими возможность поочередного сообщения каждой из регенеративных емкостей с атмосферой и напорным воздуховодом, а также с камерой нагрева выходящего воздуха и атмосферой. Вытяжной воздуховод сообщен с камерой нагрева выходящего воздуха. В способе эксплуатации устройства для кондиционирования воздуха заслонки периодически переключают для поочередного сообщения каждой из регенеративных емкостей с атмосферой и напорным воздуховодом, а также с камерой нагрева выходящего воздуха и атмосферой. Технический результат – уменьшение расхода энергии за счет использования низкопотенциального тепла. 2 н. и 7 з.п. ф-лы, 1 ил.
Настоящее изобретение относится к устройствам, предназначенным для вентиляции и/или отопления помещений химических, металлургических, сварочных, литейных, гальванических производств, вызывающих значительное загрязнение воздуха в помещениях и требующих большого расхода вентиляционного воздуха, а также жилых зданий и сооружений.
Известно устройство для кондиционирования воздуха, содержащее камеру нагрева воздуха, нагреватель, напорный воздуховод, напорный вентилятор и (регулирующие) заслонки (патент России №2098287, кл. В60Н 1/00, 1997). Данное устройство не решает задачу обеспечения экономного расхода энергии для кондиционирования воздуха, так как не предусматривает использования тепла выходящего воздуха.
Известно также устройство для кондиционирования воздуха, предназначенное для обработки воздуха и подачи его в помещение. Система кондиционирования воздуха содержит по меньшей мере один блок кондиционирования и связанный с ним через теплообменник контур теплоносителя и систему управления, выполненную в виде центрального блока, размещенного в контуре теплоносителя, контроллера управления и блока подключения к контуру теплоносителя, установленных в блоке кондиционирования (патент России №2133922, кл. F24F 11/00, 1999). Данное решение не использует низкопотенциальное тепло воздуха, выходящего из помещения, поэтому также оставляет резерв для экономии энергии.
Задачей настоящего изобретения является создание устройства для кондиционирования воздуха, обеспечивающего меньший расход энергии за счет использования низкопотенциального тепла, запасенного вентиляционным воздухом, выходящим из обслуживаемого помещения.
Задача решена путем создания устройства для кондиционирования воздуха, содержащего камеру нагрева выходящего из помещения воздуха, оборудованную нагревателем, регенеративные емкости, напорный воздуховод, оборудованный напорным вентилятором, и вытяжной воздуховод, оборудованный вытяжным вентилятором, в котором, согласно изобретению, регенеративные емкости снабжены заслонками с механизмом синхронного привода и управления, обеспечивающим возможность поочередного сообщения каждой из регенеративных емкостей с атмосферой и напорным воздуховодом, а также с камерой нагрева выходящего воздуха и атмосферой, причем вытяжной воздуховод сообщен с камерой нагрева выходящего воздуха.
Сообщение камеры нагрева с вытяжным воздуховодом позволяет использовать в камере нагрева не холодный атмосферный воздух, а теплый воздух, удаляемый из помещения, в результате затраты тепла на его нагрев существенно сокращаются. Снабжение регенеративных емкостей заслонками с механизмом синхронного привода и управления, обеспечивающим возможность поочередного сообщения одной из них с атмосферой и напорным воздуховодом, а другой – с камерой нагрева выходящего воздуха и атмосферой, позволяет производить поочередный нагрев регенеративной набивки в регенеративных емкостях воздухом, выходящим из камеры нагрева и, соответственно, нагрев атмосферного воздуха, когда он проходит через нагретую регенеративную набивку, перед подачей его по напорному воздуховоду в помещение. Таким образом нагрев атмосферного воздуха, подаваемого в помещение, происходит не только за счет использования тепловой энергии внешнего источника, но и за счет использования низкопотенциального тепла и влаги воздуха, выходящего из помещения.
Целесообразно, чтобы камера нагрева выходящего воздуха была оборудована каталитическим нагревателем.
Использование каталитических нагревателей обеспечивает наибольшую полноту сгорания топлива (около 98%) и экологическую чистоту нагретого воздуха.
Целесообразно, чтобы каждая регенеративная емкость была выполнена с двумя перфорированными стенками и заполнена регенеративной набивкой, в качестве которой использован гравий или металлическая стружка.
Выполнение регенеративных емкостей с двумя перфорированными стенками обеспечивает свободный проход через них вентиляционного воздуха, а использование в качестве регенеративной набивки гравия или металлической стружки – очистку и теплообмен между воздухом, исходящим и нагнетаемым в помещение.
Целесообразно, чтобы каждая регенеративная емкость в качестве регенеративной набивки была заполнена смесью металлической стружки и угля, например, смесью железной или стальной стружки и угля и оборудована вибратором, например, электромагнитным.
В этом случае каждая регенеративная емкость образует гальванокоагулятор, обеспечивающий очистку воздуха от тяжелых металлов и ряда других соединений, оборудование регенерующих емкостей вибратором обеспечивает периодическое встряхивание регенеративной набивки и восстановление качества ее работы.
Поставленная задача решается также способом эксплуатации устройства для кондиционирования воздуха, в котором заслонки периодически переключают для поочередного сообщения каждой из регенеративных емкостей с атмосферой и напорным воздуховодом, а также с камерой нагрева выходящего воздуха и атмосферой.
Целесообразно такое осуществление способа, в котором через заранее заданное число переключения заслонок содержимое каждой из регенеративных емкостей подвергают профилактическому прокаливанию посредством увеличения времени его контакта с воздухом, нагретым нагревателем, или посредством увеличения температуры нагретого воздуха. Это позволяет поддерживать в рабочем состоянии регенеративную набивку и избавляться от вредных бактерий, накопившихся в ней за время работы.
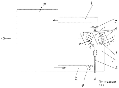
Изобретение поясняется чертежом, на котором схематично изображено предлагаемое устройство.
Устройство содержит камеру нагрева 1 выходящего воздуха, оборудованную нагревателем 2, регенеративные емкости 3 и 4, снабженные заслонками 5, с механизмом их синхронного привода и управления (на чертеже не показан), вытяжной воздуховод 6, сообщенный с камерой нагрева выходящего воздуха 1 и оборудованный вытяжным вентилятором 7, напорный воздуховод 8, установленный с возможностью поочередного последовательного сообщения с одной из регенеративных емкостей 3 или 4 и оборудованный напорным вентилятором 9.
В качестве нагревателя 2 может быть использован любой источник тепла, например газовая горелка, однако по соображениям безопасности, обеспечения полноты сгорания топлива и экологической чистоты оптимальным является применение каталитических нагревателей.
Каждая регенеративная емкость выполнена с двумя перфорированными стенками, соответственно, регенеративная емкость 3 с перфорированными стенками 10 и 11, а регенеративная емкость 4 с перфорированными стенками 12 и 13, и заполнена регенеративной набивкой 14, например гравием или металлической стружкой. Важным вариантом выполнения регенеративных емкостей 3 и 4 является их заполнение в качестве регенеративной набивки 14 смесью железной или стальной стружки и угля, а также оснащение регенеративных емкостей 3 и 4 вибратором, например электромагнитом для встряхивания регенеративной набивки 14. В этом случае каждая регенеративная емкость образует гальванокоагулятор, обеспечивающий химическую очистку воздуха от тяжелых металлов и ряда других соединений, кроме того, образуются продукты коагуляции, пригодные для легирования сталей.
Устройство для кондиционирования воздуха работает следующим образом.
Теплый и влажный воздух из помещения 15 по вытяжному воздуховоду 6 вытяжным вентилятором 7 подается в камеру нагрева 1 выходящего воздуха, где он нагревается нагревателем 2 (при этом также сжигаются выходящие из помещения 15 с воздухом летучие органические примеси), и при одном из положений заслонок 5 через перфорированную стенку 12 поступает в регенеративную емкость 4 и через перфорированную стенку 13 выходит в атмосферу. При прохождении теплого воздуха через регенеративную емкость 4 температура всего объема регенеративной набивки 14 в регенеративной емкости 4 повышается, а выходящего воздуха снижается почти до атмосферной температуры, при этом выпадает конденсат, который смачивает поверхность регенеративной набивки 14 и испаряется при нагреве сухого атмосферного воздуха, а частично стекает в дренаж. Конденсат образуется за счет возможного повышения влажности воздуха в помещении, а также за счет сжигания топлива в нагревателе. Температура регенеративной набивки 14 при прохождении через нее теплого выходящего воздуха распределяется по линейному закону, причем температура регенеративной набивки 14 со стороны перфорированнной стенки 12 близка к к температуре нагретого воздуха, выходящего из камеры нагрева 1, а со стороны перфорированной стенки 13 близка к температуре атмосферного воздуха.
Одновременно с выбросом в атмосферу загрязненного воздуха через регенеративную емкость 4 происходит всасывание из атмосферы сухого холодного воздуха в регенеративную емкость 3 через перфорированную стенку 10 за счет действия напорного вентилятора 9. При этом за счет ранее прошедших циклов работы температура регенеративной набивки 14 в регенеративной емкости 3 распределена по линейному закону, причем температура регенеративной набивки 14 со стороны перфорированной стенки 11 близка (ниже) к температуре воздуха, выходящего из камеры нагрева 1, а температура регенеративной набивки 14 со стороны перфорированной стенки 10 приближается к температуре атмосферного воздуха (выше).
Атмосферный воздух, проходя влажную нагретую регенеративную набивку 14, нагревается, увлажняется и очищается, после чего напорным вентилятором 9 по напорному воздуховоду 8 подается в помещение 15. Параметры влажности воздуха в помещении 15 регулируются соотношением производительности вытяжного 7 и напорного 9 вентиляторов, при необходимости уменьшения влажности воздуха выбирается повышенная производительность вытяжного вентилятора 7, отсос воздуха из помещения 15 в этом случае превышает его подачу напорным вентилятором 9 и происходит дополнительный подсос атмосферного воздуха в помещение 15 через неплотности стен и окон, в результате чего влажный воздух, подаваемый в помещение 15 напорным вентилятором 9, разбавляется сухим атмосферным воздухом, и влажность воздуха в помещении 15 понижается.
Устройство может работать в режиме охлаждения воздуха путем увлажнения регенеративной набивки 14 в регенеративных емкостях 3 и 4 циркулирующей водой (адиабатное охлаждение) либо водой из внешнего холодного источника.
Известно, что потери тепла с вентиляционным воздухом весьма значительны и часто превышают потери тепла через ограждающие конструкции. Эти потери считаются неизбежными и, как правило, не принимаются никакие меры по полезному использованию сбрасываемого с вентиляционным воздухом низкопотенциального тепла и влаги.
Предлагаемое устройство позволяет вернуть и использовать для отопления свыше 90% явного и скрытого низкопотенциального тепла при низкой металлоемкости и невысокой себестоимости устройства. Наилучшие результаты ожидаются при совмещении устройства с автономной системой отопления зданий и сооружений.
Устройство может размещаться на крыше здания или сооружения в непосредственной близости от выхода подающего и сборного воздуховодов каждого подъезда. Загрязненный воздух перед сбросом в атмосферу обрабатывается таким образом, что его влажность и температура приближаются к соответствующим параметрам атмосферы. Запасенное выходящим воздухом тепло и влага передаются входящему воздуху, который дополнительно нагревается за счет подвода тепла при сжигании топлива (газ, нефтепродукты) и через напорный воздуховод раздается по отапливаемым помещениям.
В летнее время устройство позволяет уменьшить поступление тепла в здание и за счет адиабатного испарения воды снизить температуру внутри здания.
Устройство целесообразно использовать как при новом строительстве, так и при реконструкции зданий и сооружений, в том числе с центральным отоплением. Представляет интерес примененние устройства в городах и поселках с неустойчивым теплоснабжением, приводящим к замерзанию труб.
Предлагаемое устройство, как показывают расчеты, обеспечивает по сравнению с известными устройствами для кондиционирования воздуха снижение затрат тепла на кондиционирование и/или отопление помещений в 1,5-2,9 раза за счет использования низкопотенциального тепла выходящего вентиляционного воздуха для подогрева нагнетаемого вентиляционного воздуха.
Формула изобретения
1. Устройство для кондиционирования воздуха, содержащее камеру нагрева выходящего из помещения воздуха, оборудованную нагревателем, регенеративные емкости, напорный воздуховод, оборудованный напорным вентилятором, и вытяжной воздуховод, оборудованный вытяжным вентилятором, при этом регенеративные емкости снабжены заслонками, обеспечивающими возможность поочередного сообщения каждой из регенеративных емкостей с атмосферой и напорным воздуховодом, а также с камерой нагрева выходящего воздуха и атмосферой, причем вытяжной воздуховод сообщен с камерой нагрева выходящего воздуха.
2. Устройство по п.1, в котором камера нагрева выходящего воздуха оборудована каталитическим нагревателем.
3. Устройство по п.1, в котором каждая регенеративная емкость выполнена с двумя перфорированными стенками и заполнена регенеративной набивкой.
4. Устройство по п.3, в котором регенеративная емкость в качестве регенеративной набивки заполнена гравием или металлической стружкой.
5. Устройство по п.3, в котором регенеративная емкость в качестве регенеративной набивки заполнена смесью металлической стружки и угля.
6. Устройство по п.5, в котором регенеративная емкость в качестве регенеративной набивки заполнена смесью железной или стальной стружки и угля.
7. Устройство по п.3, в котором регенеративные емкости оборудованы вибратором, например электромагнитным.
8. Способ эксплуатации устройства для кондиционирования воздуха, в котором заслонки периодически переключают для поочередного сообщения каждой из регенеративных емкостей с атмосферой и напорным воздуховодом, а также с камерой нагрева выходящего воздуха и атмосферой.
9. Способ по п.8, в котором через заранее заданное число переключения заслонок содержимое каждой из регенеративных емкостей подвергают профилактическому прокаливанию посредством увеличения времени его контакта с воздухом, нагретым нагревателем, или посредством увеличения температуры нагретого воздуха.
РИСУНКИ
|
|