|
|
(21), (22) Заявка: 2002118695/06, 11.01.2001
(24) Дата начала отсчета срока действия патента:
11.01.2001
(30) Конвенционный приоритет:
12.01.2000 US 09/481,433
(43) Дата публикации заявки: 27.02.2004
(46) Опубликовано: 10.01.2008
(56) Список документов, цитированных в отчете о поиске:
RU 2047812 C1, 11.10.1995. Обзорная Информация Серия: “ТРАНСПОРТ И ПОДЗЕМНОЕ ХРАНЕНИЕ ГАЗА” Использование аккумулирующей способности магистральных газопроводов по всей протяженности, выпуск 3. – ВНИИЭГАЗПРОМ, 1988, с.2-5, 11, 35-36. US 5839383 A, 24.11.1998. US 5333465 A, 02.08.1994.
(85) Дата перевода заявки PCT на национальную фазу:
12.08.2002
(86) Заявка PCT:
US 01/00806 (11.01.2001)
(87) Публикация PCT:
WO 01/51846 (19.07.2001)
Адрес для переписки:
117639, Москва, Балаклавский пр-кт, 12-3-36, пат.пов. Л.И.Щелоковой
|
(72) Автор(ы):
СВАНН Филлип Л. Дж. (US)
(73) Патентообладатель(и):
СВАНН Филлип Л. Дж. (US)
|
(54) УСТАНОВКА ДЛЯ ХРАНЕНИЯ ПРИРОДНОГО ГАЗА В ТРУБАХ
(57) Реферат:
Изобретение относится к области хранения природного газа. Установка для сжатого хранения природного газа содержит средство для сжатия природного газа; средство для расширения природного газа; одну или более выполненных полностью закрытыми систем хранения в стальных трубах для сжатого хранения природного газа; средство для удержания газа внутри упомянутых систем хранения в стальных трубах и управления потоком внутрь и наружу из упомянутых систем содержит инжекционный клапан, удерживающий клапан и доставляющий клапан, при этом упомянутый инжекционный клапан встроен в упомянутую коммунальную линию на стороне всасывания средства для сжатия природного газа, управляя потоком газа из коммунальной линии в упомянутое средство для сжатия природного газа; упомянутый удерживающий клапан встроен в упомянутую систему хранения в трубах на стороне нагнетания упомянутого средства для сжатия природного газа, управляя потоком газа из средства для сжатия природного газа в упомянутую систему хранения в трубах; упомянутый доставляющий клапан встроен в упомянутую систему хранения в трубах на стороне нагнетания упомянутого средства для расширения природного газа, управляя потоком газа из системы в линию потребления; причем упомянутое средство для сжатия природного газа соединено с коммунальной линией, упомянутое средство для расширения природного газа соединено с линией доставки, а упомянутая(ые) система(ы) хранения в стальных трубах соединена(ы) как со средством для сжатия природного газа, так и со средством для расширения природного газа. Изобретение также относится к процессу сохранения газа при высоком давлении и способу заполнения установки для хранения сжатым газом. Техническим результатом изобретения является обеспечение подачи резервного топлива в течение периодов перерывов его подачи от коммунальных компаний. 3 н. и 12 з.п. ф-лы, 9 ил.
Настоящее изобретение относится к недорогому компактному местному устройству для хранения природного газа конечным пользователем, коммунальными службами или компанией по подаче или доставке газа. Конкретнее, настоящее изобретение относится к устройству для хранения природного газа с помощью установки, содержащей систему хранения в стальных трубах, сконфигурированную и сконструированную, как описано здесь, в которой газ хранится в сжатом состоянии. Установка по настоящему изобретению далее содержит системы сжатия и расширения для сжатия природного газа при закачивании из коммунальной транспортной линии, линии доставки или другой подающей транспортной линии в систему хранения в стальных трубах и для расширения газа при извлечении из системы хранения в стальных трубах для закачивания в пользовательскую установку или в трубопровод для доставки и продажи другим. Установка по настоящему изобретению далее содержит средство удержания газа внутри системы хранения в трубах и управления потоком газа внутрь установки и наружу.
Дополнительные системы фильтрации и/или высушивания, которые хоть и не являются обязательными элементами настоящего изобретения, могут быть встроены в установку для удаления воды и загрязняющих веществ из природного газа до того, как он сохраняется в системе хранения в стальных трубах. Далее, установка по настоящему изобретению может выборочно включать в себя множество систем управления, наблюдения и исправления, включая системы наблюдения, измеряющие уровень влажности или воды в газе до закачивания в систему хранения в стальных трубах и катодные защитные системы, уменьшающие ржавление, и измерительные станции, измеряющие уровень ржавления в стальных трубах системы хранения в стальных трубах, как они описаны здесь.
Настоящее изобретение может быть приспособлено для жилых, коммерческих, промышленных и коммунальных применений, дает возможность конечным пользователям покупать природный газ по более низким ценам, позволяет конечным пользователям иметь некоторый резервный источник топлива в качестве первичного источника и дает возможность коммунальным компаниям и другим поставщикам/дистрибьюторам природного газа хранить газ в компактной и недорогой установке.
В настоящее время природный газ доставляется от коммунальной компании или другого поставщика к конечному пользователю посредством местной коммунальной линии доставки газа через измеритель и в линию потребления конечного пользователя для немедленного использования конечным пользователем. Эта доставка происходит при относительно низких давлениях, обычно 5 фунтов/дюйм2 (“psi”). В обмен на низкие скорости некоторые потребители (обычно промышленные или крупные коммерческие потребители) выбирают возможность получать свои поставки природного газа на “прерываемой” основе, что означает, что подача природного газа к ним может быть остановлена или прервана коммунальной компанией или другим поставщиком по множеству причин (например, сокращение из-за чрезмерно холодной погоды и недостаточной пропускной способности линии). Растущие потребности в природном газе и ограниченная пропускная способность коммунальной линии могут увеличить частоту перебоев для многих из этих потребителей.
Крупные потребители, подвергающиеся перерывам в подаче природного газа к ним, обычно имеют альтернативные или резервные источники топлива, такого как пропановое топливо или топливная нефть, хранящиеся в их собственности для использования в периоды перерывов. Использование резервного источника топлива, отличающегося от первичного источника, может сделать предпочтительной дополнительную установку для выработки тепла. Например, там, где топливная нефть используется как резервное топливо, конечный пользователь может иметь резервную установку, содержащую котел или печь, работающие на топливной нефти. Альтернативно, если конечный пользователь, использующий топливную нефть как резервное топливо, не имеет дополнительного котла/печи для сжигания топливной нефти, горелка котла/печи должна быть заменена на совместимую с использованием топливной нефти, когда конечный пользователь переключается на свой резервный источник топлива. Тогда как конечные пользователи, использующие пропан в качестве резервного источника топлива, обычно используют тот же котел, что и используемый для природного газа, они могут счесть необходимым заменить сопло, через которое топливо впрыскивается в горелку котла/печи, до переключения типов топлива, подающегося в котел/печь. Во многих случаях сопло должно быть меньше при использовании пропана по сравнению с природным газом из-за больших тепловых единиц, вырабатываемых при сжигании пропана. Чтобы избежать необходимости менять сопла, некоторые крупные промышленные конечные пользователи, использующие пропановое топливо в качестве резервного источника топлива, имеют альтернативный котел/печь для работы исключительно на пропане. Из-за больших тепловых единиц, вырабатываемых пропаном или топливной нефтью, пользователи этих топлив в качестве резервного источника топлива также должны менять настройки на некотором промышленном оборудовании.
Конечные пользователи, использующие в качестве резервного источника топлива пропан или топливную нефть, должны иметь отдельную установку, соединенную с котлом/печью, для смешивания пропана или топливной нефти с воздухом до впрыскивания в котел/печь. Эта дополнительная установка вызывает определенные расходы для конечного пользователя по поддержанию добавленной установки и обучению персонала работе с упомянутой установкой.
В расчете на одну тепловую единицу (“btu”) пропан и топливная нефть дороже по сравнению с природным газом. Кроме того, тогда как хранение пропана в качестве резервного источника топлива обычно не является загрязняющим, утечка топливной нефти создает опасные условия, подлежащие дорогостоящей очистке согласно правилам и нормам Агентства защиты окружающей среды США и природоохранных агентств штатов. Из-за низкой плотности утечка или выпуск природного газа по своему существу не являются загрязняющими и не имеют длительного воздействия на окружающую среду. Как и пропан, природный газ потенциально горюч, если он смешивается с воздухом рядом с источником зажигания; однако вероятность воспламенения природного газа при использовании настоящего изобретения несущественна в предположении, что установка должным образом изготовлена, установлена, работает и обслуживается. Изобретатель предпочел бы чтобы установка по настоящему изобретению была изготовлена в соответствии с нормами Департамента транспорта (ДТ) (“DOT”) США, регулирующими системы передачи по трубопроводам. Системы передачи по трубопроводам, изготовленные в соответствии с этими нормами, имеют очень высокие характеристики надежности и соответственно малую зону распространения действительного воспламенения.
Поскольку компании по доставке газа меньше заботятся о прерываемых газовых услугах, чем о “фирменных” или непрерываемых услугах, доступность природного газа в качестве резервного источника топлива для использования в периоды перерывов предоставляет конечным пользователям возможность достигнуть значительной экономии расходов на энергию при сокращении расходов, связанных с альтернативными источниками топлива; далее, в свете высокой стоимости пропана и топливной нефти по сравнению с природным газом использование природного газа в качестве резервного источника топлива конечными пользователями будет иметь преимущества. Кроме того, из-за колебаний в ценах на природный газ конечным пользователям будет выгодно закупать значительные количества природного газа, когда цена низкая, и хранить газ до тех пор, пока он не потребуется в течение периодов прерывания или будет желателен в периоды, когда цена на природный газ будет высокой. Наконец, хранение природного газа в качестве резервного источника топлива позволяет конечным пользователям, подвергающимся прерываниям, использовать те же самые топливо и установки в резервных операциях.
В жилых применениях пользователи этого изобретения могут быть способны хранить полный годовой запас природного газа для персонального потребления с возможностью приобретать газ тогда, когда цены минимальны.
Коммунальные и другие компании по доставке газа в настоящее время хранят природный газ в сжатом состоянии в заброшенных солевых пещерах, заброшенных газовых скважинах и других природных подземных резервуарах. Такое хранение, и процессы, и устройства, связанные с ним, описаны в патенте США №4858640. Когда потребность в природном газе превышает текущую поставку, коммунальные компании впрыскивают смесь пропана и воздуха в природный газ, доставляемый конечным пользователям, чтобы увеличить количество подаваемого газа до пригодного уровня. Однако количество тепловых единиц, вырабатываемых смесью пропан-воздух, больше, чем от природного газа, что может вызвать сбои в определенных устройствах и системах (например, что для газовых плит запал установлен на определенный уровень тепловых единиц, характерный для природного газа; превышение тепловых единиц может заставить пламя запала гореть сильнее, увеличивая опасность воспламенения). Станции смешивания пропан-воздух, используемые коммунальными компаниями для смешивания пропана с воздухом (что выполняется компрессорами, разработанными для этой цели) и для впрыскивания смеси в природный газ в линии передачи, регулируются природоохранными и другими регулирующими агентствами штатов и федеральными агентствами, что вызывает относительно высокие расходы на поддержание этих установок и требует наличия специализированного персонала для работы на этих установках.
Коммунальные компании могут получить выгоду от установки для хранения по настоящему изобретению, которая позволяет им компактно хранить дополнительный природный газ, который будет дополнять или исключать необходимость в установках для хранения пропана и впрыскивания смеси пропан-воздух. Далее, коммунальные компании могут стратегически располагать установки по настоящему изобретению рядом с крупными пользователями и густонаселенными районами, устраняя необходимость в увеличении пропускной способности трубопровода. В отличие от существующих местоположений подземных природных резервуаров, установки по настоящему изобретению могут быть стратегически расположены в любом месте, которое является пригодным земельным участком для размещения на нем этой установки.
Изобретателю не известны другие способы хранения природного газа, кроме как в природных резервуарах, на кораблях в целях транспортировки природного газа и в маленьких установках из труб, используемых поставщиками топлива для средств передвижения, приводимых в движения природным газом. Установки для использования перевозчиками природного газа включают те, которые раскрыты в следующих патентах США. Патент США №5839383 описывает хранение сжатого природного газа в сплошной трубе, свернутой в петли и слои и находящейся в контейнере для транспортировки природного газа. Патент США-№5803005 описывает хранение сжатого природного газа с использованием множества газовых цилиндров для транспортировки природного газа кораблем. Сложные системы в этих патентах не только стоят дороже, чем настоящее изобретение, но и не пригодны для эффективного хранения больших количеств природного газа на месте, пригодном для использования конечным пользователем.
Установки для использования в центрах заправки средств передвижения описаны в следующих патентах США. Патент США №5333465 описывает хранение сжатого природного газа в подземных трубах, расположенных вертикально в вытянутом корпусе. Патент США №5207530 описывает подземное хранение сжатого природного газа посредством множества подземных контейнеров для хранения. Опять-таки, системы, раскрытые в этих патентах, требуют много дополнительных и дорогостоящих составляющих и не пригодны для хранения на месте больших количеств газа.
Для эффективного хранения в установке для хранения по настоящему изобретению необходимо и желательно сжать природный газ до более высокого давления (оптимально 500 фунтов/дюйм2), чем стандартное давление, используемое в котлах конечных пользователей (обычно менее 10 фунтов/дюйм2). Далее, независимо от давления конструкция системы хранения в трубах по настоящему изобретению должна соответствовать и превышать Нормы ДТ безопасности для трубопроводов, как они применяются, и предпочтительные установки, раскрытые здесь, в общем случае разработаны для этого. Дополнительные ограничения могут быть предписаны применимыми нормами штатов (многие штаты адаптировали федеральный стандарт, чтобы адресовать вопросы безопасности частным трубопроводным системам конечных пользователей).
Раскрытие изобретении.
Главной целью данного изобретения является обеспечение недорогой, не загрязняющей, компактной местной установки хранения для хранения и подачи природного газа для использования конечными пользователями в качестве их основного источника топлива либо в качестве резервного источника топлива в течение периодов перерывов от коммунальной компании или другого поставщика газа для финансовой выгоды при покупке природного газа в моменты, когда цены на природный газ низкие, и для использования коммунальными компаниями и другими компаниями по доставке и подаче природного газа для дополнения и/или уменьшения существующего хранения и дополнения к использованию смеси пропан-воздух, или уклонения от ее использования. Настоящее изобретение представляет собой установку для хранения, которая отвечает всем перечисленным целям.
Установка для сжатого хранения природного газа, соединенная с коммунальной линией и линией потребления, содержит средство для сжатия природного газа; средство для расширения природного газа; одну или более выполненных полностью закрытыми систем хранения в стальных трубах для сжатого хранения природного газа; средство для удержания газа внутри упомянутых систем хранения в стальных трубах и управления потоком внутрь и наружу из упомянутых систем содержит инжекционный клапан, удерживающий клапан и доставляющий клапан, при этом упомянутый инжекционный клапан встроен в упомянутую коммунальную линию на стороне всасывания средства для сжатия природного газа, управляя потоком газа из коммунальной линии в упомянутое средство для сжатия природного газа; упомянутый удерживающий клапан встроен в упомянутую систему хранения в трубах на стороне нагнетания упомянутого средства для сжатия природного газа, управляя потоком газа из средства для сжатия природного газа упомянутую систему хранения в трубах; упомянутый доставляющий клапан встроен в упомянутую систему хранения в трубах на стороне нагнетания упомянутого средства для расширения природного газа, управляя потоком газа из системы в линию потребления; причем упомянутое средство для сжатия природного газа соединено с коммунальной линией, упомянутое средство для расширения природного газа соединено с линией доставки, а упомянутая(ые) система(ы) хранения в стальных трубах соединена(ы) как со средством для сжатия природного газа, так и со средством для расширения природного газа.
Кроме того, в установке средство для сжатия природного газа содержит компрессор, а средство для расширения природного газа содержит декомпрессор, средство для сжатия природного газа содержит компрессор, а средство для расширения природного газа содержит снижающий давление регулятор.
В установке упомянутая система хранения в стальных трубах содержит несколько совместимых частей стальной трубы, скрепленных конец к концу, формирующих закрытую цепь труб, причем один из концов упомянутой цепи соединен со средством сжатия для природного газа, а другой конец соединен со средством для расширения природного газа, причем один из концов упомянутой цепи загерметизирован, а другой конец упомянутой системы соединен как со средством для сжатия природного газа, так и со средством для расширения природного газа.
Упомянутая система хранения в стальных трубах размещена на земельном участке в конструкции радиатора, когда части системы хранения в трубах параллельны друг другу в продольном направлении.
Причем упомянутая система хранения в стальных трубах может быть размещена в конструкции стопы, когда части упомянутой системы хранения в трубах сложены в стопу одна поверх другой.
Изобретение также относится к процессу сохранения газа при высоком давлении в упомянутой установке хранения в стальных трубах, включающему в себя: первую операцию, в которой газ сжимается и впрыскивается в установку хранения; вторую операцию, в которой газ из установки хранения декомпрессируется и впрыскивается в линию потребления или доставки; при этом упомянутые первая и вторая операции повторяются. Упомянутая установка периодически проверяется на ржавление.
Изобретение также относится к способу заполнения установки для хранения газа сжатым газом из коммунальной линии или линии доставки, адаптированной для приема на хранение сжатого газа из коммунальной трубы в упомянутую установку при первом давлении, в основном соответствующем упомянутой коммунальной линии, и при втором давлении, которое больше, чем упомянутое давление коммунальной линии, и далее адаптированной для доставки сжатого газа из упомянутой установки в линию потребления, причем упомянутая установка хранения включает в себя средства компрессора и декомпрессора, систему хранения в стальных трубах, средство удержания газа внутри системы и средство управления доставкой газа внутрь и наружу из упомянутой установки.
В способе упомянутая система хранения в стальных трубах содержит несколько совместимых частей стальной трубы, скрепленных конец к концу и формирующих закрытую цепь труб, причем один из концов упомянутой цепи соединен со средством компрессора, а другой конец соединен с декомпрессорным средством.
В другом варианте способа упомянутая система хранения в стальных трубах содержит несколько совместимых частей стальной трубы, скрепленных конец к концу и формирующих закрытую цепь труб, причем один из концов упомянутой системы загерметизирован, а другой конец упомянутой системы соединен как с компрессорным средством, так и с декомпрессорным средством.
Кроме того, в способе средство для удержания газа внутри упомянутых систем хранения в стальных трубах и управления потоком внутрь и наружу из упомянутых систем содержит инжекционный клапан, удерживающий клапан и доставляющий клапан, при этом
упомянутый инжекционный клапан встроен в упомянутую коммунальную линию на стороне всасывания компрессорного средства, управляя потоком газа из коммунальной линии в упомянутое компрессорное средство;
упомянутый удерживающий клапан встроен в упомянутую систему хранения в трубах на стороне нагнетания упомянутого компрессорного средства, управляя потоком газа из компрессорного средства в систему хранения в трубах;
упомянутый доставляющий клапан встроен в упомянутую систему хранения в трубах на стороне нагнетания упомянутого декомпрессорного средства, управляя потоком газа из системы в линию потребления.
При этом в способе упомянутая система хранения в стальных трубах размещена на земельном участке в конструкции радиатора, когда части системы хранения в трубах параллельны друг другу в продольном направлении или размещена на земельном участке в конструкции стопы, когда части упомянутой системы хранения в трубах сложены в стопу одна поверх другой.
Таким образом, блок компрессора соединен с коммунальной линией от коммунальной компании или другого поставщика природного газа и с системой хранения в стальных трубах, сжимая и отправляя газ в систему хранения в трубах. Блок снижения давления соединен с линией потребления конечного пользователя (или, в случае хранения газа коммунальными компаниями или поставщиками для дальнейшей доставки к конечным пользователям, с коммунальной линией передачи или доставки) и с системой хранения в трубах, уменьшая давление газа, хранящегося в системе хранения в трубах, и отправляя его в линию потребления конечного пользователя или в коммунальную линию передачи или доставки.
Когда это необходимо или желательно, опциональные системы фильтрации и/или высушивания могут быть добавлены к установке на коммунальной линии перед компрессором для удаления воды и загрязняющих веществ перед сжатием и сохранением природного газа. Дополнительный монитор может быть прикреплен к коммунальной линии для измерения уровня влажности природного газа, доставляемого в систему. Этот монитор позволяет оператору установки определять, должен ли природный газ быть высушен перед сжатием и впрыскиванием в систему хранения в трубах. Опциональные проверочные станции могут быть установлены вокруг частей подземной системы хранения в сплошных трубах для наблюдения за ржавлением трубы, давая оператору системы возможность удалять или нейтрализовать любой источник ржавления. Опциональные катодные защитные системы могут быть установлены в подземной системе хранения в сплошных трубах для уменьшения ржавления стальной трубы. Другие системы управления, наблюдения и исправления, выгодные варианты выполнения и разработки изобретения, касающиеся изготовления установки и конфигурации для ее воплощения, описаны ниже в Подробном описании изобретения.
Хотя термины этой заявки относятся в общем случае к хранению природного газа, специалисту при чтении этого описания будет очевидно, что общая структура настоящего изобретения может быть использована для хранения любого сжимаемого газа.
Краткое описание чертежей
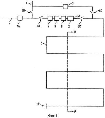
Фиг.1 показывает условный вид одного варианта выполнения установки для хранения по изобретению, используемого в коммерческих применениях или применениях для конечного пользователя.
Фиг.1А показывает условный вид другого варианта выполнения установки для хранения по изобретению для использования коммунальными компаниями или другими поставщиками природного газа.
Фиг.2 показывает условный вид другого варианта выполнения установки для хранения по изобретению, используемого в коммерческих применениях или применениях для конечного пользователя.
Фиг.3 показывает поперечное сечение части выполнения подземной системы хранения в трубах по изобретению, как показано на фиг.1, 1А и 2, выполненное по линии А-А на фиг.1, 1А и 2.
Фиг.4 показывает условный вид другого выполнения системы по изобретению, используемого в коммерческих применениях или применениях для конечного пользователя.
Фиг.5 показывает поперечное сечение части выполнения подземной системы хранения в трубах по изобретению, как показано на фиг.4, выполненное по линии В-В на фиг.4.
Фиг.6 показывает анодное устройство для уменьшения ржавления системы хранения в стальных трубах.
Фиг.7 показывает альтернативное анодное устройство.
Фиг.8 показывает устройство проверочной станции для обнаружения ржавления системы хранения в стальных трубах.
Фиг.9 показывает две проверочные станции и катодную защитную систему.
Подробное описание изобретения
Фиг.1 схематически показывает общий вид одного варианта выполнения установки по изобретению применительно к установкам для хранения при использовании конечными пользователями. Как показано на фиг.1, установка по настоящему изобретению предпочтительно содержит блок (2) компрессора, соединенный с коммунальной линией (1) от коммунальной компании или другого поставщика природного газа, для сжатия газа до желаемого давления установки, блок (3) снижения давления, соединенный с линией (4) потребления конечного пользователя, для снижения давления газа до уровня, необходимого для потребления конечным пользователем, и по крайней мере одна компактная, сконструированная сплошной система (5) хранения в стальных трубах для хранения природного газа в сжатом виде, при этом система (5) хранения в трубах соединена как с блоком (2) компрессора, чтобы получать сжатый газ от коммунальной линии (1), так и с блоком (3) снижения давления для выдачи газа из установки в линию (4) потребления. Изобретение далее содержит средства удержания хранящегося газа внутри системы (5) хранения в трубах за исключением момента, когда упомянутая система (5) заполнена либо когда газ внутри нее находится в процессе подачи в линию (4) потребления конечного пользователя, и средство управления доставкой газа из коммунальной линии (1) в систему (5) хранения в трубах, а также доставкой газа из системы (5) в линию (4) потребления конечного пользователя. Коммунальная линия (1) уже должна быть соединена через измеритель 1А и регулирующий клапан (6В) с линией (4) потребления конечного пользователя для немедленного использования природного газа, доставленного к конечному пользователю; настоящее изобретение является модификацией этого соединения, позволяя природному газу течь в систему (5) хранения в трубах, когда это желательно для конечного пользователя.
Как показано на фиг.1, 2 и 4, могут быть установлены опциональные переносные, или фиксированные линейные системы фильтрации, или стрейнеры (7) и высушивающие системы (8), предпочтительно на коммунальной линии (1), для удаления воды и загрязняющих веществ перед сжатием и хранением природного газа. Дополнительно или альтернативно на коммунальной линии (1) могут быть установлены опциональные мониторы (9) для измерения влажности природного газа, доставляемого на установку, чтобы определить, будет ли предпочтительным высушить газ перед хранением в установке, либо они могут быть установлены в системе (5) хранения в трубах для измерения влажности хранящегося сжатого газа. Для наблюдения за ржавлением трубы (5А) системы (5) хранения в трубах в этой системе могут быть установлены проверочные станции (как показано на фиг.8 и 9 и описано ниже); дополнительно, для защиты стальной трубы (5А) системы (5) хранения в трубах от ржавления рядом с системой (5) хранения в трубах могут быть установлены катодные защитные системы и прикреплены к ней (как показано на фиг.6, 7 и 9 и описано ниже). Далее следуют предпочтительные составляющие, конструкция, способ производства и процесс по настоящему изобретению.
Как показано на фиг.1А, установка по настоящему изобретению может быть использована коммунальными компаниями и другими поставщиками природного газа, где газ подается в систему из коммунальной линии (1) и подается обратно из системы в коммунальную линию (1) для передачи конечным пользователям.
Блок (2) компрессора закреплен предпочтительно над землей между коммунальной линией (1) и системой (5) хранения в трубах и встроен в их соединение, причем со стороны всасывания блок (2) прикреплен к коммунальной линии (1), а со стороны нагнетания прикреплен к системе (5) хранения в трубах, вызывая сжатие природного газа, принятого от коммунальной линии (1) и доставляя его в систему (5) хранения в трубах. В применениях для конечного пользователя сторона всасывания блока (2) компрессора прикреплена после измерителя (1А) на коммунальной линии (1), как показано на фиг.1, 2 и 4. Изобретатель предпочитает использовать стандартные компрессоры поршневого типа, хотя также могут использоваться и другие типы компрессоров, пригодные для сжатия природного газа, что известно специалисту. Поскольку компрессоры природного газа разнятся по максимальному уровню выходного давления, блок (2) компрессора, используемый в установке, должен быть достаточным для сжатия природного газа до желаемого максимального давления установки для хранения. Когда установка сконструирована так, что требует редкого впрыскивания природного газа либо впрыскивания только в определенные моменты в течение года, для конечного пользователя может быть более экономным прикреплять переносной блок (2) компрессора только для впрыскивания природного газа в систему. При удалении переносного блока (2) компрессора открытый конец (5А) системы (5) хранения в трубах должен быть загерметизирован привариванием к нему концевой крышки. Когда конечный пользователь решает перезаполнить установку, концевая крышка может быть удалена срезанием, и переносной компрессор может быть заново соединен с коммунальной линией (1) и системой (5) хранения в трубах. Альтернативно переносной компрессор (2) может быть соединен с коммунальной линией (1) и системой (5) хранения в трубах посредством фланца; когда компрессор удаляется, плитная система может быть закреплена болтами на фланец для герметизации коммунальной линии (1) и системы (5) хранения в трубах. Примеры коммерчески доступных и пригодных компрессоров для использования в настоящем изобретении включают в себя компрессоры фирмы Bauer высокого и среднего давления для природного газа. Конечный пользователь установит компрессор на определенный максимальный уровень давления в соответствии с конструкцией системы.
Блок (3) снижения давления содержит прикрепленный, предпочтительно над землей, блок декомпрессии или снижающий давление регулятор и встроенный в соединение системы (5) хранения в трубах и линии (4) потребления пользователя, вызывая расширение и доставку газа из системы (5) хранения в трубах до рабочего давления установки конечного пользователя, как показано на фиг.1, 2 и 4. В применениях коммунального хранения, как показано на фиг.1А, блок (3) снижения давления прикреплен к соединению системы (5) хранения в трубах и коммунальной линии или линии (1) передачи и встроен в него для доставки к конечным пользователям. Изобретатель предпочитает использовать снижающие давление регуляторы для расширения сжатого газа, хотя могут быть использованы и другие типы декомпрессоров или регуляторов, известных для расширения природного газа, что хорошо известно специалисту. Выбор регулятора декомпрессора должен быть конкретным для конструкции системы в целом; со значительными диапазонами давлений как для давления выпускного отверстия (в линии (4) потребления или в коммунальной линии/линии (1) передачи), так и для давления входного отверстия (в системе (5) хранения в трубах). Блок снижения давления должен быть установлен на уровень давления, требуемый горелкой или печью конечного пользователя в применениях конечного пользователя или на уровень коммунальной линии передачи в коммунальных применениях. Примеры коммерчески доступных и пригодных снижающих давление регуляторов включают в себя линию регуляторов, снижающих давление в природном газе, от фирмы Fisher Rose-mount, включая снижающий давление регулятор типа 399А. Использование более чем одного блока (3) снижения давления может быть выгодно или даже необходимо в холодном климате, где регулятор может замерзнуть или выйти из строя еще каким-либо образом, когда холодный газ при низком давлении проходит через блок снижения давления и подвергается расширения в нем; альтернативно при таких условиях изготовитель может установить линейный нагреватель или другое нагревательное устройство открытой или надземной части системы (5) хранения в трубах, чтобы нагреть газ при низких температурах.
Как показано на фиг.1, 1А, 2 и 4, средство удерживания хранящегося газа внутри системы (5) хранения в трубах и управления потоком газа внутрь и наружу из установки предпочтительно содержит по меньшей мере три клапана: инжекционный клапан (6А), удерживающий клапан (6С) и доставляющий клапан (6D), расположенные соответственно на коммунальной линии (1), на стороне всасывания блока компрессора, и в системе (5) хранения в трубах, на стороне нагнетания каждого блока (2) компрессора и блока (3) снижения давления, хотя специалист должен оценить, что могут быть использованы другие клапаны и средства удержания и управления потоком природного газа. В частности, как показано на фиг.1, 1А, 2 и 4, инжекционный клапан (6А) управляет потоком газа из коммунальной линии (1) в установку по настоящему изобретению; конечный пользователь будет включать этот клапан при заполнении установки природным газом и выключать, когда доставка завершена (особенно когда переносной компрессор удаляется из установки, чтобы предотвратить неуправляемый выброс природного газа в окружающую среду). Удерживающий клапан (6С) управляет потоком газа из блока (2) компрессора в систему (5) хранения в трубах, и он должен быть включен только при заполнении установки природным газом, а во в всех других случаях он должен быть выключен. Удерживающий клапан (6С) особенно важен, когда используется переносной блок (2) компрессора для предотвращения выброса газа из системы (5) хранения в трубах при удалении компрессора (2). Наконец, доставляющий клапан (6D) управляет потоком газа из системы (5) хранения в трубах в линию (4) потребления (или, в случае коммунальных применений, в коммунальную линию (1)) и должен быть включен, когда хранящийся природный газ используется конечным пользователем, и должен быть выключен все остальное время. Управляющий клапан (6В) управляет потоком газа от коммунальной линии (1) в линию (4) потребления конечного пользователя и должен быть выключен, когда газ из установки доставляется в линию (4) потребления конечного пользователя. Управляющий клапан (6В) может быть открыт, чтобы разрешить газу течь как в линию (4) потребления, так и в систему (5) хранения в трубах, либо, если газ в настоящий момент не затребован конечным пользователем, управляющий клапан может быть закрыт, что выражается в том, что природный газ доставляется только в систему (5) хранения в трубах (в предположении, что инжекционный клапан (6А) открыт). Этот управляющий клапан (6В) может быть уже установлен на линии (4) потребления конечного пользователя перед монтажом установки по настоящему изобретению. Клапаны (6А), (6В), (6С) и (6D) могут быть задвижками, или дроссельными механическими заслонками, или любым другим клапаном, который можно установить на коммунальную линию (1), линию (4) потребления и в систему (5) хранения в трубах. Клапаны могут управляться либо вручную, либо с помощью электроники, как это хорошо известно специалисту.
Изобретатель предпочитает, чтобы система (5) хранения в трубах была в основном подземной, чтобы улучшить безопасность и стоимость системы и эстетику земельного участка; однако он понимает, что система (5) хранения в трубах может быть расположена на уровне земли или даже над землей. Система (5) хранения в трубах содержит множество совместимых изгибов и отрезков стальной трубы (5А), что необходимо для соответствия конструкции, требующейся установкам и земельному участку клиента, включая требования предполагаемого использования и доступной площади. Хотя может быть использована труба (5А) любого диаметра, диаметр используемой трубы предпочтительно находится в диапазоне от 1 до 48 дюймов. Используемая труба (5А) должна иметь достаточную толщину стенок, чтобы безопасно удерживать максимальное давление газа, на удержание которого рассчитана система, и чтобы выдерживать ожидаемые внешние давления и нагрузки, которые будут воздействовать на трубу (5А) после установки. Когда не ожидается никаких необычных давлений или нагрузок, толщина стенок трубы (5А) должна предпочтительно выражаться в окружном напряжении менее 6000 фунтов/дюйм2; специалисту должно быть понятно, что меньшее окружное напряжение будет необходимо, когда внешние давления или нагрузки воздействуют на любую часть системы (5) хранения в трубах. Хотя надземное хранение системы (5) хранения в трубах является приемлемым, но не предпочтительным способом выполнения настоящего изобретения из-за его подверженности человеческой ошибке (например, средствам передвижения) и суровой погоде, труба, используемая в надземной установке, должна иметь большую прочность и соответствующее меньшее окружное напряжение, чем необходимо для подземной системы, вызывая большие расходы. Далее, окружающая земля поддерживает трубу в подземных системах (5) хранения в трубах, требуя меньшей прочности труб и допуская соответственно более высокое окружное напряжение.
Трубы (5А) системы (5) хранения в трубах должны быть покрыты для предотвращения ржавления. Коммерчески доступные и пригодные типы покрытия для установки включают в себя следующие: ScotchkoteТМ 206N, прикрепляемое плавлением эпоксидное покрытие, изготавливаемое фирмой ЗМ, покрытие прессованным полиэтиленом, изготавливаемое фирмой Dura-Bon Coating Inc., и Mar X, продукт №7-2501, изготавливаемый фирмой Nap-Gard, причем все они в общем случае стойки к коррозионным грунтам, углеводородам, ядовитым химикатам и морской воде.
Блоки покрытой стальной трубы (5А) соединены встык сварочными процедурами, стандартными для промышленности. Все сварные швы в системе (5) хранения в трубах должны быть проверены рентгеновским излучением или радиографически либо как-либо еще протестированы без разрушения, чтобы подтвердить, что сварные швы эффективно соединяют трубы (5А) друг с другом и будут предотвращать утечку природного газа из любой части системы (5) хранения в трубах.
Как показано на фиг.2, система (5) хранения в трубах может быть замкнутой, начинаясь блоком (2) компрессора и заканчиваясь блоком (3) снижения давления, либо она может быть незамкнутой, как показано на фиг.1, заканчиваясь на конце трубы (10), с соединениями для блока (2) компрессора и блока (3) снижения давления на противоположном конце системы (5) хранения в трубах. Когда система (5) хранения является незамкнутой, открытый конец трубы (10) загерметизирован привариванием на него дискообразной концевой крышки.
Планировка системы (5) хранения в трубах может меняться от установки к установке дизайнером системы, конструирующим план трубы, чтобы подходить нуждам хранения конечного пользователя и площади и планировке земельного участка. Предпочтительные примеры эффективного подземного хранения трубы включают в себя укладку труб в стопу в котлован или отрытую траншею (см. фиг.4 и 5), или использование конструкции радиаторного типа (см. фиг.1, 1А, 2 и 3), или сочетание этих способов. При складывании трубы в стопу между слоями трубы (5А) и вокруг нее необходимо будет помещать заполняющий материал с достаточным его количеством между продольными отрезками трубы (5А) для сокращения уровня напряжения на покрытии трубы до незначительной величины.
Диаметр и длина трубы и желаемое сжатие природного газа в установке будут меняться в зависимости от требований и ограничений по пространству хранения конечного пользователя. Специалисту будет очевидно, что изменение диаметра и длины трубы (5А), используемой в системе (5) хранения в трубах, и изменение запланированного давления сжатого природного газа в установке будут менять максимальный объем газа в установке. Для вычисления количества труб, необходимого для систем хранения, изобретатель использовал закон идеального газа (PV=nRT), где Р – это давление, измеряемое в атмосферах, V – это объем, измеряемый в литрах, n – это молекулярный вес всего природного газа, подлежащего хранению, измеряемый в молях, R – это газовая постоянная (0,0821 для природного газа), и Т – это абсолютная температура газа (в градусах Кельвина). Предполагая, что газ доставляется в систему при 5 фунтах/дюйм2 и что он доставляется в систему (5) хранения в трубах и будет храниться в ней подземно при стандартной температуре 52° F, следующие примеры демонстрируют количество кубических футов, необходимых для хранения меняющихся количеств газа при различных давлениях, сначала используя закон идеального газа для вычисления общего молекулярного веса газа, подлежащего хранению (измеренному при 5 фунтах/дюйм2), а затем используя закон идеального газа для определения кубических футов, необходимых для хранения газа при предлагаемом давлении хранения
| № |
Р (атм) |
R |
Т (°К) |
Объем газа (измеренный при 5 фунтах/дюйм2) |
Молекуляр ный вес объема (моли) |
Желаемое давление |
Необходимый объем |
| (фут3) |
(л) |
(ф/д2) |
(атм) |
W |
(фут3) |
| 1 |
0,34 |
0,0821 |
284 |
750000 |
21225000 |
309837,81 |
500 |
34, 04 |
212250 |
7500 |
| 2 |
0,34 |
0,0821 |
284 |
2500000 |
70750000 |
1032792,69 |
700 |
47,65 |
505357 |
17857 |
| 3 |
0.34 |
0,0821 |
284 |
125000 |
3537500 |
51639,63 |
1000 |
68,07 |
17688 |
625 |
| 4 |
0,34 |
0,0821 |
284 |
7000000 |
19810000 |
2891819,53 |
750 |
51,06 |
1320667 |
46667 |
Из этих вычислений разработчик установки может выбрать диаметр трубы и определить длину трубы, необходимую для изготовления системы хранения в трубах. Далее приведены примеры таких вычислений с использованием каждого из приведенных выше примеров. Пример 1
| № |
Необходимый объем |
Диаметр трубы |
Площадь поверхности трубы |
Необходимая длина трубы |
| |
(фут3) |
(дюйм) |
(фут2) |
(фут) |
| А |
7500 |
24 |
3,14 |
2389 |
| В |
7500 |
36 |
7,065 |
1062 |
Пример 2
| № |
Необходимый объем |
Диаметр трубы |
Площадь поверхности трубы |
Необходимая длина трубы |
| |
(фут3) |
(дюйм) |
(фут2) |
(фут) |
| А |
17857 |
24 |
3,14 |
5687 |
| В |
17857 |
36 |
7,065 |
2528 |
Пример 3
| № |
Необходимый объем |
Диаметр трубы |
Площадь поверхности трубы |
Необходимая длина трубы |
| |
(фут3) |
(дюйм) |
(фут2) |
(фут) |
| А |
625 |
24 |
3,14 |
199 |
| В |
625 |
36 |
7,065 |
88 |
Пример 4
| № |
Необходимый объем |
Диаметр трубы |
Площадь поверхности трубы |
Необходимая длина трубы |
| |
(фут3) |
(дюйм) |
(фут2) |
(фут) |
| А |
46667 |
24 |
3,14 |
14862 |
| В |
46667 |
36 |
7,065 |
6605 |
Наконец, когда необходимая длина трубы определена, планировка системы (5) хранения в трубах может быть разработана, как приведено в нижеследующем примере, с использованием каждого из приведенных выше примеров
| |
Компоновка из единой трубы: |
Компоновка из сложенных труб: |
| |
Кол-во рядов |
Примерная длина рядов (фут) |
Кол-во рядов |
Кол-во сложенных труб |
Примерная длина рядов (фут} |
| 1A |
5 |
475 |
3 |
2 |
400 |
| 1В |
6 |
175 |
4 |
6 |
45 |
| 2A |
3 |
1900 |
2 |
3 |
950 |
| 2В |
7 |
360 |
7 |
5 |
75 |
| 3А |
2 |
100 |
2 |
3 |
35 |
| 3В |
4 |
25 |
1 |
2 |
45 |
| 4А |
15 |
990 |
4 |
2 |
1850 |
| 4В |
4 |
1650 |
5 |
3 |
440 |
Хотя это и не требуется, различные опциональные компоненты могут быть временно или постоянно прикреплены к установке по настоящему изобретению для улучшения общей производительности установки. Конкретнее, высушивающие системы (8), мониторы (9) и линейные фильтры (7) могут быть использованы в установке соответственно для высушивания газа, наблюдения на влажностью газа и удаления загрязняющих материалов перед тем, как газ сжимается и сохраняется. Необходимость в этих составляющих или их желательность должна быть определена изготовителем после оценки качества газа, который будет доставляться в установку хранения. Любой из этих компонентов может быть временно или постоянно установлен в коммунальную линию (1).
Хотя определенные количества природного газа при давлении доставки нет необходимости высушивать, специалисту должно быть известно, что сжатие природного газа заставляет влажность аккумулироваться в больших количествах на фут3, которые, в зависимости от предназначенного давления установки хранения и итоговой влажности сжатого газа на фут3, могут потребовать, чтобы газ был высушен перед впрыскиванием в систему (5) хранения в трубах. Высушивающие системы (8) удаляют водяной пар из сжатого природного газа и устанавливаются на стороне всасывания низкого давления блока (2) компрессора, как показано на фиг.1. Высушиватели (8) желательны, но не являются необходимыми, не считая того, что в предпочтительной способе, согласующемся с промышленным стандартом на доставку природного газа, сжатый природный газ содержит более 7 фунтов воды на 1000000 футов3 сжатого газа. Пригодные коммерчески доступные высушиватели включают в себя сиккативные высушивающие системы STVCNG и STCNG типа “шебека”. Определенные блоки (2) компрессора, такие как описанные выше компрессоры Bauer, имеют высушиватели, содержащиеся внутри блока (2) компрессора, и пригодны для использования в настоящем изобретении вместо высушивающей системы (8) или вместе с ней.
В определенных применениях, в которых газ, подлежащий доставке в систему, имеет высокий уровень влажности или в которых конечный пользователь желает дополнительной защиты от естественного ржавления труб (5А), вызванного влажностью и загрязняющими веществами, может быть выгодно использовать трубу (5А), которая покрыта изнутри эпоксидным слоем для предотвращения ржавления. Пригодное коммерчески доступное покрытие для внутренней части стальных труб включает в себя аминоотверждаемое эпоксидное покрытие Endcor® 747, которое обеспечивает прочное клейкое сцепление и непроницаемую для ржавления поверхность. Внутреннее покрытие труб, однако, увеличивает стоимость системы и является необходимым только в крайних условиях.
Поскольку уровень влажности природного газа может меняться от доставки к доставке, на коммунальной линии (1) перед высушивающей системой может быть временно или постоянно установлен монитор (9), если он вообще установлен, для наблюдения за количеством воды в природном газе, доставленном в установку. Коммунальные компании используют гигрометры для измерения уровня воды, содержащейся в природном газе, и такое устройство будет пригодно в установке по настоящему изобретению. Коммерчески доступные и пригодные линейные гигрометры и анализаторы влажности включают в себя изготавливаемые фирмой Panametries, особенно переносной анализатор влажности природного газа, основанный на системном 280-м микропроцессоре этой фирмы и ее же серия 3 мониторов влажности. Датчик влажности монитора (9) установлен в коммунальную линию (1) с помощью маленькой трубки или сварного шва, в котором датчик вкручивается в трубу, когда газ доставляется в систему. Если желательно, монитор может быть удален после того, как установка заполнена.
Линейные фильтры (7) удаляют грязь, ржавчину и основные обломки, происходящие от ржавления коммунальной линии (1). Хотя это не является необходимым, желательно устанавливать линейный фильтр (7) перед высушивающей системой (8) и/или монитором (9), если они установлены, чтобы не дать коррозионным частицам вызвать износ этих составляющих. Коммерчески доступные и пригодные линейные фильтры включают в себя изготовленные фирмой American Meter Company, особенно ее фильтры KleanLineТМ.
В дополнение к описанным выше дополнительным опциональным компонентам, опциональное средство считывания и преобразования давления (например, манометры) может быть установлено в системе (5) хранения в трубах для определения давления в системе в любое заданное время или для наблюдения за давлением в системе в течение периода времени. Далее, если конечный пользователь желает, в системе (5) хранения в трубах могут быть установлены защитные аноды или другие катодные защитные системы, предотвращающие ржавление в трубах (5А) системы (5) хранения в трубах, вызванное самой трубой, потенциалами грунта и источниками блуждающего тока и/или проверочными станциями, которые наблюдают за ржавлением упомянутых труб (5А). Пригодные катодные защитные системы включают в себя использование защитных анодов или системы очистителя. Как показано на фиг 6 и 7, защитные анодные системы, которые обеспечивают катодную защиту, устанавливаются путем помещения защитного анода (12) на коротком расстоянии от трубы (5А) системы (5) хранения в трубах и прикрепления его к трубе (5А) посредством анодного подводящего кабеля (13), где анодный подводящий кабель (13) прикреплен к трубе с использованием [cadweld] соединения. Фиг.6 и 7 показывают варианты расположения анода (12) относительно трубы (5А), хотя приемлемы и другие местоположения. Специалисту хорошо известно, что для того, чтобы работать эффективно, несколько катодных защитных систем должно быть установлено вдоль рядов трубы (5А), предпочтительно на расстоянии 75 футов друг от друга.
Пригодные проверочные станции, используемые для проверки ржавления трубы (5А) системы (5) хранения в трубах, включают в себя корпусные уздечковые проверочные станции, как показано на фиг.8. В частности, корпусные уздечковые проверочные станции содержат пластиковый уздечковый корпус или коллекторную муфту (14), имеющую крышку (15) и два спиральных провода (16), выполненных из изолированной меди AWG #2 TW, и помещенных внутри упомянутой муфты (14) по всей длине муфты (14) и вытянутых развитыми вниз из муфты (14). Вытянутые части упомянутых проводов (16) наполовину закреплены петлей вокруг трубы (5А), а затем приварены термитом к трубе (5А). Провода (16) могут быть доступны над землей в целях измерения уровня ржавления труб (5А) путем удаления крышки (15) и путем соединения упомянутых проводов (16) с трубой с индикатором потенциала грунта. Поскольку различные участки трубы (5А) могут ржаветь неоднородно, специалисту хорошо известно, что несколько проверочных станций должно быть установлено там, где вокруг системы существуют изменения в содержимом грунта и в загрязнениях.
Проверочные станции и катодные защитные системы, описанные выше, могут сочетаться, как показано на фиг.9, показывающей две проверочные станции и несколько защитных анодов. Анодный проводящий кабель (13) части катодной защитной системы объединенной системы вытянут от анодов через коллекторную муфту (14) к поверхности земли и может быть доступен путем удаления крышки (15). Когда в трубе (5А) обнаруживается ржавление, анодная система может быть соединена с трубой путем соединения анодного проводящего кабеля (13) с концом одного из спиральных проводов (16) на верху коллекторной муфты (14), тем самым приводя в действие катодную защитную систему.
Опциональные компоненты, перечисленные в этом описании, не предназначены ограничивать установку конечным пользователем систем управления, наблюдения или исправления, и специалисту должно быть известно, что дополнительные компоненты могут быть добавлены в систему для наблюдения и управления потоком природного газа и исправления коррозионных условий. Далее, как понятно специалисту в свете настоящего изобретения, конкретные типы труб, управляющих клапанов, блоков компрессора и декомпрессора, средства считывания и преобразования давления и других опциональных или требуемых компонентов установки по настоящему изобретению будут меняться в зависимости от требований конечного пользователя, условий местоположения, качества природного газа для доставки в систему и других переменных, таких как федеральные нормы и нормы штатов, регулирующие хранение или передачу природного газа, предпочтений потребителя и страховых требований.
Система (5) хранения в трубах по настоящему изобретению устанавливается с использованием обычного оборудования для земляных работ или рытья траншей и методов укладки труб, предпочтительно под землю, и соответствующих нормам ДТ США и другим регулирующим законам, правилам и нормам. Хотя глубина траншеи (11) для труб будет меняться в зависимости от близости установки к жилым или густонаселенным районам и в зависимости от типа грунта, в котором хранится система (5) хранения в трубах, изобретатель предпочитает помещать трубу в грунт на глубину по меньшей мере 36 дюймов при нормальных условиях. Когда трубы складываются в стопу для компактного хранения, как показано на фиг.5, траншея предпочтительно будет достаточной, чтобы труба (5А), ближайшая к поверхности, находилась в грунте на глубине по меньшей мере 36 дюймов и иметь достаточное заполнение между слоями трубы, чтобы уменьшить риск разрушения покрытия трубы. Когда конструкция системы (5) хранения в трубах включает в себя конструкцию радиатора (как показано на фиг.1, 1А, 2 и 3), для задания достаточного расстояния между траншеями (11) должно быть уделено дополнительное внимание, чтобы не вызвать ржавление путем разрушения покрытия трубы. Далее, конструктор системы должен иметь в виду, что установка любой части системы рядом с другой подземной структурой может выразиться в разрушении трубы (5А).
Перед опусканием системы (5) хранения в трубах в траншею (11) все сварные соединения должны быть подвергнуты рентгеновскому излучению, покрыты покрытием типа, совместимого с покрытием трубы, использованным в системе (5) хранения в трубах. Также вся установка хранения должна быть проверена визуально либо пригодными инструментами для обнаружения дефектов или пробелов в покрытии трубы. Все обнаруженные дефекты должны быть исправлены до монтажа системы. Построенная система (5) хранения в трубах затем опускается в траншею с использованием обычных методов укладки труб, чтобы не повредить покрытие и не подвергнуть трубу напряжению. Все дефекты покрытия трубы, видимые после помещения установки для хранения в землю, должны быть отремонтированы на этой фазе монтажа.
После того как система (5) хранения в трубах опущена в траншею(и) (11), то, если это желательно, катодные защитные системы и/или проверочные станции устанавливаются вокруг трубы и в траншее. Операции засыпки и уплотнения выбранным материалом для засыпки (никаких булыжников, камней или обломков, которые могут повредить покрытие трубы) теперь могут быть проведены для закапывания системы (5) хранения в трубе и катодных защитных систем и/или проверочных станций, если они установлены, следя, чтобы удержать изогнутый корпус прямо под уровнем земли.
Когда система (5) хранения в трубах находится на месте, сварные соединения делаются от системы (5) хранения в трубах с блоком (2) компрессора и блоком (3) снижения давления, и могут быть установлены все применимые клапаны и другие средства управления и удержания природного газа. Эти сварные соединения должны быть подвергнуты рентгеновскому облучению, и на эти соединения должно быть нанесено покрытие. Любые опциональные компоненты, подлежащие установке на коммунальную линию (1), могут быть установлены в любое время. Столбы ограждения и забор могут быть поставлены на поверхности подземной системы (5) хранения в трубах или вокруг надземной системы хранения в трубах для предотвращения повреждения и ограничения доступа к надземным частям системы хранения в трубах.
Когда все соединения выполнены, может начинаться проверка давления системы. Проверочной средой, используемой для проверки давления в системе, должна быть вода, воздух или азотный газ, хотя также может быть использована любая пригодная проверочная среда. Предпочтительно, азотный газ впрыскивается в установку хранения в трубах для измерения давления по меньшей мере в 1,5 раза большего, чем допускаемое предназначенное рабочее давление установки хранения в трубах. Давление предпочтительно удерживается 1 час, а в случаях, когда окружное напряжение стальной трубы (5А) превышает 30% от минимального предела текучести используемой трубы (5А), предпочтительно удерживается по меньшей мере 8 часов для проверки на утечки. Проверочное давление и время проверки записываются на карту записывающим манометром или аналогичным инструментом. В случае когда проверки давления неудачны, изготовитель должен определить места утечек, из-за которых проверки давления не удались, и либо заварить, либо покрыть источники утечек, как приемлемо, повторяя проверку до тех пор, пока она не будет успешной. После успешного завершения проверок давления проверочная среда удаляется и можно начинать впрыскивание природного газа. Природный газ вводится в установку хранения медленно, без сжатия. Показания инструментов выполняются с использованием индикатора горючего газа (ИГТ), чтобы гарантировать, что воздух или азот “вычищены” из установки хранения в трубах и не существует смеси горючего газа, так что в системе будет только природный газ. Когда посредством показателей ИГТ либо иным способом подтверждено, что в системе не осталось проверочной среды, можно начинать сжатие природного газа.
Когда желаемое сжатие достигнуто, сжатие останавливается закрытием клапанов (6А) и (6С) и газ хранится до тех пор, пока он не станет необходимым. Когда необходим природный газ, клапан (6D) открывается в блоке (3) снижения давления, блок включается и газ течет через блок (3) снижения давления, снижающий давление природного газа, введенного в линию (4) потребления конечного пользователя, до желаемого давления. Газ будет продолжать подаваться до тех пор, пока уровень давления в системе (5) хранения в трубах не упадет до значения уровня давления в линии (4) потребления конечного пользователя.
Возможное местоположение для установки хранения в трубах находится в прудах-отстойниках для ливневых сточных вод или вокруг них, которые требуются в большинстве мест для нового строительства и существуют в большинстве имеющихся местоположений; эти площади обычно изымаются из деятельности места и приспосабливаются для постройки забора и других желательных ограждений.
Хотя в приведенном выше описании данное изобретение описано по отношению к конкретным предпочтительным вариантам выполнения, а многие подробности изложены в иллюстративных целях, специалисту будет очевидно, что изобретение допускает дополнительные выполнения и что определенные подробности, описанные здесь, могут меняться в значительной степени без отхода от общих принципов изобретения.
Формула изобретения
1. Установка для сжатого хранения природного газа, соединенная с коммунальной линией и линией потребления, содержащая
средство для сжатия природного газа;
средство для расширения природного газа;
одну или более выполненных полностью закрытыми систем хранения в стальных трубах для сжатого хранения природного газа и
средство для удержания газа внутри упомянутых систем хранения в стальных трубах и управления потоком внутрь и наружу из упомянутых систем содержит инжекционный клапан, удерживающий клапан и доставляющий клапан, при этом
упомянутый инжекционный клапан встроен в упомянутую коммунальную линию на стороне всасывания средства для сжатия природного газа, управляя потоком газа из коммунальной линии в упомянутое средство для сжатия природного газа;
упомянутый удерживающий клапан встроен в упомянутую систему хранения в трубах на стороне нагнетания упомянутого средства для сжатия природного газа, управляя потоком газа из средства для сжатия природного газа в упомянутую систему хранения в трубах; и
упомянутый доставляющий клапан встроен в упомянутую систему хранения в трубах на стороне нагнетания упомянутого средства для расширения природного газа, управляя потоком газа из системы в линию потребления;
причем упомянутое средство для сжатия природного газа соединено с коммунальной линией, упомянутое средство для расширения природного газа соединено с линией доставки, а упомянутая(ые) система(ы) хранения в стальных трубах соединена(ы) как со средством для сжатия природного газа, так и со средством для расширения природного газа.
2. Установка по п.1, в которой средство для сжатия природного газа содержит компрессор, а средство для расширения природного газа содержит декомпрессор.
3. Установка по п.1, в которой средство для сжатия природного газа содержит компрессор, а средство для расширения природного газа содержит снижающий давление регулятор.
4. Установка по п.1, в которой упомянутая система хранения в стальных трубах содержит несколько совместимых частей стальной трубы, скрепленных конец к концу, формирующих закрытую цепь труб, причем один из концов упомянутой цепи соединен со средством сжатия для природного газа, а другой конец соединен со средством для расширения природного газа.
5. Установка по п.1, в которой упомянутая система хранения в стальных трубах содержит несколько совместимых частей стальной трубы, скрепленных конец к концу, формирующих закрытую цепь труб, причем один из концов упомянутой цепи загерметизирован, а другой конец упомянутой системы соединен как со средством для сжатия природного газа, так и со средством для расширения природного газа.
6. Установка по одному из пп.1-5, в которой упомянутая система хранения в стальных трубах размещена на земельном участке в конструкции радиатора, когда части системы хранения в трубах параллельны друг другу в продольном направлении.
7. Установка по одному из пп.1-6, в которой упомянутая система хранения в стальных трубах размещена на земельном участке в конструкции стопы, когда части упомянутой системы хранения в трубах сложены в стопу одна поверх другой.
8. Процесс сохранения газа при высоком давлении в установке хранения в стальных трубах по любому из пп.1-7, включающий в себя первую операцию, в которой газ сжимается и впрыскивается в установку хранения; вторую операцию, в которой газ из установки хранения декомпрессируется и впрыскивается в линию потребления или доставки; при этом упомянутые первая и вторая операции повторяются.
9. Процесс по п.8, далее содержащий третью операцию, в которой упомянутая установка периодически проверяется на ржавление.
10. Способ заполнения установки для хранения газа сжатым газом из коммунальной линии или линии доставки, адаптированной для приема на хранение сжатого газа из коммунальной трубы в упомянутую установку при первом давлении, в основном соответствующем упомянутой коммунальной линии, и при втором давлении, которое больше, чем упомянутое давление коммунальной линии, и далее адаптированной для доставки сжатого газа из упомянутой установки в линию потребления, причем упомянутая установка хранения включает в себя средства компрессора и декомпрессора, систему хранения в стальных трубах, средство удержания газа внутри системы и средство управления доставкой газа внутрь и наружу из упомянутой установки.
11. Способ по п.10, в котором упомянутая система хранения в стальных трубах содержит несколько совместимых частей стальной трубы, скрепленных конец к концу и формирующих закрытую цепь труб, причем один из концов упомянутой цепи соединен со средством компрессора, а другой конец соединен с декомпрессорным средством.
12. Способ по п.10, в котором упомянутая система хранения в стальных трубах содержит несколько совместимых частей стальной трубы, скрепленных конец к концу и формирующих закрытую цепь труб, причем один из концов упомянутой системы загерметизирован, а другой конец упомянутой системы соединен как с компрессорным средством, так и с декомпрессорным средством.
13. Способ по п.10, в котором средство для удержания газа внутри упомянутых систем хранения в стальных трубах и управления потоком внутрь и наружу из упомянутых систем содержит инжекционный клапан, удерживающий клапан и доставляющий клапан, при этом
упомянутый инжекционный клапан встроен в упомянутую коммунальную линию на стороне всасывания компрессорного средства, управляя потоком газа из коммунальной линии в упомянутое компрессорное средство;
упомянутый удерживающий клапан встроен в упомянутую систему хранения в трубах на стороне нагнетания упомянутого компрессорного средства, управляя потоком газа из компрессорного средства в систему хранения в трубах; и
упомянутый доставляющий клапан встроен в упомянутую систему хранения в трубах на стороне нагнетания упомянутого декомпрессорного средства, управляя потоком газа из системы в линию потребления.
14. Способ по пп.10, или 11, или 12, в котором упомянутая система хранения в стальных трубах размещена на земельном участке в конструкции радиатора, когда части системы хранения в трубах параллельны друг другу в продольном направлении.
15. Способ по пп.10, или 11, или 12, в котором упомянутая система хранения в стальных трубах размещена на земельном участке в конструкции стопы, когда части упомянутой системы хранения в трубах сложены в стопу одна поверх другой.
РИСУНКИ
|
|