|
|
(21), (22) Заявка: 2006118388/11, 26.05.2006
(24) Дата начала отсчета срока действия патента:
26.05.2006
(46) Опубликовано: 10.01.2008
(56) Список документов, цитированных в отчете о поиске:
RU 2106555 C1, 10.03.1998. RU 2110720 C1, 10.05.1998. SU 1224189 A, 15.04.1983. US 2003/0162621 A1, 28.08.2003.
Адрес для переписки:
431449, Республика Мордовия, г. Рузаевка, ул. Юрасова, 8а, кв.78, А.Я. Киселеву
|
(72) Автор(ы):
Киселев Александр Яковлевич (RU)
(73) Патентообладатель(и):
Негосударственное научно-образовательное учреждение (Саранский дом науки и техники Российского Союза научных и инженерных организаций) (RU), Киселев Александр Яковлевич (RU)
|
(54) БЕССТУПЕНЧАТЫЙ ЗАМКНУТЫЙ ПЛАНЕТАРНЫЙ ГИДРОМЕХАНИЧЕСКИЙ ВАРИАТОР
(57) Реферат:
Изобретение относится к машиностроению. Гидромеханический вариатор содержит ведущий и ведомый валы, гидротрансформатор и два планетарных ряда. Первый планетарный ряд включает соединенную с ведомым валом эпициклическую шестерню, солнечную шестерню, соединенную с насосным колесом гидротрансформатора, центральную шестерню и соединенное с ведущим валом водило с двухвенцовыми сателлитами. Реактор гидротрансформатора соединен с ведомым валом. Второй планетарный ряд включает эпициклическую, солнечную шестерни и водило с сателлитами. Эпициклическая шестерня первого планетарного ряда находится в зубчатом зацеплении с малыми венцами двухвенцовых сателлитов, турбинное колесо гидротрансформатора соединено с водилом второго планетарного ряда, а его эпициклическая шестерня соединена с ведомым валом. Технический результат заключается в упрощении конструкции, увеличении моторесурса двигателя, уменьшении расхода топлива. 1 ил.
Изобретение относится к машиностроению и может быть использовано на автомобилях вместо коробки передач.
Известна гидромеханическая передача, (1) имеющая планетарный ряд, эпициклическая шестерня которого жестко соединена с насосным колесом гидротрансформатора, а солнечная шестерня с турбинным колесом, водило планетарного ряда соединено с ведомым валом.
Недостатком данной гидромеханической передачи, в которой лишь часть мощности двигателя передается на ведомый вал, минуя гидропередачу, а гидравлический элемент во всей рабочей зоне работает как тормоз, является низкий КПД.
Наиболее близким техническим решением к заявленному изобретению является бесступенчатый замкнутый планетарный гидромеханический вариатор (2), содержащий ведущий и ведомый валы, гидротрансформатор и два планетарных ряда, водило первого планетарного ряда, с двухвенцовыми саттелитами, жестко соединено с ведущим валом, большие венцы которых находятся в зубчатом зацеплении с эпициклической шестерней, жестко соединенной с ведомым валом, а малые венцы находятся в зубчатом зацеплении с центральной шестерней жестко соединенная полым валом с насосным колесом гидротрансформатора. Солнечная шестерня первого планетарного ряда находится в зубчатом зацеплении с большими венцами двухвенцовых сателлитов и через промежуточный вал соединена с солнечной шестерней второго планетарного ряда, водило которого жестко соединено с ведомым валом, парные сателлиты водила находятся в зубчатом зацеплении с эпициклической шестерней жестко соединенная, через полый вал, с турбинным колесом гидротрансформатора, и в зубчатом зацеплении с солнечной шестерней. Реактор гидротрансформатора жестко соединен с ведомым валом.
Недостатком известной гидромеханической передачи является то, что передаточное число зубчатого зацепления эпициклической шестерни первого планетарного ряда с большими венцами двухвенцовых сателлитов не обеспечивает высокой угловой скорости вращения центральной шестерни и насосного колеса гидротрансформатора, а также его нужной мощности, что ограничивает расширение диапазона увеличения крутящего момента на ведомом валу. Применение в устройстве планетарного ряда с парными сателлитами связано с его сложной конструкцией и пониженным механическим КПД.
Целью изобретения является расширение диапазона увеличения крутящего момента на ведомом валу устройства и замена второго планетарного ряда с парными сателлитами на более эффективный простой планетарный ряд с одинарными сателлитами, находящимися в зубчатом зацеплении с эпициклической и солнечной шестернями.
Это достигается тем, что бесступенчатый замкнутый планетарный гидромеханический вариатор содержит ведущий и ведомый валы, гидротрансформатор и два планетарных ряда. Водило первого планетарного ряда, с двухвенцовыми сателлитами, жестко соединено с ведущим валом, малые венцы которых находятся в зубчатом зацеплении с эпициклической шестерней, жестко соединенной с ведомым валом, и в зубчатом зацеплении с центральной шестерней, жестко соединенной полым валом с насосным колесом гидротрансформатора, что позволяет изменить передаточные числа зубчатых зацеплений первого планетарного ряда, увеличить угловую скорость вращения центральной шестерни и насосного колеса, а также увеличить мощность гидротрансформатора. Солнечная шестерня первого планетарного ряда находится в зубчатом зацеплении с большими венцами двухвенцовых сателлитов и через промежуточный вал соединена с солнечной шестерней второго планетарного ряда. Турбинное колесо гидротрансформатора соединено полым валом с водилом второго планетарного ряда, сателлиты которого находятся в зубчатом зацеплении с его эпициклической шестерней, жестко соединенной с ведомым валом, и в зубчатом зацеплении с солнечной шестерней. Реактор гидротрансформатора жестко соединен с ведомым валом устройства.
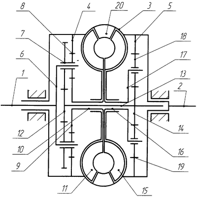
На чертеже изображена кинематическая схема устройства.
Бесступенчатый замкнутый планетарный гидромеханический вариатор содержит ведущий 1 и ведомый 2 валы, гидротрансформатор 3 и два планетарных ряда 4, 5. Водило 6 первого планетарного ряда 4, с двухвенцовыми сателлитами 7, жестко соединено с ведущим валом 1, малые венцы которых находятся в зубчатом зацеплении с эпициклической шестерней 8, жестко соединенной с ведомым валом 2, и в зубчатом зацеплении с центральной шестерней 9, жестко соединенной полым валом 10 с насосным колесом 11 гидротрансформатора 3. Солнечная шестерня 12 первого планетарного ряда 4 находится в зубчатом зацеплении с большими венцами двухвенцовых сателлитов 7 и через промежуточный вал 13 соединена с солнечной шестерней 14 второго планетарного ряда 5. Турбинное колесо 15 гидротрансформатора 3 соединено полым валом 16 с водилом 17 второго планетарного ряда 5, сателлиты 18 которого находятся в зубчатом зацеплении с эпициклической шестерней 19, жестко соединенной с ведомым валом 2 устройства, и солнечной шестерней 14. Реактор 20 гидротрансформатора 3 жестко соединен с ведомым валом 2 устройства и имеет положительный знак действия.
Работа
Бесступенчатый замкнутый планетарный гидромеханический вариатор является четырехпоточной гидромеханической передачей, которая работает в совокупности с одноступенчатым гидротрансформатором 3, встроенным последовательно в замыкающуюся ветвь, обеспечивающим самонастраивающийся нужный режим работы устройства в широком диапазоне плавного изменения крутящего момента на ведомом валу в зависимости от профиля дороги и сил сопротивления движению автомобиля при высоком КПД. Угловая скорость вращения ведомого вала может изменяться от нуля до прямой передачи. Мощность двигателя от ведущего вала 1 передается на водило 6 первого планетарного ряда 4 и через малые венцы двухвенцовых сателлитов 7 один поток мощности ответвляется на эпициклическую шестерню 8 и на ведомый вал 2, другой поток мощности от центральной шестерни 9 подходит через полый вал 10 к насосному колесу 11 гидротрансформатора 3, от которого этот поток мощности делится на два потока, один поток мощности от реактора 19, имеющего положительный знак действия, ответвляется на ведомый вал 2, другой на – турбинное колесо 15 гидротрансформатора 3, от которого трансформируемый поток мощности подходит через полый вал 16 к водилу 17 второго планетарного ряда 5 и через его сателлиты 18 этот поток мощности делится на два потока, один поток мощности ответвляется на эпициклическую шестерню 19 и на ведомый вал 2, другой замыкающийся четвертый циркулирующий поток мощности от солнечной шестерни 14 через промежуточный вал 13 подходит к солнечной шестерне 12 первого планетарного ряда 4, находящейся в зубчатом зацеплении с большими венцами двухвенцовых сателлитов 7 водила 6, где за счет разницы плеч венцов двухвенцовых сателлитов 7 на центральной шестерне 9 увеличивается крутящий момент, который передается через полый вал 10 на насосное колесо 11 гидротрансформатора 3, что повышает его мощность. В гидротрансформаторе 3 крутящий момент увеличивается до нужных величин в диапазоне его трансформации в зависимости от нагрузки на ведомом валу 2. В результате на ведомом валу 2 устройства суммируются три потока мощности, два из которых от двух эпициклических шестерен 8 и 19, третий – от реактора 20 гидротрансформатора 3. На прямой передаче гидротрансформатор работает в режиме гидромуфты и все устройство вращается как одно целое. При работе преобладает переносное движение всех валов и колес, что повышает КПД устройства. Бесступенчатый замкнутый планетарный гидромеханический вариатор компактен, прост по устройству, без специальных регулирующих устройств, использование которого на автомобилях позволит увеличить моторесурс двигателя, уменьшить расход топлива, увеличить среднюю скорость движения автомобиля и создать благоприятные условия при управлении автомобилем.
Источники информации
1. Прокофьев В.Н. Основы теории гидромеханических передач – М: Машиностроение, 1968 с.391 фиг.174.
2. Патент №2106555, заявка №96117622.
Формула изобретения
Бесступенчатый замкнутый планетарный гидромеханический вариатор, содержащий ведущий и ведомый валы, гидротрансформатор и два планетарных ряда, первый из которых включает соединенную с ведомым валом эпициклическую шестерню, солнечную шестерню и соединенную с насосным колесом гидротрансформатора центральную шестерню и соединенное с ведущим валом водило с двухвенцовыми сателлитами, реактор гидротрансформатора соединен с ведомым валом, второй планетарный ряд включает эпициклическую, солнечную шестерни и водило с сателлитами, отличающийся тем, что эпициклическая шестерня первого планетарного ряда находится в зубчатом зацеплении с малыми венцами двухвенцовых сателлитов, турбинное колесо гидротрансформатора соединено с водилом второго планетарного ряда, а его эпициклическая шестерня соединена с ведомым валом.
РИСУНКИ
|
|