|
|
(21), (22) Заявка: 2005131806/06, 13.10.2005
(24) Дата начала отсчета срока действия патента:
13.10.2005
(43) Дата публикации заявки: 20.04.2007
(46) Опубликовано: 10.01.2008
(56) Список документов, цитированных в отчете о поиске:
SU 109699 А, 15.12.1995. SU 47870 А, 31.07.1936. SU 372368 А, 16.05.1973. RU 2087739 C1, 20.08.1997. RU 2062348 С1, 20.06.1996. US 5282574 А, 01.02.1994. US 4790731 А, 13.12.1988. US 4489886 А, 25.12.1984.
Адрес для переписки:
352800, Краснодарский край, г. Туапсе, Главпочтамт, до востребования В.В. Внукову
|
(72) Автор(ы):
Внуков Василий Васильевич (RU)
(73) Патентообладатель(и):
Внуков Василий Васильевич (RU)
|
(54) НАСОС-ФОРСУНКА
(57) Реферат:
Изобретение относится к двигателестроению, в частности к топливной аппаратуре дизелей. Изобретение позволяет упростить конструкцию насос-форсунки. Насос-форсунка содержит механизм привода, плунжер, плунжерную втулку и иглу. Механизм привода выполнен в виде гидропривода, состоящего из гидроцилиндра и гидропоршня. Плунжер имеет сквозное центральное отверстие с седлом для игольчатого клапана. Нижний конец плунжерной втулки оснащен иглой с дифференциальной площадкой и размещен в цилиндрическом наконечнике. Во внутренней полости цилиндрического наконечника сделано седло для иглы плунжерной втулки. Плунжерная втулка нагружена тарельчатыми пружинами. Корпус насос-форсунки снабжен двумя штуцерами для крепления гибких топливопроводов, обеспечивающих циркуляцию топлива и охлаждение деталей насос-форсунки. Гидропривод оснащен поворотным устройством корпуса гидропривода как по часовой стрелке, так и обратно. Гидропривод может иметь блочную конструкцию или отдельную для каждого цилиндра. 1 з.п. ф-лы, 2 ил.
Изобретение относится к топливной аппаратуре дизельных двигателей, как четырехтактных, так и двухтактных.
Известны многочисленные насос-форсунки отечественного и зарубежного производства. В основном насос-форсунки устанавливались на двухтактных дизелях Ярославского моторного завода. Известно, что топливная аппаратура подразделяется на два типа: разделенная и неразделенная. Насос-форсунки относятся к неразделенному типу. Одна конструкция совмещает топливный насос высокого давления и непосредственно форсунку, нет топливопровода высокого давления.
Тем не менее, все эти достоинства пропадают, так как механический многозвенный механизм слишком громоздкий, место расположения в крышках цилиндров создает сложность, так как в крышке размещается клапанный механизм. При замене изношенного распылителя требуется разборка механизмов привода, а после сборки необходима настройка и регулировка, вследствие чего образуется трудоемкость по сравнению с разделенным типом топливоподачи (см. книгу Судовые двигатели внутреннего сгорания, Ленинград, Судостроение, 1989 г., стр.83, 84, а также см. Справочник автомеханика. Л.Л.Афанасьв, М., Машгиз, 1959 г., стр.205, фиг.80 и 81, см. Патент РФ № 2000463, опубл. 07.09.1993).
В свою очередь, элементарные форсунки тоже имеют недостатки, к их числу следует отнести, например, следующее. После прекращения подачи топливо, оставшееся в форсунке, топливопроводе и топливном насосе высокого давления, запирается иглой форсунки и нагнетательным клапаном ТНВД, причем под высоким давлением, отчего может возникать подтекание топлива в камеру сгорания, так называемый подвпрыск. К числу других недостатков следует отнести сложность охлаждений форсунки. Например, судовые дизели ДКРН 80/160-4 имеют проточное охлаждение топливом, а форсунки Дизеля ЧН 40/60 охлаждаются водой (см. Судовые ДВС, Ленинград, Судостроение, 1989 г., стр.91, рис.3.7)
Целью настоящего изобретения является упрощение конструкции насос-форсунки.
Предлагается насос-форсунка, содержащая механизм привода, плунжер, плунжерную втулку и иглу. Согласно изобретению механизм привода выполнен в виде гидропривода, состоящего из гидроцилиндра и гидропоршня, плунжер имеет сквозное центральное отверстие с седлом для игольчатого клапана, нижний конец плунжерной втулки оснащен иглой с дифференциальной площадкой и размещен в цилиндрическом наконечнике, во внутренней полости цилиндрического наконечника сделано седло для иглы плунжерной втулки, плунжерная втулка нагружена тарельчатыми пружинами, корпус насос-форсунки снабжен двумя штуцерами для крепления гибких топливопроводов, обеспечивающих циркуляцию топлива и охлаждение деталей насос-форсунки. Гидропривод может быть оснащен поворотным устройством корпуса гидропривода как по часовой стрелке, так и обратно, гидропривод может иметь блочную конструкцию или отдельную для каждого цилиндра.
Приводом насос-форсунки является гидропривод, широко применяющийся на автомобилях в механизме выключения сцепления и гидравлических тормозах. Устройство привода очень простое и содержит ведущее звено, состоящее из гидроцилиндра и гидропоршня, такая же конструкция и ведомого звена, они сообщаются между собой посредством гидролинии, причем дистанционно. Дополнительно в гидролинию встраивается гидроцилиндр с гидропоршнем и возвратной пружиной. Гидропоршень отмеривает порцию задаваемого топлива насос-форсункой. Определенная часть рабочей жидкости поступает в этот гадроцилиндр, и поэтому гидропоршню ведомого звена не хватает объема рабочей жидкости, вследствие чего сокращается размер хода плунжера, а отсюда и величина объема порции топлива. Гидропривод может иметь блочную конструкцию или отдельную для каждого цилиндра.
Конструкция насос-форсунки значительно упрощена и содержит корпус с двумя штуцерами крепления гибкой резиновой магистрали топливопровода, с целью устранения разборки при замене изношенного распылителя насос-форсунки, при этом два штуцера обеспечивают непрерывную циркуляцию топлива через внутреннюю полость корпуса, чем создается охлаждение деталей конструкции насос-форсунки. Плунжерная пара втулка и плунжер имеют измененную конструкцию. Нижний конец втулки оснащен иглой с дифференциальной площадкой. Плунжер имеет сквозное центральное отверстие, через которое поступает топливо в подплунжерную полость плунжерной втулки, верхний конец плунжера имеет увеличенный диаметр. В торце плунжера устроено седло для игольчатого клапана, клапан жестко закреплен в дне гидропоршня ведомого звена. Вокруг клапана выполнен цилиндрический карман для размещения конца плунжера, последний закрепляется колпачковой гайкой. При этом плунжер имеет в гайке осевую степень свободы, за счет которой происходит закрывание и открывание игольчатого клапана. При движении плунжера вниз в подплунжерной полости плунжерной втулки возникает давление, которое прижимает седло к игольчатому клапану. При обратном движении плунжера в подплунжерной полости возникает вакуум, при этом в сопряжении втулки и плунжера образуется трение. В результате всего этого плунжер тормозится, следовательно, клапан открывается, и топливо устремляется в вакуум подплунжерной полости втулки. Конец втулки с иглой размещается в цилиндрическом наконечнике, в его внутренней полости устроено седло для иглы втулки. В нижний конец в наконечник ввинчивается распылитель, который при износе заменяется новым, стоит только вынуть насос-форсунку из гнезда крышки цилиндра без какой-либо разборки, так как топливопроводы гибкие резиновые. Плунжерная втулка снаружи оснащается тарельчатыми пружинами, которые компактны, занимают мало места по высоте форсунки, при этом имеют большую силу при своем прогибе и меньшую вероятность поломки, чем цилиндрические из круглой проволоки. Тарельчатые пружины позволяют регулировать усилие нажима (см. Справочник конструктора-машиностроителя. В.И.Анурьев, том 8, стр.155-156, табл.31, где приводится характеристика тарельчатых пружин, а на стр.139, табл.17 приводятся характеристики витых цилиндрических пружин, топливопроводы гибкие резиновые высоконапорные в этом же справочнике на стр.253-254, табл.46).
Значительное преимущество представляют насос-форсунки для судовых дизелей, когда одновременно в одном цилиндре используются разные сорта моторного топлива, например дизельное топливо, мазута, сжиженный газ, тяжелое сернистое. Под каждый вид топлива необходима отдельная форсунка, а работать все они должны синхронно, при этом приводом может служить один гидропривод на все насос-форсунки. Особо значимо такая конструкция необходима военным кораблям.
Описание чертежей, прилагаемых к настоящему описанию.
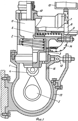
Фиг.1 – устройство ведущего звена гидропривода.
1 – картер гидропривода; 2 – корпус гидропривода; 3 – гидропоршень с возвратной пружиной; 4 – ролик толкателя; 5 – кулачковый вал; 6 – второй гидропоршень с возвратной пружиной; 7 – ограничительный винт, 8 – шестерня ограничительного винта; 9 – зубчатая рейка; 10 – штуцер с резиновым рукавом; 11 – транзитная гидрополость; 12 – регулятор настройки момента впрыска топлива; 13 – кожух крепления гидропривода на блоке цилиндров дизеля; 14 – гидромагистраль подпитки утечек рабочей жидкости; 15 – емкость запаса рабочей жидкости; 16 – сапун.
Фиг.2 – устройство насос-форсунки.
17 – корпус; 18 – штуцер крепления топливопровода, 19 – гидроцилиндр ведомого звена гидропривода; 20 – крышка гидроцилиндра; 21 – штуцер гибкой гидромагистрали гидропривода; 22 – пробка отверстия заполнения рабочей гкдрожидкостью гидропривода; 23 – гнездо установки моментоскопа; 24 – гидропоршень ведомого звена гидропривода; 25 – цилиндрический карман для крепления плунжера; 26 – колпачковая гайка фиксации плунжера; 27 – плунжер; 28 – втулка плунжера; 29 – силовая пружина; 30 – тарельчатая пружина; 31 – проточное отверстие плунжера для заполнения подплунжерной полости; 32 – цилиндрический наконечник плунжерной втулки; 33 – распылитель; 34 – игла плунжерной втулки; 35 – прецизионная часть плунжерной втулки сочленения с цилиндрическим наконечником 32; 36 – игольчатый клапан плунжера; 37 – пружина возврата гидропоршня; 38 – стопорная гайка силовой пружины; 39 – гайка крепления корпуса в крышке цилиндра дизеля; 40 – разрезное кольцо фиксации корпуса в крышке цилиндра дизеля; 41 – гибкая гидромагистраль гидропривода; 42 – проточные отверстия охлаждения деталей топливом.
Порядок работы гидропривода и насос-форсунки.
Величину давления топлива насос-форсунки устанавливают на стенде, для чего из корпуса насос-форсунки вынимается плунжер с гидропоршнем, втулка плунжера на конце имеет резьбу для соединения с гидромагистралью стенда. Затем цилиндрическим наконечником 32 посредством резьбы устанавливают натяжение тарельчатой пружины 30, а по показанию прибора (манометра) устанавливают величину давления, после этого насос-форсунка собирается и устанавливается на дизель.
После установки на дизель насос-форсунка заполняется топливом с помощью ручного подкачивающего насоса. Из полости насос-форсунки выпускается воздух, затем открывается пробка 22 и заполняется гидропривод рабочей жидкостью. После этого устанавливается момент впрыска топлива, для чего через смотровое окно кожуха маховика прокручивают коленвал за зубчатый венец стартерного привода и подводят по градуировке на маховике момент впрыска. Дальше в гнездо 23 устанавливается моментоскоп. По движению мениска фиксируется положение корпуса гидропривода регулятором 12 с помощью двух гаек.
Пример конструктивного устройства насос-форсунки по параметрам давления впрыска топлива. По справочнику В.И.Анурьева “Конструктор машиностроителя”, том 3, стр.139, табл.17 находим, например, пружину № 81 с диаметром – 30 мм, проволокой – 4,5 мм, сила пружины – 140 кгс. Например диаметр плунжерной втулки на сочленении с цилиндрическим наконечником равен 8 мм = 0,8 см, диаметр иглы 4 мм = 0,4 см, отсюда площадь дифференциальной площадки ровна 0,375 см2, в этом случае давление топлива составит: 140 кгс/0,375 см2 = 373 кгс/см2. Для сравнения по вышеприведенному справочнику на стр.156, табл.31 принимается тарельчатая пружина малой жесткости диаметром – 30 мм, с отверстием – 15 мм, ее усилие при прогибе – 140 кгс, двух пружин – 280 кгс, давление равно 280 кгс/0,375 см2=746 кгс/см2.
Давление рабочей жидкости для случая, когда диаметр гидроцилиндра ведомого звена гидропривода, например, 40 мм, = 4 см, сила преодоления 280 кгс, значит, давление составит: 280 кгс/12,56 см2 = 22,29 кгс/м2.
Таким образом, можно утверждать, что предлагаемая конструкция насос-форсунки имеет широкий диапазон выбора параметров и их габаритов, например, для судовых дизелей, работающих на тяжелом топливе при установке трех тарельчатых пружин, сила составит: 420 кгс: 0,375 см2 = 1120 кгс/см2, чего сложно достичь при цилиндрических проволочных пружинах.
Формула изобретения
1. Насос-форсунка, содержащий механизм привода, плунжер, плунжерную втулку и иглу, отличающийся тем, что механизм привода выполнен в виде гидропривода, состоящего из гидроцилиндра и гидропоршня, плунжер имеет сквозное центральное отверстие с седлом для игольчатого клапана, нижний конец плунжерной втулки оснащен иглой с дифференциальной площадкой и размещен в цилиндрическом наконечнике, во внутренней полости цилиндрического наконечника сделано седло для иглы плунжерной втулки, плунжерная втулка нагружена тарельчатыми пружинами, корпус насос-форсунки снабжен двумя штуцерами для крепления гибких топливопроводов, обеспечивающих циркуляцию топлива и охлаждение деталей насос-форсунки.
2. Насос-форсунка по п.1, отличающийся тем, что гидропривод оснащен поворотным устройством корпуса гидропривода как по часовой стрелке, так и обратно, гидропривод может иметь блочную конструкцию или отдельную для каждого цилиндра.
РИСУНКИ
|
|