|
|
(21), (22) Заявка: 2006124046/03, 04.07.2006
(24) Дата начала отсчета срока действия патента:
04.07.2006
(46) Опубликовано: 10.01.2008
(56) Список документов, цитированных в отчете о поиске:
SU 1696734 A1, 07.12.1991. SU 1571276 A1, 15.06.1990. RU 2253902 C1, 10.06.2005. RU 2109345 C1, 20.04.1998. GB 1417790 A, 17.12.1975. WO 9945515 А, 10.09.1999.
Адрес для переписки:
650026, г.Кемерово, ул. Весенняя, 28, ГУ КУЗГТУ, патентный отдел
|
(72) Автор(ы):
Ремезов Анатолий Владимирович (RU), Харитонов Виталий Геннадьевич (RU), Ануфриев Валерий Михайлович (RU), Коротаев Павел Сергеевич (RU), Рогачков Антон Владимирович (RU), Климов Владимир Григорьевич (RU), Кадошников Александр Викторович (RU)
(73) Патентообладатель(и):
Ремезов Анатолий Владимирович (RU), Харитонов Виталий Геннадьевич (RU), Ануфриев Валерий Михайлович (RU), Коротаев Павел Сергеевич (RU), Рогачков Антон Владимирович (RU), Климов Владимир Григорьевич (RU), Кадошников Александр Викторович (RU)
|
(54) АВТОМАТИЧЕСКАЯ СИСТЕМА ЗАЩИТЫ ГАЗОВОЗДУШНЫХ СКВАЖИН ОТ ВЗРЫВА
(57) Реферат:
Изобретение относится к горнодобывающей промышленности, в частности к угольной, и может быть использовано на угольных шахтах с применением комбинированного способа проветривания очистных забоев при эксплуатации газоотсасывающих установок. Техническим результатом является предотвращение проникновения возгораний и взрывов газовоздушной смеси с поверхности через газоотсасывающую установку в газовоздушные скважины и подземные выработки, гашение возгораний и взрывов в начальной стадии, повышение безопасности ведения горных работ, повышение эффективности комбинированного проветривания. Для этого система включает соединительный канал между переключателем потока и газопроводом от устья газовоздушной скважины, пирометрические датчики с высокой скоростью обнаружения воспламенения газовоздушной смеси, установленные внутри соединительного канала со стороны газопровода и направленные в сторону движения потока газовоздушной смеси, блок управления, взрывоподавляющие устройства, расположенные на внешней стороне соединительного канала и имеющие сопла, выведенные внутрь соединительного канала, и способные с высокой скоростью выбросить в соединительный канал инертные газы или другой ингибитор для подавления пламени. 2 ил.
Изобретение относится к горнодобывающей промышленности, в частности к угольной, и может быть использовано на угольных шахтах с применением комбинированного способа проветривания очистных забоев при эксплуатации газоотсасывающих установок для предотвращения проникновения возгораний и взрывов газовоздушной смеси с поверхности через газоотсасывающую установку в газовоздушные скважины и подземные выработки и гашения возгораний и взрывов газовоздушной смеси в газоотсасывающей установке в начальной стадии.
Известен пирометрический датчик (патент РФ № 2109345, кл. G08B 17/12, опубл. 1998.04.20), включающий объектив, который фокусирует тепловое излучение на фотодетекторе внутри корпуса датчика. Пирометрический датчик предназначен для обнаружения очага возгорания по инфракрасному излучению источника повышенной температуры и может быть использован в автоматических системах пожарной сигнализации. Однако в настоящее время он не применяется для обнаружения возгорания в газоотсасывающих установках.
Известно взрывоподавляющее устройство (патент РФ № 2070967, кл. E21F 5/00, опубл. 1996.12.27). Оно предназначено для гашения вспышек рудничного газа и угольной пыли в начальной стадии возникновения очага горения, однако, в настоящее время оно не применяется для гашения возгораний в газоотсасывающих установках.
Известна «Система взрывозащиты поверхностной газоотводящей сети» («Система взрывозащиты поверхностной газоотводящей сети» (СВГС-900), руководство по эксплуатации, ООО «НПП «Системы промышленной безопасности»», г.Бийск), включающая входной патрубок, корпус устройства, резервный бак, вышибные мембраны, ротоклон – устройство, предотвращающее проникновение пламени в газоотсасывающую скважину, стяжные болты, антициклон, выходной патрубок, окно уровня жидкости в корпусе, краны баков, бак эвакуации жидкости, окно уровня жидкости резервного бака.
Недостатками известной системы являются значительная громоздкость и сложность установки, а также то, что работа ротоклона строится на пропускании и гашении пламени через слой воды, поэтому эксплуатация этой системы при температуре окружающей среды ниже 0°С является сложной.
Известна также «Система локализации пламени шахтная» («Система локализации пламени шахтная», руководство по эксплуатации, ООО «НПП «Шахтпожсервис», г.Кемерово), принятая за прототип, включающая соединительные патрубки, огнепреградитель коммуникационный ППК-1-04, поворотные затворы, датчики температуры, блоки питания и защиты, устройство сопряжения, блок сигнализации, сепаратор газоводяной смеси СГВС и датчик разности давлений.
Недостатками известного технического решения, принятого за прототип, является то, что оно занимает часть канала, а в связи с тем, что огнепреградитель коммуникационный ППК-1-04 состоит из сетчатых лабиринтов, которые со временем забиваются пылевыми частицами, содержащимися в отсасываемой газовоздушной смеси, это приводит к повышению аэродинамического сопротивления и снижению производительности вентилятора, дополнительному расходу электроэнергии, а также то, что остаточное пламя на огнепреградителе гасится или ручным воздействием машиниста газоотсасывающей установки, что связано с определенной инерционностью действия и возможностью вторичного возгорания и взрыва газовоздушной смеси от нагретых сетчатых лабиринтов, или автоматическим воздействием за счет подачи газоводяной смеси на огнепреградитель, что представляет определенную трудность при температуре окружающей среды ниже 0°С.
Задачами заявляемого технического решения являются предотвращение проникновения возгораний и взрывов газовоздушной смеси с поверхности через газоотсасывающую установку в газовоздушные скважины и подземные выработки, в том числе при температуре окружающей среды ниже 0°С, гашение возгорании и взрывов в начальной стадии, повышение безопасности ведения горных работ, повышение эффективности комбинированного проветривания.
Технический результат заявляемого изобретения – предотвращение проникновения возгораний и взрывов газовоздушной смеси с поверхности через газоотсасывающую установку в газовоздушные скважины и подземные выработки, в том числе при температуре окружающей среды ниже 0°С, гашение возгораний и взрывов в начальной стадии, повышение безопасности ведения горных работ, гашение возгораний и взрывов в начальной стадии, повышение безопасности ведения горных работ, повышение эффективности комбинированного проветривания.
Указанные задачи достигаются тем, что в автоматической системе защиты газовоздушных скважин от взрыва, включающей соединительный канал между переключателем потока газовоздушной смеси и газопроводом от устья газовоздушной скважины, пирометрические датчики с объективами, взрывоподавляющие устройства с соплами и блок управления, согласно изобретению, пирометрические датчики установлены внутри соединительного канала со стороны газопровода, а взрывоподавляющие устройства, сопла которых выведены внутрь соединительного канала, расположены на внешней стороне соединительного канала со стороны переключателя потока газовоздушной смеси, при этом пирометрические датчики расположены перед местом выведения сопел взрывоподавляющих устройств в соединительный канал со стороны газопровода и направлены объективами в сторону движения потока газовоздушной смеси.
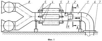
Изобретение поясняется чертежами, где на фиг.1 показан общий вид системы, а на фиг.2 показан вид по разрезу. А-А.
Автоматическая система защиты газовоздушных скважин от взрыва состоит из соединительного канала 1, пирометрических датчиков 2, блока управления 3, взрывоподавляющих устройств 4 с соплами 5. Система установлена между газопроводом 6 от устья скважины 7 и переключателем 8 потока газовоздушной смеси, причем пирометрические датчики 2 расположены со стороны газопровода 6 перед местом ввода сопел 5 взрывоподавляющих устройств 4 в соединительный канал 1 и направлены объективами 9 в сторону движения потока газовоздушной смеси.
Предлагаемая автоматическая система защиты газовоздушных скважин от взрыва работает следующим образом. При возникновении возгорания в соединительном канале 1, на выходах пирометрических датчиков 2 появляются сигналы, свидетельствующие о начале возгорания. Блок управления 3, получив сигналы от пирометрических датчиков 2, формирует сигналы для запуска взрывоподавляющих устройств 4. После запуска взрывоподавляющие устройства 4 с высокой скоростью выбрасывают ингибитор через сопла 5 внутрь соединительного канала 1 и гасят возгорание.
Предотвращение проникновения возгораний и взрывов в скважину и подземные выработки достигается быстрым гашением воспламенения в начальной стадии.
Повышение безопасности ведения горных работ достигается предотвращением проникновения возгораний и взрывов в скважину и подземные выработки.
Использование пирометрических датчиков 2, работающих в инфракрасном диапазоне, позволяет по тепловому излучению своевременно распознать возгорание, возникшее в соединительном канале 1 в любом месте перед датчиком.
Быстрое подавление возгорания достигается за счет использования взрывоподавляющих устройств 4, выбрасывающих с высокой скоростью ингибитор в соединительный канал.
Повышение эффективности комбинированного проветривания достигается тем, что система позволяет безопасно откачивать газовоздушную смесь с концентрацией метана до 100%, и тем, что повышается производительность работы вентиляторов.
Повышение производительности работы вентиляторов достигается за счет того, что пирометрические датчики 2 имеют малые размеры (диаметр 100 мм и длину 200 мм) и оказывают незначительное аэродинамическое сопротивление потоку газовоздушной смеси в соединительном канале 1.
Таким образом, заявляемая автоматическая система защиты газовоздушных скважин от взрыва позволяет достичь защиты от проникновения возгораний и взрывов газовоздушной смеси с поверхности через газоотсасывающую установку в газовоздушные скважины и подземные выработки, гашения возгораний и взрывов в начальной стадии, повышения безопасности ведения горных работ, повышения эффективности комбинированного проветривания за счет повышения производительности вентиляторов и предельной концентрации метана в газовоздушной смеси до 100%.
Формула изобретения
Автоматическая система защиты газовоздушных скважин от взрыва, включающая соединительный канал между переключателем потока газовоздушной смеси и газопроводом от устья газовоздушной скважины, пирометрические датчики с объективами, взрывоподавляющие устройства с соплами и блок управления, отличающаяся тем, что пирометрические датчики установлены внутри соединительного канала со стороны газопровода, а взрывоподавляющие устройства, сопла которых выведены внутрь соединительного канала, расположены на внешней стороне соединительного канала со стороны переключателя потока газовоздушной смеси, при этом пирометрические датчики расположены перед местом выведения сопел взрывоподавляющих устройств в соединительный канал со стороны газопровода и направлены объективами в сторону движения потока газовоздушной смеси.
РИСУНКИ
PC4A – Регистрация договора об уступке патента СССР или патента Российской Федерации на изобретение
Прежний патентообладатель:
Ануфриев Валерий Михайлович, Коротаев Павел Сергеевич, Рогачков Антон Владимирович, Климов Владимир Григорьевич, Кадошников Александр Викторович, Ремезов Анатолий Владимирович, Харитонов Виталий Геннадьевич
(73) Патентообладатель:
Общество с ограниченной ответственностью Инновационная научно-производственная фирма “Импульс” (ООО ИНП “Импульс”)
Договор № РД0047918 зарегистрирован 13.03.2009
Извещение опубликовано: 27.04.2009 БИ: 12/2009
|
|