|
|
(21), (22) Заявка: 2006116834/03, 16.05.2006
(24) Дата начала отсчета срока действия патента:
16.05.2006
(46) Опубликовано: 10.01.2008
(56) Список документов, цитированных в отчете о поиске:
КУДРЯВЦЕВ В.А. И ДР. Методика расчета и конструктивная схема охлаждающего устройства для нефтепродуктов, закачиваемых в ледогрунтовые емкости. Мерзлотные исследования. – М.: МГУ, 1961, с.301-317. SU 1330313 А1, 15.08.1987. SU 1765400 A1, 30.09.1992. RU 2206747 С2, 20.06.2003. RU 2109427 C1, 27.04.1998. DE 10309151 A1, 09.09.2004. DE 4106799 A1, 10.09.1992.
Адрес для переписки:
680035, г.Хабаровск, ул. Тихоокеанская, 136, Тихоокеанский государственный университет, отдел интеллектуальной собственности
|
(72) Автор(ы):
Шевкун Евгений Борисович (RU), Крупская Людмила Тимофеевна (RU), Вагина Галина Павловна (RU), Морин Виталий Алексеевич (RU), Крупский Валерий Тимофеевич (RU)
(73) Патентообладатель(и):
Государственное образовательное учреждение высшего профессионального образования “Тихоокеанский государственный университет” (RU)
|
(54) СПОСОБ РЕКУЛЬТИВАЦИИ ОТРАБОТАННЫХ КАРЬЕРОВ И ЗОН ОБРУШЕНИЯ В РАЙОНАХ С МЕРЗЛЫМИ ПОРОДАМИ
(57) Реферат:
Изобретение относится к горной промышленности и может быть использовано для восстановления поверхности и рекультивации отработанных карьеров. Техническим результатом является повышение эффективности рекультивации отработанных карьеров и зон обрушения в мерзлых породах. Для этого способ включает заполнение выработанного пространства льдопородным целиком в виде ледяной призмы, намороженной методом дождевания в холодный период года с использованием отрицательных температур мерзлых пород, с последующим размещением на ней слоя разрыхленных вскрышных пород толщиной более мощности сезонного оттаивания пород. При этом предварительно погашают пустоты с тонкими потолочинами под дном карьера или зоны обрушения, на дно карьера или зоны обрушения укладывают слой теплоизолирующего материала и покрывают его водонепроницаемой пленкой, над которой поэтапно строят систему сообщающихся между собой вертикальных и наклонных колодцев и горизонтальных галерей со сплошными стенками, равномерно пронизывающих выработанное пространство и имеющих выходы на дневную поверхность, снабженные крышками, и вмораживают их в ледяную призму, в теплый период года крышки закрывают, а в холодный открывают. 2 з.п. ф-лы, 2 ил.
Изобретение относится к горной промышленности и может быть использовано для восстановления поверхности и рекультивации отработанных карьеров и зон обрушения при подземной разработке полезных ископаемых в районах с суровым климатом и наличием мерзлоты.
Известен ряд способов рекультивации отработанных карьеров засыпкой их выработанного пространства вскрышными породами. Например, способ восстановления поверхности площадей отработанных карьеров и зон обрушения при разработке месторождений полезных ископаемых путем частичной засыпки карьера или зоны обрушения с последующей рекультивацией засыпанной зоны, в котором с целью уменьшения объемов работ засыпанную поверхность выполняют в виде террас, понижающихся от периферии к центру /1/. Общим недостатком таких способов является необходимость привлечения больших объемов привозной горной массы, что существенно увеличивает стоимость работ.
Наиболее близким по существу решаемой задачи является способ рекультивации карьеров путем заполнения выработанного пространства льдопородным целиком в виде ледяной призмы, намороженной методом дождевания в холодный период года с использованием отрицательных температур многолетнемерзлых пород, с последующим размещением на ней слоя разрыхленных вскрышных пород толщиной более мощности сезонного оттаивания пород /2/. Такой способ позволяет, например, с использованием установки «Град» создавать ледяные массивы высотой более 100 м. А толщина слоя вскрышных пород, укрывающих ледяную призму от оттаивания, составляет, например, для центральных районов Якутии 2-3,5 метра. Это существенно ускоряет и удешевляет рекультивацию карьеров.
Недостатком этого способа рекультивации, принятого за прототип, является невозможность его применения в условиях «вялой» мерзлоты и при переходе к открыто-подземному способу, когда под карьером имеются выработки с циркулирующим по ним теплым воздухом, способным растопить ледяную призму.
Технической задачей, на решение которой направлено предлагаемое изобретение, является повышение эффективности рекультивации отработанных карьеров и зон обрушения в мерзлых породах.
Поставленная задача достигается тем, что в способе рекультивации отработанных карьеров и зон обрушения в районах с мерзлыми породами, включающем заполнение выработанного пространства льдопородным целиком в виде ледяной призмы, намороженной методом дождевания в холодный период года с использованием отрицательных температур мерзлых пород, с последующим размещением на ней слоя разрыхленных вскрышных пород толщиной более мощности сезонного оттаивания пород, согласно изобретению предварительно погашают пустоты с тонкими потолочинами под дном карьера или зоны обрушения, на дно карьера или зоны обрушения укладывают слой теплоизолирующего материала и покрывают его водонепроницаемой пленкой, над которой поэтапно строят систему сообщающихся между собой вертикальных и наклонных колодцев и горизонтальных галерей со сплошными стенками, равномерно пронизывающих выработанное пространство и имеющих выходы на дневную поверхность, снабженные крышками, и вмораживают их в ледяную призму; в теплый период года крышки закрывают, а в холодный открывают.
В районах с повышенной среднегодовой температурой атмосферного воздуха под слоем разрыхленных вскрышных пород вокруг колодцев устанавливают теплообменники, заполненные насыщенным раствором, например, поваренной соли с добавлением льда.
В весенний период на поверхности слоя разрыхленных вскрышных пород создается многолетнее сообщество из бобово-злаковой травосмеси.
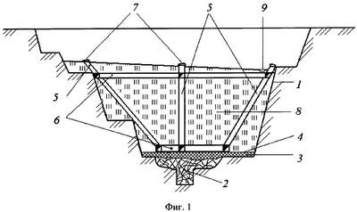
Способ рекультивации отработанных карьеров и зон обрушения в районах с мерзлыми породами иллюстрируется чертежами (на фиг.1 показан первый этап строительства, на фиг.2 – законченная рекультивация).
Способ рекультивации отработанных карьеров и зон обрушения в районах с мерзлыми породами осуществляется следующим образом.
В подлежащем рекультивации выработанном пространстве 1 карьера или зоны обрушения проводят погашение всех пустот 2 под дном выработанного пространства, например, взрыванием потолочин. Затем на дно выработанного пространства 1 размещают слой теплоизолирующего материала 3, например торфа, доменного шлака и т.п., и покрывают его водонепроницаемой пленкой 4, например полиэтиленовой. После этого начинают строить первую часть взаимосвязанной системы вертикальных и наклонных выработок в виде колодцев 5 и горизонтальных галерей 6. Колодцы 5 имеют выходы на дневную поверхность, снабженные теплоизолированными крышками 7. Для исключения проникновения льда в эти выработки при его протаивании стенки выполняют сплошными, например, в виде сруба из бревен или набором железобетонных панелей. С наступлением устойчивых отрицательных температур, когда глубина промерзания достигает величин более метра, а температура атмосферного воздуха ниже минус 20°С, приступают к намораживанию ледяного массива 8, например, с помощью установки «Град», позволяющей, как показывает опыт ее использования /2/, создавать ледяные массивы мощностью более 100 м.
После намораживания ледяного массива 8 до уровня верхней части колодцев 5 их наращивают и снова намораживают лед. Процесс этот достаточно медленный. Так, по данным прототипа, слой водно-ледяной смеси, нанесенной дождеванием на рекультивируемую поверхность, при толщине 5 см промерзает при температуре -20°С от 4,2 часа до 8,7 часа, в зависимости от скорости ветра, при температуре -30°С – от 2,8 до 5,8 часа. Поэтому при больших объемах выработанного пространства формирование ледяного массива 8 может занять несколько зим. В этом случае перед наступлением теплого периода процесс рекультивации приостанавливают. Для этого верхнюю часть ледяного массива 8 намораживают с уклоном к одному из бортов карьера и покрывают теплоизоляционным материалом, например древесными опилками. Выходы колодцев 5 закрывают теплоизолированными крышками 7 и ведут контроль за стекающей по уклону ледяного массива 8 талой и дождевой водой, откачивая ее по мере необходимости из прибортового зумпфа 9. С наступлением следующего сезона холодов рекультивацию продолжают. После формирования ледяного массива 8 до проектной отметки над ним создают слой 10 разрыхленного грунта, например, с помощью бульдозеров. Причем толщина слоя 10 должна превышать мощность сезонной оттайки и обеспечивать теплоизоляцию ледяного массива 8.
Крышки 7 колодцев 5 остаются открытыми весь морозный период для аккумулирования достаточного запаса отрицательных температур в ледяном массиве 8 путем циркуляции холодного воздуха по колодцам 5 и галереям 6.
В теплый период года крышки 7 закрывают, чтобы сохранить отрицательную температуру ледяного массива 8. Слой теплоизолирующего материала 3 защищает ледяной массив 8 от поступающего из погашенных выработок 2 тепла. А водонепроницаемая пленка 4 предотвращает поступление воды, могущей образоваться в летний период года у бортов карьера, в теплоизолирующий слой 3.
Если в районе рекультивируемого карьера возможно сезонное повышение летних температур выше допустимых пределов, могущих повлечь растепление ледяного массива, у одного или нескольких колодцев 5 под слоем 10 рыхлого грунта создают теплообменники 11 в виде бассейнов, например, из железобетона, заполненных насыщенным раствором, например, поваренной соли с кусками льда. Такая криогидратная смесь может запасать большие количества холода в зимний период и постепенно отдавать его за счет растопления льда. Так, в работе /3/ приведены данные о том, что криогидратная смесь за счет растопления 23 м3 льда позволяет произвести теплосъем в размере 1,65·106 ккал. Расчет объема теплообменника проводится по известным формулам и методикам, приведенным, например, в /3/.
Таким образом, предлагаемый способ рекультивации отработанных карьеров и зон обрушения в районах с мерзлыми породами позволяет с небольшими затратами провести заполнение больших объемов выработанного пространства льдом и обеспечить его поддержание в твердом состоянии в теплый период года и тем самым решить поставленную техническую задачу.
Источники информации, принятые во внимание при составлении заявки
1. А.с. СССР № 945434, Е21С 41/02, 1982.
Формула изобретения
1. Способ рекультивации отработанных карьеров и зон обрушения в районах с мерзлыми породами, включающий заполнение выработанного пространства льдопородным целиком в виде ледяной призмы, намороженной методом дождевания в холодный период года с использованием отрицательных температур мерзлых пород, с последующим размещением на ней слоя разрыхленных вскрышных пород толщиной более мощности сезонного оттаивания пород, отличающийся тем, что предварительно погашают пустоты с тонкими потолочинами под дном карьера или зоны обрушения, на дно карьера или зоны обрушения укладывают слой теплоизолирующего материала и покрывают его водонепроницаемой пленкой, над которой поэтапно строят систему сообщающихся между собой вертикальных и наклонных колодцев и горизонтальных галерей со сплошными стенками, равномерно пронизывающих выработанное пространство и имеющих выходы на дневную поверхность, снабженные крышками, и вмораживают их в ледяную призму, в теплый период года крышки закрывают, а в холодный – открывают.
2. Способ по п.1, отличающийся тем, что в районах с повышенной среднегодовой температурой атмосферного воздуха под слоем разрыхленных вскрышных пород вокруг колодцев устанавливают теплообменники, заполненные насыщенным раствором, например, поваренной соли с добавлением льда.
3. Способ по п.2, отличающийся тем, что в весенний период на поверхности слоя разрыхленных вскрышных пород создается многолетнее сообщество из бобово-злаковой травосмеси.
РИСУНКИ
MM4A – Досрочное прекращение действия патента СССР или патента Российской Федерации на изобретение из-за неуплаты в установленный срок пошлины за поддержание патента в силе
Дата прекращения действия патента: 17.05.2008
Извещение опубликовано: 10.06.2010 БИ: 16/2010
|
|