|
|
(21), (22) Заявка: 2006114903/03, 02.05.2006
(24) Дата начала отсчета срока действия патента:
02.05.2006
(46) Опубликовано: 10.01.2008
(56) Список документов, цитированных в отчете о поиске:
RU 2132939 C1, 10.07.1999. RU 2059062 C1, 27.04.1996. RU 2193649 C2, 27.11.2002. RU 2247230 C1, 27.02.2005. RU 2170340 C1, 10.07.2001. RU 2066742 C1, 20.09.1996. US 4022279 A, 10.05.1977.
Адрес для переписки:
634027, г.Томск, пр. Мира, 72, ОАО “ТомскНИПИнефть ВНК”
|
(72) Автор(ы):
Сулаева Татьяна Викторовна (RU), Прасс Лембит Виллемович (RU), Медведева Татьяна Васильевна (RU)
(73) Патентообладатель(и):
Открытое акционерное общество “Томский научно-исследовательский и проектный институт нефти и газа Восточной нефтяной компании” ОАО “ТомскНИПИнефть ВНК” (RU)
|
(54) СПОСОБ РАЗРАБОТКИ МНОГОПЛАСТОВОЙ НЕФТЯНОЙ ЗАЛЕЖИ
(57) Реферат:
Изобретение относится к нефтедобывающей промышленности и может найти применение при разработке многопластовой залежи с неоднородными по проницаемости пластами породы. Обеспечивает создание технологического и экономически эффективного способа разработки многопластовой нефтяной залежи, состоящей из высоко- и низкопроницаемых пластов разной смачиваемости, позволяющего увеличить нефтеотдачу пластов. Сущность изобретения: способ включает разделение пластов на две группы с различными фильтрационно-емкостными свойствами, выделение первой группы пластов с более высокой проницаемостью и второй группы пластов с меньшей проницаемостью, закачку рабочего агента через нагнетательные скважины, отбор нефти из пластов через добывающие скважины. Согласно изобретению во второй группе пластов с меньшей проницаемостью выделяют эксплуатационный объект с гидрофобной поверхностью пород. Закачивают в него оторочки мицеллярного раствора, которые последовательно вытесняют оторочками буферной жидкости и предварительно очищенной подтоварной или сеноманской водой. Одновременно с закачкой мицеллярного раствора и последовательными закачками оторочки буферного раствора и очищенной подтоварной или сеноманской воды закачивают очищенную подтоварную или сеноманскую воду в первую группу пластов с более высокой проницаемостью. Отбор нефти осуществляют одновременно из всех групп пластов. 2 ил.
Изобретение относится к нефтедобывающей промышленности и может найти применение при разработке многопластовой залежи с неоднородными по проницаемости пластами породы.
Известен способ разработки многопластового нефтяного месторождения, включающий выделение эксплуатационных объектов в два этапа, причем на первом этапе – при проектировании на основании обобщенной информации по редкой сетке разведочных скважин, на втором этапе – после бурения проектной сквозной сетки скважин на основе индивидуальной информации по скважинам сетке, бурение и исследование скважин, добычу нефти из добывающих скважин и закачку вытесняющего агента в нагнетательные скважины (Патент РФ №2188938, Е21В 43/30, 2002).
Недостатком этого способа являются большие капитальные затраты, связанные с бурением большого числа скважин.
Известен способ разработки многопластовой нефтяной залежи, включающий разделение пластов на две группы с различной проницаемостью, включение в первую группу пластов с наиболее высокой проницаемостью, включение во вторую группу пластов, менее проницаемых, отбор нефти из пластов через добывающие скважины, закачку рабочего агента через нагнетательные скважины, при наличии в залежи сверхпроницаемого пласта, называемого суперколлектором, нагнетательные скважины, пробуренные в пласты второй группы, останавливают, бурят нагнетательные скважины непосредственно в суперколлектор и/или используют нагнетательные скважины, пробуренные в суперколлектор, гидродинамическую связь добывающих скважин непосредственно с суперколлектором ликвидируют и бурят дополнительные добывающие скважины над суперколлектором, закачивают рабочий агент через нагнетательные скважины в суперколлектор, отбирают нефть через добывающие скважины над суперколлектором (патент 1270344 РФ, Е21В 43/20, 2001). Нефтеотдача залежи по данному способу остается на невысоком уровне.
Наиболее близким к изобретению по технической сущности является способ разработки многопластовой нефтяной залежи, включающий разделение пластов на две группы, оценку значений фильтрационно-емкостных свойств для каждой группы, включение в первую группу пластов с более высокой проницаемостью и опережающей выработкой запасов, во вторую группу менее проницаемых пластов с медленной выработкой запасов, отбор нефти из пластов через добывающие скважины, закачку рабочего агента в циклическом режиме через нагнетательные скважины, закачку агента, увеличивающего гидродинамическое сопротивление пласта, по крайней мере в одну нагнетательную и/или добывающую скважину во второй половине периода снижения пластового давления, выбор продолжительности цикла закачки рабочего агента из условия обеспечения наименьшей разницы в осредненных скоростях перемещения фронтов вытеснения по пластам продуктивного разреза первой и второй групп (патент 2132939 РФ, Е21В 43/20, 1999). Технологический комплекс воздействия на пласт через нагнетательные и отдельно добывающие скважины достаточно длителен и сложен, так как требует постоянного отслеживания пластового давления и циклического воздействия на пласт. Нефтеотдача разрабатываемого пласта остается на низком уровне и технология разработки залежи достаточно сложная.
Задача изобретения – создание технологического и экономически эффективного способа разработки многопластовой нефтяной залежи, состоящей из высоко- и низкопроницаемых пластов, разной смачиваемости, позволяющего увеличить нефтеотдачу пластов.
Технический результат заключается в увеличении нефтеотдачи пластов с различной проницаемостью, в частности из низкопроницаемой гидрофобной части пласта.
Указанный технический результат достигается тем, что способ разработки многопластовой нефтяной залежи, включающий разделение пластов на две группы, выделение первой группы пластов с более высокой проницаемостью и второй группы пластов с меньшей проницаемостью, закачку рабочего агента через нагнетательные скважины, отбор нефти из пластов через добывающие скважин, согласно изобретению во второй группе пластов с меньшей проницаемостью выделяют эксплуатационный объект с гидрофобной поверхностью пород, закачивают в него оторочки мицеллярного раствора, которые последовательно вытесняют оторочками буферной жидкости и предварительно очищенной подтоварной или сеноманской водой, причем одновременно с закачкой мицеллярного раствора и последовательными закачками оторочки буферного раствора и очищенной подтоварной или сеноманской воды закачивают предварительно очищенную подтоварную или сеноманскую воду в первую группу пластов с более высокой проницаемостью, отбирают нефти одновременно из всех групп пластов.
Сущность технического решения заключается в том, что на основе информации о керне и геофизических исследованиях определяют наличие гидрофобных участков в продуктивной зоне залежи в нагнетательных скважинах с его низкой проницаемостью. Выделенный участок с такими параметрами фиксируют в отдельный эксплуатационный объект существующими средствами, например управляемыми пакерами и клапанами и пр., т.е. обеспечивают возможность адресного воздействия на гидрофобный участок залежи. В качестве рабочего агента нами предложено использовать мицеллярный раствор (это 5-10% от объема порового объема продуктивного пласта), который действует в зоне контакта нефть-вода как вытесняющий агент. Оторочку мицеллярного раствора вытесняют оторочкой буферной жидкости (объем буферной оторочки составляет 20-50% от объема порового объема пласта) и дополнительно предварительно очищенной подтоварной или сеноманской водой (до 100% от объема порового объема пласта) с содержанием механических примесей не более 10 мг/л (после очистки) для уменьшения опасности прорыва нагнетаемой воды через мицеллярный раствор.
Одновременно с закачкой мицеллярного раствора в выделенный эксплуатационный объект гидрофобной породы с низкой проницаемостью закачивают подтоварную или сеноманскую воду в эксплуатационный объект с высокой проницаемостью. Такой порядок закачки позволяет уменьшить расход мицеллярного раствора (в два и более раза) и количество необходимых гидравлических каналов, т.е. технологическая схема по добыче упрощается.
Новизна предложения заключается в том, что предварительно выделяют гидрофобные участки пласта, из которых не может быть вытеснена нефть известными способами, т.к. в зоне контакта вытесняющего агента и нефти вектор капиллярных сил породы направлен против направления движения вытесняющего агента. В гидрофобной породе капиллярное давление на границе нефть-вода направлено в сторону водной фазы и препятствует проникновению вытесняющей воды в нефтенасыщенное пространство коллектора. Адресное воздействие оторочкой мицеллярного раствора, передвигаемого по гидрофобному участку буферной жидкостью, существенно уменьшит сопротивление капиллярных сил, удалит скопившиеся в призабойной зоне при закачке сточных вод углеводородные и механические частицы, улучшит смачиваемость породы за счет ультранизких значений поверхностного натяжения на границе нефть-вода-порода, а также наблюдается уменьшение количества используемого (расхода) мицеллярного раствора. Оторочка мицеллярного раствора обладает достаточно высокой способностью снижать поверхностное натяжение между нефтью и водой.
Таким образом, извлечение нефти из низкопроницаемой гидрофобной части пласта повышается, а это приводит к увеличению текущей добычи нефти.
Способ реализуется следующим образом. Предварительно (до выделения эксплуатационных объектов) выполняют анализ низкопроницаемой продуктивной зоны пласта в нагнетательных скважинах, используя, например, данные электрокаротажа. Материалы анализа кернов этой продуктивной части скважин свидетельствуют о полном отсутствии в породе признаков свободной воды, а это означает, что порода имеет преимущественно гидрофобную поверхность. Далее выделяют два эксплуатационных объекта в нагнетательных скважинах: первый объект имеет высокопроницаемую породу (более 0,25 мкм2), второй объект – низкопроницаемую (0,004-0,25 мкм2) гидрофобную породу.
Для отбора нефти используют два независимых канала: один для первого эксплуатационного объекта, а второй – для второго эксплуатационного объекта. Гидравлические каналы в скважинах обеспечиваются двумя коаксиально установленными колоннами насосно-компрессорных труб (НКТ) и пакерами. В предлагаемом варианте достаточно иметь два канала: один для закачки вытесняющего агента в первый эксплуатационный объект, а второй для закачки вытесняющего агента во второй.
Для реализации такого варианта отбора нефти наиболее целесообразно использовать двухпоточные центробежные насосы, которые обеспечивают подъем жидкости с требуемым напором и регулируемой подачей давления, которые могут быть установлены как на кустах, так и на насосных станциях, позволяющие поддерживать оптимальный режим вытеснения нефти из пласта и тем самым увеличивать коэффициент нефтеизвлечения. В качестве мицеллярного раствора можно использовать концентрированный раствор ПАВ в углеводородной жидкости. Рекомендован к использованию, например, мицеллярный раствор со следующим содержанием компонентов, мас.%:
| Сульфонат натрия /активное вещество/ |
4,0-10,8 |
| Изопропиловый спирт |
0,7-3,0 |
| Углеводородная жидкость |
7,5-20,0 |
| Вода /1-% раствор хлорида натрия/ |
73,0-80,0 |
(Жданов С.А. и др. Оценка эффективности использования оторочек мицеллярных систем при увеличении добычи остаточной нефти. Сб. науч. Тр. ВНИИ. Вып. 75, М., 1981. – С.99-103).
При применении указанного мицеллярного раствора не требуется наличия предоторочки между вытесняемой нефтью и передним фронтом мицеллярного раствора. Объем закачиваемого в пласт мицеллярного раствора составляет от 5 до 10% от объема порового пространства. Буферная жидкость содержит дополнительно очищенную воду и полиакриламид (ПАА). Содержание полиакриламида изменяется от 0,01-0,15% от массы воды. Объем буферной оторочки изменяется от 20 до 50% от объема порового пространства (Проектирование разработки нефтяных месторождений. Ш.К.Гиматудинов и др. М.: Недра. – 1983. – С.463).
Оптимальное содержание компонентов мицеллярного раствора, буферной жидкости и очищенной подтоварной или сеноманской воды определяется на основании экспериментальных и промысловых исследований. Для каждого конкретного месторождения существует свой оптимальный объем оторочки, при котором применение мицеллярного раствора, буферной жидкости и очищенной подтоварной или сеноманской воды наиболее эффективно.
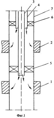
Изобретение поясняется чертежами, на которых изображено: фиг.1 – схема раздельной закачки вытесняющего агента в выделенный эксплуатационный объект; фиг.2 – схема отбора нефти.
На фиг.1 первая группа пластов 1 расположена ниже выделенного эксплуатационного объекта 2. Колонны насосно-компрессорных труб (НКТ) 3 и 4 установлены коаксиально. На нижнем конце колонны 3 установлены пакер 5. На нижнем конце колонны 4 установлен пакер 6 с возможностью закачки вытесняющего агента (мицеллярного раствора) в выделенный эксплуатационный объект 2 и исключающий воздействие высокого давления на обсадную колонну 7.
Схема работает следующим образом. На первом этапе выполняют гидравлическую пакеровку колонн НКТ 3 и 4 пакерами 5 и 6. При включении насосов высокого давления, расположенных на кусте или насосной станции (на чертеже не показано), мицеллярный раствор по межтрубному пространству колонн НКТ 3 и 4 закачивают в низкопроницаемую породу выделенного эксплуатационного объекта 2 и одновременно по колонне НКТ 3 закачивают дополнительно очищенную подтоварную воду в первую группу пластов 1. При этом пакеры 5 и 6 обеспечивают разделение первой группы пластов 1 и выделенного эксплуатационного объекта 2. Затем мицеллярный раствор в выделенном эксплуатационном объекте 2 перемещают последовательно оторочкой буферной жидкости и оторочкой дополнительно очищенной подтоварной водой. Одновременно с закачкой мицеллярного раствора, а затем последовательной закачкой оторочки буферной жидкости в эксплуатационный объект 2 дополнительно очищенную подтоварную воду нагнетают как в первую группу пластов 1, так и в выделенный эксплуатационный объект 2.
Схема отбора нефти приведена на фиг.2. Двухпоточный центробежный насосный агрегат 8 с электрическим двигателем 9 установлен под колонной НКТ 10. Насосный агрегат 8 имеет нижние 11 и верхние 12 приемные окна. Насосный агрегат 8 снабжен кожухом 13, верхний конец которого прикреплен к корпусу насосного агрегата 8 выше приемных окон 11, а нижний конец кожуха 13 соединен гидравлическим пакером 14.
Схема работает следующим образом. Пакером 14 разделяют первую группу пластов 1 от выделенного эксплуатационного объекта 2. Производительность верхней и нижней частей насосного агрегата 8 выбирают с учетом исходных данных по дебитам пластов. При включении насосного агрегата 8 нефть из первой группы пластов 1 поступает в скважину, зазор между кожухом 13 и двигателем 9, в нижние приемные окна 11 насосного агрегата 8. Из выделенного эксплуатационного объекта 2 нефть поступает в верхние приемные окна 12 насосного агрегата 8, который нагнетает ее по колонне НКТ 10 на поверхность. В результате заявленного способа обеспечивается одновременный и раздельный отбор нефти из выделенного эксплуатационного объекта и первой группы пластов, а также подъем нефти на поверхность при помощи одного насосного агрегата и одного гидравлического канала.
Таким образом, выделение низкопроницаемой гидрофобной зоны продуктивного пласта в отдельный эксплуатационный объект, обеспечение локальной закачки в указанный объект мицеллярного раствора и вытеснение этого раствора буферной жидкостью и дополнительно очищенной водой позволяет повысить извлечение нефти из низкопроницаемой гидрофобной зоны залежи и увеличить приемистость нагнетательных скважин. Ожидаемое увеличение коэффициента извлечения нефти из низкопроницаемой гидрофобной зоны залежи составляет 15-25%.
Формула изобретения
Способ разработки многопластовой нефтяной залежи, включающий разделение пластов на две группы с различными фильтрационно-емкостными свойствами, выделение первой группы пластов с более высокой проницаемостью и второй группы пластов с меньшей проницаемостью, закачку рабочего агента через нагнетательные скважины, отбор нефти из пластов через добывающие скважины, отличающийся тем, что во второй группе пластов с меньшей проницаемостью выделяют эксплуатационный объект с гидрофобной поверхностью пород, закачивают в него оторочки мицеллярного раствора, которые последовательно вытесняют оторочками буферной жидкости и предварительно очищенной подтоварной или сеноманской водой, причем одновременно с закачкой мицеллярного раствора и последовательными закачками оторочки буферного раствора и очищенной подтоварной или сеноманской водой закачивают очищенную подтоварную или сеноманскую воду в первую группу пластов с более высокой проницаемостью, а отбор нефти осуществляют одновременно из всех групп пластов.
РИСУНКИ
|
|