|
|
(21), (22) Заявка: 2006117968/03, 24.05.2006
(24) Дата начала отсчета срока действия патента:
24.05.2006
(46) Опубликовано: 10.01.2008
(56) Список документов, цитированных в отчете о поиске:
RU 2188929 C1, 10.09.2002. SU 646034 А, 05.02.1979. SU 305254 A, 04.06.1971. RU 2211302 C1, 27.08.2003. RU 2053357 C1, 27.01.1996. RU 44348 U1, 10.03.2005. US 5103908 A, 14.04.1992.
Адрес для переписки:
423236, Республика Татарстан, г. Бугульма, ул. М. Джалиля, 32, “ТатНИПИнефть”, сектор создания и развития промышленной собственности
|
(72) Автор(ы):
Ахмадишин Фарид Фоатович (RU), Тимиров Альмир Сахеевич (RU), Кадыров Рамзис Рахимович (RU), Страхов Дмитрий Витальевич (RU), Зиятдинов Радик Зяузятович (RU), Оснос Владимир Борисович (RU)
(73) Патентообладатель(и):
Открытое акционерное общество “Татнефть” им. В.Д. Шашина (RU)
|
(54) УСТРОЙСТВО ДЛЯ ПРОВЕДЕНИЯ ВОДОИЗОЛЯЦИОННЫХ РАБОТ В СКВАЖИНЕ
(57) Реферат:
Изобретение относится к нефтегазодобывающей промышленности. Обеспечивает повышение качества водоизоляционных работ. Устройство состоит из спущенной в скважину колонны лифтовых труб с расположенной внутри нее колонной труб. Колонна лифтовых труб снизу оснащена хвостовиком. Колонна труб снабжена снизу радиальными каналами, ниже которых заглушена. Радиальные каналы колонны труб снаружи герметично перекрыты втулкой с боковыми каналами. Втулка выполнена с возможностью ограниченного перемещения вверх и совмещения боковых каналов с радиальными каналами колонны труб. Между колонной лифтовых труб и хвостовиком установлен тарельчатый клапан с седлом. Седло оборудовано разрушаемым элементом, удерживающим тарельчатый клапан в открытом состоянии. Нижняя часть колонны труб имеет возможность герметичного перекрытия седла тарельчатого клапана и взаимодействия с разрушаемым элементом. Хвостовик снизу оснащен полым концевиком с заглушкой. Заглушка установлена внутри концевика и выполнена с возможностью ограниченного перемещения вверх при упоре на забой скважины. В концевике выполнены радиальные отверстия с возможностью герметичного перекрытия заглушкой при ее перемещении вверх. 2 ил.
Предложение относится к нефтегазодобывающей промышленности, в частности к устройствам для проведения водоизоляционных работ в скважине.
Известен способ проведения водоизоляционных работ на скважине (патент RU №2188929, МПК 7 Е21В 33/13, Бюл. №28 от 10.09.2002 г.) и устройство для его осуществления согласно которому лифтовая колонна труб сообщена с межтрубным пространством, при этом колонну безмуфтовой длинномерной трубы (БДТ) спускают в полость колонны лифтовых труб, а затем в полость БДТ закачивают буферную жидкость, инертную по отношению к водоизолирующему составу в объеме 0,3-0,5 м3, закачивают водоизолирующий состав в расчетном объеме и вторую порцию буферной жидкости в объеме 0,2-0,3 м3 и проводят продавливание водоизолирующего состава и буферной жидкости, причем продавливание ведут двумя независимо работающими насосными агрегатами, которыми закачивают продавочную жидкость в колонну БДТ, колонну лифтовых труб и в эксплуатационную колонну, при этом процесс закачивания продавочной жидкости обоими агрегатами продолжают до полного вытеснения водоизолирующей композиции из колонны БДТ и проникновения водоизолирующей композиции в пласт, после чего прекращают работу второго агрегата, закачивающего продавочную жидкость в кольцевое пространство между лифтовой и эксплуатационной колоннами, соединяют полость лифтовой колонны посредством дроссельного устройства со сливной линией, идущей от скважины, закачивают в колонну БДТ промывочную жидкость в объеме, достаточном для ее очистки от примененных компонентов, герметизируют кольцевую полость эксплуатационной колонны, а затем закрывают сливную линию и оставляют скважину под давлением на время реакции водоизолирующей смеси, при этом производительность первого насосного агрегата, закачивающего продавочную жидкость в колонну БДТ, и производительность второго агрегата, закачивающего продавочную жидкость в колонну лифтовых труб и эксплуатационную колонну, пропорциональна площади поперечного сечения БДТ и сумме площадей поперечного сечения кольцевого канала, образованного наружной поверхностью колонны БДТ и внутренней поверхностью лифтовой колонны, а также поперечного сечения кольцевого канала, образованного наружной поверхностью лифтовой колонны и внутренней поверхностью эксплуатационной колонны, при этом настройку дроссельного устройства производят таким образом, чтобы давление в зоне выполнения водоизоляционных работ при продавке водоизоляционной композиции в пласт и при промывке колонны БДТ было постоянным.
Недостатками данного устройства являются:
– во-первых, сложность конструкции, обусловленная большим количеством узлов и деталей;
– во-вторых, сложная технология применения, связанная с тем, что продавливание жидкости ведут двумя независимо работающими насосными агрегатами, при этом производительность каждого насосного агрегата требует соблюдения определенных пропорций.
Наиболее близким по технической сущности является устройство для проведения водоизоляционных работ в скважине (патент RU №2188929, МПК 7 Е21В 33/13, Бюл. №28 от 10.09.2002 г.), состоящее из спущенной в скважину колонны лифтовых труб с расположенной внутри нее колонной труб.
Недостатками данного устройства являются:
во-первых, невозможно использовать колонное пространство скважины в качестве осреднительной емкости при приготовлении водоизоляционного состава;
во-вторых, нестабильная плотность закачиваемого в скважину водоизоляционного состава, поскольку невозможно осуществить циркуляцию водоизоляционного состава через колонну труб в скважине при его приготовлении, что приводит к снижению качества изоляционных работ в скважине и, как следствие, к скорым повторным работам;
в-третьих, невозможна опрессовка колонн труб в скважине без спуска-подъема в скважину дополнительного оборудования, например пакера.
Задачей изобретения является возможность опрессовки колонн труб в скважине перед проведением водоизоляционных работ без спуска-подъема дополнительного оборудования и исключение осреднительной емкости из технологического процесса приготовления водоизоляционного состава, а также повышение качества водоизоляционных работ.
Поставленная техническая задача решается устройством для проведения водоизоляционных работ в скважине, состоящим из спущенной в скважину колонны лифтовых труб с расположенной внутри нее колонной труб.
Новым является то, что колонна лифтовых труб снизу оснащена хвостовиком, а колонна труб снабжена снизу радиальными каналами, ниже которых заглушена, причем радиальные каналы колонны труб снаружи герметично перекрыты втулкой с боковыми каналами, при этом втулка выполнена с возможностью ограниченного перемещения вверх и совмещения боковых каналов с радиальными каналами колонны труб, при этом между колонной лифтовых труб и хвостовиком установлен тарельчатый клапан с седлом, которое оборудовано разрушаемым элементом, удерживающим тарельчатый клапан в открытом состоянии, причем нижняя часть колонны труб имеет возможность герметичного перекрытия седла тарельчатого клапана и взаимодействия с разрушаемым элементом, при этом хвостовик снизу оснащен полым концевиком с заглушкой, установленной внутри и выполненной с возможностью ограниченного перемещения вверх при упоре на забой скважины, причем в концевике выполнены радиальные отверстия, выполненные с возможностью герметичного перекрытия заглушкой при ее перемещении вверх.
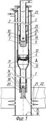
На фигуре 1 изображено предлагаемое устройство в продольном разрезе.
На фигуре 2 изображен вид А разрушаемого элемента.
Устройство для проведения водоизоляционных работ в скважине состоит из спущенной в скважину 1 (см. фиг.1) колонны лифтовых труб 2 с расположенной внутри нее колонной труб 3. Колонна лифтовых труб 2 снизу посредством муфты 4 оснащена хвостовиком 5. Колонна труб 3 снабжена снизу радиальными каналами 6, ниже которых заглушена посредством заглушки 7. Радиальные каналы 6 колонны труб 3 снаружи герметично перекрыты втулкой 8, оснащенной боковыми каналами 9. Втулка 8 зафиксирована в транспортном положении относительно колонны труб 3 срезным элементом 10 и выполнена с возможностью ограниченного перемещения вверх и совмещения боковых каналов 9 с радиальными каналами 6 колонны труб 3. Между колонной лифтовых труб 2 и хвостовиком 4 установлен тарельчатый клапан 11 с седлом 12, которое оборудовано разрушаемым элементом 13 (см. фиг.2), удерживающим тарельчатый клапан 9 в открытом состоянии. Нижняя часть колонны труб 3 имеет возможность герметичного перекрытия седла 12 тарельчатого клапана 11 и взаимодействия с разрушаемым элементом 13.
Хвостовик 4 снизу оснащен полым концевиком 14 с заглушкой 15, установленной внутри и выполненной с возможностью ограниченного перемещения вверх при упоре на забой 16 скважины 1. В концевике 14 выполнены радиальные отверстия 17, выполненные с возможностью герметичного перекрытия заглушкой 15 при ее перемещении вверх.
Несанкционированные перетоки жидкости в процессе работы исключаются уплотнительными элементами 18 и 19.
Устройство для проведения водоизоляционных работ работает следующим образом.
Перед спуском в скважину 1 колонны лифтовых труб 2 (см. фиг.1) производят сборку оборудования, спускаемого на конце колонны лифтовых труб 2. С этой целью сначала собирают трубы хвостовика 5, спуская их в скважину 1, причем самую нижнюю трубу хвостовика 4 оснащают полым концевиком 14 с установленной внутри нее заглушкой 15. В процессе спуска хвостовика 5 в скважину 1 радиальные отверстия 17 концевика 14 открыты благодаря фиксации заглушки 15 в концевике 14 с помощью стопорного кольца 20, не позволяющего заглушке 15 перекрывать радиальные отверстия 17 концевика 14 до взаимодействия заглушки 15 с забоем 16 скважины 1. После спуска хвостовка 5 в скважину 1 на расчетную глубину, собранную компоновку труб хвостовика 5 наворачивают на нижний конец муфты 4, затем внутрь муфты 4 герметично устанавливают седло 12 с прикрепленным к нему снизу тарельчатым клапаном 11 и разрушаемым элементом 13. После этого собранное оборудование посредством муфты 4 наворачивают на нижний конец колонны лифтовых труб 2.
Далее в скважину 1 сначала спускают колонну лифтовых труб 2, оснащенную на конце вышеописанным оборудованием. В процессе спуска колонны лифтовых труб 2 в скважину 1 находящаяся в ней жидкость свободно перетекает снизу вверх внутрь колонны лифтовых труб 2 благодаря разрушаемому элементу 13, удерживающему тарельчатый клапан 11 в открытом состоянии. Спуск колонны лифтовых труб 2 в скважину 1 продолжают до тех пор, пока заглушка 15 не упрется на забой 16, о чем свидетельствует потеря веса колонны лифтовых труб 2 на индикаторе веса (на фиг.1 и 2 не показано), установленного на устье скважины 1, при этом заглушка 15 сожмет стопорное кольцо 20 и переместится вверх герметично посредством уплотнительного элемента 18, перекрыв радиальные отверстия 17 концевика 14. После этого доливают колонну лифтовых труб 2 технологической жидкостью и обвязывают ее с насосным агрегатом (на фиг.1 и 2 не показано). После чего производят опрессовку колонны лифтовых труб 2. Убедившись в герметичности колонны лифтовых труб 2, ее приподнимают вверх до тех пор, пока нижняя кромка хвостовика 5 не расположится напротив перфорационных отверстий 21, выполненных в обсадной колонне скважины 1 напротив изолируемого водоносного пласта 22. После чего крепят верхний конец колонны лифтовых труб 2 на устье скважины 1.
Затем в колонну лифтовых труб 2 спускают колонну труб 3, снабженную на конце заглушкой 7, до тех пор, пока заглушка 7 не войдет в седло 12, а втулка 8, зафиксированная в транспортном положении относительно колонны труб 3 срезным элементом 10, не вступит во взаимодействие своим нижним торцом с седлом 12, о чем свидетельствует падение веса колонны труб 3 на индикаторе веса (на фиг.1 и 2 не показано), установленного на устье скважины 1. Между колонной лифтовых труб 2 и колонной труб 3 образуется межколонное пространство 23. Производят заполнение колоны труб 3 технологической жидкостью и обвязывают ее с насосным агрегатом. После этого производят опрессовку колонны труб 3. Далее доспускают колонну труб 3, при этом заглушка 7 входит в седло 12 муфты 4 колонны лифтовых туб 2 и своим нижним торцом разрушает разрушаемый элемент 13 (см. фиг.1 и 2), который падает на забой 16 скважины 1.
Разгрузку колонны труб 3 на седло 12 продолжают, причем нижняя часть колонны труб 3 герметично садится на седло 12, при этом разрушается срезной элемент 10, вследствие чего происходит совмещение боковых каналов 9 втулки 8 с радиальными каналами 6 колонны труб 3. Втулка 8 в верхнем положении стопорится с помощью фиксирующего кольца 24 в кольцевой выборке 25 колонны труб 3, не позволяя втулке 8 самопроизвольно перемещаться относительно нижнего конца колонны труб 3.
Далее начинают приготовление водоизоляционного состава.
Для этого закачкой жидкости в колонну труб 3 через совмещенные радиальные каналы 8 колонны труб 3 и боковые каналы 9 втулки 8 и далее вверх по межколонному пространству 23, а затем вновь в колонну труб 3 – круговой циркуляцией приготавливают водоизоляционный состав (межколонное пространство 23 скважины 1 между колонной лифтовых труб 2 и колонной труб 3 используется в качестве осреднительной емкости). Таким образом, круговую циркуляцию водоизоляционного состава продолжают до стабилизации его плотности.
После приготовления водоизоляционного состава колонну труб 3 приподнимают вверх до тех пор, пока нижняя кромка заглушки 7 не окажется выше седла 12 на 0,3-0,5 метра, при этом тарельчатый клапан 11 закрывается. Герметизируют на устье скважины пространство между лифтовой колонной труб 2 и колонной труб 3.
Далее в межколонное пространство 23 с устья скважины 1 закачивают расчетный объем продавочной жидкости, оставив примерно 100 литров водоизоляционного состава в межколонном пространстве 23 с учетом того, чтобы после продавки верхний уровень водоизоляционного состава был выше боковых каналов 9 втулки 8 с целью исключения смешивания продавочной жидкости с водоизоляционным составом, находящимся внутри колонны труб 3. Производят продавку водоизоляционного состава из межколонного пространства 23 сквозь седло 12 и открывшийся под давлением продавки тарельчатый клапан 11 через внутреннее пространство хвостовика 5 в концевик 14. Под давлением продавки заглушка 15 перемещается внутри концевика 14 вниз и фиксируется стопорным кольцом 20 в нижнем положении (см. фиг.1), при этом открываются радиальные отверстия 17 концевика 14 и водоизоляционный состав продавливается через открывшиеся радиальные отверстия 17 концевика 14 сквозь перфорационные отверстия 21 в изолируемый водоносный пласт 22.
Далее герметизируют на устье скважины межколонное пространство 23 и закачивают в колонну труб 3 расчетный объем продавочной жидкости и производят продавку водоизоляционного состава из колонны труб 3 через радиальные каналы 6 колонны труб 3 и боковые каналы 9 втулки 8 и далее через межколонное пространство 23 через седло 12 и тарельчатый клапан 11 по внутренним пространствам хвостовика 5 и концевика 12, через открытые радиальные отверстия 17 концевика 14 сквозь перфорационные отверстия 21 в изолируемый водоносный пласт 22. Продавку водоизоляционного состава в изолируемый пласт 22 производят до появления продавочной жидкости из радиальных отверстий 17 концевика 14, что определяется по расходу закачиваемой продавочной жидкости.
После этого, не сбрасывая давления, приподнимают колонну труб 3 вверх на максимально возможную длину (длину одной трубы), при этом радиальные отверстия 17 концевика 14 поднимаются выше перфорационных отверстий 21.
Скважину 1 оставляют на затвердевание водоизоляционного состава в изолируемом пласте 25.
После затвердевания водоизоляционного состава в изолируемом пласте 22 из скважины 1 извлекают колонну труб 3 с заглушкой 7, при этом тарельчатый клапан 11 закрывается и исключает попадание водоизоляционного состава обратно в колонну лифтовых труб 2. Затем из скважины 1 извлекают колонну лифтовых труб 2 с оборудованием на конце.
Предлагаемое устройство позволяет спрессовать колонны труб в скважине без спуска-подъема дополнительного оборудования перед проведением водоизоляционных работ, а также исключить осреднительную емкость, в связи с чем упрощается технология приготовления водоизоляционного состава, а продавка водоизоляционного состава в изолируемый водоносный пласт осуществляется после стабилизации плотности водоизоляционного состава, что позволяет повысить качество изоляционных работ и исключить вероятность повторных работ.
Формула изобретения
Устройство для проведения водоизоляционных работ в скважине, состоящее из спущенной в скважину колонны лифтовых труб с расположенной внутри нее колонной труб, отличающееся тем, что колонна лифтовых труб снизу оснащена хвостовиком, а колонна труб снабжена снизу радиальными каналами, ниже которых заглушена, причем радиальные каналы колонны труб снаружи герметично перекрыты втулкой с боковыми каналами, при этом втулка выполнена с возможностью ограниченного перемещения вверх и совмещения боковых каналов с радиальными каналами колонны труб, при этом между колонной лифтовых труб и хвостовиком установлен тарельчатый клапан с седлом, которое оборудовано разрушаемым элементом, удерживающим тарельчатый клапан в открытом состоянии, причем нижняя часть колонны труб имеет возможность герметичного перекрытия седла тарельчатого клапана и взаимодействия с разрушаемым элементом, при этом хвостовик снизу оснащен полым концевиком с заглушкой, установленной внутри и выполненной с возможностью ограниченного перемещения вверх при упоре на забой скважины, причем в концевике выполнены радиальные отверстия, выполненные с возможностью герметичного перекрытия заглушкой при ее перемещении вверх.
РИСУНКИ
|
|