|
|
(21), (22) Заявка: 2006120366/03, 13.06.2006
(24) Дата начала отсчета срока действия патента:
13.06.2006
(46) Опубликовано: 10.01.2008
(56) Список документов, цитированных в отчете о поиске:
RU 2092671 С1, 10.10.1997. SU 832025 А, 23.05.1981. SU 909102 А, 28.02.1982. SU 1265279 А1, 23.10.1986. SU 1652501 А1, 30.05.1991. RU 2080446 С1, 27.05.1997. US 4635738 А, 13.01.1987. АБУБАКИРПОВ В.Ф., БУРИМОВ Ю.Г. и др. Справочник. Буровое оборудование, буровой инструмент. – М.: Недра, 2003, том 2, стр.201.
Адрес для переписки:
390048, г.Рязань, ул. Новоселов, 54/2, кв.292, В.А. Керимову
|
(72) Автор(ы):
Башкатов Алексей Дмитриевич (RU), Керимов Ваид Амирджанович (RU), Башкатов Дмитрий Николаевич (RU), Лодяной Сергей Анатольевич (RU), Куликовский Сергей Владимирович (RU)
(73) Патентообладатель(и):
Башкатов Алексей Дмитриевич (RU), Керимов Ваид Амирджанович (RU)
|
(54) УСТРОЙСТВО ДЛЯ БУРЕНИЯ СКВАЖИН
(57) Реферат:
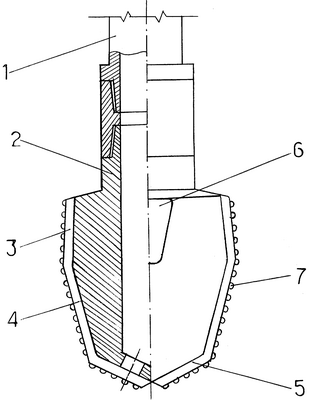
Изобретение относится к горному делу, в частности к устройствам для бурения скважин на воду, нефть, газ и скважин подземного выщелачивания. Обеспечивает повышение эффективности и ресурса за счет скоростного бурения и разделения процессов бурения и калибровки скважины. Устройство для бурения скважин включает бурильную колонну, бурильную головку, содержащую корпус с выступающими калибрующими, режущими радиальными коническими, торцевыми и опорными частями. Калибрующие части выполнены с обратной конусностью для калибровки и разбуривания при обратном бурении непробуренных участков в стволе скважины, образованных прямым бурением. Опорные части размещены в верхней части корпуса и выполнены в качестве центраторов с опорой на непробуренные участки в стволе скважины, образованные прямым бурением. 1 ил.
Изобретение относится к горному делу, в частности к устройствам для бурения скважин на воду, нефть, газ и скважин подземного выщелачивания.
Известно устройство для бурения скважин, включающее бурильную колонну, бурильную головку, содержащую корпус с выступающими калибрирующими, радиальными коническими, торцевыми режущими и опорными частями [1].
В известном устройстве для снижения сил вибрации, трения и повышения износостойкости выступающие калибрирующие, радиальные, конические, торцевые и опорные части оснащены алмазами. Целесообразная область использования известного устройства ограничена однородными и плотными породами буримых скважин.
Кроме того, совмещение процессов бурения с калибровкой и необходимость преодоления дополнительных сил трения требуют значительных затрат энергии, большая часть которых не продуктивна.
В задачу настоящего изобретения ставится повышение эффективности и расширение области использования.
Поставленная задача решается тем что, в устройстве для бурения скважин, включающем бурильную колонну, бурильную головку, содержащую корпус с выступающими калибрирующими, режущими радиальными коническими, торцевыми и опорными частями, выступающие калибрирующие части выполнены с обратной конусностью, а опорные части размещены между калибрирующими частями в верхней части корпуса.
Сущность изобретения пояснена чертежом.
Устройство для бурения скважин включает бурильную колонну 1, бурильную головку 2, содержащую корпус с выступающими калибрирующими частями 3, режущими радиальными коническими частями 4, торцевой частью 5 и опорными частями 6, выступающие калибрирующие части 3 выполнены с обратной конусностью, а опорные части 6 размещены между калибрирующими частями в верхней части корпуса и выполнены в качестве стабилизирующих частей. Выступающие калибрирующие и режущие части корпуса оснащены армированными вставками 7.
Обратная конусность калибрирующих частей и высота опорных частей 6 выполнены из расчета охвата и центрации в процессе обратного бурения образовавшихся внутренних непробуренных выступов на стволе скважины в результате прямого бурения.
Высоту непробуренных выступов ствола скважины определяют предварительным опытным бурением.
Работа устройства заключается в том, что бурение на ход, равный длине наращенной бурильной трубы, производится на повышенных оборотах инструмента и повышенной нагрузке на бурильную головку.
При этом на стволе буримой скважины образуются внутренние выступы, непробуренные участки, на которых осуществляется центрация бурильной головки 2 стабилизирующими опорами 6.
Разбуривание образовавшихся внутренних выступов производится калибрирующими частями 3 при подъеме инструмента с вращением для производства очередного наращивания.
Устройство обеспечивает скоростное бурение скважины с оптимизацией затрат на бурение и повышение износостойкости породоразрушающих элементов.
Источники информации
1. Патент РФ №2092671, Е21В 10/26, 10.10.97.
Формула изобретения
Устройство для бурения скважин, включающее бурильную колонну, бурильную головку, содержащую корпус с выступающими калибрующими, режущими радиальными коническими, торцевыми и опорными частями, отличающееся тем, что калибрующие части выполнены с обратной конусностью для калибровки и разбуривания при обратном бурении непробуренных участков в стволе скважины, образованных прямым бурением, а опорные части размещены в верхней части корпуса и выполнены в качестве центраторов с опорой на непробуренные участки в стволе скважины, образованные прямым бурением.
РИСУНКИ
MM4A – Досрочное прекращение действия патента СССР или патента Российской Федерации на изобретение из-за неуплаты в установленный срок пошлины за поддержание патента в силе
Дата прекращения действия патента: 14.06.2008
Извещение опубликовано: 20.06.2010 БИ: 17/2010
|
|