|
|
(21), (22) Заявка: 2006146468/03, 27.12.2006
(24) Дата начала отсчета срока действия патента:
27.12.2006
(46) Опубликовано: 10.01.2008
(56) Список документов, цитированных в отчете о поиске:
RU 2289669 С2, 20.12.2006. SU 209365 А, 23.08.1968. SU 231475 A, 28.11.1968. SU 277677 А, 05.08.1970. SU 322491 A, 30.11.1971. SU 385032 A, 16.11.1970. SU 585278 А, 25.12.1977. SU 621867 А, 30.08.1978. SU 983266 А, 23.12.1982. RU 2065043 С1, 10.08.1996. RU 21210861 С1, 27.10.1998. RU 2241105 С1, 27.11.2004. US 4071093 А, 31.01.1978.
Адрес для переписки:
300002, г.Тула, ул. Мосина, 2, ОАО “АК “Туламашзавод”, зам. нач. ОПИР М.Н. Соколовой
|
(72) Автор(ы):
Дронов Евгений Анатольевич (RU), Бессонов Анатолий Николаевич (RU), Макарьев Евгений Евгеньевич (RU), Черкасов Александр Николаевич (RU), Волков Александр Николаевич (RU), Боев Владислав Ильич (RU)
(73) Патентообладатель(и):
ОТКРЫТОЕ АКЦИОНЕРНОЕ ОБЩЕСТВО “АКЦИОНЕРНАЯ КОМПАНИЯ “ТУЛАМАШЗАВОД” (RU)
|
(54) ПНЕВМАТИЧЕСКИЙ ПЕРФОРАТОР
(57) Реферат:
Изобретение относится к пневматическим машинам с независимым вращением штанги. В крышке перфоратора выполнена, по меньшей мере, одна пара сообщающихся кольцевых коллекторных каналов высокого давления и, по меньшей мере, один кольцевой коллекторный канал низкого давления со стороны статора, который отводится в атмосферу через канал или каналы низкого давления корпуса ствола. В корпусе ротора выполнены внутренние винтовые отверстия с открытыми со стороны крышки торцами и глухими, смещенными относительно открытых торцов на угол не менее 90°, вторыми торцами для подачи сжатого воздуха в рабочие камеры высокого давления и отвода сжатого воздуха из рабочих камер низкого давления через имеющие выход в межзубное пространство ротора радиальные отверстия, расположенные во впадинах зубьев ротора со стороны глухого торца винтовых отверстий. Площадь поперечного проходного сечения каналов, входящих в систему или системы каналов высокого давления для подачи сжатого воздуха до кольцевого коллекторного канала высокого давления со стороны цилиндра с ударником, составляет не менее 0,8 площади поперечного сечения входного сегментного серповидного окна. Площадь поперечного проходного сечения кольцевого коллекторного канала высокого давления со стороны цилиндра с ударником составляет не менее 0,4S/n, где S – площадь поперечного сечения входного сегментного серповидного окна; n – количество каналов корпуса цилиндра для подачи сжатого воздуха в рабочие камеры высокого давления. Площадь поперечного проходного сечения сквозных отверстий пары или пар кольцевых коллекторных каналов высокого давления – 0,8-1,5 площади поперечного сечения входного сегментного серповидного окна. Площадь поперечного проходного сечения канала или каналов низкого давления для отвода сжатого воздуха из рабочих камер низкого давления – не менее 0,7 площади поперечного проходного сечения выходного сегментного серповидного окна. Обеспечивает выбор оптимальных условий истечения и подачи сжатого воздуха в механизм независимого вращения штанги для увеличения крутящего момента штанги перфоратора и уменьшения удельного расхода сжатого воздуха. 1 з.п. ф-лы, 2 ил.
Изобретение относится к пневматическим машинам с независимым вращением инструмента (штанги), используемым в горной и горно-металлургической и строительной промышленности, для бурения горных пород с рук или с установочно-подающих устройств.
На обеспечение производительной работы пневматических перфораторов с независимым вращением штанги существенное влияние оказывает значение крутящего момента штанги, который находится в прямой зависимости от истечения сжатого воздуха по каналам высокого давления до подачи его в механизм независимого вращения штанги и по каналам низкого давления при отводе отработанного сжатого воздуха из механизма независимого вращения штанги.
Известен перфоратор с независимым вращением инструмента, содержащий цилиндр с ударником, клапанное воздухораспределительное устройство, механизма независимого вращения штанги, крановый узел и каналы для подачи сжатого воздуха в механизм независимого вращения штанги (патент РФ №2121061, МКИ 6 Е21С 3/04).
Техническим результатом заявляемого изобретения является обеспечение оптимальных условий подачи сжатого воздуха в механизм независимого вращения штанги и отвода сжатого воздуха из механизма независимого вращения штанги, что позволит увеличить крутящий момент приводного вала (буксы) и соответственно штанги перфоратора и уменьшить удельный расход сжатого воздуха.
Указанный технический результат достигается за счет того, что в пневматическом перфораторе, включающем последовательно сопряженные крановый узел с краном, клапанное воздухораспределительное устройство, цилиндр с ударником, крышку цилиндра, механизм независимого вращения штанги в виде эксцентрично расположенных относительно оси перфоратора ротора и статора с возможностью образования во время работы перфоратора межзубных переменного объема рабочих камер высокого и низкого давления, ствол и приводной вал и, по меньшей мере, по одной системе взаимосвязанных каналов высокого давления для подвода сжатого воздуха в цилиндр с ударником и межзубные переменного объема рабочие камеры высокого давления механизма независимого вращения штанги, по меньшей мере, одну систему взаимосвязанных каналов низкого давления для отвода отработанного сжатого воздуха из цилиндра с ударником и, по меньшей мере, один канал низкого давления для отвода отработанного сжатого воздуха из межзубных переменного объема рабочих камер низкого давления механизма независимого вращения штанги, выполненный в корпусе ствола и связанный с атмосферой, при этом в крышке выполнена, по меньшей мере, одна пара сообщающихся кольцевых коллекторных каналов высокого давления для подачи сжатого воздуха в межзубные переменного объема рабочие камеры высокого давления механизма независимого вращения штанги и, по меньшей мере, один кольцевой коллекторный канал низкого давления со стороны статора для отвода отработанного сжатого воздуха из межзубных переменного объема рабочих камер низкого давления механизма независимого вращения штанги в атмосферу, причем один из кольцевых коллекторных каналов высокого давления расположен со стороны цилиндра с ударником, второй – со стороны статора, а сообщаются каналы через сквозные отверстия в их общем дне; в корпусе ротора выполнены внутренние винтовые отверстия с открытыми со стороны крышки торцами и глухими, смещенными относительно открытых торцов на угол не менее 90°, вторыми торцами для подачи сжатого воздуха в межзубные переменного объема рабочие камеры высокого давления и отвода сжатого воздуха из межзубных переменного объема рабочих камер низкого давления через имеющие выход в межзубное пространство ротора радиальные отверстия, расположенные во впадинах зубьев ротора со стороны глухого торца винтовых отверстий, причем площадь поперечного проходного сечения каналов, входящих в систему или системы каналов высокого давления для подачи сжатого воздуха в межзубные переменного объема рабочие камеры высокого давления до кольцевого коллекторного канала высокого давления со стороны цилиндра с ударником, составляет не менее 0,8 площади поперечного сечения входного сегментного серповидного окна, образованного в процессе работы перфоратора наружной кромкой торца винтовых отверстий ротора и внутренней кромкой кольцевого коллекторного канала высокого давления со стороны статора; площадь поперечного проходного сечения кольцевого коллекторного канала высокого давления со стороны цилиндра с ударником составляет не менее 0,4S/n, где S – площадь поперечного сечения входного сегментного серповидного окна, n – количество каналов корпуса цилиндра для подачи сжатого воздуха в межзубные переменного объема рабочие камеры высокого давления; площадь поперечного проходного сечения сквозных отверстий пары или пар кольцевых коллекторных каналов высокого давления составляет 0,8-1,5 площади поперечного сечения входного сегментного серповидного окна; а площадь поперечного проходного сечения канала или каналов низкого давления для отвода сжатого воздуха из межзубных переменного объема рабочих камер низкого давления составляет не менее 0,7 площади поперечного проходного сечения выходного сегментного серповидного окна, образованного в процессе работы перфоратора наружной кромкой кольцевого коллекторного канала низкого давления и внутренней кромкой торца винтовых отверстий ротора.
Целесообразно, чтобы диаметр кольцевого канала низкого давления был меньше диаметра кольцевого канала высокого давления, измеренных в одном сечении.
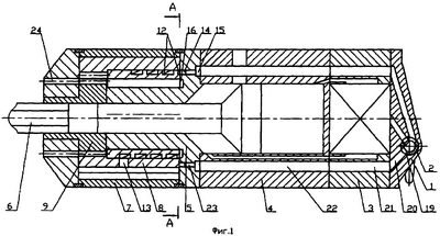
Сущность изобретения поясняется чертежами: на фиг.1 представлен пневматический перфоратор в разрезе; на фиг.2 – вид А-А фиг.1.
Пневматический перфоратор с независимым вращением штанги содержит последовательно и соосно расположенные и сопряженные торцовыми поверхностями крановый узел 1 с краном 2, например пробковым, клапанное воздухораспределительное устройство 3, цилиндр 4 с ударником, крышку 5 цилиндра, механизм независимого вращения штанги, приводной вал (буксу) 9 и ствол 24. Кроме того, пневматический перфоратор включает, по крайней мере, по одной системе взаимосвязанных каналов высокого давления для подвода сжатого воздуха в цилиндр с ударником и механизм независимого вращения штанги и, по крайней мере, по одной системе взаимосвязанных каналов низкого давления для отвода отработанного сжатого воздуха из цилиндра с ударником и механизма независимого вращения штанги. Штанга 6 не является деталью пневматического перфоратора.
Механизм независимого вращения штанги включает расположенный внутри статора 7 и находящийся с ним в зацеплении ротор 8 в виде зубчатой шестерни, на внутренней поверхности которой выполнен уступ под приводной вал (буксу) 9, причем статор 7 выполнен в виде зубчатого колеса внутреннего зацепления, а ротор 8 расположен эксцентрично приводному валу и статору на величину Е, т.е. ось ротора смещена относительно оси приводного вала и статора на величину Е.
Между зубьями ротора и статора в процессе работы перфоратора образуются межзубные переменного объема рабочие камеры высокого давления 10 и межзубные переменного объема рабочие камеры низкого давления 11. В межзубных переменного объема рабочих камерах высокого давления происходит наполнение и расширение поступающего по каналам высокого давления сжатого воздуха. В межзубных переменного объема рабочих камерах низкого давления происходит вытеснение отработанного сжатого воздуха по взаимосвязанным каналам низкого давления в атмосферу.
В корпусе ротора 8 выполнены внутренние винтовые отверстия 12 с открытыми со стороны крышки 5 торцами и глухими, смещенными относительно открытых торцов на угол не менее 90°, вторыми торцами. Винтовые отверстия 12 служат для подачи сжатого воздуха в межзубные переменного объема рабочие камеры высокого давления 10 и отвода сжатого воздуха из межзубных переменного объема рабочих камер низкого давления 11 через имеющие выход в межзубное пространство ротора радиальные отверстия 13, расположенные во впадинах зубьев ротора со стороны глухого торца винтовых отверстий 12, т.е. радиальные отверстия смещены в угловом направлении на угол, близкий к 90°, от начала винтовых отверстий.
На крышке 5 выполнена, по крайней мере, одна пара сообщающихся кольцевых коллекторных каналов высокого давления для подачи сжатого воздуха в механизм независимого вращения штанги, а именно в межзубные переменного объема рабочие камеры высокого давления 10, при этом один из кольцевых коллекторных каналов высокого давления 14 расположен со стороны статора 7, а другой кольцевой коллекторный канал высокого давления 15 расположен со стороны цилиндра 4 с ударником.
Пара кольцевых коллекторных каналов высокого давления имеет общее дно, и каналы сообщаются через выполненные в их общем дне сквозные отверстия 23 для подачи сжатого воздуха в межзубные переменного объема рабочие камеры высокого давления механизма независимого вращения штанги.
На крышке 5 со стороны статора 7 выполнен, по крайней мере, один кольцевой коллекторный канал низкого давления 16 для сбора отработанного сжатого воздуха из межзубных переменного объема рабочих камер низкого давления 16 и дальнейшего его отвода через канал или каналы низкого давления, выполненные в корпусе приводного вала 9, в атмосферу, при этом наружный диаметр кольцевого коллекторного канала низкого давления меньше диаметра коллекторного кольцевого канала высокого давления со стороны статора, измеренных в одном сечении.
При различных положениях ротора 8 (в соответствии с циклом работы перфоратора) одна часть винтовых отверстий 12 ротора 8 через открытые торцы сообщается с входным сегментным серповидным окном 17, образованным наружной кромкой торца винтовых отверстий 12 ротора 8 и внутренней кромкой кольцевого коллекторного канала высокого давления 15 со стороны статора 7, а другая часть винтовых отверстий 12 через открытые торцы сообщается с выходным сегментным серповидным окном 18, образованным наружной кромкой кольцевого коллекторного канала низкого давления 16 и внутренней кромкой торца винтовых отверстий 12 ротора 8. Выходное и входное сегментные серповидные окна в процессе работы перфоратора (при обкатывании ротором статора) изменяют свое положение относительно оси перфоратора, сохраняя при этом постоянной величину площади поперечного сечения окон.
Сжатый воздух поступает из кранового узла до кольцевого коллекторного канала высокого давления 15 со стороны цилиндра с ударником, по крайней мере, по одной системе взаимосвязанных между собой каналов высокого давления. Каждая система каналов высокого давления включает канал корпуса крана 19, канал корпуса кранового узла 20, канал корпуса клапанного воздухораспределительного устройства 21, канал корпуса цилиндра 22.
Отработанный сжатый воздух вытесняется из межзубных переменного объема рабочих камер низкого давления 11 механизма независимого вращения штанги через радиальные отверстия 13, винтовые отверстия 12 ротора 8, выходное сегментное серповидное окно 18, радиальный зазор между ротором и крышкой или ротором и приводным валом (буксой), канал низкого давления для отвода сжатого воздуха, выполненный на обращенной к статору поверхности крышки, и, затем, по крайней мере, через один канал низкого давления, выполненный в корпусе ствола 24 в атмосферу.
Вращательный момент механизма независимого вращения штанги при работе перфоратора определяется разницей величин давления в рабочих камерах высокого давления и рабочих камерах низкого давления. Для обеспечения максимальной мощности механизма независимого вращения штанги и наиболее экономичного использования энергии сжатого воздуха при изменении объема рабочих камер в процессе обкатывания ротора давление воздуха должно изменяться от максимального до давления, близкого к давлению окружающей атмосферы.
Экспериментально установлено, что для улучшения условий подачи сжатого воздуха в межзубные переменного объема рабочие камеры высокого давления величина площади поперечного проходного сечения каналов, входящих в систему или системы каналов высокого давления для подачи сжатого воздуха до кольцевого коллекторного канала высокого давления со стороны цилиндра с ударником, должна составлять не менее 0,8 площади поперечного сечения входного сегментного серповидного окна 17.
He менее важно, чтобы величина площади поперечного проходного сечения кольцевого коллекторного канала высокого давления 15 со стороны цилиндра с ударником составляла не менее 0,4S/n, где S – площадь поперечного сечения входного сегментного серповидного окна, n – количество каналов корпуса цилиндра 21 для подвода сжатого воздуха в механизм независимого вращения штанги (количество каналов корпуса цилиндра для подвода сжатого воздуха в механизм независимого вращения штанги соответствует количеству систем каналов высокого давления для подачи сжатого воздуха до кольцевого коллекторного канала высокого давления со стороны цилиндра с ударником).
Целесообразно, чтобы величина площади поперечного проходного сечения сквозных отверстий 23 в общем дне пары или пар кольцевых коллекторных каналов высокого давления составляла 0,8-1,5 площади поперечного сечения входного сегментного серповидного окна 17.
На увеличение вращательного момента механизма независимого вращения штанги оказывает влияние оптимально подобранная величина площади поперечного проходного сечения канала или каналов низкого давления для отвода сжатого воздуха из межзубных переменного объема рабочих камер низкого давления 11 механизма независимого вращения штанги, которая должна составлять не менее 0,7 площади поперечного проходного сечения выходного сегментного серповидного окна 18.
Заявляемые экспериментально подобранные диапазоны величин площадей поперечного проходного сечения каналов высокого и низкого давления, подающие сжатый воздух в механизм независимого вращения штанги и отводящие отработанный сжатый воздух из механизма независимого вращения штанги, позволят увеличить крутящий момент механизма независимого вращения штанги и снизить удельный расход сжатого воздуха.
Пневматический перфоратор работает следующим образом.
Сжатый воздух подается в крановый узел, и из пробкового крана часть сжатого воздуха поступает по соответствующим каналам в клапанное воздухораспределительное устройство и цилиндр с ударником, а другая часть сжатого воздуха через систему взаимосвязанных каналов высокого давления для подвода сжатого воздуха – в механизм независимого вращения штанги.
В межзубные переменного объема рабочие камеры высокого давления механизма независимого вращения штанги сжатый воздух поступает через входное сегментное окно 17, винтовые отверстия 12, затем через сквозные радиальные отверстия 13 ротора 8 и наполняет межзубные переменного объема рабочие камеры высокого давления, расширяется, и в результате давления сжатого воздуха в рабочих камерах переменного объема высокого давления ротор совершает движение своим зубчатым венцом по внешнему колесу статора и передает вращение на приводной вал.
Отработанный сжатый воздух вытесняется из межзубных переменного объема рабочих камер низкого давления механизма независимого вращения штанги через радиальные отверстия 13 и винтовые отверстия 12 ротора 8 в выходное сегментное серповидное окно, а затем через радиальный зазор между ротором и крышкой или ротором и приводным валом (буксой), по крайней мере, по одной системе взаимосвязанных между собой каналов низкого давления – в атмосферу.
При работе механизма независимого вращения штанги объем рабочих камер высокого и низкого давления изменяется с частотой, равной частоте обкатывания ротором статора.
Формула изобретения
1. Пневматический перфоратор, включающий последовательно сопряженные крановый узел с краном, клапанное воздухораспределительное устройство, цилиндр с ударником, крышку, механизм независимого вращения штанги в виде эксцентрично расположенных относительно оси ротора и статора с возможностью образования во время работы перфоратора межзубных переменного объема рабочих камер высокого и низкого давления, ствол и приводной вал, по меньшей мере, по одной системе взаимосвязанных каналов высокого давления для подвода сжатого воздуха в цилиндр с ударником и межзубные переменного объема рабочие камеры высокого давления, по меньшей мере, одну систему взаимосвязанных каналов низкого давления для отвода отработанного сжатого воздуха из цилиндра с ударником и, по меньшей мере, один канал низкого давления для отвода отработанного сжатого воздуха из межзубных переменного объема рабочих камер низкого давления, выполненный в корпусе ствола и связанный с атмосферой, при этом в крышке выполнена, по меньшей мере, одна пара сообщающихся кольцевых коллекторных каналов высокого давления для подачи сжатого воздуха в межзубные переменного объема рабочие камеры высокого давления, и, по меньшей мере, один кольцевой коллекторный канал низкого давления со стороны статора для сбора отработанного сжатого воздуха из межзубных переменного объема рабочих камер низкого давления, который отводится в атмосферу через канал или каналы низкого давления корпуса ствола, причем один из кольцевых коллекторных каналов высокого давления расположен со стороны цилиндра с ударником, второй – со стороны статора, а сообщаются каналы через сквозные отверстия в их общем дне; в корпусе ротора выполнены внутренние винтовые отверстия с открытыми со стороны крышки торцами и глухими, смещенными относительно открытых торцов на угол не менее 90°, вторыми торцами для подачи сжатого воздуха в межзубные переменного объема рабочие камеры высокого давления и отвода сжатого воздуха из межзубных переменного объема рабочих камер низкого давления через имеющие выход в межзубное пространство ротора радиальные отверстия, расположенные во впадинах зубьев ротора со стороны глухого торца винтовых отверстий; причем площадь поперечного проходного сечения каналов, входящих в систему или системы каналов высокого давления для подачи сжатого воздуха до кольцевого коллекторного канала высокого давления со стороны цилиндра с ударником, составляет не менее 0,8 площади поперечного сечения входного сегментного серповидного окна, образованного в процессе работы перфоратора наружной кромкой торца винтовых отверстий ротора и внутренней кромкой кольцевого коллекторного канала высокого давления со стороны статора; площадь поперечного проходного сечения кольцевого коллекторного канала высокого давления со стороны цилиндра с ударником составляет не менее 0,4S/n, где S – площадь поперечного сечения входного сегментного серповидного окна, n – количество каналов корпуса цилиндра для подачи сжатого воздуха в межзубные переменного объема рабочие камеры высокого давления, площадь поперечного проходного сечения сквозных отверстий пары или пар кольцевых коллекторных каналов высокого давления составляет 0,8-1,5 площади поперечного сечения входного сегментного серповидного окна, а площадь поперечного проходного сечения канала или каналов низкого давления для отвода сжатого воздуха из межзубных переменного объема рабочих камер низкого давления составляет не менее 0,7 площади поперечного проходного сечения выходного сегментного серповидного окна, образованного в процессе работы перфоратора наружной кромкой кольцевого коллекторного канала низкого давления и внутренней кромкой торца винтовых отверстий ротора.
2. Пневматический перфоратор по п.1, отличающийся тем, что диаметр кольцевого канала низкого давления меньше диаметра кольцевого канала высокого давления, измеренные в одном сечении.
РИСУНКИ
QB4A – Регистрация лицензионного договора на использование изобретения
Лицензиар(ы): Открытое акционерное общество “Акционерная Компания “Туламашзавод”
Вид лицензии*: НИЛ
Лицензиат(ы): Общество с ограниченной ответственностью “Пневмотехника-Туламаш”
Договор № РД0046706 зарегистрирован 10.02.2009
Извещение опубликовано: 20.03.2009 БИ: 08/2009
* ИЛ – исключительная лицензия НИЛ – неисключительная лицензия
|
|