|
|
(21), (22) Заявка: 2006107073/03, 06.03.2006
(24) Дата начала отсчета срока действия патента:
06.03.2006
(46) Опубликовано: 10.01.2008
(56) Список документов, цитированных в отчете о поиске:
SU 242818 А, 05.05.1969. RU 2256761 C1, 20.07.2005. SU 286894 A, 19.11.1970. SU 340773 A, 05.06.1972. SU 443167 A, 15.09.1974. SU 492654 A, 25.11.1975. SU 700646 A, 30.11.1979. SU 899903 A, 23.01.1982. SU 973820 A, 15.11.1982. RU 2029081 C1, 20.02.1995.
Адрес для переписки:
654041, Кемеровская обл., г. Новокузнецк, а/я 9844, В.Г.Чикину
|
(72) Автор(ы):
Чикин Виктор Григорьевич (RU)
(73) Патентообладатель(и):
Чикин Виктор Григорьевич (RU)
|
(54) СВЕРЛО ГОРНОЕ
(57) Реферат:
Изобретение относится к горной промышленности, в частности к устройству для бурения шпуров при проходке и креплении горных выработок. Сверло горное выполнено в виде вращателя с приводом подачи, включающим ведущий барабан, на который наматываются витки каната, конец которого закреплен на элементе крепления выработки, и механизм расцепления кинематической связи каната с приводом подачи. Ведущий барабан выполнен в виде шкива трения, а механизм расцепления выполнен в виде аккумулирующего механизма или груза, закрепленного на холостой ветви каната. Изобретение обеспечивает постоянство скорости подачи, исключает аварийные ситуации и повышает надежность работы сверла в целом. 2 ил.
Изобретение относится к горной промышленности, в частности к конструкциям устройств, предназначенных для бурения шпуров при проходке и креплении горных выработок.
Известно сверло горное, выполненное в виде вращателя с рукоятками управления, в шпиндель которого вставляется буровая штанга [1].
Недостатком известного устройства является очень высокая трудоемкость работы вследствие отсутствия механизированной подачи.
Наиболее близким техническим решением является сверло горное, выполненное в виде вращателя с приводом подачи, включающим ведущий барабан, на который наматываются витки каната, конец которого закрепляется, например, на каком-либо элементе крепления выработки, и механизм расцепления кинематической связи каната с приводом подачи [2].
Сверла горные ЭРП 18Д-2М с принудительной подачей, выполненные на принципе этого технического решения, имеют небольшие габариты и массу, удобны в эксплуатации и уже около 50 лет успешно применяются в самых различных условиях подземной добычи полезных ископаемых.
Несмотря на несомненные достоинства этих сверл они имеют существенный недостаток, суть которого заключается в том, что в процессе бурения при намотке каната на барабан «внавал» произвольно меняется радиус навивки, а значит произвольно изменяется и скорость подачи, что приводит к нарушению режима бурения и поломке бурового инструмента. При заклинивании последнего очень часто «горят» электродвигатели, т.к. не успевает срабатывать защита.
Целью изобретения является повышение надежности работы сверла.
Поставленная цель достигается тем, что ведущий барабан выполнен в виде шкива трения, а механизм расцепления выполнен в виде аккумулирующего механизма или груза, закрепленного на холостой ветви каната.
В отличие от известных, в рекомендуемой конструкции горного сверла перемотка каната через шкив трения осуществляется при постоянном диаметре, что обеспечивает равномерную скорость подачи, а значит и нормальный режим бурения.
Сущность изобретения поясняется приведенными на чертежах принципиальными схемами со следующими вариантами выполнения натяжного устройства:
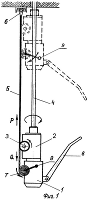
– Фиг.1 – натяжное устройство в виде аккумулирующего барабана;
– Фиг.2 – то же, в виде груза, закрепленного на холостой ветви каната.
Сверло выполнено в виде вращателя, включающего двигатель 1 и привод подачи 2 с ведущим шкивом трения 3 (Фиг.1). В шпинделе вращателя установлена буровая штанга 4. В комплект сверла входит канат 5 с прицепным устройством 6. Канат несколькими витками трения охватывает ведущий шкив 3 и далее наматывается на аккумулирующий барабан 7. Барабан 7 имеет привод принудительного вращения и наматывает на себя холостую, т.е. исходящую со шкива 3 ветвь каната. Намотка холостой ветви каната на барабан 7 осуществляется под действием крутящего момента, величина которого обеспечивает необходимое и достаточное усилие натяжения холостой ветви, указанное на схеме стрелкой Q. Барабан 7 снабжен специальным устройством, обеспечивающим ослабление натяжения холостой ветви каната, необходимое для обеспечения обратного хода вращателя вниз.
Устройство, обеспечивающее ослабление натяжения холостой ветви каната, может быть самым различным как по принципу действия, так и по конструктивному исполнению. В качестве одного из возможных разнообразных вариантов может быть использована, например, обычная кулачковая муфта, применяемая в горном сверле ЭРП 18Д-2М, которая включается и отключается посредством поворота рукоятки. Поворотом рукоятки 9 на небольшой угол (20…30°) по часовой стрелке (согласно фиг.1) сначала рассоединяем кулачковую муфту, соединяющую барабан 7 с приводом, а затем дальнейшим поворотом рукоятки 9, имеющей кинематическую связь с барабаном 7, поворачиваем последний по часовой стрелке. Этим осуществляется ослабление натяжения холостой ветви каната, а следовательно, ослабление сцепления каната со шкивом трения, а значит и обеспечение перемещения вращателя вниз под действием собственного веса. Для осуществления поворота рукоятки 9 при большой высоте выработки, когда нет возможности достать рукоятку 9 рукой, может быть использована прикрепленная к рукоятке 9 специальная тяга, выполненная, например, из проволоки (условно на чертеже не показана).
Шарнирно соединенная с корпусом сверла рукоять 8 обеспечивает стабилизацию сверла от действия крутящего момента при бурении.
На фиг.2 приведена принципиальная схема, где в качестве натяжного устройства использован груз, закрепленный на холостой ветви каната.
Порядок работы и принцип действия сверла заключается в следующем.
Прицепное устройство 6 закрепляется на каком-либо элементе крепления выработки или специальном анкере (Фиг.1). Сверло с буровой штангой ориентируется на ось бурения. Включением двигателя 1 через привод, выполненный в виде червячного редуктора 2, приводятся во вращение буровая штанга 4 и шкив 3 по указанным на схеме стрелками направлениям (Фиг.1). Так как аккумулирующий барабан 7 создает постоянное натяжение холостой, отходящей от шкива 3 ветви каната, витки последнего плотно прижаты к поверхности шкива. Вследствие этого шкив перематывает через себя рабочую ветвь каната, а барабан эту порцию каната, но уже в виде холостой ветви, наматывает на себя. При этом в зависимости от числа витков трения, наматываемых на шкив (от 2х до 5ти витков), и действующего коэффициента трения (f 0,12…0,2), тяговое усилие Р, возникающее в рабочей ветви каната, в десятки (от 20 до 100) раз больше, чем необходимое для этого усилие натяжения холостой ветви Q. По окончании бурения барабан 7 специальным устройством поворачивается в обратном указанному на схеме стрелкой направлении, чем ослабляется натяжение холостой ветви каната. Этим ослабляется плотность контакта каната со шкивом и сверло опускается вниз.
Необходимое для работы сверла натяжение холостой ветви по очень простой, приведенной на фиг.2 принципиальной схеме, осуществляется посредством груза массой Q, закрепленного за нижний конец холостой ветви. В процессе бурения, при передвижении вращателя вверх, груз не меняет своего положения по вертикали, а для возврата сверла вниз груз просто приподнимают вверх, чем ослабляется натяжение холостой ветви каната. Сверло при этом опускается плавно вниз.
Сравнение рекомендуемого сверла с базовым объектом, а именно с широко используемым в настоящее время горным электрическим сверлом типа ЭРП 18Д-2М, показывает, что применение рекомендуемой конструкции обеспечивает постоянство скорости подачи, исключает вследствие этого аварийные ситуации и повышает надежность работы сверла в целом.
Источники информации
1. Сверла горные электрические ЭР 18Д-2М (с ручной подачей). Руководство по эксплуатации. Томский электромеханический завод им. Вахрушева, 1986 г.
2. Сверла горные электрические ЭРП 18Д-2М (с принудительной подачей). Руководство по эксплуатации. Томский электромеханический завод им. Вахрушева, 1986 г.
Формула изобретения
Сверло горное, выполненное в виде вращателя с приводом подачи, включающим ведущий барабан, на который наматываются витки каната, конец которого закреплен на элементе крепления выработки, и механизм расцепления кинематической связи каната с приводом подачи, отличающееся тем, что ведущий барабан выполнен в виде шкива трения, а механизм расцепления выполнен в виде аккумулирующего механизма или груза, закрепленного на холостой ветви каната.
РИСУНКИ
|
|