|
|
(21), (22) Заявка: 2004131670/03, 27.03.2003
(24) Дата начала отсчета срока действия патента:
27.03.2003
(30) Конвенционный приоритет:
28.03.2002 (пп.1-11) FR 0203940
(43) Дата публикации заявки: 10.06.2005
(46) Опубликовано: 10.01.2008
(56) Список документов, цитированных в отчете о поиске:
DE 4211940 A1, 14.10.1993. FR 2697558 A1, 06.05.1994. EP 0082302 A1, 29.06.1983. DE 3411665 A1, 10.10.1985. RU 20049899 С1, 10.12.1995.
(85) Дата перевода заявки PCT на национальную фазу:
28.10.2004
(86) Заявка PCT:
FR 03/00974 (27.03.2003)
(87) Публикация PCT:
WO 03/083245 (09.10.2003)
Адрес для переписки:
129010, Москва, ул. Б.Спасская, 25, стр.3, ООО “Юридическая фирма Городисский и Партнеры”, пат.пов. С.А.Дорофееву
|
(72) Автор(ы):
АРНУ Франк (FR), БРЕССОН Кристоф (FR), БУССОН Бенжамэн (FR), ШЕБА Хассан (FR)
(73) Патентообладатель(и):
СИМЮ (FR)
|
(54) МЕХАНИЗМ ДЛЯ МАНЕВРИРОВАНИЯ УСТАНОВКОЙ ДЛЯ ЗАКРЫВАНИЯ ИЛИ ДЛЯ ЗАЩИТЫ ОТ СОЛНЕЧНОГО СВЕТА И УСТАНОВКА ДЛЯ ЗАКРЫВАНИЯ ИЛИ ДЛЯ ЗАЩИТЫ ОТ СОЛНЕЧНОГО СВЕТА
(57) Реферат:
Изобретение относится к области строительства, а именно к конструкции экранирующих устройств для проема. Изобретение позволит упростить монтаж установки для закрывания или для защиты от солнечного света. Механизм для маневрирования установкой для закрывания или для защиты от солнечного света содержащит привод для сообщения вращательного движения намоточному валу, закрывающему экран, и, по меньшей мере, одну пружину для уравновешивания веса экрана. Пружина расположена вокруг привода. Пружина и привод входят в подсборку, выполненную с возможностью ее, по меньшей мере, частичного ввода, путем выполнения одной операции, внутри вала. Первый конец пружины кинематически соединен с валом, когда подсборка размещена на месте в упомянутом валу. 2 н. и 9 з.п. ф-лы, 6 ил.
Изобретение относится к регулировочному механизму и к установке для закрывания или для защиты от солнечного света, содержащей такой механизм.
Под установкой для закрывания понимают входные двери, ворота, ставни, жалюзи и аналогичные устройства.
Известно, что в установке для закрывания или для защиты от солнечного света используют механический или электрический привод для вращения вала для намотки экрана, которым закрывают проем, или элемента, посредством которого передают усилие, например, ремня, соединенного с таким экраном.
Известен принцип уравновешивания крутящего момента, воздействующего на намоточный механизм под влиянием веса закрывающего экрана, причем такое уравновешивание осуществляют посредством одного или большего числа так называемых «уравновешивающих» пружин. Намоточные механизмы, содержащие уравновешивающие пружины, известны, например, из французского патента FR-А-2743107, немецкого патента DE-А-29605670 или японского патента JP-А-2000-234485. Эти устройства оснащены, с одной стороны, трубчатым приводным двигателем и, с другой стороны, уравновешивающими пружинами, причем эти пружины и этот двигатель необходимо устанавливать в требуемое положение в намоточном валу на месте использования установки, и при этом условия работы монтажника иногда бывают очень опасными, особенно из-за ограниченной доступности по высоте. Кроме того, требуется поставлять большое количество частей для монтажа, включая уравновешивающую пружину и двигатель, располагаемые внутри намоточного вала, что ведет к повышению стоимости известных установок.
Более конкретной задачей изобретения является устранение указанных недостатков путем использования регулировочного механизма, содержащего по меньшей мере одну уравновешивающую пружину, который может быть легко смонтирован на месте, при том, что его себестоимость будет более экономичной по сравнению со себестоимостью известных уравновешивающих механизмов.
В связи с этим изобретение относится к механизму для регулирования установкой для закрывания или для защиты от солнечного света, содержащей привод для сообщения вращательного движения намоточному валу закрывающего экрана и по меньшей мере одну пружину для уравновешивания веса этого закрывающего экрана. Этот механизм отличается тем, что пружина охватывает привод и вместе с последним входит в подсборку, выполненную с возможностью, по меньшей мере, частичного размещения в собранном виде внутри намоточного вала, причем первый конец пружины кинематически соединен с приводом, тогда как второй конец пружины выполнен с возможностью его кинематического соединения с этим валом тогда, когда подсборка находится на месте внутри вала.
Благодаря изобретению привод, который может представлять собой электродвигатель, и уравновешивающую пружину можно легко собирать и устанавливать в рабочее положение, выполняя относительно простые операции, что позволяет повысить удобство работы сборщика, сократить время сборки и уменьшить количество необходимых запасных частей.
Согласно полезным, но не обязательным, особенностям изобретения этот механизм обладает следующими характеристиками:
– Второй конец пружины жестко соединен с ведущим элементом, выполненным с возможностью соединения с валом, внутрь которого его устанавливают.
– Второй конец пружины жестко соединен с кольцом, установленным с возможностью его свободного поворота относительно корпуса привода. Это кольцо жестко соединено с выходным валом привода для совместного вращения. В одном варианте выполнения он может быть непосредственно жестко соединен с намоточным валом для сообщения ему вращения, в результате чего на выходной вал привода не воздействуют уравновешивающей пружиной. Благодаря этому появляется возможность исключения редуктора, обычно устанавливаемого на выходе электродвигателя, который подвергается, в течение относительно продолжительного периода времени хранения, воздействию усилия, приложенного к выходному валу посредством загруженной пружины, в положении, когда необходимо уравновешивать максимальный крутящий момент, создаваемый закрывающим экраном. В частности, кольцо может быть установлено для того, чтобы оно представляло по меньшей мере один элемент контура, выполненного с возможностью его введения в зацепление с соответствующим элементом контура, выполненного на намоточном валу для сопряжения этого кольца и этого вала для передачи вращательного движения.
– Первый конец пружины соединен с корпусом привода.
– Первый конец пружины жестко соединен для передачи вращения с кольцом, установленным неподвижно вокруг корпуса привода.
– Пружина выполнена такой длины, чтобы она не выступала существенно в осевом направлении за пределы корпуса привода.
– Привод может содержать электродвигатель, возможно, соединенный с редуктором.
Изобретение относится также к установке для закрывания или для защиты от солнечного света, содержащей регулировочный механизм, описанный ранее. Такую установку легче монтировать, и она более экономически эффективна по сравнению с установками, используемыми в данной области в настоящее время.
Изобретение легче понять и оценить другие его преимущества при ознакомлении с последующим описанием трех вариантов выполнения установки для закрывания, оборудованной регулировочным механизмом согласно изобретению, приведенным просто в качестве примера и выполненным со ссылками на прилагаемые чертежи, на которых изображено:
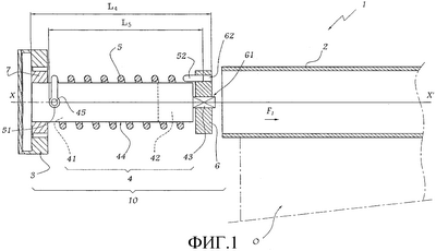
на фиг.1 – схематический частичный осевой разрез части установки для закрывания в положении по ходу ее сборки;
на фиг.2 – частичный осевой разрез установки, представленной на фиг.1, в положении ее эксплуатации;
на фиг.3 – разрез механизма, подобный представленному на фиг.1, для установки согласно второму варианту выполнения изобретения;
на фиг.4 – разрез механизма, подобный представленному на фиг.2, для установки, представленной на фиг.3;
на фиг.5 – разрез механизма, подобный представленному на фиг.1, для установки согласно третьему варианту выполнения изобретения;
на фиг.6 – разрез механизма, подобный представленному на фиг.2, для установки, представленной на фиг.5.
Установка, изображенная частично на фиг.1 и 2, содержит механизм 1, с помощью которого обеспечивают возможность намотки экрана Т в большей или меньшей степени вокруг геометрической оси Х-Х’, для закрывания в большей или меньшей степени проема О, выполненного в каменной кладке строения.
Механизм 1 содержит вал 2, центральная геометрическая ось которого совмещена с осью Х-Х’, который поддерживают относительно конструкции строения посредством кронштейна 3, образующего подшипник.
Предусмотрен привод 4 для вращения вала относительно оси Х-Х’ (направления вращения показаны стрелкой R на фиг.2). Привод содержит электродвигатель 41 и редуктор 42. Позицией 43 обозначен выходной вал привода 4, а позицией 44 обозначен корпус привода, внутри которого размещены элементы 41 и 42.
Уравновешивающая пружина 5 установлена для компенсации крутящего момента, возникающего под действием веса экрана Т, относительно оси Х-Х’. Эта пружина является пружиной кручения, и она навита по спирали вокруг корпуса 44 привода 4.
Корпус 44 оснащен фиксатором 45, вокруг которого крепят первый конец 51 пружины 5, выполненный в виде петли.
Второй конец 52 пружины 5 введен в пространство 62, выполненное в ведущем диске 6, выполненном с возможностью соединения для передачи вращения с валом 2 любым подходящим способом, например заклепыванием.
Диск 6 снабжен центральным отверстием 61, сечение которого соответствует сечению вала 43, благодаря чему этот диск 6 жестко сопрягается с валом 43 для передачи вращения диску 6.
Распорное кольцо 7 предназначено для центрирования корпуса 44 внутри вала 2 с возможностью вращения.
Элементы 3-7 представляют собой подсборку 10 (как это более четко показано на фиг.1), которая может быть частично вставлена, путем выполнения одной операции, внутрь вала 2, как показано стрелкой F1. В частности, привод 4 и пружина 5 принадлежат сборке 10 и расположены внутри вала 2.
Литерой L5 обозначена длина пружины 5 в направлении оси Х-Х’. Литерой L4 обозначена длина привода 4 в том же направлении. Длина L5 меньше длины L4, и пружина 5, по существу, не выступает из корпуса 44, это сообщает подсборке 10 компактность и монолитность, благодаря чему упрощаются действия при сборке, что позволяет экономить время при монтаже.
Когда устройство находится в собранном рабочем состоянии, показанном на фиг.2, при вращении (R) вала 2 происходит соответствующее вращение диска 6 и изменение натяжения пружины 5, так как ее конец 52 вращается относительно оси Х-Х’, тогда как ее конец 51 остается зафиксированным относительно корпуса 44, который сам неподвижен относительно оси Х-Х’.
Во втором варианте выполнения изобретения, показанном на фиг.3 и 4, элементы, подобные элементам первого варианта выполнения, обозначены теми же номерами позиций, увеличенными на 100. Механизм 101 этого варианта выполнения аналогичным образом сцентрирован относительно оси Х-Х’ и включает в свой состав вал 102, предназначенный для наматывания экрана Т, причем этот вал поддерживают посредством кронштейна 103, и привод 104, содержащий электродвигатель 141 и редуктор 142. Как и прежде, пружина 105 установлена вокруг корпуса 144 привода 104, причем эта пружина зафиксирована ее первым концом 151 посредством фиксатора 145, расположенного на корпусе 144.
Вокруг корпуса 144 вблизи кронштейна 103 расположено с возможностью вращения распорное кольцо 107, позволяющее относительное центрирование элементов 102 и 104.
Кольцо 108 установлено с возможностью свободного вращения относительно конца 144а корпуса 144 против кронштейна 103, причем кольцо 108 снабжено центральным отверстием 181, сечение которого таково, что его можно приводить во вращение с помощью выходного вала 143 привода 104. Второй конец 152 пружины 105 зафиксирован любым подходящим способом в кольце 108, например путем сочетания форм, защемлением, приклеиванием или привариванием.
Ведущий диск 106 фиксируют внутри трубы 102 при изготовлении и снабжают отверстием 161 для введения в него вала 143, причем сечение отверстия 161 делают таким, чтобы передавать вращение диску 106 от вала 143.
Элементы 103-107 и 108 представляют собой подсборку 110, которая может быть частично размещена путем выполнения одной операции внутри трубы 102, как показано стрелкой F1 на фиг.3.
Длина L105 пружины 105 в направлении, параллельном оси Х-Х’, меньше длины L104 элемента 104 в направлении, параллельном этой оси.
В третьем варианте выполнения изобретения, представленном на фиг.5 и 6, элементы, аналогичные элементам первого варианта выполнения, обозначены теми же номерами позиций, увеличенными на 200. Механизм 201 этого варианта выполнения содержит вал 202, предназначенный для привода экрана Т для закрывания проема О в большей или меньшей степени. Этот вал 202 опирается на кронштейн 203, неподвижный относительно кирпичной кладки строения. Привод 204 содержит электродвигатель 241 и редуктор 242, расположенные в корпусе 244 цилиндрической формы с круглым сечением, как и корпуса 44 и 144.
Позицией 243 обозначен выходной вал привода 204. Этот вал 243 предназначен для введения его в отверстие 261 ведущего диска 206, установленного фиксировано внутри вала 202.
Пружину 205 устанавливают вокруг корпуса 244 неподвижно, предотвращая ее вращение относительно корпуса, путем защемления ее первого конца 251 на кольце 209 в форме усеченного конуса, которое, в свою очередь, устанавливают неподвижно на конце 244а корпуса 244 против кронштейна 203.
Другое кольцо 208 устанавливают вокруг корпуса 244 на уровне его конца 244b, ближайшего к кронштейну 203, с возможностью вращения кольца 208 относительно конца 244b.
Кольцо 208, кроме того, снабжено поверхностью 282 в форме усеченного конуса для сопряжения и нагружения второго конца 252 пружины 205.
Кольцо 208 также снабжено множеством радиальных выступов 283, предназначенных для сопряжения их с пазами 223, выполненными на уровне конца 221 трубы 202.
Элементы 203-205, 208 и 209 представляют собой подсборку, которую можно размещать путем выполнения одной операции, показано стрелкой F1 на фиг.5, внутри трубы 202, причем посредством этой подсборки обеспечивают возможность выполнения функций привода трубы 202 и уравновешивания, подобно подсборкам 10 и 110 в первом и втором вариантах выполнения.
При введении подсборки 210 в трубу 202 вал 243 входит в сопряжение с отверстием 261, тогда как выступы 283 входят в сопряжение с пазами 223.
Когда установку монтируют (как показано на фиг.5), кольцо 206 устанавливают на валу 243 до того, как подсборку 210 вводят в трубу 202, таким образом исключая последующую регулировку относительной ориентации колец 206 и 208. Такая же методика действий может быть использована при монтаже механизмов первого и второго вариантов выполнения.
Этот вариант выполнения обладает определенным преимуществом, заключающимся в том, что при конфигурации, изображенной на фиг.5, подсборки 210, которая соответствует его конфигурации во время хранения до монтажа в рабочем положении в установке, смонтированной в строении, крутящий момент, создаваемый пружиной 205 между кольцами 208 и 209, не передается на вал 243. В действительности создано средство, с помощью которого делают неподвижным кольцо 208, предотвращая его вращение относительно корпуса 244, причем это средство может представлять собой ключ 211, изображенный пунктирными линиями на фиг.5. Могут быть, однако, использованы любые другие средства предотвращения вращения, например фиксирование завинчиванием.
Положение кольца 208 можно регулировать до предотвращения его подвижности относительно корпуса 244 так, чтобы уравновешивающее усилие, создаваемое пружиной 205, соответствовало бы, по существу, уравновешивающему усилию, которое должно быть создано для того, чтобы скомпенсировать максимальный вес экрана Т, т.е. его вес при полностью закрытом проеме О. Этот максимальный крутящий момент не передается на вал 243 и, следовательно, на редуктор 242, при этом редуктору могут быть приданы размеры с учетом того факта, что, когда подсборку 210 вставляют в вал 202, вес экрана Т и усилие пружины 205 приблизительно уравновешиваются. Редуктор 242 может быть, таким образом, сделан меньшего габарита и более легким, чем редукторы в известных установках, что позволяет существенно снизить себестоимость механизма 201.
Длина L205 пружины 205 существенно короче общей длины привода 204.
Согласно варианту изобретения (не показан) механизм, выполненный в соответствии с его принципом изобретения, может быть также снабжен предохранительным устройством, как это описано во французской заявке на изобретение №0203942, содержание которой приведено в настоящей заявке в качестве ссылки.
Технические характеристики различных упомянутых вариантов исполнения изобретения могут быть совмещены между собой без изменения объема настоящего изобретения. Аналогично этому, описанные варианты выполнения изобретения могут быть подвергнуты очевидным модификациям без изменения объема настоящего изобретения.
Формула изобретения
1. Механизм для маневрирования установкой для закрывания или для защиты от солнечного света, содержащий привод для сообщения вращательного движения намоточному валу, закрывающему экран и, по меньшей мере, одну пружину для уравновешивания веса экрана, отличающийся тем, что пружина (5, 105, 205) расположена вокруг привода (4, 104, 204), причем пружина и привод входят в подсборку (10, 110, 210), выполненную с возможностью ее, по меньшей мере, частичного ввода (F1), путем выполнения одной операции, внутри вала (2, 102, 202), при этом первый конец (51, 151, 251) пружины кинематически соединен с приводом тогда, как ее второй конец (52, 152, 252) выполнен с возможностью кинематического соединения с валом, когда подсборка размещена на месте в упомянутом валу.
2. Механизм по п.1, отличающийся тем, что второй конец (52) пружины (5) сопряжен с ведущим элементом (6), выполненным с возможностью его соединения с валом (2) внутри последнего.
3. Механизм по п.1, отличающийся тем, что второй конец (152, 252) пружины (105, 205) сцеплен с кольцом (108, 208), установленным с возможностью свободного вращения относительно корпуса (144, 244) привода (4, 204).
4. Механизм по п.3, отличающийся тем, что кольцо (108) сопряжено для передачи вращения с выходным валом (143) привода.
5. Механизм по п.3, отличающийся тем, что кольцо (208) выполнено с возможностью его непосредственного сопряжения для передачи вращения с намоточным валом (202).
6. Механизм по п.5, отличающийся тем, что кольцо (208) оснащено по меньшей мере одним элементом (283) контура, выполненным с возможностью зацепления с соответствующим элементом (223) контура, выполненным на намоточном валу (202), для соединения кольца и вала для передачи вращения.
7. Механизм по одному из пп.1-6, отличающийся тем, что первый конец (51, 151) пружины (5, 105) сцеплен с корпусом (44, 144) привода (4, 104).
8. Механизм по одному из пп.1-6, отличающийся тем, что первый конец (51, 151) пружины (205) жестко сопряжен с передачей вращения с кольцом (209), установленным неподвижно вокруг корпуса (244) привода.
9. Механизм по одному из пп.1-6, отличающийся тем, что пружина (5, 105, 205) имеет такую длину (L5, L105, L205), при которой она не выступает существенно в осевом направлении (Х-Х’) за пределы корпуса (44, 144, 244) привода (4, 104, 204).
10. Механизм по одному из пп.1-6, отличающийся тем, что привод (4, 104, 204) содержит электродвигатель (41, 141, 241).
11. Установка для закрывания или для защиты от солнечного света, отличающаяся тем, что она содержит механизм (1, 101, 201) для маневрирования согласно одному из пп.1-10.
РИСУНКИ
|
|