|
(21), (22) Заявка: 2004133381/12, 13.05.2003
(24) Дата начала отсчета срока действия патента:
13.05.2003
(30) Конвенционный приоритет:
16.05.2002 DE 10221895.1
(43) Дата публикации заявки: 27.08.2005
(46) Опубликовано: 10.01.2008
(56) Список документов, цитированных в отчете о поиске:
US 5215367 А, 01.06.1993. FR 2611875 А, 09.09.1988. US 3683453 А, 15.08.1972.
(85) Дата перевода заявки PCT на национальную фазу:
16.12.2004
(86) Заявка PCT:
EP 03/05009 (13.05.2003)
(87) Публикация PCT:
WO 03/097974 (27.11.2003)
Адрес для переписки:
191186, Санкт-Петербург, а/я 230, “АРС-ПАТЕНТ”, пат.пов. В.М.Рыбакову, рег. № 90
|
(72) Автор(ы):
КЕНТНЕР Вольфганг (DE), ЛАЙБЛЕ Карл-Фридрих (DE), ШТЕЙХЕЛЕ Хельмут (DE)
(73) Патентообладатель(и):
БСХ БОШ УНД СИМЕНС ХАУСГЕРЕТЕ ГМБХ (DE)
|
(54) ДВЕРНОЙ ОПОРНЫЙ КРОНШТЕЙН ДЛЯ БЫТОВОГО ПРИБОРА, ВЫПОЛНЕННОГО В ВИДЕ ШКАФА
(57) Реферат:
Изобретение относится к устройствам для навешивания створок. Содержит несущую консоль и отходящую от несущей консоли в первом направлении опорную цапфу. От несущей консоли на продолжении опорной цапфы во втором направлении, противоположном первому направлению, отходит ножка бытового прибора. Опорная цапфа выполнена заедино с насаживаемым на конец несущей консоли съемным башмаком. Изобретение обеспечивает устойчивость бытового прибора, в котором оно используется. 3 н. и 7 з.п. ф-лы, 6 ил.
Область техники
Настоящее изобретение относится к опорному кронштейну для поворотной подвески двери бытового прибора в виде шкафа, в особенности холодильника или морозильника.
Уровень техники
Обычные дверные опорные кронштейны этого типа состоят из укрепленной на корпусе бытового прибора несущей консоли, на одном конце которой имеется выступающий, практически вертикальный шип. Шип вставляется в гнездо в двери, образуя, таким образом, вертикальную ось вращения двери. Обычно этот шип представляет собой массивный металлический стержень, вставляемый в отверстие в металлической же несущей консоли и закрепляемый там сваркой или заклепками.
Навешиваемая на такой опорный кронштейн дверь может иметь значительный вес, если, например, это дверь холодильника с отделениями для охлаждаемых продуктов, которые обычно располагаются на внутренней стороне двери и заполняются сравнительно тяжеловесными продуктами, как, например, бутылками с напитками. По мере технического прогресса корпуса подобных холодильников становятся все легче, так как при изготовлении стенок корпусов тяжелые металлические листы все чаще заменяются легкими пластиками, а холодильные машины делаются все меньше, а следовательно, легче. Если корпус такого холодильника загружен мало, а дверь, наоборот, заполнена, то это в предельном случае может привести к потере устойчивости прибора, так что прибор при открывании двери будет стремиться опрокинуться вперед.
Раскрытие изобретения
Задача настоящего изобретения состоит поэтому в том, чтобы предложить такой дверной опорный кронштейн для бытового прибора, имеющего форму шкафа, который придаст ему большую устойчивость.
Эта задача решается дверным опорным кронштейном с признаками по пункту 1 формулы изобретения.
Такой дверной опорный кронштейн позволяет приподнять ножку холодильника, а также опорную цапфу двери с передней стороны корпуса прибора. Эта мера особенно эффективна в отношении той передней ножки прибора, вблизи которой находится подвеска двери, так как при открытии двери центр тяжести всего прибора смещается не только вперед, но одновременно и в сторону подвески двери.
Предлагаемый изобретением дверной опорный кронштейн особенно легко снабдить регулируемой по высоте ножкой, если штифтовая часть этой ножки входит в полость опорной цапфы. Такое решение освобождает от необходимости предусматривать соответствующую полость в корпусе самого холодильника, что упрощает изготовление корпуса. Изготовление дверного опорного кронштейна упрощается еще и тем, что штифтовая часть ножки одновременно служит держателем опорной цапфы. Большая статическая нагрузочная способность ножки позволяет рассчитывать надвинутую на нее опорную цапфу на меньшие статические нагрузки и выполнять ее, например, из пластика.
Регулировка ножки по высоте просто осуществляется с помощью соосного с опорной цапфой резьбового отверстия в несущей консоли и резьбы на штифтовой части, ввинчиваемой в полость опорной цапфы через это резьбовое отверстие в несущей консоли.
Чтобы обеспечить достаточную защиту ножки от перекоса даже при малой длине резьбы, желательно, чтобы штифтовая часть входила в полость опорной цапфы по возможности без зазора в радиальном направлении. Такой вход штифтовой части в полость опорной цапфы, насколько возможно, без зазора позволяет точно и без зазора установить дверь.
Резьбовое отверстие высверливается предпочтительно в выступающем штуцере несущей консоли. Это позволяет выполнить резьбу достаточной длины, чтобы обеспечить большую грузоподъемность ножки, даже если толщина материала несущей консоли недостаточна для резьбы такой длины. Предпочтительно, чтобы выступающий штуцер изготовлялся как цельная деталь из материала несущей консоли, например в виде резьбовой отбортовочной вытяжки.
В соответствии с изобретением предпочтительно далее, чтобы опорная цапфа, независимо от того, является ли она полой и рассчитанной на ввод в нее штифтовой части ножки или нет, была соединена с несущей консолью посредством съемного башмака, насаживаемого на концевой участок несущей консоли и фиксируемого там. Этот съемный башмак, изготовленный предпочтительно из твердого синтетического материала, позволяет в то же время привлекательно для взгляда оформить концевой участок несущей консоли, обойдясь без дорогостоящей отделки поверхности, лакировки и т.п. несущей консоли. Если несущая консоль снабжена вышеупомянутым штуцером, то полезно использовать последний в качестве точки фиксации для фиксатора съемного башмака.
Съемный башмак и опорная цапфа предпочтительно изготовляются как неразъемная единая деталь из пластмассы.
Изобретение относится также к бытовому прибору, который, по меньшей мере, имеет дверной опорный кронштейн, как определено выше.
Краткий перечень фигур чертежей
Прочие признаки и преимущества изобретения вытекают из нижеследующего описания примеров исполнения со ссылками на прилагаемые фигуры чертежей. На фигурах изображены:
фиг.1 – перспективная проекция предлагаемого изобретением дверного опорного кронштейна с несущей консолью, опорной цапфой и регулируемой ножкой;
фиг.2 – перспективная проекция нижней части корпуса холодильника с установленной там опорной цапфой;
фиг.3 – тот же дверной опорный кронштейн без опорной цапфы;
фиг.4 – дверной опорный кронштейн с изображенной в разрезе опорной цапфой;
фиг.5 – перспективная проекция дверного опорного кронштейна снизу с удаленной ножкой;
фиг.6 – перспективная проекция верхнего дверного опорного кронштейна в соответствии с изобретением.
Осуществление изобретения
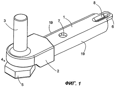
На фиг.1 изображен общий вид нижнего дверного опорного кронштейна в соответствии с изобретением. Он состоит из несущей консоли 1, согнутой из толстого стального листа, съемного пластмассового башмака 2, надетого на конец несущей консоли, из которого вертикально вверх выступает опорная цапфа 3, вставляемая в соответствующую опорную расточку на нижней стороне двери. Регулируемая по высоте ножка 4, от которой на фигуре виден только шестигранный опирающийся на пол опорный участок, выступает из несущей консоли 1 вниз.
Несущая консоль 1 имеет приблизительно U-образное поперечное сечение. Полки 19 U-образного профиля сообщают несущей консоли 1 высокую прочность на изгиб.
Противоположный съемному башмаку конец несущей консоли имеет короткий узкий выступ 6, который благодаря выштампованному углублению 8 также обладает высокой прочностью на изгиб. Выступ 6 предназначен для вставления с геометрическим замыканием в проушину 20 в корпусе холодильника.
На фиг.2 изображен в перспективе вид нижней части корпуса холодильника, наглядно показывающий прикрепление дверного опорного кронштейна к корпусу. Расположенное приблизительно посредине несущей консоли 1 отверстие 7 предназначено для винта, которым несущая консоль 1 привинчивается снизу к корпусу. Для прочного монтажа несущей консоли достаточно, таким образом, сначала вставить ее выступ 6 в проушину на корпусе, а затем привинтить ее к корпусу через отверстие 7.
Опорная цапфа 3 входит в уже упомянутое опорное отверстие на скошенной нижней стороне двери 21; уплощенный конец опорной цапфы 3 воспринимает вес двери 21.
На фиг.3 дверной опорный кронштейн изображен в той же проекции, что и на фиг.1, но без съемного башмака 2 и связанной с ним опорной цапфы 3, чтобы более полно показать ножку 4. Подымающийся вертикально вверх от опорного участка 5 штифтовой участок 9 снабжен наружной резьбой, ввинчиваемой во внутреннюю резьбу отверстия 10 в несущей консоли 1. Через резьбу штифтового участка 9 вес холодильника передается на ножку 4. Вращая ножку 4, можно регулировать высоту несущей консоли 1 над полом.
На фиг.4 дверной опорный кронштейн изображен в той же проекции, что и на фиг.1 и 2, с тем различием, что съемный башмак 2 и опорная цапфа 3 изображены в разрезе вдоль оси несущей консоли 1. Из чертежа видно, что сформованная заедино со съемным башмаком 2 опорная цапфа 3 имеет открытую снизу полость 12, в которую входит штифтовой участок 9. Наружный диаметр штифтового участка 9 с небольшим допуском соответствует внутреннему диаметру полости 12. Таким образом, опорная цапфа препятствует перекосу штифтового участка 9 и защищает резьбу штифтового участка 9 и отверстия 10 от повреждения. Насадка опорной цапфы 3 на штифтовой участок 9 почти без зазора создает одновременно с этим условия для установки двери 21 на опорной цапфе 3 без зазора.
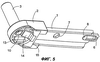
На фиг.5 дверной опорный кронштейн изображен в перспективной проекции снизу, причем ножка 4 удалена. На чертеже видно, что отверстие 10 в несущей консоли 1 с нижней стороны удлинено штуцером 13, который сформован из материала несущей консоли 1 путем вытягивания материала вокруг исходно меньшего отверстия.
Этот штуцер 13 имеет двоякое назначение. С одной стороны он позволяет сделать внутреннюю резьбу отверстия 10 существенно длиннее, чем это было бы возможно, исходя из фактической толщины материала несущей консоли 1, так что ножка 4 без риска повреждения резьбы может быть нагружена большим весом. С другой стороны он служит фиксирующим упором для гибкого выступа 14 вставного башмака 2 и фиксирует его на несущей консоли 1 даже и тогда, когда штифтовой участок 9 ножки не входит в свою полость. Исходной точкой выступа 14 является перемычка 15, соединяющая две боковые стороны съемного башмака 2 под несущей консолью 1 и тем самым повышающая жесткость съемного башмака и его устойчивость к действующим на опорную цапфу 3 опрокидывающим моментам.
Как видно из фиг.6, идея закрепления опорной цапфы на несущей консоли с помощью съемного башмака может быть перенесена и на верхний дверной опорный кронштейн двери холодильника. Чертеж показывает в разделенном изображении несущую консоль 1′ с вдвижным выступом 16 и отходящим под углом от вдвижного выступа 16 опорным участком 17, в котором просверлен ряд отверстий для привинчивания к корпусу холодильника. Съемный башмак 2′ имеет закрытые верхнюю и нижнюю стороны; с нижней стороны выступает массивная опорная цапфа 3′. На боковых стенках съемного башмака 2′ предусмотрены фиксаторы 18, которые входят в вырезы 19 на вдвижном выступе 16 и, таким образом, фиксируют съемный башмак.
Формула изобретения
1. Дверной опорный кронштейн для бытового прибора, выполненного в виде шкафа, имеющий несущую консоль (1) и выступающую от несущей консоли (1) в первом направлении опорную цапфу (3), отличающийся тем, что ножка (4) бытового прибора проходит от несущей консоли (1) на продолжении опорной цапфы (3) во втором направлении, противоположном первому направлению.
2. Кронштейн по п.1, отличающийся тем, что выступающая в первом направлении опорная цапфа (3) в смонтированном состоянии кронштейна (1), по меньшей мере, в основном, своим свободным концом направлена вертикально в сторону, противоположную ножке.
3. Кронштейн по п.1 или 2, отличающийся тем, что в опорной цапфе (3) имеется полость (12) для штифтовой части (9) регулируемой по высоте ножки (4).
4. Кронштейн по п.1 или 2, отличающийся тем, что в несущей консоли (1) имеется резьбовое отверстие (10), соосное с опорной цапфой (3), а штифтовая часть (9) имеет резьбу.
5. Кронштейн по п.З, отличающийся тем, что штифтовая часть (9) входит в полость (12) опорной цапфы (3), по существу, без радиального зазора.
6. Кронштейн по п.4, отличающийся тем, что резьбовое отверстие (10) образовано в выступающем штуцере (13) несущей консоли (1).
7. Дверной опорный кронштейн для бытового прибора, выполненного в виде шкафа, имеющий несущую консоль (1) и выступающую от несущей консоли (1) в первом направлении опорную цапфу (3), отличающийся тем, что опорная цапфа (3) по одному из пп.1-6 прочно соединена с насаживаемым на конец несущей консоли (1) и фиксируемым на несущей консоли (1) съемным башмаком (2).
8. Кронштейн по п.7, отличающийся тем, что съемный башмак имеет фиксируемый на штуцере выступ.
9. Кронштейн по п.7 или 8, отличающийся тем, что съемный башмак (2) и опорная цапфа (3) выполнены заедино из пластмассы.
10. Бытовой прибор, в особенности холодильник, с корпусом, выполненным в виде шкафа, и дверью (21), отличающийся тем, что он содержит по меньшей мере один дверной опорный кронштейн (1, 2, 3, 4), заявленный в любом из пп.1-9.
РИСУНКИ
|