|
|
(21), (22) Заявка: 2004135387/12, 15.04.2003
(24) Дата начала отсчета срока действия патента:
15.04.2003
(30) Конвенционный приоритет:
06.05.2002 US 10/138,532
(43) Дата публикации заявки: 27.05.2005
(46) Опубликовано: 10.01.2008
(56) Список документов, цитированных в отчете о поиске:
US 6298694 В1, 09.10.2001. DE 155491 С, 03.11.1904. RU 2120529 С1, 20.10.1998. RU 2262 U1, 16.06.1996.
(85) Дата перевода заявки PCT на национальную фазу:
06.12.2004
(86) Заявка PCT:
IL 03/00319 (15.04.2003)
(87) Публикация PCT:
WO 03/093611 (13.11.2003)
Адрес для переписки:
129010, Москва, ул. Б.Спасская, 25, стр.3, ООО “Юридическая фирма Городисский и Партнеры”, пат.пов. Г.Б. Егоровой, рег.№ 513
|
(72) Автор(ы):
НОЛЛ Йехонатан (IL)
(73) Патентообладатель(и):
НОЛЛАН ЛТД. (IL)
|
(54) ЗАМОК С КОДОМ
(57) Реферат:
Изобретение относится к области кодовых замков. Замок с кодом содержит корпус, стопорный болт и стопорный пролом, по меньшей мере один замковый узел, содержащий дисковый элемент с периферийным углублением, барабанный кулачок и кулачок возврата, стопорный элемент, образованный по меньшей мере с одним стопорным ушком, перемещаемым под углом между незапертым положением, в котором все стопорные ушки зацеплены в периферийном углублении дисковых элементов и в котором стопорный пролом расцеплен со стопорным болтом, и запертым положением, в котором по меньшей мере одно из стопорных ушек расцеплено с периферийным углублением и в котором стопорный пролом запирает стопорный болт. Перемещаемый в плоскости управляющий элемент содержит по меньшей мере один следящий механизм, соответствующий каждому барабанному кулачку. Для поворота всех дисковых элементов в положение возврата обеспечен механизм возврата. Изобретение обеспечивает возможность легкого манипулирования замком одной рукой и без визуального контакта с замком. 39 з.п. ф-лы, 18 ил.
Настоящее изобретение относится в общем к области замков и более конкретно оно касается замков с кодом, иногда называемых замками без ключа. В частности, изобретение касается замка, в котором отпирание производят последовательными смещениями управляющего элемента.
Такие замки полезны в качестве висячих замков, замков для кейсов (например, чемоданов, портфелей), дверей, окон, сейфов, шкафчиков, велосипедов и т.п. В частности, изобретение касается замка, в котором отпирание осуществляют посредством последовательных смещений управляющего элемента.
Замок с кодом, как упоминается в технике, является замком, который устраняет использование ключа для его отпирания. Один тип таких замков содержит отдельный градуированный диск, который следует поворачивать несколько раз в разных направлениях, чтобы достигнуть правильной комбинации для открывания. Другой тип замков с кодом содержит несколько градуированных дисков, в которых каждый следует поворачивать до положения, в котором достигается правильное число комбинаций. Факультативно вместо градуированных дисков имеются замки с кодом, которые снабжены множеством кнопок, подлежащих нажатию в правильной последовательности для достижения правильной отпирающей комбинации. Код, который обеспечивает возможность отпирания замка, иногда упоминается как код комбинации или отпирающий код.
Вышеупомянутые замки с кодом обладают рядом недостатков. Например, там где замковый механизм устроен последовательно, то есть, чтобы придать стопорному механизму некоторую сложность, он обычно содержит три или более замковых узла, каждым из которых манипулируют отдельно. Это устройство приводит к тому, что каждый замковый узел, успешно манипулируемый в положение отпирания, представляет более легкую процедуру подбора. Даже однодисковые замки с кодом, хотя и содержат только один управляющий диск, содержат три или более замковых узла, которыми манипулируют последовательно.
Еще одним дополнительным недостатком замков вышеупомянутого типа является механическая сложность, требующая множества элементов, где каждый приспособлен для манипуляции отдельным замковым узлом замкового механизма. Кроме того, замковый механизм, устроенный последовательно, также требует большего времени для отпирания.
Кроме того, в некоторых замках с кодом замок остается незапертым, даже если он закрыт (скобу вводят в ее отверстие внутри висячего замка или двери запираемого сейфа) до положительного смещения по меньшей мере одного из его управляющих элементов.
Кроме того, большинство замков требует визуального контакта с замком для осуществления с ним манипуляций. Очевидно, такое требование может быть проблематичным для слепых людей или в условиях темноты. Дополнительно во многих ситуациях может требоваться обеспечить возможность манипулирования замком, используя одну руку. Такие замки являются подходящими, в частности, для инвалидов и т.д. Много других типов замков, в частности замков с секретом, действуют с помощью электричества или электроники, недостатки которых очевидны.
Известные замки с кодом или без ключа описаны, например, в патентах США №2049983, 2830447, 2931204, 4476698, 4733548, 5109684 и 5267460. Однако полагают, что ни один из этих патентов не обеспечивает адекватное решение для устранения вышеупомянутых недостатков. В патенте США №2491779 описан замок с кодом, содержащий четыре приводных штыря различной длины, каждый из которых приспособлен для зацепления, в свою очередь, с соответствующим рычагом четырех дисков. Управляющая пластина смещает каждый раз только один из рычагов, таким образом вызывая угловое смещение одного диска за раз на расстояние одной метки за раз.
В патенте США №6298694 В1 раскрыт улучшенный замок с кодом, отличающийся от описанных выше замков тем, что он содержит один управляющий элемент, в котором код открывания получается рядом последовательных плоских смещений одного управляющего элемента, в так называемой двухкоординатной конфигурации.
Хотя концепция, представленная приведенной выше ссылкой на патент, является крупным достижением в этой области и имеет много преимуществ по сравнению с замками с кодом известного уровня техники, все же она имеет несколько недостатков, в частности, относительно их конструкции и сборки. Например, раскрытый замок содержит по меньшей мере два расположенных коаксиально способных поворачиваться замковых узла, каждый из которых содержит зубчатое колесо, стопорный диск и элемент возврата, расположенные последовательно, таким образом представляя корпус замка значительного размера, посредством чего он не подходит для использования в ограниченном пространстве.
Задачей настоящего изобретения является создание механизма замка с кодом, в котором вышеупомянутые недостатки значительно уменьшены или преодолены и который обеспечивает возможность легкого манипулирования замком одной рукой и без визуального контакта с замком.
Настоящее изобретение касается замка с кодом, содержащего один управляющий перемещаемый в плоскости элемент и в котором манипуляция с ним не требует визуального контакта с замком, посредством чего замком могут также манипулировать люди с ограниченными возможностями, например маленькие дети, инвалиды (например, слепые люди, люди с ампутированной рукой или иные физически или умственно неполноценные люди).
Согласно предложенной формуле изобретения замок с кодом содержит:
корпус, стопорный болт по меньшей мере с одним участком колена, проходящим в корпус, и образованный со стопорной задвижкой и стопорным проломом для задерживания стопорной задвижки;
по меньшей мере один замковый узел, вращаемым образом поддерживаемый внутри корпуса; причем каждый замковый узел содержит дисковый элемент, выполненный с периферийным углублением, барабанный кулачок, образованный с зубцами кулачка, и кулачок возврата;
стопорный элемент, образованный по меньшей мере с одним стопорным ушком, каждый из которых соответствует дисковому элементу; причем стопорный элемент выполнен с возможностью перемещения под углом между открытым (незапертым) положением, в котором все из по меньшей мере одного стопорного ушка находятся в зацеплении внутри периферийного углубления соответствующего дискового элемента и в котором стопорный пролом расцеплен со стопорным болтом; и запертым положением, в котором по меньшей мере одно из стопорных ушек расцеплено с соответствующим периферийным углублением, в котором стопорный пролом задерживает стопорный болт;
механизм возврата, содержащий рычаг для прикладывания усилия к кулачку возврата каждого из по меньшей мере одного замкового узла для поворота таким образом связанного дискового элемента в положение возврата;
управляющий элемент, содержащий по меньшей мере один следящий механизм, соответствующий каждому барабанному кулачку и являющийся перемещаемым в плоскости внутри корпуса;
устройство, являющееся таким, что при заданных последовательных смещениях управляющего элемента, соответствующих коду замка, по меньшей мере один следящий механизм встречается с зубцами кулачка соответствующего барабанного кулачка, вызывая соответствующее последовательное угловое смещение каждого из по меньшей мере одного замкового узла в положение, в котором каждое из периферийных углублений обращается к стопорным ушкам, таким образом обеспечивая возможность стопорному элементу переместиться в открытое (незапертое) положение.
Согласно первому применению замка с кодом в соответствии с настоящим изобретением обеспечены по меньшей мере два замковых узла, расположенных в плоскости внутри корпуса относительно его центральной оси, и в котором стопорный элемент выполнен с возможностью перемещения под углом относительно центральной оси.
Согласно второму применению замок содержит по меньшей мере два замковых узла, коаксиально расположенных внутри корпуса, в котором стопорный элемент выполнен в виде рычага, содержащего соответствующее количество стопорных ушек и способного поворотным образом перемещаться между запертым и незапертым положениями. Согласно предпочтительному варианту осуществления в открытом (незапертом) положении периферийные углубления выровнены по оси и, дополнительно, стопорные ушки стопорного элемента выровнены по оси.
Согласно одному варианту осуществления изобретения стопорный пролом поворотным образом шарнирно соединен со стопорным элементом, в котором перемещение стопорного элемента в его незапертое положение позволяет смещать стопорный пролом, вытягивая стопорный болт, в разъединенное положение от стопорной задвижки стопорного болта, и в котором перемещение стопорного элемента в его запертое положение влечет за собой соответствующее смещение стопорного пролома в зацепление с упомянутой стопорной задвижкой.
Согласно определенной конструкции стопорный пролом является стержнем, образованным по меньшей мере с одним зацепляющим задвижку участком; в котором в запертом положении зацепляющий задвижку участок зацеплен со стопорной задвижкой, задерживая таким образом стопорный болт, и дополнительно в котором осевое тяговое усилие, прикладываемое к стопорному болту, влечет за собой смещение стопорного пролома в зацепление с корпусом, посредством чего осевое тяговое усилие заклинивает стопорный пролом внутри корпуса в запертом положении так, что осевое усилие не передается стопорному элементу и по меньшей мере одному замковому узлу. Согласно одному конкретному варианту осуществления каждый из стопорного пролома и корпуса выполнен с зубчатым участком, посредством чего зацепление зубчатых участков влечет за собой заклинивание стопорного пролома в запертом положении.
Замок с кодом согласно настоящему изобретению может быть типом замка с предварительно программируемой комбинацией, в котором барабанный кулачок и кулачок возврата выполнены за одно целое с дисковым элементом. В качестве альтернативы комбинация может быть персонализированной, чтобы содержать любые практические последовательно следующие смещения управляющего элемента. Соответственно, по меньшей мере барабанный кулачок является съемным в осевом направлении от элемента диска, посредством чего его можно смещать под углом, чтобы задавать одно из множества угловых положений, посредством чего комбинацию замка можно изменять на любые персонализированные комбинации.
Согласно одной конкретной конструкции барабанный кулачок содержит центральный звездообразный элемент, образованный множеством шипов, причем каждый шип, имеющийся на поверхности кулачка, выполнен с возможностью зацепления скользящим образом посредством следящего механизма управляющего элемента. Для увеличения количества комбинаций барабанный кулачок дополнительно содержит кольцевой набор элементов кулачка, расположенный рядом с периферией барабанного кулачка, причем каждый элемент кулачка содержит поверхность кулачка, скользящим образом зацепляемую следящим механизмом управляющего элемента.
Управляющий элемент может содержать любое подходящее количество следящих механизмов, зацепляемых с шипами барабанного кулачка. Согласно одной конкретной конструкции обеспечены по три следящих механизма для каждого барабанного кулачка для взаимодействия в связи с ними. Согласно определенной конструкции следящие механизмы выполнены в виде штырей, выступающих из управляющего элемента.
Согласно настоящему изобретению возврат в первоначальное положение комбинированного кода, то есть его персонализирование, делается легким при расцеплении дискового элемента по меньшей мере одного замкового узла от его связанного барабанного кулачка, перемещении под углом барабанного кулачка и повторного зацепления его с дисковым элементом. Расцепление дисковых элементов от связанного с ними барабанного кулачка выполняется посредством осевого разделения между ними. Такое осевое разделение достигнуто посредством разделительного элемента, образованного с одной или более наклонными поверхностями и способного поворачиваться внутри корпуса. Соответствующий элемент, установленный для перемещения над упомянутыми наклонными поверхностями, передает осевое усилие на замковые узлы, таким образом отделяя элементы диска от связанного с ними барабанного кулачка.
Согласно первому применению изобретения, в котором замковые узлы расположены в планарной конфигурации, каждый дисковый элемент смещают для расцепления его от связанного барабанного кулачка, в котором соответствующий элемент является стопорным элементом и в котором его осевое смещение приводит к разделению. Согласно второму применению изобретения, в котором замковые узлы коаксиально размещены внутри корпуса, соответствующий элемент является элементом гнезда, приспособленным для прикладывания осевого усилия относительно элемента сцепления, соединенного с каждым применением замкового узла, вызывающим осевое смещение только одного дискового элемента или барабанного кулачка каждого замкового узла, против действия осевого смещения смещающего элемента.
Ниже будет описано изобретение с возможностью его осуществления на нескольких вариантах его осуществления только посредством неограничивающих примеров со ссылкой на прилагаемые чертежи, на которых:
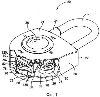
фиг.1 представляет частично вырезанное изометрическое изображение висячего замка в соответствии с вариантом осуществления настоящего изобретения;
фиг.2 представляет изометрическое изображение в разобранном виде висячего замка, показанного на фиг.1;
фиг.3 представляет изометрический вид замка, показанного на фиг.2, с несколькими его удаленными компонентами, где замок находится в так называемом запертом положении;
фиг.4 подобен фиг.3, замковый механизм находится в так называемом незапертом положении, хотя замок все еще закрыт;
фиг.5А и 5В изображают замковый механизм в запертом положении, как на фиг.3, где фиг.5В изображает попытку силой открыть замок;
фиг.6А и 6В изображают замок на двух последовательных этапах открывания замка;
фиг.7А и 7В представляют изометрические виды сверху управляющего механизма замка в двух последовательных положениях;
фиг.8A-8F представляют виды сверху, показывающие в наложенном соотношении управляющий элемент и один из барабанных кулачков, в серии последовательных управляющих смещений;
фиг.9А-9С представляют изометрические виды снизу, изображающие последовательные положения стопорного элемента и замковых узлов;
фиг.10А-10С представляют изометрические виды снизу, изображающие механизм возврата в последовательных положениях действия возврата;
фиг.11 представляет изометрическое изображение в разобранном виде висячего замка в соответствии с модификацией изобретения;
фиг.12А-12С изображают последовательные этапы персонализирования запирающего кода замка согласно варианту осуществления фиг.11;
фиг.13А-13С представляют виды в разрезе по линии XIII-XIII на фиг.12В, изображающие последовательные положения замкового механизма во время персонализирования запирающего кода замка;
фиг.14А-14С представляют изометрические виды висячего замка в соответствии с вариантом осуществления настоящего изобретения в запертом, незапертом, хотя и закрытом, и открытом положениях соответственно;
фиг.15 представляет изометрическое изображение в разобранном виде замка согласно отличающемуся применению изобретения;
фиг.16 представляет изометрический, частично собранный и частично разобранный вид замка фиг.15;
фиг.17 представляет изометрическое изображение в разобранном виде замка фиг.16 с удаленной верхней крышкой; и
фиг.18 представляет изометрический вид снизу замкового узла замка, изображенного на фиг.16.
В последующем описании со ссылкой на прилагаемые чертежи иллюстрируемый вариант осуществления представляет собой висячий замок. Однако следует оценить, что замок скорее может быть так называемым замком велосипедной цепи, встроенным замком, в котором корпус закрепляют в двери или элементе рамы (или в компоненте кейса, например портфеля и т.д.), предохранительным замком огнестрельного оружия и т.д.
На фиг.1 и 2 изображен висячий замок, в общем обозначенный ссылочной позицией 20, содержащий корпус 22, образованный верхней стенкой 24, нижней стенкой 26 и периферийной стенкой 28, прочно собранными. U-образная скоба 30 содержит короткую ногу и длинную ногу 31, обе входящие внутрь корпуса через верхнюю стенку 32, в которой по меньшей мере длинная нога 31 скобы закрепляется защищенным от манипулирования непроницаемым защитным цилиндром 34, который может быть сплошным цилиндром (фиг.1) или выполненным из двух половинок 34А и 34В (фиг.2).
Зацепляемая пальцем управляющая часть 38 способна смещаться над верхней стенкой 24 в крестообразной конфигурации, то есть в двухкоординатной конфигурации, как станет очевидно в дальнейшем. Верхняя стенка 24 образована с Х-образным отверстием 44, через которое выступает управляющая кнопка 134. Верхняя стенка 24 также образована со знаками ориентации, которые в настоящем примере являются цифрами от 1 до 0. Однако вместо цифр можно использовать другие знаки, например буквы, символы, шрифт Брайля, или может вообще не быть никакой индикации.
Нижняя стенка 26 корпуса 22 образована с центральным опорным штырем 50 и четырьмя расположенными в плоскости опорными штырями 52. Крестообразный стопорный элемент 56 поворотным образом установлен на центральном опорном штыре 50, причем упомянутый стопорный элемент 56 содержит четыре плеча со стопорным ушком 58 на конце каждого из них, проходящим по существу тангенциально и в положении, в котором они “преследуют” друг друга, то есть имеют одинаковую ориентацию. Стопорный элемент 56 также образован с зацепляющим пролом штырем 62. Стопорный элемент 56 смещают в направлении вращения по часовой стрелке, то есть в направлении, соответствующем стопорному ушку 58, посредством пружины 57.
На каждом расположенном в плоскости опорном штыре 52 имеется установленный поворотным образом замковый узел, в общем обозначенный ссылочной позицией 66, каждый из которых содержит нижний дисковый элемент 70, образованный с периферийным углублением 72 (видны только на некоторых из них), промежуточный кулачок 76 возврата (который в соответствии с конкретным вариантом осуществления имеет каплеобразную форму) и верхний барабанный кулачок 80, образованный с множеством зубцов 82 кулачка, как будет объяснено более подробно ниже со ссылкой на следующие чертежи.
В настоящем варианте осуществления замковый узел 66 является унитарным изделием, то есть дисковый элемент 70 выполнен за одно целое с барабанным кулачком и кулачком возврата. Однако в соответствии с отличающимся вариантом осуществления, как будет объяснено ниже со ссылкой на фиг.11-13, эти элементы могут быть отделимыми друг от друга.
Также имеется расположенный на центральном опорном штыре 50 звездообразный элемент 88 возврата, образованный четырьмя плечами 90, каждый из которых выполнен на своем конце с плоской поверхностью 94 зацепляющего кулачка.
Рычаг 98 возврата поворотным образом присоединен на одном своем конце к штырю 100 смещения, выступающему от элемента 88 возврата, а на противоположном конце имеется выступающий штырь 106, скользящим и поворотным образом принимаемый внутри держателя 104, образованного у нижней стенки 26 корпуса.
Над опорными штырями 50 и 52 имеется фиксированно установленный элемент 110 направляющей дорожки, выполненный со множеством углублений 114 и 116, пересекающихся друг с другом под прямыми углами (чтобы соответствовать двухкоординатной ориентации отверстия 44 передней стенки 24). Элемент 110 направляющей дорожки можно закрепить внутри корпуса иначе, например, посредством подходящих выступов из передней стенки 24 или из боковых стенок. Дополнительно отметим, что элемент 110 направляющей дорожки содержит четыре направленных вверх выступающих штифта 118.
Над элементом 110 направляющей дорожки имеется расположенный скользящим образом управляющий элемент 120 в виде пластины, образованной с четырьмя крестообразными углублениями 124, каждое из которых скользящим образом принимает соответствующий штифт 118 элемента 110 направляющей дорожки, таким образом гарантируя, что управляющий элемент 120 может перемещаться только в плоской ориентации. От управляющего элемента 120 имеются выступающие вниз четыре одинаково расположенные набора следящих механизмов в виде трех штырей 130 следящих механизмов, приспособленных для зацепления с зубцами 82 кулачка барабанных кулачков 80, как станет очевидно далее.
От управляющего элемента 120 выступает по центру управляющая кнопка 134, проходящая через отверстие 44 и способная зацепляться с управляющей зацепляемой пальцем кнопкой 38.
Стопорный пролом 140 имеет форму твердого элемента, скользящим образом принимаемого у верхнего участка корпуса, рядом с верхней стенкой 32, где упомянутый стопорный пролом выполнен с двумя зацепляющими задвижку выступами 144 и 146 для зацепления со стопорными задвижками 150 и 152 соответственно скобы 30. Пролом сбоку скользящим образом удерживается внутри корпуса двумя стойками 141, хотя он имеет также некоторую степень смещения в поперечном направлении, то есть к верхней стенке 32.
Верхняя поверхность 156 пролома 140 является зубчатой в соответствующем элементе, как зубчатая внутренняя лицевая поверхность 160 верхней стенки 32, для цели, которая станет очевидной в дальнейшем. Стопорный пролом 140 поворотным образом соединен со стопорным элементом 56 посредством зацепляющего пролом штыря 62, выступающего от стопорного элемента, скользящим и поворотным образом принимаемого внутри держателя 166 стопорного пролома 140. Стопорный пролом 140 обычно смещен в нижнее положение, расцепленное от зубчатой внутренней лицевой поверхности 160 корпуса, посредством спиральной пружины 170, прицепленной к стопорному пролому 140 на крючке 172 с проушиной и к пружинному крючку 174, расположенному в корпусе.
На фиг.3 замок показан в запертом положении, а именно в положении, в котором скоба 30 задерживается и не может быть извлечена из корпуса. В этом положении все стопорные выступы 58 стопорного элемента 56 расцеплены из своих соответствующих периферийных углублений 72 дисковых элементов 70, хотя один, два или три из стопорных ушек 58 могут быть расположены напротив своих соответствующих периферийных углублений 72 на этапе перед переходом в незапертое состояние замкового механизма. В запертом положении фиг.3 предотвращается угловое смещение стопорного элемента 56 в направлении по часовой стрелке, то есть в зацепление ушек 58 с периферийными углублениями 72 и, таким образом, стопорный пролом 140 остается в своем крайнем левом положении, посредством чего зацепляющие задвижку участки 144 и 146 остаются зацепленными в соответствующих стопорных задвижках 150 и 152 соответственно скобы 30, предотвращая отпирание замка, а именно смещение скобы.
На фиг.4 показано, что замок 20 находится в своем незапертом положении, хотя еще не открыт, то есть скоба 30 остается в своем положении внутри корпуса. В этом положении все ушки 58 стопорного элемента 56 принимаются внутри своих соответствующих периферийных углублений 72 в дисковых элементах 70, посредством чего под действием смещения спиральной пружины 57 (фиг.2) стопорный элемент 56 поворачивается в направлении по часовой стрелке для облегчения зацепления ушек 58 с соответствующим периферийным углублением 72. Только в этом положении стопорный пролом 140 можно сместить направо в направлении по стрелке 190 под вытягивающим воздействием скобы 30 в направлении по стрелке 192. Это получают с помощью наклонных поверхностей 194 стопорных задвижек 150 и 152 соответственно скобы 30, прилагающих осевое усилие к наклонным соответствующим образом поверхностям 198 зацепляющих задвижки участков 144 и 146 стопорного пролома 140, в осевом направлении, представленном стрелкой 190.
Таким образом, устройство является таким, что замок может быть в незапертом положении, как на фиг.4, хотя стопорный пролом 140 и скоба 30 еще не изменили свое положение и замок остается закрытым. Это устройство получают при положении, когда стопорный элемент 56 смещен в свое открытое положение, это не обязательно влечет за собой соответствующее смещение стопорного пролома 140 в его открытое положение. Это получают посредством формирования углубления 166 (стопорного пролома) так, что смещение зацепляющего пролом штыря 62 не влечет за собой неизбежно соответствующее смещение стопорного пролома 140.
На фиг.5А и 5В изображен замок в соответствии с настоящим изобретением в запертом положении и при попытке заставить замок открыться (фиг.5В) в этом положении. Для ясности показан только один замковый узел, а некоторые другие элементы также удалены.
На фиг.5А замок 20 находится в запертом положении, а именно по меньшей мере одно из стопорных ушек 58 проходит со смещением относительно своего соответствующего периферийного углубления 72 дискового элемента 70, посредством чего смещение стопорного элемента 56 в направлении по часовой стрелке не допускается, а именно замковый механизм не будет смещаться в открытое положение для обеспечения возможности соответствующего смещения стопорного пролома 140 для расцепления со скобой 30.
Как показано на увеличенном участке фиг.5А, который является вертикальной проекцией этого участка, соответствующие зубчатые участки 156 стопорного пролома 140 и 160 верхней стенки 32 расцеплены друг от друга с узким зазором между ними. Однако попытка вытянуть скобу 30 в направлении стрелки 202 (фиг.5В) влечет за собой смещение стопорного пролома 140 к верхней стенке 32, посредством чего зубчатые поверхности 156 и 160 зацепляются, как ясно показано на увеличенном участке. После соединения зубчатых участков стопорный пролом 140 становится запертым в закрытом положении, так что зацепляющие задвижку участки 144 и 146 стопорного пролома 140 остаются зацепленными внутри соответствующих стопорных задвижек 150 и 152 скобы 30. Стопорный пролом 140 не будет смещаться в направлении стрелки 190, как на фиг.4, несмотря на прилагаемое к скобе усилие в направлении по стрелке 202.
Дополнительно следует отметить, что усилие, прикладываемое к скобе 30 в направлении стрелки 202 (фиг.5В), полностью принимается стопорным проломом 140, который в свою очередь прикладывает усилие к корпусу 22, посредством чего элементы замкового механизма не подвергаются воздействию этого тягового усилия и таким образом не будут деформированы или повреждены.
После управления управляющим элементом 120 замковые узлы 66 выполняют ряд угловых смещений в направлении стрелки 208 (фиг.6А), посредством чего после завершения ряда смещений все периферийные углубления 72 дисков 70 располагаются так, чтобы обратиться к соответствующим стопорным ушкам 58 стопорного элемента 56. Стопорный элемент 56 обычно смещается в направлении стрелки 210 (фиг.6В) посредством пружины 57 (фиг.2), так что стопорные ушки 58 опираются на периферию дисковых элементов 70. Когда все углубления обращены к стопорным ушкам, стопорные ушки смещаются в зацепление с углублениями 72, однако только при правильном управлении, то есть при соответствующей открывающей комбинации.
В положении на фиг.6В после того, как стопорный элемент 56 выполняет свое угловое смещение в зацепление с углублениями 72, скобу 30 можно вытянуть в направлении стрелки 214, где на первом этапе это повлечет за собой скользящее смещение стопорного пролома 140 в направлении стрелки 218, а затем произойдет отцепление от него, обеспечивая возможность осевого смещения скобы и ее извлечения. Однако следует отметить, что с помощью другой модификации (не показана) более длинная нога 31 скобы 30 остается запертой внутри защитного цилиндра 34.
Ниже описаны фиг.7 и 8, изображающие управляющий механизм по настоящему изобретению. На фиг.7А и 7В управляющий элемент 120 показан над элементом 110 направляющей дорожки и с одним замковым узлом 66. Из этих чертежей также видно, что управляющий элемент 120 способен только на двухкоординатное смещение вследствие выступания штифтов 118 от элемента 110 направляющей дорожки в соответствующие крестообразные углубления 124 управляющего элемента 120. В соответствии с вариантом осуществления изобретения управляющий элемент 120 смещается в нейтральное положение фиг.7А одной или более подходящими пружинами (не показаны).
На фиг.7А управляющий элемент 120 находится в нейтральном положении и в этом конкретном варианте осуществления ни один из штырей 130 следящего механизма не зацеплен с соответствующим зубцом 82 кулачка барабанного кулачка 80. На фиг.7В изображено положение, в котором управляющий элемент 120 скользящим образом перемещен в направлении стрелки 222, посредством чего один из штырей 130 следящего механизма зацепляет обращенный к нему зубец 82 кулачка, скользящий относительно его кулачковой поверхности, вызывая соответствующее угловое смещение (поворот) замкового узла 66 в направлении по стрелке 226.
На фиг.8A-8F изображен наложенный вид сверху, показывающий пунктирными линиями управляющий элемент 120 и сплошными линиями барабанный кулачок 80. Как уже упомянуто выше, управляющий элемент 120 содержит четыре набора из трех штырей 130 следящего механизма, где каждый набор соответствует одному замковому узлу 66. На фиг.8A-8F этот набор штырей следящего механизма, который соответствует показанному барабанному кулачку 80, показан пунктирными линиями для того, чтобы отличить его от других наборов штырей следящего механизма, не показанных пунктирными линиями. Для объяснения последовательности манипуляций, рассматриваемые штыри следящего механизма обозначены ссылочными позициями 130А, 130В и 130С. Дополнительно имеется показанный один штифт 118 (другие удалены для ясности), выступающий от элемента 110 направляющей дорожки (не показан), способный скользить внутри крестообразного углубления 124.
Обращаясь сначала к фиг.8А, отметим, что управляющий элемент 120 показан в своем нейтральном положении так, что штифт 118 элемента 110 направляющей дорожки расположен в центре внутри крестообразного углубления 124. В этом положении ни один из штырей 130А, 130В или 130С следящего механизма не зацеплен ни с одним из зубцов барабанного кулачка 80.
На фиг.8В изображено положение после смещения управляющего элемента 120 в направлении стрелки 232, после чего рабочий штырь 130В следящего механизма сталкивается с зубцом 82А кулачка, вызывая поворот барабанного кулачка 80 в направлении против часовой стрелки, по стрелке 236.
Дальнейшее смещение управляющего элемента 120 в том же направлении, по стрелке 232, влечет за собой разъединение рабочего штыря 130В следящего механизма из рабочего кулачка 82А к зацеплению со следующим рабочим зубцом 82С кулачка внутреннего набора зубцов кулачка, приводя к повороту барабанного кулачка 80 в направлении по часовой стрелке, как показано стрелкой 238. Теперь управляющий элемент 120 находится на конце своего хода вниз после того, как штифт 118 достигнет конца соответствующего участка крестообразного углубления 124. Теперь необходимо возвратить управляющий элемент 120 в его нейтральное положение в направлении по стрелке 242, после чего рабочий штырь 130В следящего механизма снова столкнется с рабочим зубцом 82А кулачка, на сей раз встречаясь с ним на его внутренней поверхности, вызывая поворот барабанного кулачка 80 в направлении по часовой стрелке в соответствии со стрелкой 238.
Как только управляющий элемент 120 достигнет своего нейтрального положения, как на фиг.8D, его можно также перемещать в направлении слева направо. При смещении управляющего элемента 120 вправо, то есть в направлении стрелки 242, рабочий штырь 130С следящего механизма столкнется с рабочим зубцом 82 В кулачка, придавая барабанному кулачку 80 вращение в направлении против часовой стрелки в соответствии со стрелкой 236. Дальнейшее смещение управляющего элемента 120 в том же направлении согласно стрелке 242 влечет за собой столкновение рабочего штыря 130С следящего механизма с другим рабочим зубцом 82С кулачка, вызывая поворот барабанного кулачка 80 в направлении по часовой стрелке, как показано стрелкой 238.
Подобным образом и одновременно все замковые узлы вращаются каждый раз, когда перемещается управляющий элемент 120. Однако его можно выполнить таким образом, что некоторые отдельные смещения управляющего элемента не обязательно будут приводить к соответствующему повороту одного или более замковых узлов. Дополнительно следует оценить, что предварительно можно разработать так называемую открывающую комбинацию замка для любой желаемой конфигурации и длины последовательности смещений.
Хотя в показанной выше последовательности манипуляций барабанный кулачок 80 поворачивался в направлении и по часовой стрелке, и против часовой стрелки, следует оценить, что при конкретном варианте осуществления такое угловое смещение в одном направлении зависит, однако, от конкретной конструкции зубцов кулачка и других геометрических соображений.
После завершения предварительно определенных последовательных смещений управляющего элемента 120 все замковые узлы 66 ориентируются так, что периферийное углубление 72 дисковых элементов 70 обращается к соответствующим стопорным ушкам 58, посредством чего стопорные ушки 58 самопроизвольно перемещаются в углубления 72 под действием смещения пружины 57, таким образом отпирая замок, как описано выше.
Хотя вышеописанное раскрытие относится к смещению стопорного элемента 56 в зацепление с дисковыми элементами 70, следует оценить, что это является просто примером и упомянутое действие смещения можно опустить. Однако упомянутое смещение помогает получить незапертое положение, так что стопорный элемент нельзя будет легко и умышленно переместить, например, с помощью тряски и т.д.
Для дальнейшего понимания изобретения рассмотрим фиг.9А-9С, изображающие стопорный элемент 56 и замковые узлы 66 на изометрическом виде снизу, на которых для ясности отдельные замковые узлы идентифицированы ссылочными позициями 66А, 66В, 66С и 66D с их соответствующими элементами, обозначенными теми же ссылочными позициями.
На фиг.9А только стопорное ушко 58С проходит напротив соответствующего периферийного углубления 72С замкового узла 66С, в то время как стопорные ушки 58А, 58В и 58D упираются в периферийные поверхности своих соответствующих дисковых элементов 70А, 70В и 70D соответственно, так что стопорный элемент 56 нельзя переместить под углом в его незапертое положение.
На фиг.9 В замковые узлы 66 дополнительно повернуты, посредством чего периферийные углубления 72А, 72С и 72D обращены к соответствующим периферийным ушкам 58А, 58С и 58D соответственно. Однако вследствие того, что периферийное углубление 72В еще не обращено к своему соответствующему стопорному ушку 58В, препятствуется поворот стопорного элемента 56 в открытое положение, то есть в зацепление стопорных ушек 58 в периферийных углублениях 72. На фиг.9С все замковые узлы 66А-66D завершили свои угловые смещения (повороты) в соответствующее положение, в котором стопорные ушки 58A-58D смещены в периферийные углубления 72A-72D соответственно, вызывая вращательное смещение стопорного элемента 56 в направлении стрелки 256.
На фиг.10А-10С изображены изометрические виды снизу, которые относятся к механизму возврата замка. Механизм возврата необходим, чтобы начинать каждый управляющий цикл соединения с так называемого “нулевого положения”, чтобы в конце предварительно определенных последовательных смещений все периферийные углубления обратились к соответствующим стопорным ушкам, позволяя замку переместиться в незапертое положение. На фиг.10А-10С представлены изометрические виды снизу, на которых замковые узлы идентифицированы ссылочными позициями 66A-66D, а их соответствующие компоненты идентифицированы теми же характеризующими ссылочными позициями. Для ясности, дисковые элементы отсечены и только один дисковый элемент 70В изображен пунктирными линиями для того, чтобы показать его соответствующее положение.
Элемент 88 возврата содержит четыре плеча, каждое выполнено на своем конце с плоской зацепляющей кулачок поверхностью 88А-88D, каждая соответствует кулачку 76A-76D возврата соответственно. Каждый из кулачков 76A-76D возврата имеет каплеобразную форму по существу с плоским участком 77A-77D основания соответственно, посредством чего получается так называемое “нулевое положение” или “положение возврата”, когда все кулачки возврата ориентируются так, что их плоские поверхности 77A-77D соответственно упираются в соответствующие плоские поверхности 88A-88D соответственно элемента 88 возврата, как в положении на фиг.10С.
На фиг.10А изображено произвольное положение кулачков 76A-76D возврата. На фиг.10В на скобу 30 нажимают в направлении стрелки 260, посредством чего ее длинная нога 31 нажимает на рычаг 98 возврата, вызывая соответствующее угловое смещение элемента 88 возврата, так что плоские поверхности 88A-88D встречаются с плоскими поверхностями кулачков 76A-76D возврата, прикладывая тангенциальный момент силы, приводящий к повороту кулачков возврата, чтобы получить положение фиг.10С, в котором плоские поверхности 88A-88D опираются на соответствующие плоские поверхности 77A-77D соответствующих кулачков 76A-76D возврата.
Как видно на фиг.10В, действие возврата влечет за собой поворот элемента возврата в направлении стрелки 262 на фиг.10В и 10С, хотя замковые узлы 66A-66D поворачиваются в соответствующем направлении, как показано стрелками 262A-266D соответственно на фиг.10 В.
Вариант осуществления, показанный на фиг.1-10, изображает замок и замковый механизм для него, в котором отпирающая комбинация предварительно определена на уровне производства и не может быть настроена или персонализирована пользователем. Дополнительный вариант осуществления, показанный со ссылкой на фиг.11-13, изображает вариант осуществления, в котором комбинация замка может быть персонализирована пользователем к любой желаемой последовательности смещений, а также любой длине последовательности манипуляций.
Замок в соответствии с этим вариантом осуществления фактически подобен замку предыдущего варианта осуществления, главное отличие заключается в том, что замковый узел, в целом обозначенный 366, содержит барабанный кулачок 370, выполненный за одно целое с кулачком 372 возврата, сформированным с несколькими выступающими в осевом направлении штырями (3 в данном примере) 374 и 376. Однако дисковый элемент 380 является отделяемым и выполнен с периферийным углублением 382 и на его верхней поверхности с множеством отверстий 386 и 388, приспособленных для приема выступающих штырей 374 и 376 соответственно кулачка 372 возврата. Соответственно, дисковый элемент 380 можно помещать в различные угловые расположения относительно кулачка 372 возврата и барабанного кулачка 370, однако коаксиально друг с другом. Спиральная пружина 390 проходит между дисковым элементом 380 и кулачком 372 возврата, смещая эти два компонента друг от друга.
Дополнительное отличие состоит в добавлении разделительного элемента 394, вращательным образом расположенного над нижней стенкой 398 со штырем 400, выступающим в осевом направлении через дугообразное углубление, образованное в нижней стенке, как можно заметить также на фиг.12А.
Также отметим, что разделительный элемент 394 образован четырьмя наклонными поверхности 410 с подходящими углублениями 412 для приема расположенных в плоскости опорных штырей 416. Соответственно, следует оценить, что разделительный элемент 394 способен поворачиваться внутри корпуса ограниченным образом только в направлении по часовой стрелке.
Замок в соответствии с вариантом осуществления фиг.12А-12С действует подобным образом, как раскрыто в связи с предыдущим вариантом осуществления. Однако, когда требуется персонализировать комбинацию замка, замок сначала приводят в незапертое положение, как было описано выше и как показано, например, на фиг.4, 6В и 9С, при котором стопорные ушки 58 стопорного элемента 56 выступают в периферийные углубления 382 дисков 380 (фиг.12В). В этом положении (см. также фиг.13А) периферийные участки стопорного элемента 56, а именно ушки 58, проходят над разделительным элементом 394, оставляя стопорный элемент 56 в несколько приподнятом положении относительно нижней стенки 398 и, в свою очередь, также поддерживая замковые узлы 366 в соответствующем положении, а именно дисковые элементы 380 не отделяются от кулачка 372 возврата под действием смещения пружины 390.
Однако, когда разделительный элемент 394 поворачивают в направлении по часовой стрелке, как показано стрелкой 418 (фиг.12А и 12С), стопорный элемент 56 не поворачивается, в связи с чем он перемещается по направлению оси вместе с дисковым элементом 380 под действием смещения спиральной пружины 390, приводя к отделению дисковых элементов 380 от кулачков 372 возврата, как показано на фиг.12С и 13В. В этой ситуации пользователь может персонализировать новую комбинацию замка, выполняя ряд последовательных смещений управляющего элемента. Как только дисковые элементы 380 снова будут зацеплены с кулачками 372 возврата (фиг.13С), новая комбинация установлена и при возвращении разделительного элемента 394 к своему первоначальному положению новая комбинация остается.
Как лучше всего показано на фиг.13А-13С, дисковый элемент 380 содержит коаксиальный направленный вниз выступ 413, высота которого приблизительно соответствует толщине разделительного элемента 394, а также толщине стопорного элемента 56, чтобы таким образом способствовать легкому зацеплению и расцеплению во время смещения стопорного элемента 56 и разделительного элемента 394.
В варианте осуществления фиг.1-13 стопорный пролом 140 имеет форму отдельного элемента, соединенного со стопорным элементом 56 и управляемого таким образом. На фиг.14А-14С показан отличающийся вариант осуществления, в котором стопорный пролом выполнен за одно целое со стопорным элементом.
В соответствии с этим вариантом осуществления стопорный элемент 430 целиком образован с двумя плечами 432 и 434 пролома, каждое из которых образовано на своем конце с зацепляющим элементом 438 и 440 задвижки, прикрепленными соответственно для запирания стопорных задвижек 444 и 446 соответственно стопорного болта 450, в форме U-образной скобы.
Устройство является таким, что при запертом положении (фиг.14А) стопорный элемент 430 находится в своем относительном, расположенном против часовой стрелки положении, так как стопорные ушки не могут быть зацеплены внутри углублений дискового элемента. Как следствие, зацепляющие элементы 438 и 440 задвижек входят в зацепление со стопорными задвижками 444 и 446 соответственно скобы 450, предотвращая изъятие скобы.
После манипулирования стопорным механизмом в его незапертое положение (фиг.14 В) стопорные ушки выступают в соответствующие периферийные углубления дисковых элементов, посредством чего стопорный элемент перемещается в направлении против часовой стрелки, вызывая соответствующее смещение зацепляющих элементов 438 и 440 задвижки вправо, отцепляясь от стопорных задвижек 444 и 446 соответственно, таким образом обеспечивая возможность извлечь скобу 440, как на фиг.14С.
Следует отметить, что вариант осуществления, показанный на фиг.14А-14С, содержит преимущественно такие же элементы, что и в предыдущих вариантах осуществления, и для понимания, как замком управляют между запертым и незапертым положением, следует обратиться к приведенному выше описанию. Кроме того, замок может быть замком с заданной комбинацией или замком, в котором комбинация может быть персонализирована, как описано в связи с фиг.11-13.
В предыдущих вариантах осуществления на фиг.1-14 замковые узлы расположены плоским образом, то есть установлены на осях (опорных штырях), параллельных центральной оси (центральному опорному штырю) замка, так что замковые узлы расположены по существу в одной и той же плоскости. Количество замковых узлов может различаться между одним и любым другим практическим количеством, отдавая предпочтение более надежному замку. Согласно отличающемуся применению замковые узлы выровнены коаксиально, то есть проходят сверху друг над другом, как показано в варианте осуществления фиг.15-18. Хотя на чертежах показаны три замковых узла, можно применять любое удобное количество.
Замок, в общем определенный ссылочной позицией 500, содержит корпус, состоящий из нижнего основания 502 и верхнего корпуса 504, крышки 503 с управляющей кнопкой 505, скользящим образом располагаемой над ней. Замок дополнительно содержит стопорный болт 506 в форме U-образной скобы. Скоба 506 имеет короткое колено 508 и длинное колено 510 в осевом направлении и поворотным образом размещена внутри корпуса, хотя не извлекается оттуда. Короткое колено 508 образовано со стопорной задвижкой 514 в виде углубления, а длинное колено 510 образовано с углублением 518, комбинационным штырем 520 и штырем 524 возврата, назначение которых станет очевидным дальше. Имеется три замковых узла 530, коаксиально установленных на центральной оси 528, каждый из которых содержит дисковый элемент 534, выполненный с периферийным углублением 536, кулачком 542 возврата и барабанным кулачком 546 в виде звезды. При нормальном ходе работы элементы замкового узла 530 опираются друг на друга и вращаемым образом зацеплены друг с другом посредством элемента 550 сцепления, проходящего через барабанный кулачок 546 и кулачок 542 возврата и содержащего два осевых выступа 552, входящих в соответствующие отверстия 556, образованные в дисковом элементе 534. Набор из трех замковых узлов 530 смещается пружиной в нисходящем направлении посредством элемента 561 спиральной пружины.
Примечательным на фиг.16 является элемент верхней части корпуса, содержащий две крестообразные прорези 508 , ориентированные параллельно. Там также выполнены две параллельные прорези 510 , проходящие параллельно соответствующим участкам крестообразных прорезей 508 .
Имеются планарно перемещаемые внутри корпуса два ползуна 512 и 516, простирающиеся под верхней частью корпуса 504, в которых верхний ползун 512 образован с двумя направленными вверх осевыми выступами 520 , скользящим образом размещаемыми внутри крестообразных углублений 508 , а нижний ползун 516 содержит два направленных вверх осевых выступа 524 , скользящим образом размещаемых внутри линейных прорезей 510 . Оба ползуна 512 и 516 смещены в нейтральное положение так, что осевые выступы 520 и 524 обычно расположены по центру внутри своих соответствующих прорезей 508 и 510 в верхней части корпуса 504.
Каждый из ползунов 512 и 516 выполнен с двумя параллельно проходящими зубчатыми участками 517 рамы, причем каждый содержит четыре следящих механизма в виде зубцов 518 и 519.
Стопорный пролом 532 содержит три прикрепленных стопорных ушка 537, проходящих по направлению оси и расположенных так, чтобы зацепляться с соответствующими периферийными углублениями 536 дисковых элементов 534. Стопорный пролом 532 установлен на твердом стержне 538, выполненном со стопорным проломом 532 в виде цельного блокирующего элемента, приспособленного для запирания стопорной задвижки 514 скобы 506. Стопорный пролом 532 установлен шарнирно в корпусе над осью 546 и смещен спиральной пружиной 550 в направлении против часовой стрелки, то есть так, что стопорные ушки 537 смещены относительно периферии дисковых элементов 534. Однако и как объяснялось в связи с предыдущим выполнением, выступание стопорного ушка 537 в периферийные углубления 536 разрешается, только когда все периферийные углубления 536 выровнены по оси, то есть после манипуляции с ними.
Элемент 560 возврата содержит три коаксиально проходящих рычага 562 возврата, каждый из которых обращен к кулачку 542 возврата соответствующего замкового узла 530. Элемент 560 возврата обычно смещен в направлении по часовой стрелке, то есть в направлении для расцепления с кулачками 542 возврата. Однако элемент 560 возврата можно сместить в направлении против часовой стрелки после отведения назад скобы 506 и ослабления давления на нее, посредством чего штырь 524 возврата (проходящий с противоположных сторон длинной ноги 510) поворотным образом перемещает элемент 560 возврата, благодаря чему, в свою очередь, рычаги 562 возврата прикладывают тангенциальное усилие к кулачкам 542 возврата, смещая их для поворота, пока плоская поверхность каждого кулачка 542 возврата не станет вровень с соответствующей плоской поверхностью рычага 562 возврата, как описано в связи с предыдущим выполнением.
Обеспечены закрепленные поворотным образом на периферийных местоположениях вокруг замковых узлов 530 четыре осевые управляющие элемента 560 , 562 , 564 и 566 , каждый из которых содержит множество дугообразных лопастей, обозначенных цифрой управляющего элемента с буквой А, В или С индекса. Дуга лопастей имеет контур, соответствующий контуру барабанных кулачков 546. Каждая из дугообразных лопастей, определенная такой же буквой индекса, выполнена с возможностью тангенциального смещения над соответствующим барабанным кулачком 546, посредством чего поворот управляющего элемента влечет за собой соответствующее смещение замковых узлов 530. Следует оценить, что барабанные кулачки 546 способны зацепляться с одной или более равноуровневыми дугообразными лопастями, посредством чего замковыми узлами можно управлять с высоким уровнем надежности.
Каждый из управляющих элементов содержит двойное устройство оси, посредством чего нижние лопасти 560 С, 562 С, 564 С и 566 С способны независимо поворачиваться относительно верхних лопастей. Это получается посредством двух флагообразных элементов 570 и 572, проходящих от каждой оси.
Флагообразные элементы 570 и 572 принимаются внутри зубчатых участков рамок 517 ползунов 512 и 516, посредством чего скользящее смещение ползунов 512 и 516 в двухкоординатной конфигурации передает соответствующие угловые смещения управляющих элементов 560 -566 вследствие зацепления элементов 570 и 572 флага с соответствующими зубцами 518 и 519, действуя вместе в качестве зубчатого механизма рамки.
Три замковых узла 530 установлены на смещаемом по оси элементе 580 гнезда, коаксиально входящем в кольцо 584, образованное с несколькими периферийными ушками 588 и зацепляемое с зубчатым колесом 590, прикрепленным к основанию 502 нижней части. Зубчатое колесо 590 может поворачиваться комбинационным штырем 520 скобы 506, так что после ослабления давления на скобу оно передает зубчатому колесу 590 вращательное движение, которое, в свою очередь, поворачивает кольцо 584. Устройство является таким, что поворот колеса 584 влечет за собой осевое смещение элемента 580 гнезда вверх, приводя в соответствие кулачковые поверхности на обоих элементах. Такое осевое смещение против действия смещения пружины 561 прикладывает осевое усилие к стержням элементов 550 сцепления, посредством чего они расцепляются со своими соответствующими дисковыми элементами 534, так что затем становится возможным изменять соответствующие угловые положения дисковых элементов 534 внутри каждого замкового узла 530.
Лучше всего показано на фиг.15, что дополнительно принимаемая внутри корпуса распорная пружина 592 прикреплена на одном конце 594 к корпусу, а на противоположном конце к распорному элементу 598, образованному с выступом 600, зацепляемым с углублением 518 скобы 506. Твердый стержень 538 стопорного пролома 532 устанавливают на распорную пружину 592, таким образом положительно перемещая в одно из двух положений, а именно закрытое или открытое. Устройство является таким, что выступ 600 зацепляется внутри углубления 518 скобы 506, посредством чего втягивание скобы 506 влечет за собой защелкивание распорной пружины 590 в закрытое положение (то есть вогнутое относительно центральной оси 528) и, соответственно, вытягивание скобы 506 влечет за собой защелкивание распорной пружины 592 в открытое положение соответственно (то есть выпуклое относительно центральной оси 528).
Фиг.18 представляет изометрический вид снизу, изображающий только ползун 516 снизу, один замковый узел 530 и один управляющий элемент 560 для лучшего понимания их соответствующего взаимодействия.
При смещении ползуна 516 линейно в направлении стрелки 620 элементы флага 570 и 572 встречаются с зубцами 518 и 519 зубчатой рамки 517, таким образом передавая угловое смещение лопастям 560 В и 560 С, причем последние являются копланарными с барабанным кулачком 546. Угловые смещения лопасти 560 влекут за собой соответствующие угловые смещения барабанного кулачка 546. Барабанный кулачок 546 будет дополнительно перемещаться под углом соответствующими лопастями 566С, 564С и 562С (на этом чертеже не показаны), и лопасть 560 В зацепится с соответствующим барабанным кулачком 546 среднего замкового узла (не показан).
Хотя конструкция замка 500 отличается от конструкции предыдущего применения, как показано на фиг.1-14, следует оценить, что принцип ее функционирования действует подобным образом. А именно, манипулирование управляющей кнопкой 505 влечет за собой смещение ползунов 512 и 516, приводя к последовательным угловым смещениям управляющих элементов 560 -566 , которые, в свою очередь, передают соответствующее угловое смещение своим сопряженным барабанным кулачкам 546, таким образом приводя к угловому смещению дисковых элементов 534 в открывающее положение, в котором все периферийные углубления 536 выровнены по оси и обращены к стопорным ушкам 537 стопорного элемента 532 в открытое положение, в котором скобу 506 можно вытянуть.
Кроме того, и в основном аналогично предыдущему применению ослабление давления на скобу 506 приводит к угловому смещению элемента 560 возврата так, что рычаги 562 возврата прикладывают тангенциальное усилие к кулачкам 542 возврата для поворота их в нулевое положение, в котором плоские поверхности кулачков 542 возврата упираются в соответствующие поверхности рычагов 562 возврата и в котором кулачки 542 возврата становятся выровненными по оси.
Персонализирование комбинации замка получают посредством разъединения в осевом направлении дисковых элементов 534 с их связанным барабанным кулачком 546 и кулачками 542 возврата, изменяя их угловое положение по отношению к ним и затем повторно зацепляя замковые узлы. Это получают, ослабляя давление на скобу 506, посредством чего комбинационный штырь 520 передает вращательное движение зубчатому колесу 590, приводя к повороту кольца 584, перемещая по оси элементы 580 гнезда, которые, в свою очередь, перемещают по оси стержни элементов 550 сцепления для расцепления с дисковыми элементами 534.
Следует отметить, что описанные выше стопорные механизмы в соответствии с настоящим изобретением сделаны также для соответствия стандартам защиты высокого уровня, несмотря на их легкость и чрезвычайную быстроту управления. Замок нельзя разобрать обычными средствами (типа применения стетоскопа к стандартному наборному диску замка с кодом для определения местонахождения его положений открывания). Однако замковый механизм является подходящим для защиты в главных замках и даже, больше того, можно легко вводить дополнительные замки, имеющие такую же открывающую комбинацию, приспосабливая их открывающую комбинацию, как описано.
Кроме того, замок предлагает некоторые другие значительные преимущества, которые не известны в связи с замками известного уровня техники, а именно возможность управления замком в полной темноте и одной рукой (обе являются серьезными преимуществами для слепого или однорукого человека) и даже при надетых перчатках.
Специалистам следует оценить, что замки, к которым изобретение имеет отношение, полезны mutatis mutandis (изменив то, что следует) для множества других применений, например для дверей, окон, дверей транспортных средств, шкафчиков и т.д.
Формула изобретения
1. Замок с кодом, содержащий
корпус, стопорный болт, по меньшей мере, с одним участком колена, проходящим в корпус и образованным со стопорной задвижкой, и стопорный пролом для запирания упомянутой стопорной задвижки,
по меньшей мере, один замковый узел, вращательным образом поддерживаемый внутри корпуса, причем каждый замковый узел содержит дисковый элемент, выполненный с периферийным углублением, барабанный кулачок, выполненный с зубцами кулачка, и кулачок возврата,
стопорный элемент, выполненный, по меньшей мере, с одним стопорным ушком, каждое соответствует дисковому элементу, причем стопорный элемент выполнен с возможностью перемещения под углом между незапертым положением, в котором все из по меньшей мере одного стопорного ушка зацеплены внутри периферийного углубления соответствующего дискового элемента и в котором стопорный пролом расцеплен со стопорным болтом, и запертым положением, в котором по меньшей мере одно из стопорных ушек расцеплено с соответствующим периферийным углублением, в котором стопорный пролом запирает стопорный болт,
механизм возврата, содержащий элемент возврата для прикладывания усилия к кулачку возврата каждого из по меньшей мере одного замкового узла, для поворота, таким образом, связанного дискового элемента в положение возврата,
управляющий элемент, содержащий по меньшей мере один следящий механизм, соответствующий каждому барабанному кулачку и выполненный с возможностью перемещения в плоскости внутри корпуса,
отличающийся тем, что механизм возврата отделен от стопорного элемента и приводится в действие при смещении стопорного болта, а устройство является таким, что при заданных последовательных смещениях управляющего элемента, соответствующих комбинированному коду замка, по меньшей мере один следящий механизм управляющего элемента встречается с зубцами кулачка соответствующего барабанного кулачка, вызывая соответствующее последовательное угловое смещение каждого из по меньшей мере одного замкового узла в положение, в котором каждое периферийное углубление обращено к соответствующему стопорному ушку для перемещения, таким образом стопорного элемента в незапертое положение.
2. Замок с кодом по п.1, содержащий по меньшей мере два замковых узла, коаксиально расположенных в корпусе, в котором стопорный элемент выполнен в виде рычага, содержащего соответствующее количество стопорных ушек, и с возможностью перемещения поворотным образом между запертым и незапертым положениями.
3. Замок с кодом по п.2, в котором в незапертом положении периферийные углубления выровнены по оси.
4. Замок с кодом по п.2, в котором стопорные ушки стопорного элемента выровнены по оси.
5. Замок с кодом по п.1, в котором барабанный кулачок и кулачок возврата выполнены за одно целое с дисковым элементом, посредством чего комбинированный код замка является предварительно программируемым.
6. Замок с кодом по п.1, в котором по меньшей мере барабанный кулачок выполнен разъемным в осевом направлении от дискового элемента, посредством чего его можно сдвигать под углом, чтобы задать одно из множества угловых положений, посредством чего комбинированный код замка можно изменять на любую персонализированную комбинацию.
7. Замок с кодом по п.6, в котором персонализированная комбинация содержит неограниченное количество последовательных перемещений управляющего элемента.
8. Замок с кодом по п.6, в котором барабанный кулачок смещен по оси от дискового элемента.
9. Замок с кодом по п.6, в котором барабанный кулачок и кулачок возврата выполнены за одно целое друг с другом.
10. Замок с кодом по п.6, в котором стопорный элемент выполнен с возможностью перемещения по оси между действующим положением, в котором он проходит под ограничительным участком дискового элемента и предотвращает осевое смещение дискового элемента для расцепления с барабанным кулачком, и комбинированным положением возврата, в котором он расцепляется с ограничительным участком для осевого смещения дискового элемента.
11. Замок с кодом по п.10, который дополнительно содержит разделительный элемент, перемещаемый между первым положением, в котором он упирается в стопорный элемент для предотвращения его перемещения из соответствующего действующего положения, и вторым положением, в котором он перемещается так, чтобы предоставить возможность стопорному элементу перемещаться в комбинированное положение возврата.
12. Замок с кодом по п.11, в котором разделительный элемент выполнен с возможностью поворота скользящим образом внутри корпуса между первым положением, в котором он удерживается под стопорным элементом, и вторым положением, в котором он расцеплен со стопорным элементом.
13. Замок с кодом по п.12, в котором один или оба из разделительного элемента и стопорного элемента образованы со скользящей поверхностью для облегчения перемещения стопорного элемента над разделительным элементом.
14. Замок с кодом по п.1, в котором барабанный кулачок содержит центральный звездообразный элемент, выполненный с множеством шипов, причем каждый шип имеет поверхность кулачка, скользящим образом зацепляемую следящим механизмом управляющего элемента.
15. Замок с кодом по п.14, в котором барабанный кулачок дополнительно содержит набор элементов кулачка, расположенных рядом с периферией барабанного кулачка, причем каждый элемент кулачка содержит поверхность кулачка, скользящим образом зацепляемую следящим механизмом управляющего элемента.
16. Замок с кодом по п.1, в котором управляющий элемент выполнен с возможностью перемещения внутри корпуса в крестообразной конфигурации.
17. Замок с кодом по п.16, в котором управляющий элемент выполнен с возможностью регулирования управляющей зацепляемой пальцем кнопкой.
18. Замок с кодом по п.17, в котором зацепляемая пальцем кнопка выступает от передней стенки корпуса.
19. Замок с кодом по п.17, в котором управляющий элемент ориентирован эргономично.
20. Замок с кодом по п.16, в котором управляющий элемент выполнен с возможностью смещения в нейтральное положение, в котором по меньшей мере один следящий механизм отцеплен от барабанного кулачка.
21. Замок с кодом по п.1, содержащий по меньшей мере два замковых узла, расположенных в плоскости внутри корпуса относительно его центральной оси.
22. Замок с кодом по п.21, в котором стопорный элемент выполнен с возможностью смещения под углом относительно центральной оси.
23. Замок с кодом по п.22, в котором стопорный элемент является крестообразным элементом, содержащим множество радиальных плеч, каждое прикреплено на его отдаленном от центра конце со стопорным ушком.
24. Замок с кодом по п.1, в котором стопорный пролом выполнен за одно целое со стопорным элементом.
25. Замок с кодом по п.1, в котором стопорный пролом поворотным образом шарнирно соединен со стопорным элементом, в котором смещение стопорного элемента в его незапертое положение влечет за собой соответствующее смещение стопорного пролома в.разъединение от стопорной задвижки стопорного болта, и в котором смещение стопорного элемента в его запертое положение влечет за собой соответствующее смещение стопорного пролома в зацепление со стопорной задвижкой.
26. Замок с кодом по п.25, в котором стопорный пролом является стержнем, образованным по меньшей мере с одним зацепляющим задвижку участком, в котором в запертом положении зацепляющий задвижку участок зацепляется со стопорной задвижкой, чтобы таким образом запереть стопорный болт, и дополнительно в котором осевое тяговое усилие, приложенное к стопорному болту, влечет за собой смещение стопорного пролома в зацепление с корпусом, посредством чего осевое тяговое усилие заклинивает стопорный пролом в корпусе в запертом положении так, что осевое усилие не передается стопорному элементу и по меньшей мере одному замковому узлу.
27. Замок с кодом по п.26, в котором каждый из стопорного пролома и корпуса выполнен с зубчатым участком, посредством чего зацепление зубчатых участков влечет за собой заклинивание стопорного пролома в запертом положении.
28. Замок с кодом по п.26, в котором стопорная задвижка является углублением, образованным в стопорном болте, зацепляемом стопорным проломом.
29. Замок с кодом по п.28, в котором углубление стопорного болта выполнено со скользящей поверхностью, пересекающей продольную ось стопорного болта, и по меньшей мере один зацепляющий задвижку участок стопорного пролома выполнен с соответствующей наклонной поверхностью, в котором осевое смещение стопорного болта влечет за собой комбинированное осевое и боковое смещение стопорного пролома в заклинивание стопорного пролома внутри корпуса.
30. Замок с кодом по п.26, в котором стопорный пролом выполнен с возможностью смещения из заклинивания внутри корпуса.
31. Замок с кодом по п.1, в котором плечо рычага элемента возврата прикладывает компонент тангенциального усилия к кулачку возврата каждого из по меньшей мере одного замкового узла, таким образом поворачивая связанный дисковый элемент в положение возврата.
32. Замок с кодом по п.1, в котором по меньшей мере один замковый узел выполнен автоматически схватывающимся, когда закрывается стопорный болт.
33. Замок с кодом по п.1, в котором замок является висячим замком, а стопорный болт является U-образной скобой.
34. Замок с кодом по п.33, в котором оба колена скобы выполнены со стопорной задвижкой, зацепляемой стопорным проломом.
35. Замок с кодом по п.1, в котором стопорный болт является одноногим зажимом, разъединяемым с корпусом замка.
36. Замок с кодом по п.35, являющийся цепным замком, в котором стопорный болт является соединением цепи.
37. Замок с кодом по п.1, являющийся встроенным замком, в котором корпус закреплен в двери или в элементе рамы.
38. Замок с кодом по п.1, являющийся предохранителем огнестрельного оружия, причем стопорный болт выполнен с возможностью стопорного зацепления с предохранителем спускового механизма огнестрельного оружия.
39. Замок с кодом по п.31, в котором элемент возврата содержит плечи возврата, каждое из которых соответствует кулачку возврата, причем каждое плечо возврата содержит плоский участок, соответствующий плоскому участку кулачка возврата.
40. Замок с кодом по п.31, в котором элемент возврата соединен с рычагом возврата, приводимым в действие скобой.
РИСУНКИ
|
|