|
|
(21), (22) Заявка: 2005140502/12, 23.12.2005
(24) Дата начала отсчета срока действия патента:
23.12.2005
(43) Дата публикации заявки: 10.07.2007
(46) Опубликовано: 10.01.2008
(56) Список документов, цитированных в отчете о поиске:
RU 2093654 C1, 20.10.1997. RU 2210661 C1, 20.08.2003. RU 2260101 C2, 10.09.2005. WO 9301382 A1, 21.01.1993.
Адрес для переписки:
614088, г.Пермь, ул. Леонова, 49, кв.102, М.И. Азанову
|
(72) Автор(ы):
Азанов Михаил Иванович (RU)
(73) Патентообладатель(и):
Азанов Михаил Иванович (RU)
|
(54) ЗАМОК С КОДОВОЙ МАТРИЦЕЙ
(57) Реферат:
Изобретение относится к области скобяных изделий. Замок содержит корпус, где размещается с возможностью вращения или плоскопараллельного перемещения кодовый узел, запирающая его защелка и кинематически связанный с ним посредством поводка засов. Кодовый узел имеет каналы, состоящие из соосных частей разного диаметра, в которых размещаются с возможностью возвратно-поступательного перемещения кодовые фиксаторы с кольцевой поперечной проточкой и юбкой. Положения кольцевых поперечных проточек всех кодовых фиксаторов определяют кодовую комбинацию замка. Для блокирования кодовых фиксаторов в положении кодовой комбинации кодовый узел содержит подвижную кодовую матрицу из силовой рамки и одной или нескольких кодовых пластин, имеющих соответствующие числу и конфигурации кодовых фиксаторов сквозные каналы, скомбинированные из двух эксцентрично расположенных отверстий разного диаметра, из которых больший пропускает тело кодового фиксатора, а меньший охватывает его поперечную проточку, причем эксцентриситет равен ходу кодовой матрицы в пазах кодового узла. Перемещение кодовых фиксаторов осуществляется посредством кодовых колонок ключа до положения, когда кольцевые проточки всех кодовых фиксаторов располагаются в плоскости кодовой пластины матрицы, обеспечивая свободу принудительного перемещения матрицы в пазах кодового узла перпендикулярно перемещениям кодовых фиксаторов для вывода из зацепления с защелкой. При запирании матрица разблокирует кодовые фиксаторы для принудительного возврата до упора юбок, перемещением кодового узла внешней силой отжимается в первоначальное положение на величину эксцентриситета путем скольжения ее выступов или ролика по кулачковым выступам корпуса до упора защелки в силовую рамку матрицы так, что обратные перемещения кодового узла и, соответственно, засова становятся невозможными. Изобретение позволяет повысить механическую стойкость против несанкционированного силового воздействия, увеличить криптостойкость, устранить корреляцию между позициями кодовой комбинации и вибро-акустическими явлениями с исключением подбора отмычки на слух и вибрацию. 12 ил.
Известные системы замков блокируют засовы механическими кодирующими узлами – “цилиндровыми личинами”, “сувальдными пакетами”, которые недостаточно устойчивы к взлому, так как, в силу объективного противоречия между числом кодирующих элементов и их размерами, конструктивная сложность исполнения ограничивает или число кодовых комбинаций, или их габариты и механическую прочность. Кроме того, набор кодовой комбинации сопровождается акустическими и вибрационными явлениями, облегчающими подбор отмычек и несанкционированное открытие всех известных систем замков.
Известен “Кодовый блокиратор замкового типа” по патенту №2260101 России от 23.04.2003 г., содержащий корпус с каналами для размещения кодовых фиксаторов, имеющих поперечные проточки, ригель, заходная головка которого имеет радиальные упоры, соответствующие поперечным проточкам кодовых фиксаторов, ключ с кодовыми колонками.
Указанное устройство недостаточно надежно защищает кодовые фиксаторы от несанкционированного воздействия в случае насильственного сдвига ригеля, приводящего к механической деформации кодовых фиксаторов, что приводит к недопустимому изменению кодовой комбинации, а в случае утраты ключа возникает необходимость перекодирования путем полной замены кодовых фиксаторов, поскольку их перестановка не приводит к существенному изменению кодовой комбинации, что снижает его криптостойкость.
Технической задачей, решаемой настоящим изобретением, является повышение механической стойкости против несанкционированного силового воздействия, повышение криптостойкости, а также устранение корреляции между позициями кодовой комбинации и вибро-акустическими явлениями с исключением подбора отмычки на слух и вибрацию.
Поставленная задача решается тем, что в корпусе замка, снабженном крышкой, размещается с возможностью вращения или плоскопараллельного перемещения внешними силами кодовый узел с крышкой, запирающая защелка, в одном из своих возможных положений препятствующая его перемещениям, и кинематически связанный с ним посредством шатунного поводка засов, перемещающийся в пазу корпуса соответственно перемещениям кодового узла, имеющего каналы, состоящие из соосных частей, одна из которых, меньшего диаметра, находится в кодовом узле, а другая, большего диаметра, – в крышке кодового узла. В каналах кодового узла и его крышки размещаются с возможностью возвратно-поступательного перемещения кодовые фиксаторы с поперечной проточкой и юбкой с полостью, в которой помещается возвратная пружина, причем часть каждого кодового фиксатора с поперечной проточкой размещается в кодовом узле, а юбка большего диаметра с полостью и пружиной – в крышке кодового узла. Расстояние от поперечной проточки фиксатора до юбки каждого из кодовых фиксаторов уникально, а в совокупности положения поперечных проточек всех кодовых фиксаторов определяют кодовую комбинацию замка. Для блокирования кодовых фиксаторов в положении кодовой комбинации и их разблокирования кодовый узел содержит подвижную кодовую матрицу, состоящую из силовой рамки, воспринимающей силовые воздействия, в том числе несанкционированные, и пакета кодовых пластин (на чертежах показана одна), имеющих соответствующие числу и конфигурации кодовых фиксаторов сквозные каналы, скомбинированные из двух эксцентрично расположенных отверстий разного диаметра, из которых больший пропускает тело кодового фиксатора перпендикулярно матрице, а меньший входит в его поперечную проточку, причем эксцентриситет между отверстиями равен ходу кодовой матрицы в пазах кодового узла. Силовая рамка также может иметь сквозные каналы, соответствующие каналам кодовых пластин, скомбинированные из двух эксцентрично расположенных отверстий одинакового диаметра, пропускающие тело кодового фиксатора, но задерживающие его юбку, причем эксцентриситет между отверстиями равен эксцентриситету кодовых пластин и равен ходу кодовой матрицы в пазах кодового узла. Перемещение кодовых фиксаторов осуществляется принудительно из положения “закрыто” посредством кодовых колонок ключа внешней силой до положения кодовой комбинации “открыто”, когда проточки всех кодовых фиксаторов располагаются в плоскости кодовой пластины матрицы и открывают возможность перемещения ее пружинами в пазах кодового узла на величину эксцентриситета с вхождением меньших диаметров отверстий ее каналов в проточки всех кодовых фиксаторов одновременно, блокируя фиксаторы и обеспечивая вывод силовой рамки матрицы из зацепления с запирающей защелкой, что открывает возможность отпирающего перемещения кодирующего узла с засовом. Затем, при принудительном перемещении внешними силами кодового узла и связанного с ним засова в крайнее положение “открыто”, матрица отжимается в первоначальное положение на величину эксцентриситета путем скольжения или обкатывания внутренних профилированных поверхностей корпуса, выполняющих функции кулачка, соответствующими поверхностями или роликом матрицы до открытия большими диаметрами отверстий каналов кодовой пластины возможности разблокирования и возврата кодовых фиксаторов их пружинами в первоначальное положение “закрыто” с упором юбок под действием пружин, находящихся в полостях юбок, в силовую рамку матрицы или в специальные упоры (не показаны), что приводит сначала к отведению запирающей защелки силовой рамкой, а затем, когда кодовый узел и связанный с ним засов возвращаются в крайнее положение “закрыто”, к новому зацеплению запирающей защелки с силовой рамкой матрицы так, что обратные перемещения кодового узла и, соответственно, засова становятся невозможными. Новым в заявляемом замке является то, что число кодовых фиксаторов практически неограничено и они могут иметь сколь угодно малые размеры. Детали замка, воспринимающие силовые воздействия, могут быть выполнены достаточно массивными и прочными. Полная перекодировка легко осуществима без изменения конструкции замка и кодовой матрицы путем перестановки кодовых фиксаторов с соответствующей перестановкой кодовых колонок ключа. Набор кодовой комбинации не сопровождается значащими вибро-акустическими эффектами, поскольку ощутимый щелчок, сопровождающий отпирающее перемещение матрицы, раздается только тогда, когда поперечные проточки всех кодовых фиксаторов одновременно располагаются в плоскости кодовой пластины матрицы, а звуки, сопровождающие перемещение отдельных кодовых фиксаторов, не несут информации о расстоянии от поперечной проточки до юбки.
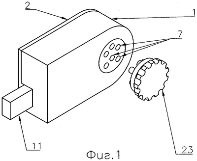
На фиг.1 и 2 представлен общий вид устройства с наружной и внутренней стороны двери соответственно и ключ с кодовыми колонками, на фиг.3 и 4 – кодовый узел в сборе с поводком, засовом, запирающей защелкой, опорным роликом и шайбой, на фиг.5 – сборка замка, вид с фронта, на фиг.6 – сборка замка, вид сзади, на фиг.7 – кодовая матрица с силовой рамкой, кодовой пластиной, опорным роликом и шайбой, на фиг.8 – разрез и проекции одного из кодовых фиксаторов с пружиной, размещенной в юбке, на фиг.9 показаны силовая рамка и кодовая пластина отдельно и совмещение, на фиг.10 – фронтальная проекция замка в сборе без корпуса, на фиг.11 – проекция замка сзади в сборе без крышки, на фиг.12 – поперечный разрез замка по оси вращения кодового узла со стороны засова.
Замок с кодовой матрицей содержит корпус 1 с привинчивающейся винтами (на чертежах не показаны) крышкой 2, снабженные цилиндрическими гнездами 3 и 4 соответственно, в которых может поворачиваться кодовый узел 5 с крышкой 6, имеющий каналы 7, состоящие из соосных цилиндрических частей разного диаметра, в которых размещаются с возможностью возвратно-поступательного движения кодовые фиксаторы 8, запирающая защелка 9 и кинематически связанный с кодовым узлом 5 посредством поводка 10 засов 11, перемещающийся в пазу 12 корпуса 1 в соответствии с перемещениями кодового узла 5. Возможны конструктивные варианты (не показаны), когда перемещение кодового узла 5 не угловое, а плоскопараллельное. Подвижная кодовая матрица представляет пакет из прочной силовой рамки 13, воспринимающей силовые воздействия, в том числе несанкционированные, тонких кодовых пластин 14 (на чертежах показана только одна) и опорного ролика 15, обкатывающего внутреннюю кулачковую поверхность 16 корпуса 1. Ролик 15 своей осью стягивает пакет из рамки 13 и пластин 14 и крепится шайбой 17. Сквозные каналы 18 и 19 пластины 14 и рамки 13 соответственно, скомбинированные из двух эксцентрично расположенных отверстий разного у пластины 14 и одинакового у рамки 13 диаметра, из которых больший пропускает тело кодового фиксатора, а меньший охватывает его поперечную проточку, причем эксцентриситет равен ходу кодовой матрицы в пазу 20 кодового узла. Кодовые фиксаторы 8 имеют поперечную проточку 21, которую может охватывать кодовая пластина 14 меньшим из эксцентричных отверстий канала 18, и юбку 22, которая в одном из крайних положений кодового фиксатора 8 упирается в крышку 6 кодового узла 5, а в другом крайнем положении – в силовую рамку 13. Ключ 23 имеет кодовые колонки 24, конфигурация которых соответствует конфигурации каналов 7 кодового узла 5, а их общая длина в совокупности определяет кодовую комбинацию замка. Кодовый узел 5 приводится внешней силой, например рукой, посредством соосной ручки 25, которая имеет выступы для поднятия запирающей защелки 9 и выведения ее из зацепления с силовой рамкой 13 кодовой матрицы. Возможны конструктивные и дизайнерские варианты (не показаны), когда функции ручки выполняет кодовый узел 5, а для поднятия запирающей защелки 9 используется дополнительный рычаг или кнопка. Юбка 22 кодового фиксатора 8 имеет полость 26, в которой помещается возвратная пружина 27. Возвратная пружина 28 кодовой матрицы помещается в гнездах кодового узла 5 и упирается в плечо силовой рамки 13. Возвратная пружина запирающей защелки 9 на чертежах не показана.
Разблокирование замка с внешней стороны двери осуществляется в следующем порядке. Ключ 23 внешней силой прижимается к кодовому узлу 5 так, что кодовые колонки 24 входят в каналы 7 и перемещают соответствующие им кодовые фиксаторы 8 в положение кодовой комбинации, когда проточки всех кодовых фиксаторов располагаются в плоскости кодовой пластины 14 матрицы, открывая ей возможность перемещения под воздействием пружин 28 на величину эксцентриситета каналов 18 и 19 до касания опорным роликом 15 внутренней профилированной поверхности 16 корпуса 1. В результате перемещения матрицы кодовые фиксаторы 8 стопорятся малыми диаметрами каналов 18 кодовой пластины 14 за поперечную проточку 21, а силовая рамка 13 выходит из зацепления с запирающей защелкой 9, открывая возможность поворота ключом 23 кодового узла 5, что приводит к отведению посредством шатунного поводка 10 засова 11. Одновременно при повороте кодового узла 5 происходит обкатывание опорным роликом 15 внутренней профилированной поверхности 16 корпуса 1, выполняющей функции кулачка, отжимающего кодовую матрицу в первоначальное положение на величину эксцентриситета каналов 18 и 19 с отведением запирающей защелки 9 в крайнее верхнее положение и последующим запиранием силовой рамки 13.
Разблокирование замка с внутренней стороны двери осуществляется аналогично, но возможность поворота кодового узла 5 открывается не ключом 23, а люфтовым вращением ручки 25 замка, которая сначала при выборке люфта имеющимися выступами поднимает запирающую защелку 9 в крайнее верхнее положение и выводит ее из зацепления с силовой рамкой 13 кодовой матрицы, а затем, зацепляя имеющимся пальцем (не показан), поворачивает кодовый узел 5.
Блокирование замка осуществляется поворотом кодового узла 5 посредством или ключа 23, или ручки 25 до полного выдвижения наружу засова 11, когда силовая рамка кодовой матрицы снова стопорится запирающей защелкой 9, переходящей под действием пружины (не показана) из отжатого крайнего верхнего в крайнее нижнее положение.
Перечень позиций:
1. Корпус.
2. Крышка.
3. Цилиндрическое гнездо для размещения кодового узла.
4. Цилиндрическое гнездо для размещения крышки кодового узла.
5. Кодовый узел.
6. Крышка кодового узла.
7. Каналы кодового узла.
8. Кодовый фиксатор.
9. Запирающая защелка.
10. Шатунный поводок.
11. Засов.
12. Паз засова.
13. Силовая рамка кодовой матрицы.
14. Кодовая пластина кодовой матрицы.
15. Опорный ролик кодовой матрицы.
16. Внутренняя кулачковая поверхность корпуса.
17. Шайба опорного ролика.
18. Каналы кодовой пластины.
19. Каналы силовой рамки.
20. Паз кодового узла для кодовой матрицы.
21. Поперечная проточка кодового фиксатора.
22. Юбка кодового фиксатора.
23. Ключ замка.
24. Кодовые колонки ключа.
25. Ручка замка.
26. Полость в юбке кодового фиксатора.
27. Возвратная пружина кодового фиксатора.
28. Возвратная пружина кодовой матрицы.
Формула изобретения
Замок, содержащий корпус, в котором с возможностью перемещения размещается засов, кодовые фиксаторы, имеющие поперечную проточку, ключ с кодовыми колонками с возможностью их перестановки в гнездах ключа, отличающийся тем, что кодовые фиксаторы размещены с возможностью перемещения в каналах подвижного кодового узла, размещенного в полости корпуса и кинематически связанного с засовом, для блокирования и разблокирования которых кодовый узел снабжен подвижной кодовой матрицей, состоящей из силовой рамки, воспринимающей силовые воздействия, в том числе несанкционированные, и одной или нескольких кодовых пластин, имеющих соответствующие числу и конфигурации кодовых фиксаторов сквозные профилированные каналы для размещения с возможностью перемещения кодовых фиксаторов, скомбинированные из двух эксцентрично расположенных отверстий разного диаметра, через большие из которых свободно перемещаются тела кодовых фиксаторов, препятствуя перемещению кодовой матрицы и выведению из зацепления ее силовой рамки с запирающей защелкой, размещенной в корпусе, кинематически связанной с ним и исключающей возможность отпирающего перемещения кодирующего узла и засова, когда поперечные проточки тел всех кодовых фиксаторов одновременно не находятся в плоскости кодовой пластины матрицы, определяя положение кодовой комбинации “закрыто”, а меньшие из которых охватывают шейки поперечных проточек кодовых фиксаторов, открывая возможность принудительного перемещения кодовой матрицы на величину эксцентриситета для выведения силовой рамки из зацепления с запирающей защелкой, когда поперечные проточки тел всех кодовых фиксаторов одновременно, благодаря нажатию кодовых колонок ключа, находятся в плоскости кодовой пластины матрицы, определяя положение кодовой комбинации “открыто”, обеспечивающей возможность отпирающего перемещения кодирующего узла и засова, причем обратное запирающее перемещение кодирующего узла относительно корпуса и связанного с ним засова приводит к принудительному возврату кодовой матрицы на величину эксцентриситета и зацеплению ее силовой рамки с запирающей защелкой путем отслеживания специальными поверхностями матрицы внутренних кулачковых поверхностей корпуса.
РИСУНКИ
|
|