|
|
(21), (22) Заявка: 2005137644/12, 02.12.2005
(24) Дата начала отсчета срока действия патента:
02.12.2005
(43) Дата публикации заявки: 10.06.2007
(46) Опубликовано: 10.01.2008
(56) Список документов, цитированных в отчете о поиске:
RU 2131012 C1, 27.05.1999. RU 2078892 C1, 10.05.1997. SU 1368422 A1, 23.01.1988. SU 42434 A1, 31.03.1935. US 4656852 A, 14.04.1987. US 3837196 A, 24.09.1974.
Адрес для переписки:
400022, г.Волгоград, ул. Лазоревая, 145, Е.В. Бунину
|
(72) Автор(ы):
Бунин Евгений Владимирович (RU)
(73) Патентообладатель(и):
Бунин Евгений Владимирович (RU)
|
(54) ЗАМОК
(57) Реферат:
Изобретение относится к запирающим устройствам повышенной секретности. Замок содержит корпус, размещенные в корпусе ригель с наклонными зубцами и шипами, механизм перемещения ригеля, включающий управляющую ручку и элемент для взаимодействия с ригелем, которые установлены на поворотной оси, и средство фиксации ригеля в рабочем положении, содержащее набор подпружиненных и установленных на оси с возможностью поворота и взаимодействия с наклонными зубцами ригеля фиксаторов и торцовый ключ в виде тонкой пластины с боковыми упорами и с кодовыми выемками на торце для взаимодействия с фиксаторами. Торцовый ключ выполнен с дополнительными кодовыми выемками на его боковых сторонах и с дополнительными на плоскости ключа кодовыми отверстиями, с которыми имеют возможность взаимодействия соответствующие им выступы дополнительного подвижного блока, имеющего возможность перемещения перпендикулярно плоскости торцового ключа при взаимодействии с эксцентриком, также жестко установленным на поворотной оси, как и управляющая ручка и для взаимодействия с ригелем элемент, выполненный в виде звездочки, фиксаторы выполнены в виде двуплечих коромысел с зубцами на обоих концах для взаимодействия с соответствующими им наклонными зубцами ригеля. Изобретение позволяет повысить секретность замка. 3 ил.
Изобретение относится к запирающим устройствам повышенной секретности и может быть использовано для запирания дверей помещений, гаражей и сейфов.
Известен замок, содержащий корпус, размещенные в корпусе ригель, узел перемещения ригеля, замковый механизм с поворотным элементом и отверстием под ключ, а также средство фиксации ригеля в рабочем положении, при этом замок снабжен наружной ручкой, установленной с возможностью взаимодействия с узлом перемещения ригеля, выполненного с уступом, средство фиксации ригеля, выполненное в виде подпружиненной к уступу ригеля собачки, которая установлена с возможностью взаимодействия с поворотным элементом замкового механизма, узел перемещения ригеля выполнен в виде поворотной оси с выступом в виде кулачка для взаимодействия с ригелем, наружная ручка закреплена на поворотной оси (см. описание изобретения к патенту РФ №2057244, МПК Е05В 35/04, публикация 27.03.1996).
Недостатком известного замка является недостаточная секретность.
Известен замок, содержащий корпус, размещенные в корпусе ригель, механизм перемещения ригеля и средство фиксации ригеля в рабочем положении, при этом ригель выполнен с выемками и зубьями на боковой поверхности, механизм перемещения ригеля включает управляющую ручку, пружину и зубчатую шестерню, которые установлены на поворотной оси, зубчатая шестерня своими зубьями находится в зацеплении с зубьями на боковой поверхности ригеля для взаимодействия с ним, средство фиксации ригеля содержит набор подпружиненных и установленных на оси с возможностью поворота сувальд, установленных с возможностью взаимодействия с выемками ригеля, и торцовый ключ в виде тонкой пластины с боковыми упорами и с кодовыми выемками на торце для взаимодействия с сувальдами (см. описание изобретения к авторскому свидетельству СССР №1735554, МПК Е05В 35/12, публикация 23.05.1992).
Недостатком этого известного замка, принятого за прототип, является недостаточная секретность.
Задачей заявляемого изобретения является повышение секретности замка.
Сущность изобретения заключается в том, что в замке, содержащем корпус, размещенные в корпусе ригель с наклонными зубцами и шипами, механизм перемещения ригеля, включающий управляющую ручку и элемент для взаимодействия с ригелем, которые установлены на поворотной оси, и средство фиксации ригеля в рабочем положении, содержащее набор подпружиненных и установленных на оси с возможностью поворота и взаимодействия с наклонными зубцами ригеля фиксаторов и торцовый ключ в виде тонкой пластины с боковыми упорами и с кодовыми выемками на торце для взаимодействия с фиксаторами, а также с дополнительными кодовыми выемками на его боковых сторонах и с дополнительными кодовыми отверстиями, с которыми имеют возможность взаимодействия соответствующие им выступы дополнительного подвижного блока, имеющего возможность перемещения перпендикулярно плоскости торцового ключа при взаимодействии с эксцентриком, также жестко установленным на поворотной оси, как и управляющая ручка, и для взаимодействия с ригелем элемент, выполненный в виде звездочки, фиксаторы выполнены в виде двуплечих коромысел с зубцами на обоих концах для взаимодействия с соответствующими им наклонными зубцами ригеля. Это позволяет повысить секретность замка.
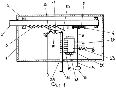
Сущность изобретения поясняется чертежами, где: на фиг.1 изображен замок, вид сверху; на фиг.2 – вид по стрелке А на фиг.1; на фиг.3 – торцовый ключ для замка, показанного на фиг.1, вид на плоскость ключа.
Замок содержит корпус 1 с ключевой щелью 24, размещенные в его направляющих 5 ригель 2 с наклонными зубцами 3 и шипами 4, механизм перемещения ригеля 2, включающий управляющую ручку 6 и элемент для взаимодействия с ригелем 2, выполненный в виде звездочки 7, которые жестко установлены на поворотной оси 8, и средство фиксации ригеля 2 в рабочем положении, содержащее набор подпружиненных пружиной 9 и установленных на оси 10 с возможностью поворота и взаимодействия с наклонными зубцами 3 ригеля 2 фиксаторов 11, выполненных в виде двуплечих коромысел с зубцами 12 и 13 на обоих концах для взаимодействия с соответствующими им наклонными зубцами 3 ригеля 2, и торцовый ключ 14 в виде тонкой пластины с боковыми упорами 15 и с кодовыми выемками 16 на торце для взаимодействия с фиксаторами 11, с дополнительными кодовыми выемками 17 на его боковых сторонах и с дополнительными кодовыми отверстиями 18 на плоскости торцового ключа 14, с которыми имеют возможность взаимодействия соответствующие им выступы 19 дополнительного подвижного блока 20, имеющего возможность перемещения по направляющим 21 перпендикулярно плоскости торцового ключа 14 при взаимодействии с эксцентриком 22, связанным с блоком пружиной 23 и также жестко установленным на поворотной оси 8, как и управляющая ручка 6 и звездочка 7.
Замок работает следующим образом. Начальное положение замка – закрытое. Торцовый ключ 14 вводят в ключевую щель 24 до соприкосновения боковых упоров 15 ключа 14 с внешней поверхностью корпуса 1. При этом кодовые выемки 16 на торце ключа 14, упираясь в фиксаторы 11, преодолевают усилие пружины 9 и поворачивают фиксаторы 11 в нейтральное положение, при котором зубцы 12 выведены из соприкосновения с наклонными зубцами 3 ригеля 2, а зубцы 13 не вошли в соприкосновение с наклонными зубцами 3. Удерживая торцовый ключ 14 во введенном в ключевую щель 24 положении поворачивают управляющую ручку 6 по часовой стрелке. При этом ригель 2 при взаимодействии с его шипами 4 звездочки 7 перемещается вправо. Дополнительный подвижный блок 20 при взаимодействии с ним поворачивающегося эксцентрика 22 перемещается влево и его выступы 19 вводятся в соответствующие им дополнительные кодовые выемки 17 и дополнительные кодовые отверстия 18 торцового ключа 14. При полном совпадении их ригель 2 перемещают в положение замка – открыто. При несовпадении их перемещение ригеля 2 становится невозможным, так как по крайней мере один выступ 19 не совпал с кодовой выемкой 17 или с кодовым отверстием 18 и упирается в плоскость торцового ключа 14, препятствуя дальнейшему повороту эксцентрика 22 и связанных с ним управляющей ручки 6 и звездочки 7. Следовательно, открыть замок невозможно в последнем случае. Подвижный блок 20 постоянно связан с взаимодействующим с ним эксцентриком 22 с помощью пружины 23. Закрытие замка осуществляют поворотом управляющей ручки 6 против часовой стрелки.
Заявленное изобретение позволяет повысить секретность замка.
Формула изобретения
Замок, содержащий корпус, размещенные в корпусе ригель с наклонными зубцами и шипами, механизм перемещения ригеля, включающий управляющую ручку и элемент для взаимодействия с ригелем, которые установлены на поворотной оси, и средство фиксации ригеля в рабочем положении, содержащее набор подпружиненных и установленных на оси с возможностью поворота и взаимодействия с наклонными зубцами ригеля фиксаторов, торцовый ключ в виде тонкой пластины с боковыми упорами и с кодовыми выемками на торце для взаимодействия с фиксаторами, отличающийся тем, что торцовый ключ выполнен с дополнительными кодовыми выемками на его боковых сторонах и с дополнительными кодовыми отверстиями на плоскости ключа, с которыми имеют возможность взаимодействия соответствующие им выступы дополнительного подвижного блока, имеющего возможность перемещения перпендикулярно плоскости торцового ключа при взаимодействии с эксцентриком, также жестко установленным на поворотной оси, как и управляющая ручка и для взаимодействия с ригелем элемент, выполненный в виде звездочки, фиксаторы выполнены в виде двуплечих коромысел с зубцами на обоих концах для взаимодействия с соответствующими им наклонными зубцами ригеля.
РИСУНКИ
|
|