|
|
(21), (22) Заявка: 2006121831/03, 19.06.2006
(24) Дата начала отсчета срока действия патента:
19.06.2006
(46) Опубликовано: 10.01.2008
(56) Список документов, цитированных в отчете о поиске:
SU 1451233 A1, 15.01.1989. SU 1047697 А, 15.10.1983. SU 1668587 A1, 07.08.1991. SU 1581822 A1, 30.07.1990.
Адрес для переписки:
614051, г.Пермь, ул. Юрша, 64, кв.399, В.А. Степанову
|
(72) Автор(ы):
Годовалов Владимир Александрович (RU), Габдульбарова Эльвира Шамилевна (RU), Шадрин Олег Александрович (RU), Клигман Евгений Петрович (RU), Пигалева Юлия Владимировна (RU)
(73) Патентообладатель(и):
Открытое акционерное общество “Оргтехстрой” (RU)
|
(54) УЗЕЛ СОЕДИНЕНИЯ ЖЕЛЕЗОБЕТОННОЙ КОЛОННЫ С ФУНДАМЕНТОМ
(57) Реферат:
Изобретение относится к строительству и может быть использовано для соединения колонн с фундаментом, например в каркасных зданиях. Технический результат – повышение технологичности монтажа, снижение трудоемкости, увеличение прочности соединения и несущей способности конструкции. Металлические закладные элементы колонны выполнены в виде четырех уголков, расположенных по углам колонны полками в обхват колонны так, что внешняя поверхность полок совпадает с плоскостями боковых поверхностей колонны. Каждая из полок уголка изнутри снабжена арматурными стержнями, расположенными через равные интервалы по длине уголка поочередно в перекрещивающихся под прямым углом плоскостях, параллельных сторонам колонны. Арматурные стержни жестко связаны с уголками и с продольными арматурными стержнями колонны, а концы каждой пары соосно расположенных арматурных стержней жестко связаны между собой отрезками арматуры. Уголки жестко соединены между собой пластинами, установленными с четырех сторон колонны попарно, а траверсы расположены попарно с двух сторон каждого уголка. Траверсы каждой пары лежат во взаимно перпендикулярных плоскостях параллельно сторонам колонны. 5 ил.
Изобретение относится к строительству и может быть исплользовано для соединения колонн с фундаментом, например в каркасных зданиях.
Наиболее близким к предлагаемому является узел соединения железобетонной колонны с фундаментом, включающий опорную плиту, связанную с фундаментом, закладные элементы колонны, связанные с продольными арматурными стержнями колонны и с помощью траверс с опорной плитой (SU №1451233, опубл. 15.01.89, Бюл. №2).
Недостатком его является неравномерные напряженные состояния элементов конструкции, низкая прочность соединения.
Задачей настоящего изобретения является повышение технологичности монтажа, снижение трудоемкости, увеличение прочности соединения и несущей способности конструкции.
Для достижения названного технического результата узел соединения железобетонной колонны с фундаментом включает опорную плиту, связанную с фундаментом, металлические закладные элементы колонны, связанные с ее продольными арматурными стержнями, траверсы, связанные с опорной плитой и с закладными элементами колонны, при этом металлические закладные элементы колонны выполнены в виде четырех уголков, расположенных по углам колонны полками в обхват колонны так, что внешняя поверхность полок совпадает с плоскостями боковых поверхностей колонны, причем каждая из полок уголка изнутри снабжена арматурными стержнями, расположенными через равные интервалы по длине уголка поочередно в перекрещивающихся под прямым углом плоскостях, параллельных сторонам колонны, при этом арматурные стержни жестко связаны с уголками и с продольными арматурными стержнями колонны, а концы каждой пары соосно расположенных арматурных стержней жестко связаны между собой отрезками арматуры, кроме того, уголки жестко соединены между собой пластинами, установленными с четырех сторон колонны попарно, а траверсы расположены попарно с двух сторон каждого уголка, причем траверсы каждой пары лежат во взаимно перпендикулярных плоскостях параллельно сторонам колонны.
Признаки, отличающие предлагаемый узел соединения железобетонной колонны с фундаментом от наиболее близкого к нему известного, характеризуют металлические закладные элементы колонны выполненные в виде четырех уголков, расположенных по углам колонны полками в обхват колонны так, что внешняя поверхность полок совпадает с плоскостями боковых поверхностей колонны, причем каждая из полок уголка изнутри снабжена арматурными стержнями, расположенными через равные интервалы по длине уголка поочередно в перекрещивающихся под прямым углом плоскостях, параллельных сторонам колонны, при этом арматурные стержни жестко связаны с уголками и с продольными арматурными стержнями колонны, а концы каждой пары соосно расположенных арматурных стержней жестко связаны между собой отрезками арматуры, кроме того, уголки жестко соединены между собой пластинами, установленными с четырех сторон колонны попарно, а траверсы расположены попарно с двух сторон каждого уголка, причем траверсы каждой пары лежат во взаимно перпендикулярных плоскостях параллельно сторонам колонны.
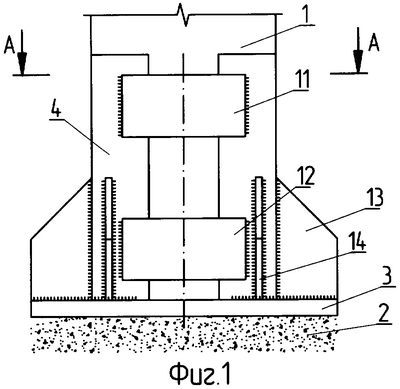
Предлагаемое изобретение иллюстрируется чертежами, где на фиг.1 представлен вид на узел соединения сбоку, на фиг.2 разрез по А-А фиг.1, на фиг.3 узел соединения арматуры с уголком, на фиг.4 вид по стрелке Б на фиг.3, на фиг.5 вид по стрелке В на фиг.3.
Узел соединения железобетонной колонны 1 с фундаментом 2 включает опорную плиту 3, связанную с фундаментом 2 с помощью анкерных болтов (не показаны).
Металлические закладные элементы колонны 1 выполнены в виде четырех уголков 4, расположенных по углам колонны 1 полками 5, 6 в обхват колонны так, что внешняя поверхность полок 5, 6 совпадает с плоскостями боковых поверхностей колонны 1. Каждая из полок 5, 6 уголка 4 изнутри снабжена арматурными стержнями 7, 8, расположенными через равные интервалы по длине уголка поочередно в перекрещивающихся под прямым углом плоскостях, параллельных сторонам колонны 1. Арматурные стержни 7, 8 жестко связаны с уголками 4 и с продольными арматурными стержнями 9 колонны 1 с помощью сварки. Концы каждой пары соосно расположенных арматурных стержней 7 жестко связаны между собой отрезками арматуры 10. Уголки 4 жестко (сваркой) соединены между собой пластинами 11, 12, установленными с четырех сторон колонны 1 попарно. Траверсы 13, 14 расположены попарно с двух сторон каждого уголка 4 на расстоянии 1/3÷1/2 ширины полки уголка 4 от его ребра. Траверсы 13, 14 каждой пары лежат во взаимно перпендикулярных плоскостях параллельно сторонам колонны 1 и жестко связаны с уголком 4 и с опорной плитой 3.
Предлагаемый узел соединения железобетонной колонны 1 с фундаментом 2 монтируется следующим образом.
Изготовленная колонна 1 с укрепленными на ней металлическими закладными элементами в виде уголков 4 с арматурными стержнями 7, 8, отрезками арматуры 10 и пластинами 11, 12 привозится с завода. На анкерные болты (не показаны) к фундаменту 2 прикрепляется опорная плита 3. После чего устанавливается вертикально колонна 1 и привариваются траверсы 13, 14.
Такое выполнение конструкции узла соединения колонны с фундаментом позволяет увеличить жесткость и прочность конструкции, уменьшает ее габариты и повышает несущую способность.
Предложенная конструкция позволяет изменять размеры и подбирать оптимальные параметры в широком диапазоне эксплуатационных нагрузок.
Использование уголков в качестве закладных элементов упрощает конструкцию, является более экономичным и универсальным конструктивным решением.
Использование траверс 13, 14 для соединения закладных элементов с опорной плитой 3 служат для передачи нагрузки на фундамент через опорную плиту 3, позволяют распределить более равномерно нагрузки по всей поверхности плиты 3, а также упростить процесс монтажа конструкции на стройке.
Арматурные стержни 7, 8 выполняют роль анкерных элементов в бетоне колонны 1 для закладных деталей (уголков 4), связывают уголки 4 с продольными арматурными стержнями 9 колонны 1 в единое целое.
Отрезки арматуры 10 соединяют арматурные стержни 7 в цельную конструкцию, повышают жесткость ее и облегчают монтаж и изготовление колонны на заводе. Кроме того, такая связь арматурных стержней 7, 8, арматурных отрезков 10, уголков 4 и продольных арматурных стержней 9 колонны предотвращает выпучивание продольных арматурных стержней 9 колоны 1 и увеличивает прочность бетона за счет его объемного обжатия.
Пластины 11, 12 связывают уголки 4 в цельный узел, воспринимают усилия, действующие в эксплуатации перпендикулярно оси колонны (поперечные силы).
Использование плиты 3 в качестве опоры на фундамент 2 позволяет равномерно распределить на большую площадь и снизить вертикальную нагрузку, передаваемую через колонну 1.
Расположение траверс 13, 14 попарно с двух сторон каждого уголка на расстоянии 1/3÷1/2 ширины полки уголка от его ребра во взаимно перпендикулярных плоскостях параллельно сторонам колонны 1 обеспечивает повышенную жесткость конструкции.
Для испытаний узла соединения в эксплуатации были изготовлены колонны сечением 400×400 с использованием бетона марки В40. В конструкции узла были использованы равнобокие уголки 140×10 длиной 600 мм, арматурные стержни 16A-III длиной 180 мм, отрезки арматуры 10A-III длиной 200 мм, для изготовления траверс использовались пластины 16×150 длиной 300 мм, пластины 10×150 использовались для соединения уголков длиной 300 мм, пластина 40×750×750 для опорной плиты. Интервалы между арматурными стержнями 200 мм.
Использование узла с приведенными выше параметрами в конструкции 11-этажного каркасного здания показали работоспособность предлагаемого узла и выполнение поставленной технической задачи.
Формула изобретения
Узел соединения железобетонной колонны с фундаментом, включающий опорную плиту, связанную с фундаментом, металлические закладные элементы колонны, связанные с ее продольными арматурными стержнями, траверсы, связанные с опорной плитой и с закладными элементами колонны, отличающийся тем, что металлические закладные элементы колонны выполнены в виде четырех уголков, расположенных по углам колонны полками в обхват колонны так, что внешняя поверхность полок совпадает с плоскостями боковых поверхностей колонны, причем каждая из полок уголка изнутри снабжена арматурными стержнями, расположенными через равные интервалы по длине уголка поочередно в перекрещивающихся под прямым углом плоскостях, параллельных сторонам колонны, при этом арматурные стержни жестко связаны с уголками и с продольными арматурными стержнями колонны, а концы каждой пары соосно расположенных арматурных стержней жестко связаны между собой отрезками арматуры, кроме того, уголки жестко соединены между собой пластинами, установленными с четырех сторон колонны попарно, а траверсы расположены попарно с двух сторон каждого уголка, причем траверсы каждой пары лежат во взаимно перпендикулярных плоскостях, параллельно сторонам колонны.
РИСУНКИ
PC4A – Регистрация договора об уступке патента СССР или патента Российской Федерации на изобретение
Прежний патентообладатель:
Открытое акционерное общество “Оргтехстрой”
(73) Патентообладатель:
Шардаков Игорь Николаевич
Договор № РД0062458 зарегистрирован 26.03.2010
Извещение опубликовано: 10.05.2010 БИ: 13/2010
|
|