|
|
(21), (22) Заявка: 2005107630/11, 21.03.2005
(24) Дата начала отсчета срока действия патента:
21.03.2005
(43) Дата публикации заявки: 10.09.2006
(46) Опубликовано: 10.01.2008
(56) Список документов, цитированных в отчете о поиске:
SU 1534132 A1, 07.01.1990. RU 2194115 C1, 10.12.2002. WO 03102311 A3, 11.12.2003. US 4071966 A, 07.02.1978.
Адрес для переписки:
117149, Москва, ул. Сивашская, 6-1-191, И.И. Петрову
|
(72) Автор(ы):
Дрожжин Александр Михайлович (RU)
(73) Патентообладатель(и):
Дрожжин Александр Михайлович (RU)
|
(54) СНЕГОТАЯЛКА
(57) Реферат:
Изобретение относится к области городского хозяйства, а именно к устройствам для плавления снега при зимнем содержании улиц и городских территорий. Снеготаялка содержит источник тепла, который выполнен в виде теплоэлектронагревателей, электровводы которых выполнены с возможностью подключения их к стационарному или автономному источнику тока. Шасси выполнено с возможностью его перемещения. Источник тока выполнен в виде стационарных электросетей предприятий и жилых домов и/или источник тока выполнен в виде автономного электрогенератора, или электрогенератора буксирующего снегопогрузчика, или высоковольтных троллейбусных сетей. Достигается снижение затрат на перевозку снега по городу, повышение эффективности уборки снега за счет увеличения временного ресурса работы, улучшение экологии, универсальность устройства при работе на замкнутых участках и на городских дорогах. 1 ил.
Изобретение относится к области городского хозяйства, а именно к устройствам для плавления снега при зимнем содержании улиц и городских территорий. Изобретение может быть использовано как для нужд города – уборка проезжей части, так и для локальной уборки территорий транспортных и строительных предприятий, предприятий сферы бытовых услуг (магазины, АЗС, рестораны, различные павильоны и киоски и т.п.).
Снеготаялки делятся на две группы: стационарные, содержащие ванны для приема и плавления снежной массы, устройства нагрева расположенной в ванне воды продуктами сгорания жидкого или газообразного топлива, насос для забора воды из ванны и подачи ее через сопла для полива снежной массы, систему канализации для удаления талой воды из ванн.
Патент США №5235762, МПК: Е01Н 5/10, 1995 г. Патент Российской Федерации №2233950, Е03F 5/02, 2004 г.
Существуют снеготаялки локальной очистки снега по месту его выпадения с помощью источника тепла, проходящего под покрытием тротуаров. Патент Российской Федерации №2096554, МПК: Е01Н 5/10, 1997 г.
Все стационарные снеготаялки содержат интенсификатор таяния снега, выполненный в виде инфракрасных излучателей (патент Российской Федерации №2226591, МПК: Е01Н 5/10, 2004 г.) или коллектора с оросительными трубами (патент Российской Федерации №2237136, МПК: Е01Н 5/10, 2004 г.).
Все вышеуказанные установки громоздки, трудоемки для строительства, занимают большие площади, поэтому должны возводиться вне черты города. Следовательно, требуются транспортные затраты на сбор и доставку снега.
Другим решением задачи по ликвидации снега являются снеготаялки локального действия (авторское свидетельство СССР №1511309, МПК:Е01Н 5/10, 1989 г.; авторское свидетельство СССР №1565937, МПК: Е01Н 5/10, 1989 г.), снеготаялки, установленные на шасси для перевозки снега за счет физических усилий, на основе автоприцепа (авторское свидетельство СССР №1323632, МПК: Е01Н 5/10, 1987 г.) и мобильные снеготаялки (патент США №4071966, МПК: Е01Н 5/10, 1978 г.; авторское свидетельство СССР №1534132, МПК: Е01Н 5/10,1990 г., авторское свидетельство СССР №1771497, МПК: Е01Н 5/10, 1992 г., патент США №5787613, МПК: Е01Н 5/10, 1998 г., патент Российской Федерации №2195526, МПК: Е01Н 5/10, 2002 г.).
Теплоносителями в указанных снеготаялках являются выхлопные газы, предварительно заливаемая горячая вода, газовые горелки. Устройства с предварительно заливаемой горячей водой имеют низкий к.п.д., т.к. остывшую воду сливают и вновь заполняют емкость горячей водой. Устройства с газовыми горелками взрывоопасны, нестабильны из-за засорения горелок при попадании в них посторонних включений от грязного снега.
Устройство для удаления снега, содержащее базовое шасси, на раме которого смонтирован теплоизоляционный корпус и источник тепла, погружной насос с всасывающим патрубком, емкость для воды и поплавок, принято за прототип. Авторское свидетельство СССР №1534132, МПК: Е01Н 5/10,1990 г.
Прототип, как и аналоги, имеет низкий ресурс работы, зависящий от количества расходуемой горячей воды. Высокие габариты делают его непригодным для локальной работы в зоне жилых домов, магазинов, ресторанов и т.п. объектов.
Задачей изобретения является создание эффективного устройства для работы как на замкнутых участках, так и на городских дорогах.
Техническим результатом изобретения является снижение рабочего шума снеготаялки до допустимых норм, снижение затрат на перевозку снега по городу, повышение эффективности уборки снега за счет увеличения временного ресурса работы, улучшение экологии, универсальность устройства при работе и на замкнутых участках, и на городских дорогах.
Технический результат изобретения достигается тем, что в снеготаялке, содержащей шасси, на раме которого смонтирован теплоизоляционный корпус, в котором расположена рабочая емкость со сливным узлом, источник тепла, насос с всасывающим патрубком и поплавок, источник тепла выполнен в виде теплоэлектронагревателей, электровводы которых выполнены с возможностью подключения к стационарному и/или автономному источнику тока, шасси выполнено с возможностью его перемещения, сливной узел выполнен в виде сливного патрубка с запорным вентилем, причем сливной патрубок расположен в торцевой части рабочей емкости выше уровня теплоэлектронагревателей, над теплоэлектронагревателями расположен всасывающий патрубок погружного насоса, выход которого через переключатель соединен разветвленным трубопроводом со сливным патрубком после вентиля, а также с разбрызгивателем воды, перед которым на трубопроводе установлено не менее одного подвижного шланга с поплавком, по периферии рабочей емкости закреплены направляющие водяного потока, в нижней части рабочей емкости установлена грязесливная пробка.
Источник тока выполнен в виде стационарных электросетей предприятий и жилых домов.
Источник тока выполнен в виде автономного электрогенератора или электрогенератора буксирующего снегопогрузчика, или высоковольтных троллейбусных сетей.
Рабочая емкость снабжена дополнительным входом и средством соединения с выхлопной системой буксирующего транспортного средства. Подвижный шланг выполнен перфорированным. Рабочая емкость устройства выполнена замкнутой и снабжена загрузочным люком с крышкой. На теплоизоляционном корпусе со стороны сливного патрубка и электровводов установлен защитный кожух.
Теплоизоляционный корпус установлен с наклоном и в низшей части теплоизоляционного корпуса и рабочей емкости установлены теплоэлектронагревательные элементы и грязесливная пробка.
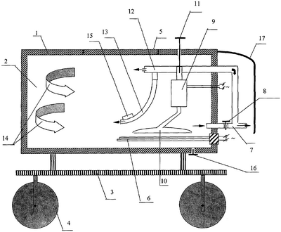
Сущность изобретения схематично представлена ниже в исполнении с погружным насосом. Насос может быть установлен и в выносном варианте. На чертеже следующие обозначения: 1 – теплоизолированный корпус, 2 – рабочая емкость, 3 – шасси, 4 – колеса, 5 – загрузочный люк с крышкой, 6 – источник тепла, выполненный в виде теплоэлектронагревателей (ТЭНов), 7 – сливной патрубок, 8 – запорный вентиль сливного патрубка, 9 – погружной насос, 10 – всасывающий патрубок, 11 – переключатель, 12 – разбрызгиватель, 13 – подвижный перфорированный шланг, 14 – направляющие (завихрители) водяного потока, 15 – поплавок, 16 – грязесливная пробка, 17 – защитный кожух.
Снеготаялка работает следующим образом.
Перед началом работы к собранным сугробам подкатывают снеготаялку, в рабочую емкость 2 заливают небольшое количество воды, чтобы ее уровень был выше теплоэлектронагревателей (ТЭНов) 6 и выше всасывающего патрубка 10. Затем подключают ТЭНы 6 к источнику тока (на чертеже источник тока не показан), подогревают эту воду до высокой температуры 10-80°С. Загружают в снеготаялку снег.
Подключают к источнику тока насос 9 и через всасывающий патрубок 10 подают подогретую воду, взятую из области над ТЭНами 6, через переключатель 11 по трубопроводу в разбрызгиватель 12 и через подвижный перфорированный шланг (шланги) 13 в верхние и средние слои снежно-водяной массы, что приводит к ее интенсивному перемешиванию и плавлению снега. Направляющие (завихрители) водяного потока 14, установленные по периферии рабочей емкости 2, усиливают эффект перемешивания и таяния снега. Всасывающий патрубок 10 забирает горячую воду на ТЭНами 6 и постоянно направляет ее по трубопроводам в холодную область, заполненную снегом.
Такой направленный горячий поток также повышает интенсивность переработки снега. Подвижный перфорированный шланг (шланги) 13, снабженный поплавком 15, поднимается вместе с подъемом уровня талой воды, поэтому горячая вода поступает всегда именно в слои снежной массы.
При заполнении рабочей емкости 2 талой водой с помощью переключателя 11 направляют воду через сливной патрубок 7 в локальную (домашнюю) систему канализации или в городскую систему канализации. Талую воду можно сливать и самотеком через запорный вентиль 8. Для очистки емкости 2 от твердых и грязевых включений используют грязесливную пробку 16. При работе на дорогах во время движения используют защитный кожух 17 для сохранения от загрязнений электровводов и сливного патрубка 7. Учитывая, что рабочая емкость 2 снабжена дополнительным входом и средством соединения с выхлопной системой буксирующего или собственного транспортного средства, используют и дополнительный нагрев выхлопными газами.
Использование настоящей снеготаялки устраняет перевозки снега на дальние расстояния, устраняет использование грузового транспорта, повышает эффективность уборки снега в местах, примыкающих к жилищному фонду и промышленным комплексам, к малым предприятиям и на дорогах города.
Формула изобретения
Снеготаялка, содержащая шасси, на раме которого смонтирован теплоизоляционный корпус, в котором расположена рабочая емкость со сливным узлом, источник тепла, насос с всасывающим патрубком и поплавок, отличающаяся тем, что источник тепла выполнен в виде теплоэлектронагревателей, электровводы которых выполнены с возможностью их подключения к электросетям, или к электрогенератору, или к высоковольтной троллейбусной сети, рабочая емкость снабжена дополнительным входом и средством соединения с выхлопной системой буксирующего транспортного средства, шасси выполнено с возможностью его перемещения, сливной узел выполнен в виде сливного патрубка с запорным вентилем, причем сливной патрубок расположен в торцевой части рабочей емкости выше уровня теплоэлектронагревателей, над теплоэлектронагревателями расположен всасывающий патрубок насоса, выход которого через переключатель соединен разветвленным трубопроводом со сливным патрубком после вентиля, а также с разбрызгивателем воды, перед которым на трубопроводе установлено не менее одного подвижного шланга с поплавком, по периферии рабочей емкости закреплены направляющие водяного потока, в нижней части рабочей емкости установлена грязесливная пробка.
РИСУНКИ
MM4A – Досрочное прекращение действия патента СССР или патента Российской Федерации на изобретение из-за неуплаты в установленный срок пошлины за поддержание патента в силе
Дата прекращения действия патента: 22.03.2008
Извещение опубликовано: 20.03.2009 БИ: 08/2009
|
|