|
|
(21), (22) Заявка: 2006121282/11, 15.06.2006
(24) Дата начала отсчета срока действия патента:
15.06.2006
(46) Опубликовано: 10.01.2008
(56) Список документов, цитированных в отчете о поиске:
SU 1430444 A1, 15.10.1988. SU 393395, 10.08.1973. SU 954539, 30.08.1982. WO 2006052196 A1, 18.05.06.
Адрес для переписки:
625000, г.Тюмень, ул. Володарского, 38, ТюмГНГУ, патентно-информационный отдел (для ПТСДМ)
|
(72) Автор(ы):
Закирзаков Годиль Газизьянович (RU), Мерданов Шахбуба Магомедкеримович (RU), Изиланов Владислав Викторович (RU), Егоров Андрей Леонидович (RU)
(73) Патентообладатель(и):
Государственное образовательное учреждение высшего профессионального образования “Тюменский государственный нефтегазовый университет” (RU)
|
(54) РАБОЧИЙ ОРГАН СНЕГООЧИСТИТЕЛЯ
(57) Реферат:
Изобретение относится к машинам для уборки дорог от снега. Рабочий орган снегоочистителя содержит отвал, имеющий тыльную сторону. Нижняя часть отвала разделена на независимые друг от друга секции. В каждой секции отвала, под углом к очищаемой поверхности, закреплен нож, выполненный из эластичного материала. На нож с передней стороны установлен основной скребок, а с задней стороны дополнительный скребок. В каждой секции с тыльной стороны отвала за ножом шарнирно закреплен задний упор. В каждой секции между тыльной стороной отвала и верхней частью заднего упора установлен амортизатор, выполненный в виде пружины. В каждой секции к тыльной стороне отвала над задним упором закреплен ограничитель, выполненный в виде Г-образного прихвата для ограничения угла поворота заднего упора. В каждой секции отвала в нижней части заднего упора с передней стороны закреплены сменные пластинки, выполненные в виде полосок листового металла, для возможности регулирования уровня изгиба ножа. Достигается понижение силы сопротивления перемещению призмы волочения вдоль отвала и повышение абсолютной скорости движения снега по отвалу за счет уменьшения угла резания. 4 ил.
Изобретение относится к машинам для уборки дорог от снега и может быть использовано для уборки уплотненного снега.
Известен рабочий орган снегоочистителя, содержащий отвал, имеющий тыльную сторону /a.c. 1430444 СССР, МПК 5 Е01Н 5/06, публ. 15.10.1988 г./. В нижней части отвала под углом к очищаемому покрытию закреплен нож, выполненный из эластичного материала и имеющий переднюю поверхность. На нож со стороны передней поверхности установлен основной скребок, а за ним – дополнительный скребок. К тыльной стороне отвала присоединен амортизатор, выполненный из эластичного материала. К амортизатору и к ножу со стороны его передней поверхности присоединена концами гибкая тяга, установленная с возможностью изменения ее длины гайкой и закрытая шторками.
Причиной, препятствующей достижению требуемого технического результата, является установленные в передней части отвала шторки, повышающие угол резания снега.
Задачей изобретения является создание рабочего органа снегоочистителя, способного обрабатывать очищаемую поверхность с большей эффективностью при неизменной надежности и долговечности ножа.
Технический результат – понижение силы сопротивления перемещению призмы волочения вдоль отвала Wпер и повышение абсолютной скорости движения снега по отвалу vа за счет уменьшения угла резания .
Указанный технический результат достигается тем, что в рабочем органе снегоочистителя, содержащем отвал, в нижней части которого закреплен под углом к очищаемой поверхности нож, выполненный из эластичного материала, амортизатор и скребки, закрепленные на ноже, особенностью является то, что нижняя часть отвала разделена на независимые друг от друга секции, каждая из которых дополнительно снабжена задним упором, ограничителем и сменными пластинками, при этом задние упоры выполнены из листового металла, расположены с тыльной стороны отвала за ножом и шарнирно закреплены с отвалом, амортизатор выполнен в виде пружины и расположен между тыльной стороной отвала и верхней частью заднего упора, ограничитель выполнен в виде Г-образного прихвата и закреплен к тыльной стороне отвала над задним упором, сменные пластинки закреплены в нижней части заднего упора с передней стороны.
Причинно-следственная связь между заявленным техническим результатом и существенными признаками изобретения следующая: наличие задних упоров, закрепленных шарнирно с тыльной стороны отвала за ножами, выполнение амортизаторов в виде пружин и расположенных между тыльной стороной отвала и верхней частью задних упоров позволяют предохранять материал ножей от чрезмерных перегибов, а расположение заднего упора и амортизатора с тыльной стороны отвала позволяет уменьшить угол резания , за счет чего понижаются силы сопротивления перемещению призмы волочения вдоль отвала Wпер и повышается абсолютная скорость движения снега по отвалу vа.
Известно [по книге: Машины для содержания и ремонта городских и автомобильных дорог. Под ред. Баловнева В.И., Москва 2005], что сопротивление перемещению призмы волочения вдоль отвала Wпер рассчитывается по формуле

где PH – сила, действующая на лобовую поверхность отвала, направленная перпендикулярно к нему в плане, Н;
– угол резания, град;
f1 – коэффициент трения о поверхность отвала;
– угол захвата, град.
Абсолютная скорость движения снега по отвалу v рассчитывается по формуле

где vм – скорость снегоочистителя, м/с;
– угол выброса снега по отношению к направлению движения снегоочистителя, град.
Таким образом, из формул (1) и (2) видно, что при уменьшении угла резания понижаются силы сопротивления перемещению призмы волочения вдоль отвала Wпер и повышается абсолютная скорость движения снега по отвалу vа.
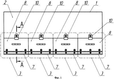
Изобретение поясняется чертежами, где на фиг.1 показан отвал снегоочистителя, вид сзади; на фиг.2 показан разрез А-А на фиг.1; на фиг.3 показана схема сил, действующих на овал в плане (где РH – сила, действующая на лобовую поверхность отвала, – угол резания, f1 – коэффициент трения о поверхность отвала, – угол захвата, vм – скорость снегоочистителя, vа – абсолютная скорость движения снега по отвалу, Х – направление движения снегоочистителя, – угол выброса снега по отношению к направлению движению снегоочистителя); на фиг.4 показан разрез А-А на фиг., при отклонении ножа.
Рабочий орган снегоочистителя содержит отвал 1, имеющий тыльную сторону 2. Нижняя часть отвала 1 разделена на независимые друг от друга секции 3 (фиг.1). В каждой секции 3 отвала 1, под углом к очищаемой поверхности 4, закреплен нож 5, выполненный из эластичного материала. На нож 5 с передней стороны установлен основной скребок 6, а с задней стороны – дополнительный скребок 7. В каждой секции 3 с тыльной стороны 2 отвала 1 за ножом 5 шарнирно закреплен задний упор 8, выполненный из листового металла, свойства которого обеспечивают сопротивление сильным изгибающим нагрузкам, причем шарнирное соединение расположено в центральной части заднего упора 8. В каждой секции 3 между тыльной стороной 2 отвала 1 и верхней частью заднего упора 8 установлен амортизатор 9, выполненный в виде пружины. В каждой секции 3 к тыльной стороне 2 отвала 1 над задним упором 8 закреплен ограничитель 10, выполненный в виде Г-образного прихвата для ограничения угла поворота заднего упора 8. В каждой секции 3 отвала 1 в нижней части заднего упора 8 с передней стороны закреплены сменные пластинки 11, выполненные в виде полосок листового металла, для возможности регулирования уровня изгиба ножа 5 (фиг.4).
Снегоочиститель работает следующим образом.
Для очистки дорог от уплотненного снега отвал 1 перемещают по очищаемой поверхности 4 (фиг.2). Основные скребки 6 разрушают слой уплотненного снега (не показано), а дополнительные скребки 7 зачищают очищаемую поверхность 4. При наезде на препятствие 12 (фиг.4) ножи 5 отклоняются назад, а задние упоры 8 удерживают их от чрезмерного растяжения. Амортизаторы 9 смягчают удары, а установленные сменные пластинки 11 позволяют регулировать уровень изгиба ножей 5. Ограничители 10 удерживают задние упоры 8 от чрезмерного угла поворота при ненагруженном состоянии.
Предлагаемое изобретение позволяет понизить силы сопротивления перемещению призмы волочения вдоль отвала Wпер и повысить абсолютную скорость движения снега по отвалу vа за счет уменьшения угла резания .
Формула изобретения
Рабочий орган снегоочистителя, содержащий отвал, в нижней части которого закреплен под углом к очищаемой поверхности нож, выполненный из эластичного материала, амортизатор и скребки, закрепленные на ноже, отличающийся тем, что нижняя часть отвала разделена на независимые друг от друга секции, каждая из которых дополнительно снабжена задним упором, ограничителем и сменными пластинками, при этом задние упоры выполнены из листового металла, расположены с тыльной стороны отвала за ножом и шарнирно закреплены с отвалом, амортизатор выполнен в виде пружины и расположен между тыльной стороной отвала и верхней частью заднего упора, ограничитель выполнен в виде Г-образного прихвата и закреплен к тыльной стороне отвала над задним упором, сменные пластинки закреплены в нижней части заднего упора с передней стороны.
РИСУНКИ
|
|