|
(21), (22) Заявка: 2006111309/02, 06.04.2006
(24) Дата начала отсчета срока действия патента:
06.04.2006
(46) Опубликовано: 10.01.2008
(56) Список документов, цитированных в отчете о поиске:
RU 2135644C1 27.08.1999. RU 2226572C1 10.04.2004. RU 2001115754 27.03.2003. DE 20200400847U 29.07.2004. US2003173210 18.09.2003. W09401601A1 20.01.1994.
Адрес для переписки:
664007, г.Иркутск, ул. Советская, 55, ОАО “СибВАМИ”, патентный отдел
|
(72) Автор(ы):
Веселков Вячеслав Васильевич (RU), Тепикин Сергей Викторович (RU), Шемет Юрий Васильевич (RU)
(73) Патентообладатель(и):
Открытое акционерное общество “Сибирский научно-исследовательский, конструкторский и проектный институт алюминиевой и электродной промышленности” (ОАО “СибВАМИ”) (RU)
|
(54) УСТРОЙСТВО ДЛЯ ПОДАЧИ СЫРЬЯ В ЭЛЕКТРОЛИЗЕР ДЛЯ ПОЛУЧЕНИЯ АЛЮМИНИЯ
(57) Реферат:
Изобретение относится к устройству для подачи сырья в электролизер для получения алюминия электролизом из криолит-глиноземных расплавов и может быть использовано при автоматизированном питании электролизеров глиноземом (АПГ) и корректирующими добавками. Устройство состоит из камеры дозирования, выполненной в виде разъемного корпуса, состоящего из верхней части и нижней части. В верхней части разъемного корпуса выполнены загрузочные окна. Камера дозирования снабжена верхним и нижним седлами, предназначенными соответственно для посадки верхнего и нижнего клапанов. Верхний и нижний клапаны жестко закреплены на штоке, совершающем возвратно-поступательное движение от привода, выполненного в виде пневмоцилиндра. На штоке жестко установлен ползун, снабженный затворными выступами. Нижний клапан снабжен отбойником. Устройство для подачи сырья установлено в сырьевом бункере посредством свободной лабиринтной посадки. Для регулировки хода штока в дозаторе предусмотрена установка набора регулировочных колец. Устройство отличается простотой конструкции, высокой эффективностью в работе, а также высокой степенью надежности. 18 з.п. ф-лы, 3 ил.
Предлагаемое изобретение относится к цветной металлургии, а именно к получению алюминия электролизом из криолит-глиноземных расплавов, и может быть использовано при автоматизированном питании электролизеров глиноземом (АПГ) и корректирующими добавками.
Для эффективного процесса питания электролизеров устройства для подачи сырья должны удовлетворять следующим требованиям:
– обеспечивать заданную дозу сырья стабильной во времени;
– бесперебойно и точно работать на сырье любого качества и грансостава;
– обеспечивать возможность изменения дозы подаваемого глинозема в диапазоне, отвечающем требованиям ведения процесса электролиза, что, с одной стороны, предупреждает образование осадков в местах ввода глинозема, с другой стороны, возникновение анодных эффектов при снижении его концентрации;
– обеспечивать возможность замены отдельных узлов в одной или нескольких точках питания без отключения системы АПГ в целом по электролизеру;
– вводить глинозем под криолит-глиноземную корку в область расплавленного электролита;
– обеспечивать равномерное распределение сырья в объеме электролита, в том числе и за счет рационального расположения точек питания с учетом гидродинамики потоков в расплаве;
– обеспечивать минимальные потери сырья и выделение их в систему аспирации;
– минимизировать увеличение объема газоотсоса в систему аспирации, связанное с использованием пневматики в системе автоматического питания.
В настоящее время существует множество различных систем автоматизированного питания электролизеров сырьем как отечественной, так и зарубежной разработки. Принципиальная схема систем питания неизменна и заключается в образовании отверстия в корке электролита и введении в расплав заданного количества глинозема и добавок. Для этого применяются управляемые пробойники и дозаторы. Как правило, для управления используются средства пневмоавтоматики.
Устойчивость и эффективность работы системы автоматизированного питания определяется, в основном, устойчивостью и эффективностью работы дозирующих устройств. Известны дозирующие устройства различного типа: объемные, например клапанные, “псевдоожиженного слоя”, вибрационные и т.д., различающиеся по принципу действия, конструктивному исполнению, компоновке, месту установки на электролизере и т.д.
В настоящее время промышленно освоенными и представляющими практический интерес как за рубежом, так и в России являются два типа дозирующих устройств: клапанные и “псевдоожиженного слоя”.
В дозаторах “псевдоожиженного слоя” загружаемый материал приобретает свойство гомогенной жидкости. Известны различные конструкторские решения в дозаторах данного типа. Так, известно “Пневматическое дозирующее устройство для порошкообразных материалов” фирмы “Норск Хюдро А.С.” (NO), патент РФ №2133013 от 29.12.92г. Устройство состоит из контейнера в виде удлиненного закрытого канала с псевдоожижающим элементом. Известен норвежский “Точечный питатель” по международной заявке WO №2004033761 от 2002г., работающий по тому же принципу.
В России ведущей фирмой в области разработки устройств указанного выше типа для питания алюминиевого электролизера глиноземом и корректирующими добавками является ЗАО “ТоксСофт”:
– патент РФ №2121529 “Способ питания алюминиевого электролизера глиноземом и корректирующими добавками и устройство для его осуществления” от 10.11.98г.;
– патент РФ №2174564 “Точечный питатель для электролизеров с верхним токоподводом” от 10.10.2001г.;
– патент РФ №2175028 “Пробойник для систем автоматизированного питания алюминиевых электролизеров” от 15.09.2000г.;
– патент РФ №2175031 “Способ продувки газоходов алюминиевых электролизеров, оборудованных системой автоматизированной подачи глинозема”;
– патент РФ №2190702 “Устройство автоматизированного питания электролизеров с верхним токоподводом” и т.д.
Устройства данной фирмы промышленно освоены, но имеют ряд существенных недостатков:
– установленная доза не стабильна во времени, следовательно, добиться соответствия количества подаваемого в электролит глинозема с расходом глинозема в электролизной ванне не представляется возможным;
– предложенные способы изменения дозы, а именно: за счет изменения угла наклона дозатора, а также за счет изменения проходного сечения дросселя в пневмошкафу, на практике оказались малоэффективными. В условиях промышленной эксплуатации дозу корректируют, как правило, изменением временного цикла срабатывания дозатора.
Ведущие зарубежные фирмы в области производства алюминия, как правило, используют объемные дозаторы клапанного типа:
– REYNOLDS METALS CO, патент FR №1457746, С25С 3/20, публикация от 24.01.1966 г.;
– NORSK HYDRO AS (NO), патент РФ №2094539 “Точечный питатель”, С25С 3/14, конвенционный приоритет 03.07.1989 г.;
– PECHINEY ALUMINIUM (FR), патент US №4437964 “Съемный аппарат для точечного питания электролизера для получения алюминия”, С25С 3/14, приоритет 27.05.1982 г.;
– ALUSUISSE, патент СН №650591 “Устройство для питания мелкозернистым сыпучим материалом”, G 01F 11/34, приоритет 24.12.1980 г.;
– COMALCO ALU (AU), патент US №5476574 “Точечный питатель”, С25С 3/14, публикация 19.12.1995 г.;
– FESTO AG & СО (DE), патент DE №19709648 “Точечный питатель”, С25С 3/14, публикация 17.09.1998 г.;
– ALUMINUM CO OF AMERICA (US), патент US №4617100 “Пробойник”, С25С 3/14, публикация 14.10.1986 г.
Также известно устройство для подачи сырья по патенту РФ №2135644 “Электролизер для получения алюминия” (С25С3/14, от 27.05.1998 г., патентообладатель – ООО “АЛКОРУС ИНЖИНИРИНГ”). Электролизер по данному патенту оснащен объемным дозатором клапанного типа, выполненным в виде трубы, установленной в нижней части бункера, и установленного в ней с возможностью перемещения полого штока с двумя запирающими клапанами и ребрами, центрирующими шток относительно трубы. Шток дозатора выполнен составным из двух жестко соединенных между собой частей – нижней и верхней. Внутри штока дозатора проходит шток пробойника. На штоке пробойника закреплен диск, перемещающийся внутри верхней части штока дозатора и взаимодействующий с торцом нижней части штока дозатора. Возвратная пружина размещена в верхней части штока дозатора, при этом верхний ее конец упирается в опорный диск, закрепленный на верхней части штока дозатора, нижний – в опорный фланец, закрепленный на бункере и выполненный с отверстием для пропуска штока дозатора. Возвратная пружина и верхняя часть штока дозатора заключены в обойму, жестко соединенную с бункером.
По технической сущности, конструктивному исполнению, наличию сходных, существенных признаков данное решение выбрано в качестве ближайшего аналога.
К недостатком клапанного дозатора по ближайшему аналогу можно отнести следующее:
– конструктивное выполнение верхнего и нижнего запирающих клапанов в виде колец, жестко закрепленных на штоке дозатора в перпендикулярной ему плоскости и снабженных буртиками, не позволяет обеспечить стабильную работу дозатора. Это связано с возможностью перекоса (заклинивания) штока дозатора за счет попадания инородных загрязняющих глинозем предметов или за счет неравномерного распределения материала в объеме дозирующего стакана. Также за счет наличия буртика возможно накопление сырья на нижнем клапане, что не позволит занять нижнему, а соответственно и верхнему клапанам исходное положение при подъеме штока вверх;
– ребра, центрирующие шток дозатора относительно дозирующей камеры, расположены внутри этой камеры, что создает, во-первых, помехи во время загрузки камеры глиноземом, во-вторых, в условиях работы в абразивной среде наблюдается быстрый износ ребер, а также их заклинивание;
– предложенная конструкция верхнего клапана усугубляет такую проблему данной конструкции дозатора как свободное равномерное истечение материала в дозирующую камеру. В условиях возвратно-поступательного движения штока наружная поверхность верхнего клапана подпрессовывает материал в зоне загрузки, в результате чего возможно зависание глинозема в бункере;
– наличие трущейся пары шток дозатора – шток пробойника в условиях абразивной, агрессивной среды нежелательно;
– коаксиальное расположение пробойника относительно дозатора создает ряд проблем при эксплуатации: во-первых, высока вероятность перекоса штоков под воздействием механических нагрузок, возникающих в процессе проламывания корки электролита пробойником, а значит возникает вероятность заклинивания центрирующих ребер в дозирующей камере, во-вторых, пробойник постоянно находится в наиболее агрессивной зоне электролизера.
Задачей предлагаемого изобретения является создание устройства автоматизированного питания электролизеров с высокой степенью надежности и эффективности при одновременном упрощении его конструкции.
Техническим результатом внедрения предлагаемого устройства является следующее:
– ритмичная подача воспроизводимой дозы сырья в электролизер;
– простота и надежность конструкции;
– возможность оперативного изменения и регулирования величины подаваемой дозы изменением объема камеры дозирования, изменением рабочего хода штока дозатора, изменением частоты пневмоимпульса;
– возможность работы на глиноземе и корректирующих добавках любого качества и грансостава;
– повышение продолжительности срока службы;
– ремонтопригодность, то есть возможность оперативной замены отдельных узлов конкретного дозатора без нарушения ритмичности работы системы питания в целом;
– снижение энергетических затрат;
– снижение потерь дозируемых материалов.
Технический результат достигается тем, что в устройстве для подачи сырья в электролизер для получения алюминия, состоящем из бункера для сырья, пробойника и дозатора, установленного в бункере и включающего камеру дозирования, привод со штоком, снабженным верхним и нижним клапанами, и узел центровки штока, камера дозирования выполнена в виде разъемного корпуса, в верхней части которого выполнено не менее одного ряда отверстий, и над верхним клапаном установлен узел центровки штока, выполненный в виде ползуна, причем верхний и/или нижний клапаны выполнены в виде усеченной сферы из термостойкого материала, а рабочая поверхность седел верхнего и/или нижнего клапанов выполнена конической, при этом ползун узла центровки штока выполнен из мягкого материала, например бронзы, и снабжен затворными выступами, наружная поверхность которых выполнена сферической. Также предлагаемая конструкция дозатора характеризуется наличием следующих признаков: пробойник может быть снабжен как индивидуальным приводом, так и общим приводом с дозатором, при этом привод может быть выполнен в виде пневмоцилиндра двустороннего или одностороннего действия; шток дозатора выполнен с возможностью регулировки его хода; камера дозирования выполнена с возможностью регулирования разового объема сырья, загружаемого в электролизер; нижний клапан снабжен отбойником, а дозатор установлен в бункере посредством свободной лабиринтной посадки.
Техническая сущность предлагаемого решения заключается в следующем.
В предлагаемой конструкции дозатора отдельные его узлы являются многофункциональными, за счет чего упрощается конструкция дозатора в целом, а также повышается надежность его работы:
– камера дозирования, выполненная в виде разъемного корпуса, нижняя часть которого является накопителем дозы сырья, а верхняя – загрузочным устройством за счет наличия равномерно расположенных загрузочных окон, а в паре с ползуном – рыхлителем сырья в зоне загрузочных окон;
– загрузочные окна обеспечивают плавный, равномерный сход дозируемого материала из бункера в камеру дозирования, а также являются элементом узла центровки штока дозатора;
– конструкция нижнего клапана такова, что дополнительно он выполняет функцию отбойника;
– ползун узла центровки штока одновременно обеспечивает точность и надежность дозирования за счет наличия затворных выступов.
Совмещение нескольких функций в одном конструктивном узле дает значительный выигрыш в конструкторской вариантности решения конкретного узла для конкретного типа электролизера.
В отличие от прототипа в предлагаемом решении полностью исключена вероятность перекоса и заклинивания штока дозатора. Гарантом ритмичной работы штока является конструкция узла его центровка, а конструктивное решение рабочей пары клапан-седло усиливает эту гарантию. Вкупе узел центровки штока и конструкция рабочей пары клапан-седло создают гибкую систему, исключающую возникновение поперечных усилий в штоке дозатора.
Стабильность и воспроизводимость подаваемой дозы обеспечивается таким конструкторским решением, как выполнение рабочей поверхности седла в виде конуса, а рабочей поверхности клапана в виде сферы. В этом случае при любом положении штока отсечение подгрузки сырья в дозирующую камеру будет гарантировано.
Вынесение узла центровки штока за пределы накопителя дозы сырья обеспечивает беспрепятственный сход материала через загрузочные окна в накопитель, а также последующую разгрузку сырья в электролизер в полном объеме.
В отличие от прототипа при возвратно-поступательном движении верхнего клапана не только не происходит подпрессовка сырья в зоне загрузки, а осуществляется рыхление материала перед очередным наполнением дозирующей камеры. Это обеспечивается наличием загрузочных окон в верхней части корпуса дозатора.
Долговечность работы предлагаемой конструкции дозатора обеспечивается, в том числе и отсутствием пар трения.
Ближайший аналог и предлагаемое техническое решение характеризуются следующими общими признаками:
– оба дозатора являются дозаторами клапанного типа;
– оба дозатора устанавливаются непосредственно в сырьевом бункере;
– синхронное срабатывание нижнего и верхнего клапанов обеспечено жесткой их установкой на общем штоке;
– оба дозатора снабжены узлом центровки штока;
– в обоих дозаторах в качестве” приводов штока используются пневмоцилиндры;
– в обоих дозаторах величина загружаемой дозы сырья определяется объемом дозирующего стакана (камеры).
В представленной авторами формуле изобретения заявляются следующие отличительные от прототипа признаки:
– камера дозирования выполнена в виде разъемного корпуса, нижняя часть которого является накопителем подаваемой дозы сырья, а верхняя часть является загрузочной и снабжена не менее чем одним рядом загрузочных отверстий (окон);
– узел центровки штока расположен в камере дозирования, но выведен за пределы накопителя дозы сырья;
– узел центровки штока установлен на уровне загрузочных окон и выполнен в виде ползуна, установленного над верхним клапаном и снабженного затворными выступами;
– верхний и нижний клапаны выполнены в виде усеченной сферы и садятся в соответствующие седла с рабочей поверхностью в виде конуса;
– дозатор выполнен с возможностью регулирования разового объема сырья, загружаемого в электролизер, а также с возможностью регулирования хода штока дозатора;
– пробойник снабжен индивидуальным приводом.
Наличие в предлагаемом техническом решении перечисленных выше признаков, отличных от признаков ближайшего аналога, позволяет сделать вывод о его соответствии условию патентоспособности “новизна”.
С целью определения “уровня техники” был проведен поиск по патентной и научно-технической литературе. В процессе анализа, проведенного по отобранному массиву, частично приведенному в разделе описания – “аналоги”, выявлено, что принципиально отдельные признаки объекта защиты известны:
– наличие загрузочных отверстий (окон) известно из патента US №5476574 “Точечный питатель” (С 25 С 3/14), из а.с. СССР №985154 “Устройство для подачи глинозема в электролизер”” (С 25 С 3/14). Также наличие отверстий (окон) в дозирующем стакане известно из а.с. СССР №1560636 (С 25 С 3/14 от 17.11.88 г.) “Электролизер для получения алюминия”. В а.с. №1560636 в качестве дозирующего устройства предлагается стакан с двумя рядами окон: верхний ряд предназначен для загрузки глинозема или корректирующих добавок в дозирующий стакан, а нижний – для подачи сырья в ванну. В конструкции дозирующей камеры по предлагаемому решению при выполнении в ней любого количества рядов отверстий нижний ряд отверстий предназначен для загрузки сырья в дозирующую камеру. В то же время в предлагаемом решении окна нижнего ряда являются элементом узла центровки штока дозатора;
– наличие узла центровки штока характерно для большинства существующих разработок, что связано со значительной длиной штока и условиями его работы. Так, в вышеупомянутом а.с. №1560636 шток центрируется поршнем, установленным в дозирующем стакане. Наличие пар трения в абразивной среде нежелательно в силу быстрого износа трущихся деталей, а также возможности заклинивания. В решении по прототипу (патент РФ №2135644) пара трения заменена на центрирующие ребра, также установленные в дозирующем стакане, что значительно ухудшает как сход сырья в ванну при открытом нижнем клапане, так и загрузку материала в стакан при открытом верхнем клапане. В предлагаемом решении узел центровки штока хоть и расположен в корпусе камеры дозирования, но находится выше верхнего клапана (выше накопительной камеры), чем обеспечивается свободная загрузка и выгрузка сырья. Авторы, приняв во внимание условия работы дозатора, использовали в качестве узла центровки штока пару: камера дозирования – ползун, установленный в нижнем ряде отверстий камеры. Такого выполнения узла центровки в процессе поиска не найдено;
– рыхление глинозема в зоне его загрузки в дозирующий стакан также прием известный и вызван особенностями данного сырья, а именно: высокой гигроскопичностью, склонностью к самоуплотнению, что в целом снижает его текучесть. В разных решениях этот вопрос решают по-разному, но, как правило, повышения текучести достигают за счет псевдоожижения глинозема воздухом. С этим связано значительное увеличение расхода воздуха и, вероятно, это является одной из причин повышенного расхода восстановителя при переработке насыщенного воздухом глинозема. В патенте РФ №2226572 (С25С 3/14) “Установка для подачи сырья в алюминиевый электролизер с боковым токоподводом” указано, что “… верхний клапан, двигаясь вверх, расталкивает глинозем по сторонам верхней сферической поверхностью”. То есть, эффект рыхления глинозема в зоне его загрузки в дозирующий стакан за счет движения верхнего клапана известен. Но в предложенной авторами конструкции дозирующей камеры данный эффект усиливается за счет наличия отверстий, способствующих циркуляции сырья в зоне его подачи в дозатор;
– выполнение рабочей поверхности клапана в форме сферы также не является чем-то принципиально новым. Так, известно решение по заявке Японии №57-28751 (С25С 3/14) “Устройство подачи глинозема в электролизер для получения алюминия”, где установлены верхний и нижний клапаны конической или сферической формы;
– лабиринтный затвор для сыпучих материалов также широко известен, например, из патента US №4919303 (С25С 3/0).
В процессе поиска и сравнительного анализа не выявлено технических решений, характеризующихся идентичными или эквивалентными признаками предлагаемому решению, а именно:
– камера дозирования выполнена в виде разъемного корпуса, состоящего из верхней и нижней частей;
– верхняя часть камеры дозирования снабжена не менее чем одним рядом загрузочных окон;
– узел центровки штока установлен в нижнем ряду загрузочных окон;
– узел центровки выполнен в виде пары: направляющие – ползун;
– узел центровки установлен выше верхнего клапана.
Учитывая вышеизложенное и принимая во внимание то, что использование совокупности известных и неизвестных признаков, характеризующих предлагаемое техническое решение в объеме, представленном в формуле изобретения, позволяет выйти на новый уровень в разработке новых перспективных конструкций дозирующих устройств, предназначенных для систем АПГ, можно сделать вывод о соответствии предлагаемого решения условию патентоспособности “изобретательский уровень”.
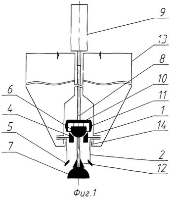
На фиг.1 показан дозатор, установленный в сырьевом бункере (разрез); на фиг.2 – верхняя часть разъемного корпуса камеры дозирования с выполнением одного ряда загрузочных отверстий; на фиг.3 – верхняя часть разъемного корпуса камеры дозирования с выполнением двух рядов загрузочных отверстий. Пробойник, работающий от индивидуального привода в приведенном варианте компоновки устройства, на фиг.1 не показан. Также не приводится вариант компоновки устройства с пробойником, установленным коаксиально со штоком.
Предлагаемое устройство для подачи сырья состоит из камеры дозирования, выполненной в виде разъемного корпуса, состоящего из верхней части 1 и нижней части 2. В верхней части 1 разъемного корпуса выполнены загрузочные окна 3. Камера дозирования снабжена верхним 4 и нижним 5 седлами, предназначенными соответственно для посадки верхнего 6 и нижнего 7 клапанов. Верхний 6 и нижний 7 клапаны жестко закреплены на штоке 8, совершающем возвратно-поступательное движение от привода, выполненного в виде пневмоцилиндра 9. На штоке 8 жестко установлен ползун 10, снабженный затворными выступами 11. Нижний клапан 7 снабжен отбойником 12. Устройство для подачи сырья установлено в сырьевом бункере 13 посредством свободной лабиринтной посадки 14. Для регулировки хода штока в дозаторе предусмотрена установка набора регулировочных колец.
Предлагаемое устройство для подачи сырья работает следующим образом.
За исходное положение принимаем момент, когда шток 8 пневмоцилиндра 9 находится в крайнем нижнем положении (см. фиг.1). В этом случае нижний клапан 7 выходит из седла 5 и находится в крайнем нижнем положении, при котором накопительная камера 2 (нижняя часть разъемного корпуса) полностью освобождается от глинозема. Полнота разгрузки обеспечивается отбойником 12.
При движении штока 8 вверх нижний клапан 7 перекрывает накопительную камеру 2, при этом верхний клапан 6 максимально открывает загрузочные окна 3, через которые глинозем из бункера 13 свободно перетекает в накопительную камеру. Свободный сход сырья в дозатор обеспечивает ползун 10, который при подъеме штока 8 обеспечивает рыхление сырья. Причем глинозем начинает заполнять накопительную камеру не с момента начала подъема штока, а лишь после того, как затворные выступы 11 выйдут за пределы седла 4 верхнего клапана 6. К этому моменту нижний клапан 7 занимает верхнее положение и таким образом просыпь сырья сверх дозы не допускается. Далее цикл повторяется с необходимой периодичностью.
Данное устройство прошло опытно-промышленные испытания на промышленном электролизере. Работоспособность и эффективность данного дозатора подтверждены. На электролизере, оснащенном данными дозаторами, достигнут выход по току (основной показатель эффективности работы электролизера) 94-95%, при этом частота анодных эффектов составила 0,01 шт./сутки.
Точность дозирования предлагаемого клапанного дозатора не зависит от свойств глинозема, наличия механических примесей в глиноземе и прочих негативных факторов. Точность дозирования составляет ± 5%.
Параллельно с предлагаемым клапанным дозатором испытывались другие типы дозаторов. По результатам испытаний предпочтение было отдано предлагаемой конструкции, так как помимо высоких технико-экономических показателей предлагаемый дозатор наиболее ремонтопригоден в силу своих конструктивных особенностей. Причем ремонт одного из дозаторов не вносит нарушения в работу системы АПГ в целом.
По результатам испытаний данная конструкция дозатора рекомендована для широкого промышленного внедрения, в том числе и на вновь строящихся мощностях производства алюминия.
Формула изобретения
1. Устройство для подачи сырья в электролизер для получения алюминия, содержащее бункер для сырья, пробойник и дозатор, установленный в бункере и включающий камеру дозирования, привод со штоком с верхним и нижним клапанами и узел центровки штока, отличающееся тем, что камера дозирования выполнена в виде разъемного корпуса, в верхней части которого выполнено не менее одного ряда отверстий, и над верхним клапаном установлен узел центровки штока, выполненный в виде ползуна.
2. Устройство по п.1, отличающееся тем, что верхний клапан выполнен в виде усеченной сферы.
3. Устройство по п.1, отличающееся тем, что нижний клапан выполнен в виде усеченной сферы.
4. Устройство по п.1, отличающееся тем, что верхний и нижний клапаны выполнены в виде усеченной сферы.
5. Устройство по п.1, отличающееся тем, что верхний клапан снабжен седлом, рабочая поверхность которого выполнена конической.
6. Устройство по п. 1, отличающееся тем, что нижний клапан снабжен седлом, рабочая поверхность которого выполнена конической.
7. Устройство по п.1, отличающееся тем, что верхний и нижний клапаны снабжены седлами, рабочая поверхность которых выполнена конической.
8. Устройство по п.1, отличающееся тем, что верхний и нижний клапаны выполнены из термостойкого материала.
9. Устройство по п.1, отличающееся тем, что нижний клапан снабжен отбойником.
10. Устройство по п.1, отличающееся тем, что ползун имеет затворные выступы.
11. Устройство по п.1, отличающееся тем, что наружная поверхность затворных выступов выполнена сферической.
12. Устройство по п.1, отличающееся тем, что ползун выполнен из мягкого материала, например из бронзы.
13. Устройство по п.1, отличающееся тем, что камера дозирования выполнена с возможностью регулирования разового объема сырья, загружаемого в электролизер.
14. Устройство по п.1, отличающееся тем, что шток выполнен с возможностью регулирования его хода.
15. Устройство по п.1, отличающееся тем, что привод штока выполнен в виде пневмоцилиндра двухстороннего действия.
16. Устройство по п.1, отличающееся тем, что привод штока выполнен в виде пневмоцилиндра одностороннего действия.
17. Устройство по п.1, отличающееся тем, что пробойник снабжен индивидуальным приводом.
18. Устройство по п.1, отличающееся тем, что шток дозатора снабжен пробойником, установленным коаксиально штоку.
19. Устройство по п.1, отличающееся тем, что дозатор установлен в бункере посредством свободной лабиринтной посадки.
РИСУНКИ
|