|
|
(21), (22) Заявка: 2005138380/13, 12.12.2005
(24) Дата начала отсчета срока действия патента:
12.12.2005
(43) Дата публикации заявки: 20.06.2007
(46) Опубликовано: 10.01.2008
(56) Список документов, цитированных в отчете о поиске:
RU 2230788 С2, 20.06.2004. RU 2100043 C1, 27.12.1997. SU 137872 A1, 01.01.1961.
Адрес для переписки:
141031, Московская обл., Мытищинский р-н, дер. Челобитьево, 66А, А.В. Кузмичеву
|
(72) Автор(ы):
Ежков Александр Викторович (RU), Ежков Александр Александрович (RU), Арсеньев Дмитрий Викторович (BY), Цыцаркин Анатолий Федорович (RU)
(73) Патентообладатель(и):
Закрытое акционерное общество “Научно-производственная компания “Экология” (RU)
|
(54) СПОСОБ ПОЛУЧЕНИЯ ЭТАНОЛА
(57) Реферат:
Изобретение относится к спиртовой промышленности и может быть использовано в установках для получения ректификованного спирта. Для осуществления способа получения этанола проводят подготовку исходной бражки, ее подогрев, непрерывное сбраживание и непрерывную отгонку при пониженном давлении водно-спиртовых паров и углекислого газа. Отвод отработанной бражки осуществляют при достижении содержания в ней этанола менее 0,5%. В процессе отвода бражку подвергают декантированию с выделением фугата, а затем образованный фугат направляют на стадию подготовки исходной бражки. Осуществление заявленного изобретения позволяет уменьшить расход дрожжей и снизить общие энергозатраты на процесс получения этанола. 1 ил.
Изобретение относится к спиртовой промышленности и может быть использовано в установках для получения ректификованного спирта. Известен способ получения этанола, включающий стадию подготовки исходной бражки, ее подогрев и выделение этанола с последующим отводом отработанной бражки (RU №2100043 С1, 1997 г.).
Недостатком указанного технического решения является усложненность технологического оборудования и связанные с этим значительные энергозатраты.
Известен способ получения этанола, принятый в качестве ближайшего аналога, включающий стадию подготовки исходной бражки, ее подогрев и осуществляемые при пониженном давлении непрерывное сбраживание и непрерывную отгонку водно-спиртовых паров и углекислого газа с последующим отводом отработанной бражки и возвратом ее части на стадию подготовки исходной бражки (RU №2230788 С2, 2004 г.).
В указанном техническом решении после заполнения технологических емкостей исходной бражкой подача дрожжей прекращается, и вместо них к суслу подводится часть отработанной бражки, содержащей физиологически активные клетки дрожжей, которые и вызывают брожение свежего сусла и тем самым продолжение процесса образования этанола.
Так как концентрация физиологически активных клеток дрожжей в отработанной бражке значительно снижена, то для достижения их требуемого относительного количества, необходимого для брожения свежего сусла, вынужденно поддерживается большое содержание сухих веществ в исходной бражке.
Недостатком указанного технического решения является большое значение содержания сухих веществ в исходной бражке, что приводит к значительным энергозатратам на всех этапах технологической цепочки ее обработки.
Технический результат, на достижение которого направлено изобретение, заключается в снижении энергозатрат.
Указанный технический результат достигается тем, что в способе получения этанола, включающем стадию подготовки исходной бражки, ее подогрев и осуществляемые при пониженном давлении непрерывное сбраживание и непрерывная отгонка водно-спиртовых паров и углекислого газа с последующим отводом отработанной бражки и возвратом ее части на стадию подготовки исходной бражки, в процессе отвода бражку подвергают декантированию с выделением фугата, а на стадию подготовки исходной бражки направляют образованный фугат.
Кроме того, в процессе отгонки контролируют содержание этанола в бражке и по достижении значения этанола менее 0.5% бражку отводят.
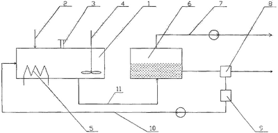
Изобретение поясняется чертежом, на котором схематично изображена установка, реализующая способ получения этанола.
Установка содержит подготовительную емкость 1, в которой осуществляют подготовку исходной бражки путем смешивания свежего сусла, подводимого по линии 2, с дрожжами, поступающими через патрубок 3. Подготовительная емкость 1 содержит мешалку 4 и теплообменник 5 и сообщена посредством трубопровода 11 с рабочей секцией 6, которая частично заполнена бражкой и снабжена вакуумной линией отбора паров 7. К жидкостной полости секции 6 подключен декантер 8, снабженный баком-накопителем 9 для фугата. Бак-накопитель 9 сообщен с подготовительной емкостью 1 возвратным контуром 10.
Мешалка 4, теплообменник 5 и декантер 8 могут быть выполнены любым известным образом под каждый конкретный случай.
Способ осуществляется следующим образом.
Свежее сусло по линии 2, а дрожжи через патрубок 3 в требуемом соотношении подают в подготовительную емкость 1. В результате этого начинается сбраживание сусла, и образуется исходная бражка. Содержание сухих веществ в бражке при этом выбирается из условия оптимальной работы технологического оборудования. С помощью мешалки 4 и теплообменника 5 обеспечивают рабочие температуру и консистенцию исходной бражки, после чего ее направляют в рабочую секцию 6. В рабочей секции 6 в исходной бражке продолжается процесс брожения и выделения этанола. Одновременно с процессом брожения через вакуумную линию 7 осуществляется отгонка углекислого газа, паров этанола и воды, и дальнейшее брожение бражки происходит при пониженном давлении. Благодаря своевременному удалению продукта жизнедеятельности дрожжей – спирта и углекислого газа, являющихся ингибиторами процесса спиртового брожения, отсутствует их накопление в бражке, в результате чего интенсифицируется процесс получения этанола. В процессе отгонки паров осуществляют контроль содержания этанола в бражке, и по достижении значения этанола менее 0.5% не до конца выбродившую бражку выводят из секции 6 и подают в декантер 8. На выбор значения оставшегося этанола в бражке в каждом конкретном случае оказывает влияние множество факторов, как-то: качество дрожжей, физико-химические параметры самой бражки, рабочие условия отгонки этанола и т.д., и критерием являются количество физиологически активных дрожжей в невыбродившей бражке и энергозатраты на отбор оставшегося этанола. На основе экспериментальных данных и из опыта работы выявлено оптимальное предельное значение оставшегося этанола, менее 0,5%, при котором, с одной стороны, обеспечивается требуемая концентрация сохранившихся физиологически активных дрожжей в бражке, а с другой стороны, достигается необходимое большое содержание сухих веществ в осадке для их дальнейшей упрощенной утилизации. Выводимая бражка при этом должна содержать значительное количество физиологически активных дрожжей. В декантере 8 осуществляют отделение фугата от осадка и, тем самым, повышают концентрацию активных дрожжей в фугате и концентрацию сухих веществ в осадке. Осадок с уже большим значением содержания сухих веществ направляется по технологическому назначению, а фугат подается в бак-накопитель 9 и далее по возвратному контуру 10 поступает в подготовительную емкость. Наличие значительного количества активных дрожжей в фугате позволяет уменьшить и даже временно прекратить подачу дрожжей для сбраживания свежего сусла и, тем самым, более полно использовать работающие дрожжи.
Таким образом, при работе с исходной бражкой с оптимально низким содержанием сухих веществ процесс декантирования повышает концентрацию сухих веществ в осадке, что упрощает его утилизацию, а возврат фугата на стадию подготовки исходной бражки уменьшает расход дрожжей и обеспечивает более полное использование работающих дрожжей, что снижает общие энергозатраты на процесс получения этанола.
Формула изобретения
Способ получения этанола, предусматривающий подготовку исходной бражки, ее подогрев, непрерывное сбраживание, непрерывную отгонку водно-спиртовых паров и углекислого газа, осуществляемые при пониженном давлении, и последующий отвод отработанной бражки, отличающийся тем, что отвод отработанной бражки осуществляют при достижении содержания в ней этанола менее 0,5%, в процессе отвода бражку подвергают декантированию с выделением фугата, а затем образованный фугат направляют на стадию подготовки исходной бражки.
РИСУНКИ
|
|