|
|
(21), (22) Заявка: 2006105297/15, 20.02.2006
(24) Дата начала отсчета срока действия патента:
20.02.2006
(46) Опубликовано: 10.01.2008
(56) Список документов, цитированных в отчете о поиске:
RU 2213060 C1, 27.09.2003. RU 2206734 C1, 20.06.2003. RU 2205797 C1, 10.06.2003. RU 2243168 C1, 27.12.2004. US 6517719 B1, 11.02.2003. US 4428841 A, 31.01.1984. JP 07-124403 A, 16.05.1995.
Адрес для переписки:
423450, Республика Татарстан, г. Альметьевск, ул. Ленина, 28, ОАО “Иделойл”, инженеру по изобретательству Ш.К. Шаяхметову
|
(72) Автор(ы):
Хузин Ринат Раисович (RU), Сазонов Геннадий Васильевич (RU), Шаяхметов Азат Шамилевич (RU)
(73) Патентообладатель(и):
Открытое акционерное общество “Иделойл” (ОАО “Иделойл”) (RU)
|
(54) СПОСОБ ОЧИСТКИ НЕФТЕСОДЕРЖАЩИХ СТОЧНЫХ ВОД
(57) Реферат:
Изобретение относится к области очистки сточных вод от нефти и нефтепродуктов, в частности к способам очистки нефтепромысловых сточных вод на нефтедобывающих и нефтеперерабатывающих предприятиях. Способ включает подачу исходной воды восходящим потоком в предварительную камеру отстойника, пропуск ее выше и ниже перегородки, разделяющей предварительную камеру от основной, и отвод нефти, газа и очищенной воды. Перед пропуском исходной воды выше и ниже перегородки сначала ее пропускают через промежуточную щель, выполненную по всей длине не ниже средней линии герметично вмонтированной перегородки. Далее цикл повторяют в той же последовательности не менее 2-3 раз в последующих камерах. После чего, не прерывая процесс, очищаемую воду пропускают через перегородки, сочетающие в себе промежуточную щель со щелями, выполненными выше и ниже перегородки и далее – через выше- и нижерасположенные щели следующей перегородки. Перед началом работы отстойник заполняют исходной водой. Геометрические размеры щелей выбирают из расчета пропуска очищаемой воды в таком количестве, сколько поступает в предварительную камеру за единицу времени. В верхней части камеры для отвода очищенной воды монтируют дыхательный патрубок для отвода выделившегося газа. Способ прост в осуществлении, не требует сложного оборудования, фильтрующих материалов, сорбентов, требующих регенерации, или многокомпонентных химических материалов для деэмульсации. Способ обеспечивает повышение эффективности и снижение себестоимости очистки сточных вод. 3 з.п. ф-лы, 3 ил.
Изобретение относится к области очистки сточных вод от нефти и нефтепродуктов, в частности к способам очистки нефтепромысловых сточных вод, и найдет применение на нефтедобывающих и нефтеперерабатывающих предприятиях.
Известен способ очистки сточных вод от нефтепродуктов (см. А.с. №1632463, 17.02.1991 г.), предусматривающий очистку в две стадии, на первой из которых очищаемую воду пропускают через двухслойный фильтр, содержащий слой угля и слой песка, а на второй стадии – через однослойный фильтр. Причем в обоих фильтрах в качестве фильтрующего материала используют ископаемый уголь, имеющий удельную поверхность в 25-150 м2/г. После насыщения фильтра его подвергают регенерации путем промывки сначала водой, а потом щелочным раствором в режиме барботирования. Способ обеспечивает степень очистки лишь до 0,1-0,2 мг/л, причем при небольшом содержании нефтепродукта в очищаемой воде – 3-7 мг/л.
Известен также способ очистки сточных вод от нефти и нефтепродуктов (см. Патент РФ №2117635, С02F 1/28, Бюл. №23, 1998 г.), предусматривающий пропускание сточной воды через углеродсодержащий адсорбент с последующей регенерацией после его насыщения путем промывки, в котором в качестве углеродсодержащего адсорбента используют интеркалированный графит, полученный из его окисленных форм и содержащий 0,1-0,5 мас.% высокодисперсного химически модифицированного аморфного диоксида кремния. После насыщения сорбента (mнефть/mсорбент =20) его регенерируют промывкой растворителем с последующей сушкой при температуре 120-140°С.
Общим недостатком известных способов является сложность технологии очистки и высокая их себестоимость. Недостатки известных способов устранены в способе очистки нефтепромысловых сточных вод (см. патент РФ №2179533, МПК 7 С02F 1/40, БИ №28, 2001), включающий подачу исходной воды в отстойник восходящим потоком, отвод нефти, газа и очищенной воды. При этом исходную воду перед подачей в отстойник подвергают вакуумной обработке в дестабилизаторе в определенном режиме, определяемой математическим выражением:
Рвх 1,05( /2)( + вх)Vг 2;

где Рвх – давление на входе в дестабилизатор;
Рвых – давление на выходе из дестабилизатора;
– плотность воды;
– коэффициент Кориолиса;
вх – коэффициент гидравлического сопротивления входного участка;
Vг – скорость воды в горловине дестабилизатора;
вых – коэффициент гидравлического сопротивления выходного участка;
dг – диаметр горловины;
Dвых – диаметр выхода из дестабилизатора;
а в отстойнике поддерживают давление, не превышающее давление насыщения воды газом перед подачей на очистку.
Способ прост в осуществлении, однако и он не лишен недостатков.
Так, например, в известном способе не обеспечивается эффективная стабильная дегазация жидкости вследствие сложности обеспечения на практике технологического режима после регулятора расхода жидкости по поддержанию постоянного перепада давления на входе и выходе дестабилизатора и стабильного расхода жидкости.
Недостатком является также сложность осуществления на практике предварительной вакуумной обработки исходной воды в дестабилизаторе с соблюдением вышеуказанного режима.
Известен также способ очистки нефтепромысловых сточных вод (см. патент РФ №2213060, МПК 7 С02F 1/40, БИ №27, 2003), включающий подачу исходной воды в отстойник восходящим потоком через дестабилизатор, отвод нефти, газа и очищенной воды, при этом часть исходной воды отбирают до регулятора расхода исходной воды и вводят в дестабилизатор, выполненный в виде одного или ряда дросселей, а отстойник снабжен поперечной перегородкой, установленной с возможностью прохождения потока выше и ниже перегородки и разделяющей входную камеру отстойника от основной, остальную часть исходной воды подают непосредственно в отстойник.
Этот способ по технической сущности более близок к предлагаемому и может быть принят в качестве прототипа.
Так, преждевременная дегазация исходной воды перед подачей на очистку снижает эффективность выделения нефти из воды, поскольку при этом крупные пузырьки газа при обработке в дестабилизаторе в меньшей степени захватывают глобулы нефти, а оставшаяся мизерная часть не в состоянии обеспечить полноту отделения нефти из воды. Причем в способе для выделения оставшейся части газа условия не созданы, а принудительное ее выделение не предусмотрено. Таким образом, очистка жидкости до предельно допустимой концентрации не достигается.
Задачей настоящего изобретения является повышение эффективности очистки сточных вод от нефти и нефтепродуктов, снижение себестоимости очистки.
Поставленная задача решается описываемым способом, включающим подачу исходной воды восходящим потоком в предварительную камеру отстойника, пропуск ее выше и ниже перегородки, разделяющей предварительную камеру от основной, и отвод нефти, газа и очищенной воды, при этом перед пропуском исходной воды выше и ниже перегородки сначала ее пропускают через промежуточную щель, выполненную по всей длине не ниже средней линии герметично вмонтированной перегородки, далее цикл повторяют в той же последовательности не менее 2-3 раз в последующих камерах, после чего, не прерывая процесс, очищаемую воду пропускают через перегородки, сочетающие в себе промежуточную щель с щелями, выполненными выше и ниже перегородки, и далее ее пропускают через выше- и нижерасположенные щели следующей перегородки. Перед началом работы отстойник заполняют исходной водой. Геометрические размеры щелей выбирают из расчета пропуска очищаемой воды столько, сколько поступает в предварительную камеру за единицу времени. В верхней части камеры для отвода очищенной воды вмонтируют дыхательный патрубок для отвода выделившегося газа.
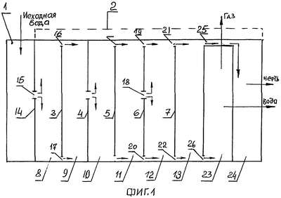
Представленные рисунки поясняют суть изобретения. На фиг.1 схематически изображен общий вид установки для осуществления способа, вид сбоку, в разрезе, где видна предварительная камера, куда поступает исходная вода, и основная камера, разделенная перегородками на несколько камер, а также камеры для накопления и слива нефти и воды в отводящие трубопроводы.
На фиг.2 – вид спереди на поперечную перегородку, разделяющую предварительную камеру от следующей камеры, где видна щель этой перегородки, выполненной по всей длине.
На фиг.3 – перегородка со щелями, расположенными выше и ниже перегородки, вид спереди.
Установка для осуществления заявляемого способа содержит герметично выполненный отстойник (см. фиг.1) цилиндрической формы или в виде прямоугольника в сечении, включающий предварительную камеру 1 для подачи исходной воды в основную камеру 2, разделенную перегородками 3-7 на отдельные камеры 8-13.
Предварительная камера 1 отделена от соседней камеры 8 основной камерой 2, герметично установленной поперечной перегородкой 14 с промежуточной щелью 15, выполненной горизонтально по всей ее длине не ниже ее средней линии. Камера 9 отделена в свою очередь от камеры 8 перегородкой 3, вмонтированной с образованием щелей 16 и 17 выше и ниже перегородки соответственно. Схема пропуска очищаемой жидкости через промежуточные щели 15 и затем щели 16 и 17 выше и ниже перегородки в последующих камерах может чередоваться по несколько раз, например 2-3 раза, в зависимости от требуемого качества очистки, как это показано в перегородках 4 и 5. Камера 12 отделена от камеры 11 перегородкой 6, сочетающей в себе промежуточную щель 18 со щелями 19 и 20 выше и ниже этой перегородки соответственно, а от камеры 13 – перегородкой 7 выше и ниже от нее расположенными щелями 21 и 22. Чередование таких перегородок, как у перегородок 6 и 7 в других последующих камерах, также возможно в случае необходимости более глубокой очистки. Установка оканчивается камерами 23 и 24 для отвода очищенной воды и для отвода нефти и газа соответственно. Камера 23 выполнена герметичной и вмонтирована с возможностью прохождения потока нефти и газа выше ее верхней стенки через щель 25 в камеру 24, а в ее нижней части выполнена щель 26 для прохода очищенной воды и последующего ее отвода.
Геометрические размеры щелей в перегородках выбирают из расчета прохода очищаемой воды столько, сколько поступает в предварительную камеру за единицу времени. В верхней части камеры 23 для отвода очищенной воды вмонтирован дыхательный патрубок для отвода выделившегося газа (патрубок на фигуре не изображен).
Осуществление способа описано в работе установки. Установка работает следующим образом.
Перед началом работы при закрытых задвижках линии для отвода очищенной воды и выделенной нефти отстойник до отказа заполняют исходной водой (задвижки и линии для отвода очищенной воды и нефти из-за простоты на фиг. не изображены), при котором сразу начинает происходить перераспределение ее плотности. Затем одновременно открывают задвижки линии для подачи исходной воды и задвижки линии для очищенной воды и нефти. По мере поступления исходной воды восходящим потоком в предварительную камеру 1 через промежуточную щель 15 перегородки 14 она начинает поступать в первую камеру 8 основной камеры 2. При прохождении исходной воды через промежуточную щель происходит следующее. При больших содержаниях нефти или нефтепродуктов происходит разрыв жидкости с образованием слоя нефти небольшой толщины, а при меньшем содержании – в виде тонкой пленки и частичное выделение растворенного в ней газа, которые, выходя из щели, как легкие компоненты, всплывают на поверхность. При этом выделившийся газ при всплытии захватывает с собой и микрочастицы нефти, не успевшие при проходе через щель соединиться в глобулы. Расслоение исходной жидкости также происходит при этом даже на уровне ионов, в результате положительно заряженные ионы нефти, отрываясь от отрицательно заряженных ионов воды, соединяются в микрочастицы – глобулы, которые уносятся вместе с газом и всплывают на поверхность, образуя затем более крупные частицы. Частично отделенная от нефти и газа исходная вода из камеры 8 начинает перетекать в камеру 9 через щели 16 и 17 перегородки 3, при этом вышеописанные физические закономерности по отделению нефти и газа справедливы. На этом первый цикл очистки исходной воды от нефти заканчивается. Далее цикл повторяют в той же последовательности не менее 2-3 раза в последующих камерах. Затем, не прерывая процесс, очищаемую воду пропускают через остальные перегородки 6 и 7, причем перегородка 6, сочетающая в себе промежуточную щель 18 со щелями 19 и 20, выполненными выше и ниже перегородки, а последующая перегородка 7 со щелями 21 и 22 выше и ниже этой перегородки, обеспечивает удаление остаточного содержания нефти и газа. В зависимости от концентрации нефти в сточной воде, например, в большую сторону цикл пропускания очищаемой воды через аналогичные перегородки 6 и 7 повторяют несколько раз. В конце окончания процесса очистки сточной воды выделившиеся нефть и газ пропускают через верхнюю щель 25 в камеру 24 для их последующего отвода, а очищенную воду – через щель 26 камеры 23 для отвода к потребителю по назначению. При этом выделившийся газ через дыхательный патрубок (показан стрелкой) из камеры 23 для отвода воды и камеры 24 для отвода нефти выпускают в атмосферу или подают в газопровод.
На дату подачи заявки способ испытан в промысловых условиях на Куакбашской площади Ромашкинского нефтяного месторождения НГДУ «Лениногорскнефть». Результаты испытаний положительные.
Технико-экономическое преимущество изобретения заключается в следующем.
Способ прост в осуществлении, не требует для этого сложного оборудования, фильтрующих материалов, сорбентов, требующих регенерации или многокомпонентных химических материалов для деэмульсации, а снижение содержания нефти в исходной сточной воде обеспечивается в 3-4 и более раз.
Формула изобретения
1. Способ очистки нефтесодержащих сточных вод, включающий подачу исходной воды восходящим потоком в предварительную камеру отстойника, пропуск ее выше и ниже перегородки, разделяющей предварительную камеру от основной, и отвод нефти, газа и очищенной воды, отличающийся тем, что перед пропуском исходной воды выше и ниже перегородки сначала ее пропускают через промежуточную щель, выполненной по всей длине не ниже средней линии герметично вмонтированной перегородки, далее цикл повторяют в той же последовательности не менее 2-3 раз в последующих камерах, после чего, не прерывая процесс, очищаемую воду пропускают через перегородки, сочетающие в себе промежуточную щель с щелями, выполненными выше и ниже перегородки, и далее ее пропускают через выше и ниже расположенные щели следующей перегородки.
2. Способ п.1, отличающийся тем, что перед началом работы отстойник заполняют исходной водой.
3. Способ п.1, отличающийся тем, что геометрические размеры щелей выбирают из расчета пропуска очищаемой воды столько, сколько поступает в предварительную камеру за единицу времени.
4. Способ п.1, отличающийся тем, что в верхней части камеры для отвода очищенной воды монтируют дыхательный патрубок для отвода выделившегося газа.
РИСУНКИ
MM4A – Досрочное прекращение действия патента СССР или патента Российской Федерации на изобретение из-за неуплаты в установленный срок пошлины за поддержание патента в силе
Дата прекращения действия патента: 21.02.2008
Извещение опубликовано: 10.11.2008 БИ: 31/2008
|
|