|
|
(21), (22) Заявка: 2006107507/15, 10.03.2006
(24) Дата начала отсчета срока действия патента:
10.03.2006
(46) Опубликовано: 10.01.2008
(56) Список документов, цитированных в отчете о поиске:
ЕРМОЛОВ В.Ф. и др. Теплообменное оборудование отечественных турбоустановок. Теплоэнергетика. 2003, №2, с.34-36. SU 509543 A1, 05.04.1976. RU 2031084 C1, 20.03.1995. RU 2196113 C2, 10.01.2003. US 4698076 A, 06.10.1987. JP 11319803 A, 24.11.1999.
Адрес для переписки:
191167, Санкт-Петербург, ул. Атаманская, 3/6, ОАО “НПО ЦКТИ”
|
(72) Автор(ы):
Гиммельберг Альберт Соломонович (RU), Михайлов Валентин Георгиевич (RU), Григорьев Генрих Викторович (RU), Егоров Павел Викторович (RU), Шилова Нина Евсеевна (RU), Баева Анна Николаевна (RU)
(73) Патентообладатель(и):
Открытое акционерное общество “Научно-производственное объединение по исследованию и проектированию энергетического оборудования им. И.И. Ползунова” (ОАО “НПО ЦКТИ”) (RU)
|
(54) ТЕРМИЧЕСКИЙ ДЕАЭРАТОР
(57) Реферат:
Изобретение относится к области теплоэнергетики, в частности к термическим деаэраторам, предназначенным для удаления коррозионно-агрессивных газов из питательной воды парогенераторов с одновременным ее нагревом, и может быть использовано в теплоэнергоустановках ТЭС, АЭС и котельных. Термический деаэратор содержит установленную на деаэраторном баке деаэрационную колонку с размещенным в ней низконапорным водораспределительным устройством – струйной форсункой, снабженной штуцером подвода воды, при этом струйная форсунка выполнена в виде двух установленных частично один внутри другого корпусов, каждый из которых имеет выходные отверстия и снабжен отдельным штуцером для подвода исходной воды, а корпус меньшего диаметра расположен так, что его выходные отверстия находятся ниже выходных отверстий корпуса большего диаметра. Технический результат – обеспечение надежной работы водораспределительного устройства и деаэратора в целом при скользящем давлении в широком диапазоне тепловых и гидравлических нагрузок. 2 ил.
Изобретение относится к области теплоэнергетики, в частности к термическим деаэраторам, предназначенным для удаления коррозионно-агрессивных газов из питательной воды парогенераторов с одновременным ее нагревом, и может быть использовано в теплоэнергоустановках ТЭС, АЭС и котельных.
Известен термический деаэратор, состоящий из деаэраторного бака и деаэрационной колонки, содержащей струйные тарелки и водораспределительное устройство, включающее одну или несколько струйных форсунок, причем на форсунке концентрично установлен рассекатель струй, выполненный в виде перфорированной цилиндрической обечайки при соотношении диаметров обечайки D и форсунки d_D=(1,2÷3,0)d (RU 2031084 C1, 6 C02F 1/20, B01D 3/20, опубликовано 20.03.95).
Недостатками известного деаэратора является то, что в случае двух или больше потоков исходной воды с существенно различными температурой и давлением, входящих в деаэрационную колонку, для их надежного приема и распределения необходимо разместить в деаэрационной колонке несколько низконапорных водораспределительных устройств (форсунок) – по числу подводимых потоков воды, в связи с чем усложняется конструкция деаэрационной колонки, увеличиваются ее горизонтальные габариты и металлоемкость.
Известен термический деаэратор, состоящий из деаэраторного бака и нескольких установленных на нем деаэрационных колонок вертикального типа; каждая из колонок содержит струйные тарелки и одно водораспределительное устройство – струйную форсунку, выполненную в виде цилиндрического корпуса с выходными отверстиями. (В.Ф.Ермолов, М.П.Белоусов, А.С.Гиммельберг и др. Теплообменное оборудование отечественных турбоустановок. Журнал Теплоэнергетика №2, февраль 2003. М., ООО МАИК «Наука/Интерпериодика», стр.35, рис.4).
По совокупности признаков это известное техническое решение являемся наиболее близким к заявляемому и принято за прототип.
Недостатком известного деаэратора, принятого за прототип, является то, что в случае двух или более потоков исходной воды с существенно различными температурой и давлением, входящих в деаэрационную колонку, подвод этих потоков в одно низконапорное водораспределительное устройство колонки (форсунку) – непосредственно или с использованием объединенного коллектора – недопустим, т.к. возможны гидроудары, значительное нарушение гидродинамики потоков и т.п.; при этом снижается надежность приема и распределения входных потоков воды в деаэрационной колонке и ухудшаются гидродинамические характеристики деаэратора, особенно при переменных нагрузках и скользящем давлении в корпусе деаэратора.
Заявляемое техническое решение позволяет производить раздельный подвод в низконапорное водораспределительное устройство деаэратора потоков деаэрируемой воды с существенно различными температурой и давлением, обеспечить надежное поступление этих потоков в деаэрационную колонку и, тем самым, надежную работу водораспределительного устройства и деаэратора в целом при скользящем давлении в широком диапазоне тепловых и гидравлических нагрузок.
Предложен термический деаэратор, включающий установленную на деаэраторном баке деаэрационную колонку с размещенным в ней низконапорным водораспределительным устройством – струйной форсункой, снабженной штуцером подвода воды, при этом струйная форсунка выполнена в виде двух установленных частично один внутри другого корпусов, каждый из которых имеет выходные отверстия и снабжен отдельным штуцером для подводи исходной воды, а корпус меньшего диаметра расположен так, что его выходные отверстия находятся ниже выходных отверстий корпуса большего диаметра.
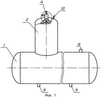
Изобретение иллюстрируется чертежами, где на фиг.1 изображен общий вид термического деаэратора, на фиг.2 – узел А по фиг.1.
Термический деаэратор содержит установленную на деаэраторном баке 1 деаэрационную колонку 2 с размещенным в ней низконапорным водораспределительным устройством в виде струйной форсунки 3. Форсунка 3 выполнена в виде двух корпусов 4 и 5 с выходными отверстиями в каждом, расположенных частично один внутри другого, причем выходные отверстия корпуса меньшего диаметра 4 находятся ниже выходных отверстий корпуса большего диаметра 5, и каждый корпус снабжен собственным штуцером подвода воды 6, 7. На деаэраторном баке 1 установлены штуцер подачи греющего пара 8 и штуцер (штуцеры) отвода деаэрированной воды 9. Для отвода выпара на деаэрационной колонке 2 установлен штуцер 10.
Деаэратор работает следующим образом. Исходные потоки подлежащей деаэрации воды, имеющие различные температуру и давление, поступают в водораспределительное устройство 3 деаэрационной колонки 2 через штуцеры 6, 7: поток с большим расходом – в больший корпус 5, а поток с меньшим расходом – в меньший корпус 4. Вытекая из выходных отверстий корпусов 4 и 5 форсунки 3 в виде струй и капель, вода далее последовательно проходит деаэрирующие ступени деаэрационной колонки 2 и сливается в деаэраторный бак 1, где проходит следующие стадии обработки. Греющий пар подается в деаэратор через штуцер 8. Деаэрированная вода отводится из бака 1 через штуцер 9. Отвод выпара осуществляется через штуцер 10 в деаэрационной колонке 2.
Формула изобретения
Термический деаэратор, включающий установленную на деаэраторном баке деаэрационную колонку с размещенным в ней низконапорным водораспределительным устройством – струйной форсункой, снабженной штуцером подвода воды, отличающийся тем, что струйная форсунка выполнена в виде двух установленных частично один внутри другого корпусов, каждый из которых имеет выходные отверстия и снабжен отдельным штуцером для подвода исходной воды, причем корпус меньшего диаметра расположен так, что его выходные отверстия находятся ниже выходных отверстий корпуса большего диаметра.
РИСУНКИ
|
|