|
|
(21), (22) Заявка: 2005136873/12, 22.03.2004
(24) Дата начала отсчета срока действия патента:
22.03.2004
(30) Конвенционный приоритет:
28.04.2003 (пп.1-5) IT FI2003 A 000118
(43) Дата публикации заявки: 10.04.2006
(46) Опубликовано: 10.01.2008
(56) Список документов, цитированных в отчете о поиске:
DE 2330195 А1, 02.01.1975. WO 02/12608 А2, 14.02.2002. US 6328248 В1, 11.12.2001. US 2002/0117575 А1, 29.08.2002. SU 335820 А, 22.05.1972.
(85) Дата перевода заявки PCT на национальную фазу:
28.11.2005
(86) Заявка PCT:
IT 2004/000140 (22.03.2004)
(87) Публикация PCT:
WO 2004/096684 (11.11.2004)
Адрес для переписки:
129010, Москва, ул. Б.Спасская, 25, стр.3, ООО “Юридическая фирма Городисский и Партнеры”, пат.пов. С.А.Дорофееву
|
(72) Автор(ы):
ПЕРИНИ Фабио (IT)
(73) Патентообладатель(и):
ПЕРИНИ Фабио (IT)
|
(54) УСТРОЙСТВО И СПОСОБ ДЛЯ ОТРЫВА БУМАЖНОЙ ЛЕНТЫ В ПЕРЕМОТОЧНЫХ СТАНКАХ
(57) Реферат:
Изобретение предназначено для отрыва бумажных лент в перемоточных станках. Лента снабжена на равных интервалах поперечными перфорационными линиями, которые разделяют ленту на листы, соединенные друг с другом, но способные быть разъединенными в соответствии с перфорационными линиями. Устройство содержит средства для отрыва ленты по ходу перфорационной линии, которая отделяет последний лист лога в процессе формирования от первого листа следующего лога, который будет сформирован, при этом указанные средства отрыва являются средствами пневматического типа, выполненными с возможностью направления струи сжатого воздуха к указанной перфорационной линии. Изобретение обеспечивает повышение надежности работы и упрощение обслуживания. 3 н. и 2 з.п. ф-лы, 13 ил.
Настоящее изобретение относится к устройству и способу для отрыва бумажной ленты в перемоточных станках. Производство логов, как известно, предполагает подачу непрерывной ленты бумаги по заданной траектории. В заданной точке указанной траектории на ленте делается прерывистый поперечный разрез с целью ее разделения на секции или листы заданной длины, которые могут быть оторваны.
Данный способ включает в себя использование трубчатых картонных элементов (обычно называемых «сердечники»), на поверхность которых нанесено заданное количество клея для приклеивания первого листа лога, который будет сформирован. Указанный способ также предусматривает использование намоточных роликов, которые приводят во вращение сердечники, на которые намотана бумага. Процесс формирования лога заканчивается, когда заданное количество бумаги намотано на сердечник. На этом месте начинается формирование следующего лога. В конце процесса формирования необходимо приклеить последний лист каждого лога на нижележащий лист для избежания самопроизвольного разматывания данного лога. Данный тип приклеивания определяется как «закрытие края». Когда заданное количество листов смотано в лог в процессе формирования бумажная лента обрезается, то есть последний лист лога в процессе формирования отделяется от первого листа следующего лога, который будет сформирован.
Европейский патент ЕР 524158, патент Великобритании GB 210568 и европейский патент ЕР 694020 раскрывают устройства, используемые для отрыва бумажной ленты в конце формирования логов.
Такие устройства, однако, являются неподходящими для существующих требований производства, поскольку они относительно ненадежны или требуют частых и дорогостоящих работ по обслуживанию. Основная цель настоящего изобретения преодолеть или, по крайней мере, уменьшить вышеупомянутые недостатки.
Этот результат был достигнут, согласно изобретению, посредством создания устройства и применения способа, имеющих отличительные признаки, указанные в независимых пунктах формулы изобретения. Дополнительные отличительные признаки изложены в зависимых пунктах формулы изобретения.
Преимущества, получаемые от настоящего изобретения, лежат в основном в том факте, что возможно постоянно гарантировать самую высокую точность отрыва бумаги независимо от скорости подачи посредством устранения резких движений и последующих колебаний, которые вполне могут угрожать правильной работе системы; при этом устройство согласно изобретению относительно легко изготовить, оно рентабельно, когда речь идет об обслуживании, и надежно даже после длительного срока службы.
Эти и другие преимущества и отличительные признаки изобретения будут лучше понятны любому специалисту в данной области техники из прочтения последующего описания вместе с прилагаемыми чертежами, данными как практический иллюстративный пример изобретения, но не рассматриваемыми в ограничительном смысле, на которых:
фиг.1 и 2 показывают перемоточный станок, снабженный устройством согласно изобретению в двух его возможных воплощениях;
фиг.3 и 4 – увеличенные фрагменты фиг.1 и 2 соответственно, которые схематично иллюстрируют этап отрыва бумажной ленты;
фиг.5А показывает схематично в продольном разрезе первое типовое воплощение отрывного устройства согласно изобретению, которое работает согласно схеме размещения по фиг.1 и 3;
фиг.5В – то же, поперечный разрез;
фиг.5С показывает схематично местный вид сбоку трубчатого кожуха устройства, показанного на фиг.5А;
фиг.5D – схематичный поперечный разрез трубчатого кожуха, показанного на фиг.5С;
фиг.6А – схематичный продольный разрез второго типового воплощения устройства согласно изобретению, которое работает согласно схеме размещения по фиг.2 и 4;
фиг.6В – местный вид сбоку внешнего ролика устройства по фиг.6А;
фиг.6С – схематичный вид сбоку в поперечном разрезе устройства по фиг.6А;
фиг.6D показывает увеличенный фрагмент чертежа по фиг.6С; и
фиг.7 – блок-схема системы для управления устройствами, проиллюстрированными на предшествующих чертежах.
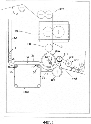
Устройство согласно изобретению может быть использовано в перемоточном станке любой возможной конструкции, когда речь идет о подаче и приклеивании сердечников (1) и бумажных лент 2, используемых для производства логов. Перемоточные станки известны специалистам в данной области техники и, поэтому, не будут описаны здесь детально. Патент США US 4487377, европейский патент ЕР 524158, патент Великобритании GB 2105688, патент США US 5979818 и европейский патент ЕР 694020 раскрывают так много примеров воплощений перемоточных станков, что можно сослаться на них для более широкого описания этого типа машин. В основном, и так же как проиллюстрировано на фиг.1 и 2 прилагаемых чертежей, они содержат:
– секцию (А) подачи сердечников (1);
– накопитель (М) для сердечников (1);
– средства для подачи и поперечной перфорации бумажной ленты (2), с использованием ряда подающих, протяжных и режущих роликов (R1, R2, R3, RA), размещенных вдоль определенной траектории;
– средства для наматывания бумаги (2) на сердечники (1), с использованием группы намоточных роликов (RA, R4, R5), два из которых (R4, R5) расположены один над другим на выходе канала (С), частично ограниченного неподвижной направляющей, состоящей из двух элементов (3а, 3b), частично замкнутой транспортерной лентой (300) и частично роликом (RA), который обеспечивает и подачу бумаги (2) и намотку последней на сердечники (1) (в отличие от роликов, которые обеспечивают только подачу и поперечное перфорирование ленты (2);
– толкатели (6), вращающиеся вокруг соответствующих осей (60), расположенные вдоль указанного канала (С) для содействия передачи сердечников (1) от накопителя (М), то есть, от входной секции (А), к первому отрезку (3a, 300) канала (С), и передаче сердечников от первого отрезка канала (С) ко второму отрезку (ограниченному направляющим элементом 3b и роликом RA);
– средства (не показаны для простоты на прилагаемых чертежах) для приклеивания бумажной ленты (2) и сердечников (1) для того, чтобы приклеить первый лист каждого лога (RO) на соответствующий сердечник и последний лист каждого лога (RO) приклеить на нижележащую бумагу.
Согласно способу, известному специалистам в данной области техники, лента (2) разматывается вдоль ограниченной траектории от роликов (R1, R2, R3, RA) и наматывается на сердечник (Ir) в секции, где размещены ролики (R4) и (R5), которые во взаимодействии с роликом (RA) и посредством вращения вокруг соответствующих продольных осей, заставляют бумагу (2) наматываться на сердечник (Ir). Когда заданное количество листов (каждый из которых ограничен двумя идущими подряд поперечными перфорациями бумаги 2) намотано на указанный сердечник, приводятся в действие средства для отрыва бумаги (2) на участке канала (С), расположенном между новым сердечником (1), введенным в данный канал (С), и секцией формирования логов (RO), в которой работают ролики (R4, R5).
Отрыв выполняется в соответствии с линией перфорации (р), которая отделяет последний лист лога (RO) в процессе формирования от первого листа следующего лога, который будет сформирован. Затем, ролик (R4), который установлен на поворотном кронштейне (400), связанном с соответствующим приводом (401), отодвигается от нижележащего ролика (R5), чтобы выпустить лог (RO) и заставить его удалиться вдоль и вниз по ходу плоскости схода (402). На этом месте сердечник (1), который, когда заканчивается формирование лога (RO), продвигается вперед и катится по каналу (С) благодаря контакту с роликом (RA), занимает место предыдущего сердечника и цикл идентично повторяется.
Понятно, однако, что, с точки зрения цели настоящего изобретения, указанные подающие, перфорирующие, приклеивающие и разгрузочные средства могут иметь любую форму и могут быть размещены любым способом.
Предпочтительно, согласно изобретению, чтобы вызвать отрыв ленты (2) в соответствии с прохождением линии перфорации (р), которая отделяет последний лист лога (RO) в процессе формирования от первого листа следующего лога, который будет сформирован, предусмотрены средства (SP), способные направить струю сжатого воздуха к упомянутой линии (р), тем самым вызывая – с возможным содействием ролика (R4), который может быть ускорен на предыдущем этапе, чтобы натянуть ленту (2) в области, затрагиваемой струей, – отрыв ленты (2) в соответствии с данной линией (р).
Например, ссылаясь на фиг.1, 3, 5A-5D прилагаемых чертежей, упомянутые пневматические средства (SP) содержат систему сопел (7), связанных, через соответствующие электромагнитные клапаны (70), с резервуаром сжатого воздуха (71): указанные сопла (7) совместно с соответствующими электромагнитными клапанами (70) и резервуаром (71) размещены внутри ролика (RA), чья наружная поверхность ограничена трубчатым кожухом (72), имеющим ряд отверстий (73), через которые сопла (7) могут действовать.
Согласно примеру, показанному на фиг.5А, указанный трубчатый кожух (72) поворачивается вокруг продольной оси, тогда как указанный резервуар (71) закреплен и имеет общую ось с данным кожухом (72). С этой целью, как проиллюстрировано на фиг.5А, указанный кожух (72) снабжен валом с фланцевой передней частью (87), вал поддерживается неподвижной частью (80) станка через подшипник (81) и связан с соответствующими приводными средствами (не показаны). С внутренней стороны указанный фланец (87) имеет посадочное место для конического корпуса (82), в которое вставлен осевой удлиненный конец резервуара через соответствующий подшипник (83).
С противоположной стороны резервуар (71) прочно прикреплен к неподвижной части (84) станка. Там же размещена втулка (85), на которой соосно смонтирован кожух (72) через соответствующий подшипник (86).
На чертеже фиг.5А позиции (74) и (75) обозначают, соответственно, кабели электропитания электромагнитных клапанов (70) и трубопровод для подвода воздуха в резервуар (71).
Электромагнитные клапаны (70) включены, чтобы обеспечить поток сжатого воздуха из резервуара (71) через сопла (7) на перфорационную линию (р), отделяющую последний лист лога в процессе формирования от первого листа следующего лога, который будет сформирован, когда режущие ролики (R2) достигают, например, заданного числа оборотов или части оборота. Последующее разрывное действие выполняется быстро и аккуратно. Контроль числа оборотов режущих роликов (R2) может вестись посредством счетчика (100), установленного на оси одного из роликов (R2) известным способом. Как показано на фиг.7, включение указанных электромагнитных клапанов (70) может быть автоматизировано при помощи программируемого электронного блока (UE), который через кабели (700) посылает электрические сигналы для включения, соответственно, выключения электромагнитных клапанов (70) в соответствии с электрическими сигналами, идущими от контрольного устройства (100), такого как, например, датчик положения. Указанный блок (UE) – типа, известного специалистам в области промышленной автоматики, и поэтому не будет описан подробно.
Как выше было упомянуто, перед выпуском воздушного потока через сопла (7), ролик (R4) может быть ускорен для натягивания ленты (2) в области действия сопел (7).
Преимущественно, как проиллюстрировано на фиг.5А и 5В прилагаемых чертежей, сопла (7), расположенные внутри ролика (RA), могут быть ориентированы радиально по отношению к ролику (RA).
Или же, как проиллюстрировано на фиг.2, 4 и 6A-6D прилагаемых чертежей, указанные сопла (7) могут быть размещены снаружи ролика (RA), ориентированы и направлены по направлению к области между роликом (RA) и секцией формирования логов (R0), в которой действуют намоточные ролики (R4, R5).
С этой целью ролик (RA) может быть сформирован таким образом, чтобы иметь ряд периферических канавок (76), в которых размещены вытянутые и соответствующим образом изогнутые корпуса сопел (7), связанные с резервуаром (71), расположенным снаружи и сверху ролика (RA). В этом примере ролик (RA) имеет два конца вала (8), поддерживаемые неподвижными частями (80) станка через соответствующие подшипники (81), два фланца крышки (87), соответствующие указанным неподвижным частям, прочно прикрепленные к обеим сторонам резервуара (71).
Работа устройства согласно проиллюстрированному выше примеру идентична тому, что было описано прежде.
Способ работы согласно изобретению включает, следовательно, этап подачи непрерывной бумажной ленты (2) в секцию, в которой происходит формирование лога (RO), при этом указанная лента (2) снабжена поперечными или предварительным надрезом или перфорациями на равных интервалах и подразумевает разрыв целостности ленты в заданный момент посредством струи газа, такого, например, как сжатый воздух, направленной или к перфорационной линии (р) или к линии предварительного надреза ленты (2).
Согласно настоящему способу, указанный этап подачи струи газа может выполняться последовательно за этапом ускорения ролика (R4), действующего на лог (RO) в секции формирования логов.
Практически, детали конструкции могут варьироваться любым эквивалентным способом, когда речь идет о форме, размерах, расположении элементов, типе используемых материалов, однако не выходя за объем изобретения.
Формула изобретения
1. Устройство для отрыва бумажных лент внутри перемоточного станка, причем указанная лента (2) снабжена на равных интервалах поперечными перфорационными линиями, которые разделяют ленту на листы, соединенные друг с другом, но способные быть разъединенными в соответствии с указанными перфорационными линиями, при этом устройство содержит средства для отрыва ленты (2) по ходу перфорационной линии (р), которая отделяет последний лист лога (RO) в процессе формирования от первого листа следующей лога, который будет сформирован, при этом указанные средства отрыва являются средствами пневматического типа (SP), выполненными с возможностью направления струи сжатого воздуха к указанной линии (р), при этом указанные пневматические средства (SP) содержат систему сопел (7), связанную через соответствующие электромагнитные клапаны (70) с резервуаром сжатого воздуха (71), причем указанные сопла (7) с соответствующими электромагнитными клапанами (70) и резервуар (71) размещены внутри лентопротяжного ролика (RA), чья внешняя поверхность ограничена трубчатым кожухом (72), снабженным рядом отверстий (73), через которые действуют сопла (7), отличающееся тем, что сопла действуют при прохождении перфорационной линии (р), причем указанный трубчатый кожух (72) поворачивается вокруг своей продольной оси, а резервуар (71) неподвижен.
2. Устройство по п.1, отличающееся тем, что указанный трубчатый кожух (72) прикреплен к приводному валу (8) ролика (RA) посредством фланца (87) и поддерживается со стороны приводного вала (7) неподвижной частью (80) через подшипник (81), при этом указанный фланец (87) имеет посадочное место для конического корпуса (82), внутри которого расположен осевой удлиненный конец резервуара (71), причем указанный резервуар (71) прочно прикреплен с противоположной стороны к неподвижной части (84) и имеет втулку (85), на которой смонтирован кожух (72) через подшипник (86).
3. Устройство для отрыва бумажных лент в перемоточных станках, при этом указанная лента (2) снабжена на равных интервалах поперечными перфорационными линиями, которые разделяют ленту на листы, соединенные друг с другом, но способные быть разъединенными в соответствии с указанными перфорационными линиями, при этом устройство содержит средства для отрыва ленты (2) по ходу перфорационной ленты (р), которая отделяет последний лист лога (RO) в процессе формирования от первого листа следующего лога, который будет сформирован, причем указанные средства отрыва являются средствами пневматического типа (SP), выполненными с возможностью направления струи сжатого воздуха к указанной линии (р), при этом указанные пневматические средства (SP) содержат систему сопел (7), связанную через соответствующие электромагнитные клапаны (70) с резервуаром сжатого воздуха (71), отличающееся тем, что указанные сопла (7) с соответствующими электромагнитными клапанами и резервуаром (71) размещены вне лентоподающего ролика (RA), чья внешняя поверхность снабжена рядом круговых канавок (76), в соответствии с которыми размещены сопла (7).
4. Способ отрыва бумажных лент в перемоточных станках, включающий этап подачи непрерывной бумажной ленты (2) в секцию, в которой происходит формирование лога (RO), причем указанная лента (2) снабжена поперечными линиями предварительного надреза или перфорационными линиями на равных интервалах, включающий этап разрыва целостности ленты в заданный момент времени посредством ударного воздействия струи газа на ленту (2), при этом струю направляют к перфорационной линии (р) ленты (2), которая отделяет последний лист лога (RO) в процессе формирования от первого листа следующего лога, который будет сформирован, отличающийся тем, что указанный этап подачи струи газа выполняется последовательно за этапом натягивания ленты (2) в области действия струи.
5. Способ по п.4, отличающийся тем, что указанная струя газа направлена от ролика (RA) системы подачи ленты (2) к указанной линии (р).
РИСУНКИ
|
|