|
|
(21), (22) Заявка: 2004132851/12, 22.05.2003
(24) Дата начала отсчета срока действия патента:
22.05.2003
(30) Конвенционный приоритет:
31.05.2002 CH 917/02
(43) Дата публикации заявки: 10.09.2005
(46) Опубликовано: 10.01.2008
(56) Список документов, цитированных в отчете о поиске:
ЕР 1088764 A1, 04.04.2001. JP 2002104473 A, 10.04.2002. US 5366114 A, 22.11.1994. RU 2125958 C1, 10.02.1999.
(85) Дата перевода заявки PCT на национальную фазу:
31.12.2004
(86) Заявка PCT:
CH 03/00328 (22.05.2003)
(87) Публикация PCT:
WO 03/101843 (11.12.2003)
Адрес для переписки:
105318, Москва, ул. Ткацкая, 5, оф.504, ООО “Патентное агентство “ИНТАКС-Р”, пат.пов. М.Я.Эпштейну
|
(72) Автор(ы):
ВАЙСТ Марио (DE)
(73) Патентообладатель(и):
СИГ ТЕКНОЛОДЖИ ЛТД. (CH)
|
(54) САМОВСКРЫВАЮЩЕЕСЯ УКУПОРОЧНОЕ УСТРОЙСТВО ДЛЯ КОМПОЗИТНЫХ УПАКОВОК ИЛИ ДЛЯ ШТУЦЕРОВ УПАКОВОК, ЗАКРЫВАЕМЫХ ПЛЕНОЧНЫМ МАТЕРИАЛОМ
(57) Реферат:
Устройство содержит штуцер, который герметично приваривается к композитной упаковке, поворотный колпачок, самовскрыватель, располагающийся внутри штуцера. Самовскрыватель приводится во вращение при повороте колпачка. Внутренняя сторона штуцера оснащена по меньшей мере двумя направляющими с изменяющимся наклоном. На внешней стороне самовскрывателя расположены по меньшей мере два направляющих ребра с направляющими поверхностями. Вследствие взаимодействия направляющих поверхностей и направляющих штуцера осуществляется равномерное вращение самовскрывателя внутри штуцера. Самовскрыватель движется сначала по винтовой линии вниз и после этого переходит в поворот в горизонтальной плоскости. Изобретение позволяет аккуратно вырезать отверстие в ламинате или пленке в просвете штуцера, обеспечивая чистоту кромок выреза. 9 з.п. ф-лы, 7 ил.
[0001] Это изобретение относится к укупорочным устройствам с самовскрывателем для упаковок из композитных материалов, или для штуцеров упаковок, закрытых пленочными материалами, либо горловин бутылок любого рода. При этом подразумеваются прежде всего упаковки для жидкостей именно в виде таких комбинированных упаковок из бумаги, покрытой пленкой, в которые упаковываются, например, молоко, фруктовые соки, любые безалкогольные напитки или жидкости непродовольственного назначения. Однако это укупорочное устройство может применяться также для комбинированных упаковок с сыпучими продуктами, например с сахаром, манной крупой или всякого рода химикатами или тому подобным, что должно быть упаковано и сохранено. При упоминаемой бумаге, покрытой пленкой, речь идет о ламинате или, например, о бумаге, картоне, покрытых, например, пластмассой вроде полиэтилена, и/или алюминиевой фольгой. Употребительные объемы таких упаковок составляют от 20 мл до 2 л и более. В другом применении это устройство может быть встроено в упаковки, закрытые пленочным материалом, к примеру, во всякого рода бутылки из стекла или пластмассы или в другие подобные емкости.
Подобного рода укупорочные устройства из пластика известны в различных исполнениях. В основном они выполнены в виде выливного штуцера с радиально выступающей внизу кромкой, образующей примыкающий к штуцеру фланец. Штуцер снабжен внешней резьбой, на которую может быть навинчен закрывающий его поворачивающийся колпачок. Такое укупоривающее устройство устанавливается на композитную упаковку, при этом оно герметично приваривается к композитной упаковке нижней стороной своей выступающей кромки. Однако после этого свободный проход на внутреннем конце штуцера перекрыт бумагой или уплотняющей пленкой комбинированной упаковки. В случае бутылочной укупорки выливной штуцер в свою очередь может быть насажен или навинчен на горловину бутылки, а его внутренняя часть при этом перекрыта пленочной мембраной. Штуцер снабжен внешней резьбой, на которую может быть навинчен закрывающий его поворачивающийся колпачок. Для открывания упаковки располагающаяся ниже приваренного штуцера пленочная мембрана должна быть вскрыта, измельчена или выдавлена, чтобы освободить проход для выливания или высыпания содержимого упаковки через штуцер. Для этого внутри штуцера расположена втулка (или ниппель), которая при повороте навинченного колпачка захватывается им и поэтому движется вместе с ним в том же направлении. Благодаря резьбе на внешней стороне втулки, направленной против резьбы на внешней стороне штуцера, втулка при вывинчивании колпачка, т.е. при смещении его по отношению к упаковке вверх, движется равномерно вниз. Нижняя кромка втулки снабжена одним или несколькими зубцами рвущего или режущего действия. Благодаря этому втулка вследствие своего вращения и постоянного движения вниз должна выдавить или вырезать диск из находящейся под ней армированной бумаги или пленочной мембраны.
[0002] Однако существующие самооткрывающиеся укупорочные устройства, подобные описанному выше, действуют не вполне удовлетворительно. Они не только не вырезают чисто диски из фольгированной бумаги или пленочной мембраны, но в большей мере просто выдавливают втулкой кусок пленки. Оставшийся край искромсан и поэтому остатки бумаги и пленки выступают в просвет штуцера, который должен был бы сохраняться свободным. Эти остатки нередко выступают также вниз в упаковку и при выливании или высыпании содержимого могут препятствовать проникновению внутрь упаковки устремляющегося снаружи воздуха или просто перегораживают путь выливающейся струе жидкости или высыпающемуся продукту. В упаковках больших размеров, в которых используется более прочная армированная пленкой бумага или картон, отверстие становится еще менее приспособленным для надлежаще чистого функционирования. Медленно продвигающаяся вниз и одновременно вращающаяся втулка соприкасается всем своим нижним краем почти одновременно с подлежащим вырезанию материалом упаковки, укрепленным с помощью пленки, и нажимает на него вниз, поворачиваясь на нем до тех пор, пока отверстие не окажется скорее протертым или прорванным, чем вырезанным. Проблема состоит в том, что подлежащая вырезанию пленка уступает в нижнем направлении давлению втулки, которая действует в известной мере как буровая коронка, и тем самым она воздействует не столько на плоскую часть перекрывающей отверстие пленки (мембраны), сколько на прогнутую вниз ее часть. Далее, существующие сегодня решения из-за конструкции втулок, справедливо называемых также “проталкивателями” за то, что они как раз именно проталкивают бумажно-пленочное образование, нежели чисто вырезают круглые диски, требуют значительных усилий со стороны пользователей. Необходимо применить большой вращающий момент, т.к. зубья или приспособления для рыхления на нижней кромке пробойника или втулки должны сначала просто внедриться в пленку и затем превозмочь большое сопротивление вращению. В верхнем слое бумажной мембраны они действуют подобно разрывающим зубьям, а именно истирая, надавливая и разрыхляя, вместо того чтобы выполнять действительно функции острого лезвия. Для облегчения процесса вырезания перекрывающей пленки в существующих самовскрывающихся устройствах подобного рода пленочный или комбинированный материал предварительно ослабляют на выбранных местах с помощью лазерного или штамповочного оборудования. Однако применение этого процесса связано с повышенными техническим и финансовыми затратами. Требуется дорогое оборудование, а для обработки мест пленки, подвергнутых проталкиванию, требуется много времени. Несмотря на эти указанные затратные меры для ослабления материала в нужных местах, существующие самооткрывающиеся укупорочные устройства не только не вырезают чисто, но рвут пленочный материал, прежде чем он чисто отделится, чем и объясняются большие сопротивления вращению. Вследствие больших сопротивлений средства для передачи момента от поворачиваемого колпачка к проталкивающей втулке изнашиваются вплоть до поломок, либо предусмотренные кулачковые захваты, которые сцепляются с пазами на вскрывающей втулке, выскакивают из этих пазов. Когда это случается, самовскрывающееся устройство оказывается более непригодным для применения.
[0003] Отсюда следует, что эти проблемы настоятельно требуют своего решения и создания такого устройства для самовскрывания композитных упаковок или закрытых пленочным материалом штуцеров упаковок, которое позволяет при различных размерах последних аккуратно вырезать диски в ламинате или пленке в просвете штуцера, при этом следует обеспечить чистоту кромок выреза и избежать выступающих в просвет обрывков. Для большого числа пленочных и комбинированных материалов при этом должна даже отпасть необходимость предварительного ослабления материала в месте вырезания с помощью лазерной или штамповочной технологии.
[0004] Эта задача решается с помощью самовскрывающегося укупорочного устройства для композитных упаковок, а также штуцеров емкостей, закрытых пленочным материалом, содержащего штуцер, который может быть герметично смонтирован на комбинированной упаковке или на закрытой пленочным материалом емкости, входящий в устройство поворотный колпачок, а также размещенный внутри штуцера самовскрыватель, который может быть приведен в поворотное движение от поворотного колпачка.
Самовскрывающееся укупорочное устройство отличается тем, что внутренняя сторона штуцера оснащена по меньшей мере двумя направляющими с изменяющимся наклоном, размещенными по ее внутреннему периметру так, что выполненный в виде втулки самовскрыватель, на внешней стороне которого расположены по меньшей мере два направляющих ребра и на каждом – по направляющей поверхности, при непрерывном повороте внутри штуцера, благодаря взаимодействию его направляющих поверхностей с направляющими штуцера, вначале следует направленной вниз крутой винтовой линии и затем переходит в чистый поворот в горизонтальной плоскости.
[0005] На чертежах показан предпочитаемый вариант этого самовскрывающегося укупорочного устройства для композитных упаковок в различных представлениях. Ниже с помощью этих чертежей устройство подробно описывается и объясняются его функции. На них показаны:
фиг.1 – самовскрывающееся укупорочное устройство с тремя его составными частями, отделенными друг от друга, вид сбоку;
фиг.2 – самовскрывающееся укупорочное устройство с тремя его составными частями, отделенными друг от друга, вид сбоку, причем все составные части представлены в продольном сечении вдоль центральной средней оси поворотного колпачка;
фиг.3 – самовскрывающееся укупорочное устройство с тремя его составными частями в собранном состоянии в продольном сечении вдоль центральной средней оси поворотного колпачка;
фиг.4 – самовскрывающееся укупорочное устройство с тремя его составными частями в собранном состоянии в аксонометрической проекции, вид снизу, с самовскрывающей втулкой в ее исходном состоянии;
фиг.5 – самовскрывающееся укупорочное устройство в собранном состоянии в аксонометрической проекции, вид снизу, с самовскрывающей втулкой в выдвинутом вниз положении, готовом к процессу вырезания;
фиг.6 – самовскрывающееся укупорочное устройство в собранном состоянии в аксонометрической проекции, вид снизу, с самовскрывающей втулкой, представленной полностью вышедшей из штуцера;
фиг.7 – самовскрывающееся укупорочное устройство в виде, подготовленном для установки на емкость, закрытую пленкой.
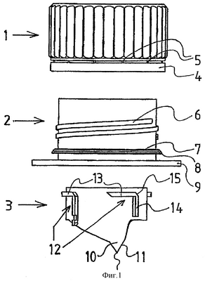
[0006] На фиг.1 показано самовскрывающееся укупорочное устройство в разобранном состоянии, состоящая из трех изготовленных из шприцованной пластмассы составных частей, а именно из поворотного колпачка 1, выливного штуцера 2 и самовскрывающей втулки 3. Поворотный колпачок 1 с внешней стороны снабжен накаткой или рифлением для удобства обращения с ним. На нижней кромке поворотного колпачка 1 образован гарантийный поясок 4, связанный с поворотным колпачком 1 лишь тонкими перемычками 5 из того же материала, выполненными в расчете на их разрыв. Выливной штуцер 2 на внешней стороне снабжен резьбой, совпадающей с соответствующей внутренней резьбой поворотного колпачка 1, которая здесь, впрочем, не видна. Ниже внешней резьбы 6 штуцера 2 имеется небольшой, скошенный вверху выступ 7 с обрамляющим его внизу прямым или скошенным кантом 8. В качестве альтернативы вместо штуцера 2 с внешней резьбой и соответствующим резьбовым колпачком с внутренней резьбой может использоваться выливной штуцер с соответствующим поворотным колпачком, в котором поворотный колпачок может надеваться на выливной штуцер с помощью затвора типа байонет. В этом исполнении выливной штуцер с внешней стороны, а поворотный колпачок с внутренней стороны снабжены соответственно пазом и штифтом, или наоборот. При первом открывании сначала вскрывающая втулка приводится в движение в горизонтальной плоскости против часовой стрелки поворотным колпачком и движется вместе с ним, что будет описано более подробно. На нижней кромке штуцера 2 образован радиально отстоящий кольцевидный плоский выступ 9. Нижней стороной этого плоского выступа 9 штуцер 2 посредством ультразвуковой сварки герметично приваривается на композитную упаковку из ламината, состоящего из усиленной пленкой бумаги или картона. Таким образом, ламинат располагается под выливным штуцером 2 и закрывает на его нижней стороне выходное отверстие. Для выливания жидкости или высыпания сыпучего продукта из упаковки через штуцер 2 ламинат в области проходного отверстия должен быть выдавлен, пробит, вырезан или вырван. Желательно, чтобы проходное отверстие по возможности было освобождено полностью, то есть чтобы ламинат в этом месте был вырезан по возможности чисто, и затем вырезанный диск ламината отогнут в сторону, и после этого проход был по возможности полностью свободным. Для выполнения этой процедуры служит самовскрыватель в виде втулки 3 особой конструкции. На нижней кромке втулки 3 предусмотрен по крайней мере один пробивной дорн 10, имеющий острый наконечник 24, образующий режущую кромку 11 в направлении против часовой стрелки при виде сверху на втулку 3. На внешнем периметре самовскрывающей втулки 3 образовано по меньшей мере два распределенных по периметру направляющих ребра 12, однако предпочтительно, чтобы, как в показанном примере, их было четыре. Каждое из этих показанных направляющих ребер 12 состоит из двух участков 13, 14, а именно из горизонтально расположенного на втулке 3 участка 13 и вертикального участка 14, образующих вместе прямой угол. Внешняя вершина этого прямого угла скошена под углом 45° к участкам 13, 14 и образует с ними направляющую поверхность 15, предназначенную для скольжения [втулки] вдоль направляющей кривой, образованной одной из направляющих на внутренней стенке штуцера 2, что будет еще пояснено с привлечением других чертежей.
[0007] На фиг.2 также показано самовскрывающееся укупорочное устройство в разобранном состоянии со своими тремя составными частями, а именно поворотным колпачком 1, выливным штуцером 2 и самовскрывающей втулкой 3. Однако здесь все составные части показаны в продольном сечении вдоль центральной средней оси закрывающего колпачка. Внутри поворотного колпачка 1 видна его внутренняя резьба 16. Вблизи нижней кромки виден гарантийный поясок 4, прикрепленный через небольшое количество тонких перемычек 5, выполненных в расчете на их разрывание. Как особенность, на нижней стороне свода колпачка в показанном примере сформованы два цилиндрических ограждающих сегмента 17, 18, при этом радиус соответствующих цилиндров меньше, чем радиус стенки поворотного колпачка. Оба следующих друг за другом по периферии цилиндрических сегмента 17, 18 отделены друг от друга небольшим боковым промежутком так, что между ними образуется щель 19. Нижняя кромка обоих цилиндрических ограждающих сегментов 17, 18 выполнена скошенной вниз и тем самым образует направленную вниз винтообразную кромку. В изображенном ниже поворотного колпачка 1 выливном штуцере 2 можно видеть расположенные на его внутренней стенке и распределенные по ее периметру направляющие 20, предназначенные для взаимодействия с ребрами 12 на самовскрывающей втулке 3. В показанном примере имеется четыре таких направляющих 20, из которых одна видна полностью, две другие, слева и справа на чертеже – наполовину, а одна, а именно та, которая принадлежит вследствие специфики сеченого изображения отрезанной части штуцера 2, не видна вовсе. Каждая из этих направляющих 20 состоит из горизонтального участка 21 и наклонно расположенного вверх по отношению к оси штуцера отрезка 22. На внешней стороне штуцера 2 видно рифление внешней резьбы 6, а также выступ 7, через который поворотный колпачок 1 вместе с его гарантийным пояском 4 необратимо надевается для монтажа. Так как выступ 7 скошен сверху, гарантийный поясок 4 при его небольшой деформации можно надеть через этот выступ 7. Но вследствие острого края или канта 8 на нижней стороне выступа 7 гарантийный поясок 4 нельзя потом переместить вверх через выступ 1, если он уже оказался под этим выступом, плотно охватив внешнюю стенку штуцера 2. Для открывания поворотного колпачка 1 следует поэтому сначала отделить гарантийный поясок 4, который освобождается при обрывании перемычек 5. После этого поворотный колпачок становится доступным для поворота и движения вверх. Радиально отстоящий от нижней кромки штуцера 2 выступ 9 приварен посредством ультразвуковой сварки к бумаго- или картоноламинату упаковки для жидкостей или сыпучих продуктов. Под штуцером 2 показана самовскрывающая втулка 3. Нижняя кромка втулки 3 переходит в направляющий дорн 10, который при виде сверху образует режущую кромку 11 в направлении против часовой стрелки и внизу переходит в острый наконечник 24. Справа на чертеже виден горизонтально пролегающий участок 13 (на чертеже обозначен цифрой 12) одного из направляющих ребер 12 на внешней стенке втулки 3. На внутренней стороне у верхнего края самовскрывающей втулки 3 располагается перегородка 23 поперек просвета втулки 3. Когда составные части этого самовскрывающегося укупорочного устройства собраны, то самовскрывающая втулка 3 расположится внутри штуцера 2. При этом втулка 3 оказывается смещенной в такое положение поворота в щтуцере 2, что ее скошенные направляющие поверхности 15 на направляющих ребрах 12 оказываются лежащими на нижних сторонах верхних окончаний наклонных отрезков 22 направляющих 20 штуцера 2. Со своей стороны, поворотный колпачок 1 монтируется на этих обеих составных частях в таком положении поворота, что поперечная перегородка 23 попадает в промежуток 19 между обоими цилиндрическими ограждающими сегментами 17, 18 на нижней стороне свода поворотного колпачка 1. Поворотный колпачок 1 с его гарантийным пояском 4 при небольшой деформации последнего с некоторым нажимным усилием продавливается через верхний скос выступа 7 и тем самым предохраняется от проворачивания за счет установки вплотную к стенке штуцера, так как он удерживается на внешней стороне штуцера гарантийным пояском 4 в своем самом нижнем положении резьбы и может быть отвинчен лишь в том случае, если сначала отрывается гарантийный поясок 4, так как он препятствует преодолению острой кромки 8 выступа 7.
[0008] Фиг.3 показывает самовскрывающееся укупорочное устройство с тремя его составными частями в собранном состоянии в продольном сечении вдоль центральной средней оси закрывающего колпачка. Видно, что самовскрывающая втулка 3 находится между цилиндрическими ограждающими сегментами 17, 18 и штуцером 2 и что поперечная перегородка 23 у верхней кромки втулки 3 попадает в промежуток 19 между находящимися рядом цилиндрическими ограждающими сегментами 17, 18. На внешней стороне втулки 3 виден горизонтальный участок 13 (на чертеже – 12) одного из ее направляющих ребер 12. На внутренней стороне штуцера 2 виден горизонтальный участок 21 направляющей 20, и на внешней стороне штуцера 2 рифление внешней резьбы 6 и несколько ниже – выступ 7 для перехода через него гарантийного пояска 4, а также на нижней стороне штуцера 2 радиально располагающийся выступ 9. На внутренней стороне поворотного колпачка 1 видна его внутренняя резьба 16, a у нижней кромки поворотного колпачка 1 – сформованный за перемычками 5 гарантийный поясок 4. Самовскрывающая втулка 3 в приведенном изображении находится в исходном положении, то есть полностью погруженной внутрь поворотного колпачка 1.
[0009] Ниже описывается, как взаимодействуют друг с другом составные части 1, 2 и 3 этой самовскрывающейся укупорки при открывании упаковки и как при этом вырезается бумаго- или картоноламинат, на который был приварен штуцер 2. Сначала отрывается гарантийный поясок 4. Тем самым освобождается для откручивания поворотный колпачок 1, при этом на штуцере 2 он приобретает возможность перемещаться вверх. Боковые ограничительные поверхности цилиндрических ограждающих сегментов 17 и 18 воздействуют теперь на поперечную перегородку 23 на самовскрывающей втулке 3, то есть захватывают ее и тем самым вовлекают в движение при виде сверху в направлении отвинчивания поворотного колпачка 1, то есть против часовой стрелки. В альтернативном варианте вместо единственной поперечной перегородки таковая может быть также выполнена в виде звездочки с тремя равномерно расходящимися от центра втулки перегородками, и в таком случае при этом встраивают соответственно три цилиндрических разгораживающих сегмента, между которыми размещаются три перегородки. Могут быть также и четыре радиальных перегородки, вместе образующих крест из двух перегородок, пересекающих втулку по диаметру, при этом тогда вдоль периметра будет распределено четыре цилиндрических сегмента. Если теперь втулка 3 проворачивается своей перегородкой 23 против часовой стрелки, то выступающие на фиг.1 и 2 не видимые здесь направляющие поверхности 15 ее направляющих ребер 12 скользят вдоль нижней стороны направляющих 20 на штуцере 2 вниз. Поэтому при повороте колпачка 1 в левую сторону самовскрывающая втулка 3 совершает вертикальное винтообразное движение вниз. Вследствие этого вертикального движения вниз бумаго- или картоноламинат, перекрывающий просвет штуцера 2, вначале в существенной мере прокалывается острым наконечником 24 просечного дорна 10 на нижней кромке втулки 3. При этом в кромке кружка ламината просто проделывается отверстие, то есть ламинат протыкается, но не взрезается. Под микроскопом видно, что материал ламината при прокалывании раздается во все стороны, а в месте прокола рвется. Реакция на движение протыкания передается через заделанное сваркой место выступающему краю 9 штуцера 2. Этот первый участок движения самовскрывающей втулки проявляет себя как решающий фактор. Так как при существующих технических решениях самовскрывающие втулки, непрерывно вращаясь, перемещаются по винтовой линии вниз, они, внедряясь поперечно в пленку, не в состоянии ее пронизать. В отличие от этого в предлагаемом решении втулка в начальной фазе перемещается в строго вертикальном направлении вниз. Острый наконечник ее просечного дорна входит при этом в пленку вниз под очень крутым углом и вначале проникает через нее практически точечно. К моменту, когда материал бумаго- картоно- или пластико-содержащего ламината оказывается пронизанным, втулка 3 достигает своего нижнего положения по отношению к штуцеру 2, то есть направляющие поверхности 15 на их направляющих ребрах 12 находятся теперь на конце наклонно расположенной направляющей 22 на внутренней стенке штуцера или в начале горизонтального участка 21 направляющей. Если теперь поворотный колпачок 1 поворачивается далее против часовой стрелки, то и втулка 3 поворачивается против часовой стрелки, но при этом она более не продвигается вниз, а совершает поворот в горизонтальной плоскости. Просечной дорн, проступающий сквозь ламинат, своей острой режущей кромкой 11 действует в пленке как нож. Режущая кромка 11 вырезает при этом из бумаго- или картоноламината вдоль нижней внутренней кромки штуцера 2 круглый диск. Диапазон поворота втулки при вырезании составляет около 340°. В конце этого движения вырезанный диск просто повисает на тонкой перемычке материала и под действием силы давления режущей кромки 11 в направлении резания откидывается вниз в упаковку и остается в этом положении. Поэтому данное укупорочное самовскрывающееся действует по принципу классического приспособления для вскрывания консервных жестяных банок. При их открывании решающим является то, что крышка сначала протыкается, и именно сугубо вертикальным движением острия режущего инструмента сквозь нее. И лишь после того, как крышка банки проколота острием режущего инструмента, следует другое, на этот раз в отличие от названного выше, движение режущего инструмента по горизонтальной траектории. На точно такую же последовательность действий рассчитано предлагаемое укупорочное самовскрывающееся устройство, при этом втулка сначала движется вертикально вниз и в первой фазе острием 24 просечного дорна 10 просто протыкает пленку, а после этого, во второй фазе, своей режущей кромкой 11 действует как вскрывающий инструмент, при этом втулка поворачивается в горизонтальной плоскости. Таким образом, важным признаком предложенного устройства является то, что втулка движется неравномерно. За вертикальным перемещением вниз для протыкания пленки следует момент прерывания, а затем – горизонтальное вращательное движение для вырезания. Протыкание и вскрывание являются отличительными чертами, подобно тому, как это происходит при вскрывании металлической консервной банки с помощью упомянутого приспособления. На внутренней стороне штуцера 2 в его нижней части имеется выемка 25, которая с обеих сторон обрамляется рампами 26. В конечной фазе поворотного движения втулки 3 горизонтальный участок 21 заставляет одно из направляющих ребер 12 скользить через рампу 26 и фиксироваться в этой выемке 25. После этого втулка 3 не может поворачиваться ни далее, ни назад, так что она в результате после завершившегося вырезания и сбрасывания диска из ламината остается в этом положении. При этом почти полностью вырезанный диск ламината остается аккуратно повернутым вниз в упаковку для жидкостей. До полного завершения процесса вырезания, то есть пока не завершится поворот втулки 3 на 340° после происшедшего протыкания ламината, поворотный колпачок 1 на штуцере 2 может вывинчиваться до тех пор, пока выступающие вниз цилиндрические сегменты 17, 18 на нижней стороне свода колпачка не выйдут из сцепления с перегородкой 23 втулки 3 и тем самым не смогут далее передавать на них вращающий момент. Поворотный колпачок 1, наконец, полностью свинчивается со штуцера 2, и жидкость может теперь выливаться через освобожденный внутри штуцер 2, или, в случае сыпучих продуктов, они могут высыпаться через штуцер 2. После этого поворотный колпачок 1 опять навинчивается на штуцер 2 для его закрывания. Повторное навинчивание поворотного колпачка 1 на штуцер для его закрывания не приводит к передаче вращающего момента по часовой стрелке от нижних кромок цилиндрических сегментов 17, 18, винтообразно пролегающих вниз, на перегородку 23, при этом указанные винтообразные нижние кромки просто проскальзывают по верхней стороне поперечной перегородки 23, не имея, однако, при этом возможности снова захватить ее.
[0010] На приведенных чертежах фиг.4 и 5 особенно хорошо показано функционирование этого самовскрывающегося укупорочного устройства. Фиг.4 показывает при этом устройство в собранном состоянии в аксонометрической проекции в виде снизу. Самовскрывающая втулка 3 находится в исходном состоянии. У ее верхней кромки виден фрагмент поперечной перегородки 23, соединяющий друг с другом ее верхнюю кромку в двух местах. Эта перегородка размещается между двумя цилиндрическими ограждающими сегментами 17, 18, сформованными на нижней стороне свода поворотного колпачка 1. Если колпачок 1 поворачивать в сторону открывания, то есть в приведенном здесь изображении с видом снизу по часовой стрелке, то цилиндрические сегменты 17, 18 захватывают находящуюся между ними поперечную перегородку 23 и при этом втулку 3, вследствие чего она благодаря приспособленным для этого направляющим ребрам 12 на ее внешней стороне и направляющей 20 на внутренней стороне штуцера 2 вынуждена опускаться вниз по крутой спирали. При этом острый наконечник 24 просечного дорна 10 вначале протыкает приваренный к нижней стороне выступа 9 штуцера бумаго- или картоноламинат комбинированной упаковки.
[0011] На фиг.5 показано самовскрывающееся укупорочное устройство с самовскрывающей втулкой в выдвинутом состоянии, то есть в крайней нижней позиции. По достижении втулкой 3 этой позиции она может поворачиваться далее лишь только в горизонтальной плоскости, при этом просечной дорн 10 уже выполняет роль резца, так как его край, видимый здесь снизу и ориентированный в направлении по часовой стрелке, выполнен в виде острой режущей кромки 11. Эта режущая кромка 11 при дальнейшем повороте колпачка 1 на 340° движется вдоль нижнего внутреннего края штуцера 2 и при этом вырезает круглый диск из бумаго- или картоноламината, приваренного к нижней поверхности выступа 9, здесь не обозначенного. Как только втулка 3 после исполненного протыкания бумаголамината совершила поворот на 340°, конец горизонтального участка 13 ее направляющего ребра 12 фиксируется в выемке 25 на внутренней стенке штуцера 2 и предотвращает дальнейший поворот втулки 3 в ту или другую сторону. Втулка 3 в этой позиции поместила почти полностью вырезанный кружок из ламината вниз, в направлении упаковки, и он надежно удерживается в этом положении. Таким образом, доступ через штуцер наружу освобожден.
[0012] На фиг.6 показан выливной штуцер 2 и втулка 3 самовскрывающегося укупорочного устройства в собранном состоянии в аксонометрической проекции при виде снизу, при этом, однако, самовскрывающая втулка 3 представлена полностью освобожденной от штуцера 2, чтобы более наглядно показать особое расположение ее направляющих ребер 12 и тем самым лучше понять их функцию.
[0013] Фиг.7 показывает еще одно альтернативное исполнение этого укупорочного устройства для установки на заделанную пленкой горловину какой-либо емкости или бутыли. Поэтому выливной штуцер 2 на своей нижней стороне не имеет выступа, но за буртиком 27 он переходит в винтовую муфту 28, которая может быть соединена с внешней резьбой горловины бутыли, или навинчена на выливной штуцер какой-либо емкости, заделанной в своей верхней части пленочным материалом.
Формула изобретения
1. Самовскрывающееся укупорочное устройство для композитных упаковок, а также штуцеров упаковок, закрытых пленочным материалом, содержащее штуцер (2), который может быть герметично приварен к композитной упаковке или установлен на закрытый пленочным материалом штуцер упаковки, принадлежащий устройству поворотный колпачок (1), а также расположенный внутри штуцера (2) самовскрыватель (3), приводимый во вращение от поворотного колпачка (1), отличающееся тем, что внутренняя сторона штуцера (2) оснащена по меньшей мере двумя направляющими (20) с изменяющимся наклоном, размещенными по ее внутреннему периметру так, что выполненный в виде втулки самовскрыватель (3), на внешней стороне которого расположены по меньшей мере два направляющих ребра (12) с направляющими поверхностями (15) при равномерном вращении внутри штуцера (2) вследствие взаимодействия направляющих поверхностей (15) и направляющих (20) сначала следует по направленной вниз крутой винтовой линии и после этого переходит в чистый поворот в горизонтальной плоскости.
2. Самовскрывающееся укупорочное устройство для композитных упаковок, а также штуцеров упаковок, закрытых пленочным материалом по п.1, отличающееся тем, что самовскрыватель выполнен в виде втулки (3), имеющей на своей нижней кромке по меньшей мере один просечной дорн (10) с выступающим вниз острым наконечником (24), который имеет на своей боковой стороне острую кромку (11), направленную против часовой стрелки по периметру при виде сверху.
3. Самовскрывающееся укупорочное устройство для композитных упаковок, а также штуцеров упаковок, закрытых пленочным материалом по п.1, отличающееся тем, что поворотный колпачок (1) на внутренней стороне своего свода имеет по меньшей мере два свободно стоящих распределенных по периметру отстоящих друг от друга цилиндрических ограждающих сегмента (17, 18), и что самовскрыватель выполнен в виде втулки (3), которая на внутренней стороне своей верхней кромки имеет по меньшей мере одну прямую или изогнутую перегородку (23), пролегающую радиально от ее оси и перекрывающую ее по диаметру, данная перегородка (23) входит в промежуток между цилиндрическими ограждающими сегментами (17, 18) на поворотном колпачке (1), при этом стенка втулки оказывается находящейся между цилиндрическими ограждающими сегментами (17, 18) и стенками штуцера, и что втулка (3) на своей внешней стороне имеет по меньшей мере два расположенных на ней и распределенных по ее периметру направляющих ребра (12), взаимодействующих парами с равным числом направляющих (20), расположенных на внутренней стороне штуцера (2) и распределенных по ее периметру таким образом, что при повороте колпачка (1) его вращающий момент переносится через боковые ограничивающие кромки цилиндрических ограждающих сегментов (17, 18) на поперечную перегородку (23) и вместе с этим на втулку (3), и что направляющие ребра (12) на втулке (3) и штуцере (2) выполнены так, что втулка (3) при повороте перемещается сначала по винтообразной линии, направленной круто вниз, и затем переходит во вращение в чистом виде в горизонтальной плоскости.
4. Самовскрывающееся укупорочное устройство по п.1, отличающееся тем, что поворотный колпачок (1) на внутренней стороне своего свода имеет два свободно стоящих распределенных по периметру отстоящих друг от друга цилиндрических ограждающих сегмента (17, 18), и что самовскрыватель выполнен в виде втулки (3), которая на внутренней стороне своей верхней кромки имеет по меньшей мере одну прямую или изогнутую поперечную перегородку (23), перекрывающую ее по диаметру и входящую в промежуток между цилиндрическими ограждающими сегментами (17, 18) на поворотном колпачке (1), при этом стенка втулки оказывается находящейся между цилиндрическими ограждающими сегментами (17, 18) и стенками штуцера, и что втулка (3) на своей внешней стороне имеет по меньшей мере два расположенных на ней и распределенных по ее периметру направляющих ребра (12), взаимодействующих парами с равным числом направляющих (20), расположенных на внутренней стороне штуцера (2) и распределенных по ее периметру таким образом, что при повороте колпачка (1) его вращающий момент переносится через боковые ограничивающие кромки цилиндрических ограждающих сегментов (17, 18) на поперечную перегородку (23) и вместе с этим на втулку (3), и что направляющие (12) на втулке (3) и штуцере (2) выполнены так, что втулка (3) при повороте перемещается сначала по винтообразной линии, направленной круто вниз, и затем переходит во вращение в чистом виде в горизонтальной плоскости.
5. Самовскрывающееся укупорочное устройство по п.1, отличающееся тем, что поворотный колпачок (1) на внутренней стороне своего свода имеет три свободно стоящих распределенных по периметру отстоящих друг от друга цилиндрических ограждающих сегмента (17, 18), и что самовскрыватель выполнен в виде втулки (3), которая на внутренней стороне своей верхней кромки имеет звездообразную перегородку (23) из трех перегородок, пролегающих радиально от оси втулки и входящих в промежутки между цилиндрическими ограждающими сегментами (17, 18) на поворотном колпачке (1), при этом стенка втулки оказывается находящейся между цилиндрическими ограждающими сегментами (17, 18) и стенками штуцера, и что втулка (3) на своей внешней стороне имеет по меньшей мере два расположенных на ней и распределенных по ее периметру направляющих ребра (12), которые взаимодействуют парами с равным числом направляющих (20), расположенных на внутренней стороне штуцера (2) и распределенных по его периметру таким образом, что при повороте колпачка (1) его вращающий момент переносится через боковые ограничивающие кромки цилиндрических ограждающих сегментов (17, 18) на поперечную перегородку (23) и вместе с этим на втулку (3), и что направляющие ребра (12) на втулке (3) и штуцере (2) выполнены так, что втулка (3) при повороте перемещается сначала по винтообразной линии, направленной круто вниз, и затем переходит во вращение в чистом виде в горизонтальной плоскости.
6. Самовскрывающееся укупорочное устройство по любому из пп.3-5, отличающееся тем, что нижние кромки цилиндрических ограждающих сегментов (17, 18) образуют в осевом направлении по отношению к цилиндрам одинаковые ниспадающие кривые.
7. Самовскрывающееся укупорочное устройство по любому из пп.1-5, отличающееся тем, что направляющие ребра (12) на самовскрывающей втулке (3) и направляющие (20) на штуцере (2) выполнены так, что направляющие ребра (12) на внешней стороне самовскрывающей втулки (3) состоят каждая из горизонтального участка (13) и примыкающего к нему вертикального участка (14), при этом вершина прямого угла, образуемого этими участками (13, 14) по отношению к его внешним сторонам, стесана под углом 45°, благодаря чему образована направляющая поверхность (15), и что направляющие (20) на внутренней стороне штуцера (2) состоят каждая из наклонно пролегающего по периметру стенки участка (22) с сохраняющимся наклоном и прилегающего к нему горизонтального участка (21).
8. Самовскрывающееся укупорочное устройство по любому из пп.1-5, отличающееся тем, что на нижней внутренней кромке штуцера (2) имеется выемка (25), с обеих сторон обрамленная рампами (26) и предназначенная для размещения конца направляющего ребра (12) самовскрывающей втулки (3) в конечной позиции ее движения при вращении.
9. Самовскрывающееся укупорочное устройство по любому из пп.1-5, отличающееся тем, что втулка (3) имеет расположенные на ее внешней стороне и распределенные по ее периметру три или четыре направляющих ребра (12), которые взаимодействуют с таким же числом направляющих (20), расположенных на внутренней стороне штуцера (2) и распределенных по ее периметру таким образом, что при повороте колпачка (1) его вращающий момент передается через боковые граничные кромки цилиндрических ограждающих сегментов (17, 18) на поперечную перегородку (23) и тем самым на втулку (3), и что направляющие (12) на втулке (3) и штуцере (2) выполнены так, что втулка (3) при повороте сначала следует направленной круто вниз винтовой линии и после этого переходит в чистый поворот в горизонтальной плоскости.
10. Самовскрывающееся укупорочное устройство по любому из пп.1-5, отличающееся тем, что выливной штуцер (2) выполнен в виде резьбового штуцера, а поворотный колпачок (1) – в виде входящего в устройство резьбового колпачка, или что выливной штуцер (2) и поворотный колпачок (1) вместе образуют байонетный затвор, и что выливной штуцер (2) в своей нижней части снабжен выступом (7), скошенным на своей верхней стороне, а на своей нижней стороне образующим окаймляющий кант (8), и что поворотный колпачок (1) у своей нижней кромки имеет сформованный через тонкие перемычки (5), выполненные в расчете на их обрывание, гарантийный поясок (4), необратимо надеваемый через выступ (7).
РИСУНКИ
|
|