|
|
(21), (22) Заявка: 2005113380/11, 03.05.2005
(24) Дата начала отсчета срока действия патента:
03.05.2005
(43) Дата публикации заявки: 10.11.2006
(46) Опубликовано: 10.01.2008
(56) Список документов, цитированных в отчете о поиске:
US 6298786 В1, 09.10.2001. US 3070018 А, 25.12.1962. RU 2076058 C1, 27.03.1997. US 5372071 A, 13.12.1994. RU 2238227 C1, 20.10.2004. Основы конструирования ракет-носителей космических аппаратов: Учебник для студентов вузов / Под ред. В.П.Мишина, В.К.Карраска. – М.: Машиностроение, 1991, с.225, п.7.1; с.356, рис.10.31.
Адрес для переписки:
456300, Челябинская обл., г. Миасс, Тургоякское ш., 1, ФГУП “ГРЦ “КБ им. акад. В.П. Макеева”
|
(72) Автор(ы):
Губин Борис Аркадьевич (RU), Добшиков Евгений Прокопьевич (RU), Яцков Валерий Павлович (RU)
(73) Патентообладатель(и):
Федеральное государственное унитарное предприятие “Государственный ракетный центр “КБ им. акад. В.П. Макеева” (RU)
|
(54) ГОЛОВНОЙ ОБТЕКАТЕЛЬ РАКЕТЫ И СПОСОБ ЕГО РАЗДЕЛЕНИЯ
(57) Реферат:
Изобретение относится к ракетно-космической технике и может быть использовано при изготовлении обтекателей ракет, разделяемых на отдельные панели. Головной обтекатель ракеты содержит корпус, выполненный в виде замкнутой с одного торца оболочки, со шпангоутом на другом незамкнутом торце, трубчатые силовозбудители. Корпус в плоскости разделения обтекателя имеет ослабленное сечение. Симметрично плоскости разделения корпус образует внутренние замкнутые камеры с размещенными в них трубчатыми силовозбудителями направленного действия. Камеры образованы оболочкой корпуса, его продольными ребрами. Стенки ребер обращены к плоскости разделения и выполнены параллельно этой плоскости и подкреплены поперечными конструктивными элементами, замкнутыми на оболочку корпуса. Съемные крышки закреплены на продольных ребрах камер крепежными элементами и имеют в плоскости разделения обтекателя ослабленные сечения, аналогичные ослабленным сечениям, выполненным в корпусе, и эквивалентные им по площади. Технический результат направлен на упрощение технологии изготовления обтекателя, исключение в процессе и после его разделения динамического воздействия на ракету, исключение соударения элементов конструкции обтекателя в процессе и после его отделения от ракеты и разделения. 3 з.п. ф-лы, 4 ил.
Изобретение относится к ракетно-космической технике и может быть использовано при создании головных обтекателей ракет.
Среди существующих головных обтекателей ракет можно выделить семейство разделяющихся обтекателей, состоящих из отдельных панелей (см. заявки Японии №58-2120, дата публикации 14 января 1983 г., №59-26520, дата публикации 28 июня 1984 г., №62-56840, дата публикации 27 ноября 1987 г., – МКИ В64G 1/64), к главным недостаткам которых относится наличие сложных устройств и систем, соединяющих панели в единый обтекатель и разделяющих его в нужный момент на отдельные панели, что приводит к усложнению технологии изготовления обтекателя и к увеличению его весовых характеристик.
В качестве прототипа к заявляемому головному обтекателю и способу его разделения может быть принят обтекатель (см. заявку Японии №63-57280, дата публикации 10 ноября 1988 г., – МКИ 4 В64G 1/64), состоящий из шарнирно соединенных между собой панелей, способ разделения которого основан на срабатывании пиротехнического трубчатого силовозбудителя направленного действия, в результате чего срезаются ослабленные сечения оси шарнирного соединения панелей обтекателя. Он также имеет сложную систему соединения панелей обтекателя, а после его разделения, кроме отдельных панелей, остаются элементы конструкции оси их шарнирного соединения, которые могут соударяться с полезной нагрузкой ракеты.
Технической задачей изобретения как в отношении устройства, так и в отношении способа является создание разделяющегося на отдельные панели головного обтекателя, исключающего:
– процесс сборки обтекателя из этих отдельных панелей и конструктивные элементы для соединения панелей;
– динамическое воздействие на ракету (полезную нагрузку) и соударение элементов конструкции обтекателя в процессе и после его отделения от ракеты и разделения.
Поставленная техническая задача решается тем, что корпус головного обтекателя выполнен из цельной замкнутой с одного торца оболочки со шпангоутом на другом незамкнутом торце. В плоскости разделения корпус обтекателя имеет ослабленное сечение, например включающее, и перфорацию и симметрично плоскости разделения образует внутренние, замкнутые камеры, в которых размещены трубчатые силовозбудители направленного действия.
Внутренние замкнутые камеры образованы оболочкой корпуса его продольными ребрами, у которых стенки, обращенные к плоскости разделения, выполнены параллельно ей, и съемными крышками, имеющими в плоскости разделения обтекателя ослабленные сечения, аналогичные выполненным в корпусе и эквивалентные им по площади. Ребра стенок камеры подкреплены поперечными конструктивными элементами, замкнутыми на оболочку корпуса. Съемные крышки закреплены на ребрах камеры крепежными элементами, например ступенчатыми (презонными) винтами.
При наличии в ослабленном сечении корпуса перфорации обтекатель снабжен с наружной стороны оболочки узлом герметизации, представляющим собой, например, два расположенных симметрично плоскости разделения уплотнителя трубчатого профиля из упругого материала. Герметизация происходит за счет перекрытия перфорации трубками профиля уплотнителя поджатием их к оболочке и к друг другу уголками, закрепленными на оболочку по разные стороны от плоскости разделения и не контактирующими между собой.
Трубчатые силовозбудители снабжены пиротехническими системами их задействования, представляющими собой, например, набор высокостабильных детонирующих шнуров, размещенных в герметичных корпусах силовозбудителей. Корпуса силовозбудителей образованы трубками из пластичного и прочного материала, например стали, с двумя параллельными гранями, полученными деформацией первоначально круглой трубки корпуса в размер, соотносимый с беззазорным размещением их параллельных граней между стенками ребер корпуса обтекателя, образующих его замкнутые камеры, а толщина корпусов силовозбудителей и их габаритные размеры определяются требованием их герметичности после срабатывания пиротехнической системы и условиями разделения обтекателя.
Трубчатые силовозбудители вне зон их размещения в замкнутых камерах обтекателя зафиксированы на оболочке по одну сторону от плоскости разделения посредством узлов крепления, например хомутов.
Способ разделения головного обтекателя ракеты основан на разделении цельной оболочки обтекателя на отдельные панели путем срабатывания трубчатых силовозбудителей направленного действия после отделения обтекателя от ракеты таким образом, что после разделения отсутствуют осколки элементов конструкции, кроме отдельных панелей обтекателя, которые приобретают импульс для безударного отхода от ракеты в поперечном относительно ее продольной оси направлении.
Таким образом, заявляемый головной обтекатель и способ его разделения объединены единым изобретательским замыслом. Сущность изобретения поясняется фиг.1÷4.
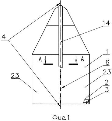
На фиг.1 изображен общий вид головного обтекателя ракеты; на фиг.2 – разрез А-А на фиг.1; на фиг.3 показан вид Б на фиг.2 – вид на обтекатель изнутри; на фиг.4 – сечение В-В на фиг.3, по креплению трубчатого силовозбудителя.
Головной обтекатель ракеты (фиг.1) для осуществления способа содержит корпус 1, выполненный из цельной замкнутой с одного торца оболочки 2, со шпангоутом 3 на другом незамкнутом торце. В плоскости разделения 4 корпус обтекателя имеет ослабленное сечение 5 (фиг.2), например, включающее и перфорацию 6, и симметрично плоскости разделения 4 образует внутренние замкнутые камеры 7, в которых размещены трубчатые силовозбудители 8 направленного действия. Ослабленное сечение 5 и перфорация 6 формируют поверхность разделения обтекателя на отдельные панели 23.
Внутренние замкнутые камеры 7 образованы оболочкой 2 корпуса 1, его продольными ребрами 9, у которых стенки 10, обращенные к плоскости разделения 4, выполнены параллельно ей, и съемными крышками 11 (фиг.2, 3), имеющими в плоскости разделения 4 обтекателя ослабленные сечения 5, аналогичные выполненным в корпусе и эквивалентные им по площади для создания условий равнопрочности и одновременности разрыва ослабленных сечений стенок камер 7 при динамическом ударе по их стенкам 10, возникающем в процессе срабатывания трубчатых силовозбудителей 8. Крышки 11 необходимы для того, чтобы динамический импульс в процессе разделения не тратился на изгиб и схлопывание краев панелей 23, а передавался на всю оболочку каждой панели 23 обтекателя, получив который они разлетаются в разные стороны относительно продольной оси обтекателя. Ребра 9 стенок камер 7 подкреплены для этой же цели поперечными конструктивными элементами 12, замкнутыми на оболочку 2 корпуса 1. Съемные крышки 11 закреплены на ребрах 9 камер 7 крепежными элементами, например ступенчатыми (презонными) винтами 13.
При наличии в ослабленном сечении 5 корпуса 1 перфорации 6 обтекатель снабжен с наружной стороны оболочки 2 узлом герметизации 14 (фиг.1, 2), представляющим собой, например, два расположенных симметрично плоскости разделения 4 уплотнителя 15 трубчатого профиля 16 из упругого материала. Герметизация происходит за счет перекрытия перфорации 6 трубками профиля 16 уплотнителя 15 поджатием их к оболочке 2 и к друг другу уголками 17, закрепленными на оболочку 2 по разные стороны от плоскости разделения 4 и не контактирующими между собой.
Трубчатые силовозбудители 8 (фиг.2) снабжены пиротехническими системами 18 их задействования, представляющими собой, например, набор высокостабильных детонирующих шнуров, размещенных в герметичных корпусах 19 силовозбудителей 8. Корпуса 19 силовозбудителей 8 образованы трубками из пластичного и прочного материала, например стали, с двумя параллельными гранями 20, полученными деформацией первоначально круглой трубки 21 (фиг.4) корпуса 19 в размер, соотносимый с беззазорным размещением их параллельных граней 20 между стенками ребер 9 корпуса 1 обтекателя, образующих его замкнутые камеры 7, а толщина корпусов 19 силовозбудителей 8 и их габаритные размеры определяются требованием их герметичности после срабатывания пиротехнической системы 18 и условиями разделения обтекателя.
Трубчатые силовозбудители 8 вне зон их размещения в замкнутых камерах 7 обтекателя для исключения их соударения после его разделения с ракетой зафиксированы на оболочке 2 по одну сторону от плоскости разделения 4 посредством узлов крепления, например хомутов 22 (фиг.4).
Способ разделения головного обтекателя ракеты (фиг.1) основан на разделении цельной оболочки 2 обтекателя на отдельные панели 23 после отделения обтекателя от ракеты путем срабатывания размещенных в ней (фиг.2, 3) трубчатых силовозбудителей 8 направленного действия таким образом, что после разделения отсутствуют осколки элементов конструкции, кроме разделенных панелей 23 обтекателя, которые за счет направленного действия силовозбудителей 8 приобретают импульс для безударного отхода от ракеты в поперечном относительно ее продольной оси направлении.
Разделяется обтекатель следующим образом. После его отделения от ракеты одним из известных способов подается электрическая команда на задействование трубчатых силовозбудителей 8 (фиг.2, 3), после чего срабатывает набор высокостабильных детонирующих шнуров 18 и создается избыточное давление внутри герметичных корпусов 19 трубчатых силовозбудителей 8, сдеформированные трубки (грани 20) которых, принимая первоначально круглое положение, разрывают по ослабленным сечениям 5 оболочку 2 корпуса 1 и крышки камер 7, разделяя тем самым головной обтекатель на отдельные панели 23, придав им импульс для безударного отхода от ракеты. Такое разделение обтекателя исключает динамическое воздействие от него на ракету.
Предлагаемая конструкция обтекателя и способ его разделения позволяют решить поставленную техническую задачу, исключая по сравнению с прототипом:
– процесс сборки обтекателя из отдельных панелей и конструктивные элементы для их соединения;
– динамическое воздействие на ракету (полезную нагрузку) и соударение элементов конструкции обтекателя в процессе и после его отделения от ракеты и разделения.
Это позволяет упростить технологию изготовления обтекателя и приводит к значительному уменьшению его весовых характеристик.
Формула изобретения
1. Головной обтекатель ракеты, содержащий корпус с ослабленным сечением в плоскости разделения обтекателя, выполненный в виде замкнутой с одного торца оболочки, со шпангоутом на другом незамкнутом торце, и трубчатые силовозбудители, отличающийся тем, что корпус симметрично плоскости разделения образует внутренние замкнутые камеры с размещенными в них трубчатыми силовозбудителями направленного действия, при этом внутренние замкнутые камеры образованы оболочкой корпуса, его продольными ребрами, у которых стенки обращены к плоскости разделения и выполнены параллельно этой плоскости, подкреплены поперечными конструктивными элементами, замкнутыми на оболочку корпуса, а также съемными крышками, закрепленными на продольных ребрах камер крепежными элементами, например ступенчатыми винтами, и имеющими в плоскости разделения обтекателя ослабленные сечения, аналогичные ослабленным сечениям, выполненным в корпусе, и эквивалентные им по площади.
2. Обтекатель по п.1, отличающийся тем, что при наличии в ослабленном сечении корпуса перфорации он снабжен с наружной стороны оболочки узлом герметизации, представляющим собой, например, два расположенных симметрично плоскости разделения уплотнителя трубчатого профиля из упругого материала, перекрывающих перфорацию за счет поджатия трубок уплотнителей к оболочке и к друг другу уголками, закрепленными на оболочке по разные стороны от плоскости разделения и не контактирующими между собой.
3. Обтекатель по п.1, отличающийся тем, что трубчатые силовозбудители имеют пиротехнические системы их задействования, представляющие собой, например, набор высокостабильных детонирующих шнуров, размещенных в герметичных корпусах силовозбудителей, образованных трубками из пластичного и прочного материала, например стали, с двумя параллельными гранями, полученными деформацией первоначально круглой трубки в размер, соотносимый с беззазорным размещением параллельных граней между стенками ребер корпуса обтекателя, образующих его замкнутые камеры, а толщина корпусов силовозбудителей и их габаритные размеры определяются требованиями герметичности корпусов после срабатывания пиротехнической системы и условиями разделения обтекателя.
4. Обтекатель по п.1, отличающийся тем, что трубчатые силовозбудители вне зон их размещения в замкнутых камерах зафиксированы на оболочке корпуса по одну сторону от плоскости разделения посредством узлов крепления, например хомутов.
РИСУНКИ
PD4A – Изменение наименования обладателя патента СССР или патента Российской Федерации на изобретение
(73) Новое наименование патентообладателя:
Открытое акционерное общество «Государственный ракетный центр имени академика В.П. Макеева» (RU)
Адрес для переписки:
456300, Челябинская обл., г. Миасс, Тургоякское ш., 1, ОАО «ГРЦ Макеева»
Извещение опубликовано: 10.09.2009 БИ: 25/2009
|
|