|
|
(21), (22) Заявка: 2006110424/11, 31.03.2006
(24) Дата начала отсчета срока действия патента:
31.03.2006
(46) Опубликовано: 10.01.2008
(56) Список документов, цитированных в отчете о поиске:
RU 2238867 С2, 27.10.2004. RU 2259294 C1, 27.08.2005. RU 2025358 C1, 30.12.1994. RU 2185300 C2, 20.07.2002.
Адрес для переписки:
443066, г.Самара, 1-й Безымянный пер., 18, СамГАПС, патентный отдел
|
(72) Автор(ы):
Лисенков Виктор Михайлович (RU), Бестемьянов Петр Филимонович (RU), Полевой Юрий Иосифович (RU)
(73) Патентообладатель(и):
Государственное образовательное учреждение высшего профессионального образования “Самарская государственная академия путей сообщения” (СамГАПС) (RU)
|
(54) СПОСОБ КОНТРОЛЯ СВОБОДНОГО СОСТОЯНИЯ РЕЛЬСОВОЙ ЛИНИИ
(57) Реферат:
Изобретение относится к железнодорожной технике, а именно к железнодорожной автоматике и телемеханике для интервального регулирования движения поездов. Способ заключается в том, что в рельсовую линию на одном конце подают переменное напряжение, а на другом конце контролируют изменение напряжения в зависимости от координаты поездного шунта, при вступлении поезда на смежную рельсовую линию фиксируют опорное напряжение, по которому определяют пороговые значения, с которыми сравнивают текущее значение напряжения приемного конца, при снижении текущего напряжения ниже порогового напряжения занятия фиксируют занятие рельсовой линии, при повышении текущего напряжения выше порогового напряжения освобождения фиксируют освобождение рельсовой линии. При длительном занятии рельсовой линии первого пути или смежных с ней рельсовых линий более 15 мин за опорное напряжение принимают текущее напряжение рельсовой линии второго пути перегона при свободности ее и обеих смежных с ней рельсовых линий, а при занятии любой из упомянутых рельсовых линий второго пути в качестве опорного напряжения принимают текущее напряжение рельсовой линии междупутья, при этом пороговые напряжения определяются с учетом поправки на то, что сопротивление изоляции между рельсами меньше сопротивления изоляции между путями. Техническим результатом изобретения является повышение надежности контроля состояния рельсовой линии. 2 ил.
Изобретение относится к железнодорожной технике, а именно к железнодорожной автоматике и телемеханике для регулирования движения поездов.
Известен способ контроля свободного состояния рельсовой линии, заключающийся в том, что текущее значение напряжения на приемном конце сравнивают с пороговым значением. При превышении текущего значения над пороговым фиксируют свободность путевого участка, в противном случае – занятость [Котляренко Н.Ф. Путевая блокировка и авторегулировка. – М.: Транспорт, 1983].
Недостатком этого способа является то, что при понижении сопротивления изоляции ниже нормативного значения возможен контроль ложной занятости.
Известен также способ контроля свободного состояния рельсовой линии, заключающийся в том, что в рельсовую линию на одном конце подают сигнал переменного тока, а на другом конце контролируют изменение сигнала в зависимости от координаты поездного шунта, при вступлении поезда на смежную рельсовую линию фиксируют опорное напряжение, по значению которого определяют пороговые напряжения занятия и освобождения, с которыми сравнивают текущее напряжение премного конца, при снижении текущего напряжения ниже порога занятия фиксируют занятие рельсовой линии, а при повышении текущего и превышении порога освобождения – освобождение рельсовой линии [Патент РФ 2238867. Способ контроля свободности путевых участков, опубл. 27.10.2004 г., БИ №30].
Недостатком этого способа является то, что при интенсивном выпадении осадков и остановке поезда на рельсовой линии возможен ложный контроль занятости при фактической свободности.
Данное техническое решение выбрано авторами в качестве прототипа.
Техническим результатом является повышение надежности контроля состояния рельсовой линии.
Технический результат достигается тем, что способ контроля свободного состояния рельсовой линии заключается в том, что в рельсовую линию на одном конце подают переменное напряжение, а на другом конце контролируют изменение напряжения в зависимости от координаты поездного шунта, при вступлении поезда на смежную рельсовую линию фиксируют опорное напряжение, по которому определяют пороговые значения, с которыми сравнивают текущее значение напряжения приемного конца, при снижении текущего напряжения ниже порогового напряжения занятия фиксируют занятие рельсовой линии, при повышении текущего напряжения выше порогового напряжения освобождения фиксируют освобождение рельсовой линии, причем при длительном занятии рельсовой линии первого пути или смежных с ней рельсовых линий (15 мин) отслеживают напряжение рельсовой линии второго пути перегона при свободности ее и обеих смежных с ней рельсовых линий, а при занятии любой из упомянутых рельсовых линий второго пути в качестве опорного напряжения принимают текущее напряжение рельсовой линии междупутья, при этом пороговые напряжения определяются с учетом поправки на то, что сопротивление изоляции между рельсами меньше сопротивления изоляции между путями.
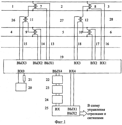
На фиг.1 приведена схема подключения приборов рельсовых линий первого и второго путей перегона, а также рельсовых линий междупутья (для контроля сопротивления изоляции междупутья), на фиг.2 изображена кривая зависимости сопротивления изоляции между рельсами rи от сопротивления изоляции между путями rим.
На фиг.1 представлены три рельсовые линии первого (верхнего) пути 1, 2 и 3, три рельсовые линии второго пути 4, 5 и 6, путевые трансформаторы верхнего пути 7 и 8, путевые трансформаторы нижнего пути 9 и 10, путевые трансформаторы рельсовой цепи междупутья 11 12, соединительные линии (жилы кабеля, связывающие напольные объекты перегона со станционными устройствами) 13, 14, 15, 16, 17, 18, коммутирующее устройство 19, генератор 20, ограничивающий резистор 21, фильтр сигнальной частоты 22, выпрямитель 23, аналого-цифровой преобразователь (АЦП) 24, вычислительное устройство (ВУ) 25. Кроме того, организованы еще три рельсовые линии – рельсовые линии междупутья 26, 27 и 28.
Приборы схемы соединены следующим образом. К выходу генератора 20 через ограничивающий резистор 21 подсоединен вход ВХ0 коммутирующего устройства 19. Выход ВЫХ4 коммутирующего устройства 19 через фильтр сигнальной частоты 22, выпрямитель 23 и АЦП 24 соединен с входом ВУ 25, первый выход которого соединен с входом ВХ4 переключающего устройства 19. Выход ВЫХ1 переключающего устройства 19 посредством линии 13 через путевой трансформатор 7 соединен с одним концом рельсовой линии 2, к другому концу которой через путевой трансформатор 8 и линию 15 подсоединен вход ВХ1 коммутирующего устройства 19. Выход ВЫХ2 коммутирующего устройства 19 посредством линии 14 через путевой трансформатор 9 соединен с одним концом рельсовой линии 5, к другому концу которой через путевой трансформатор 10 и линию 17 подсоединен вход ВХ2 коммутирующего устройства 19. Выход ВЫХ3 коммутирующего устройства 19 посредством линии 15 через путевой трансформатор 11 соединен со средними точками путевых обмоток трансформаторов 7 и 9, к средним точкам путевых обмоток трансформаторов 8 и 10 через трансформатор 12 и линию 18 подсоединен вход ВХ3 коммутирующего устройства 19.
Действие способа контроля свободного состояния рельсовой линии осуществляется следующим образом. С выхода ВЫХ1 вычислительного устройства 25 на вход ВХ4 коммутирующего устройства 19 поступают сигналы на подсоединение к входам ВХ1, ВХ2 и ВХ3 выхода ВЫХ4, а также на подсоединение к выходам ВЫХ1, ВЫХ2 и ВЫХ3 входа ВХ0. Так, при контроле состояния рельсовой линии 2 генератор 20 посредством резистора 21 подсоединен к входу ВХ0 коммутирующего устройства 19, который за счет сигнала с вычислительного устройства 25 соединен с выходом ВЫХ1, который посредством линии 13 соединен с первой обмоткой путевого трансформатора 7, вторая обмотка которого соединен с одним концом рельсовой линии 2. Ко второму концу этой рельсовой линии подсоединена вторая обмотка путевого трансформатора 8, первая обмотка которого соединена посредством линии 6 с входом ВХ1 коммутирующего устройства 19. В этот момент вход ВХ1 соединен с выходом ВЫХ4 коммутирующего устройства 19, который посредством фильтра 22, выпрямителя 23 и АЦП 24 соединен с входом вычислительного устройства 25. Таким образом, на вход вычислительного устройства 25 циклически поступает информация о значениях напряжения на приемных концах всех рельсовых линий. В первом цикле поступает информация с рельсовых линий 1, 26 и 4, во втором – со 2, 27 и 5 линий, в третьем – с 3, 28 и 6 линий и т.д.
При свободном состоянии рельсовых линий 4, 5 и 6 текущее значение напряжения рельсовой линии 5 заносится в память и является опорным (базовым) для определения порогового напряжения рельсовой линии 5. Если одна из рельсовых линий 4, 5 или 6 не освобождается длительное время (15 мин), то при интенсивном выпадении осадков опорное напряжение может не отражать фактическое состояние сопротивления изоляции. Поэтому после истечения указанного времени за опорное напряжение принимают текущее напряжение рельсовой линии 2 при условии, что она и смежные с ней рельсовые линии 1 и 3 свободны. Если и одна из этих рельсовых линий занята, то за опорное напряжение принимают напряжение рельсовой линии 27 с учетом поправки на то, что сопротивление изоляции междупутья не равно сопротивлению изоляции рельсовой линии 5. Для определения упомянутой поправки экспериментально или расчетом определяется зависимость (фиг.2) сопротивления изоляции rи от сопротивления изоляции междупутья rим.
Предложенный способ позволяет обеспечивать достоверный контроль состояния рельсовой линии при любой интенсивности выпадения осадков на двухпутном участке.
Формула изобретения
Способ контроля свободного состояния рельсовой линии, заключающийся в том, что в рельсовую линию на одном конце подают переменное напряжение, а на другом конце контролируют изменение напряжения в зависимости от координаты поездного шунта, при вступлении поезда на смежную рельсовую линию фиксируют опорное напряжение, по которому определяют пороговые значения, с которыми сравнивают текущее значение напряжения приемного конца, при снижении текущего напряжения ниже порогового напряжения занятия фиксируют занятие рельсовой линии, при повышении текущего напряжения выше порогового напряжения освобождения фиксируют освобождение рельсовой линии, отличающийся тем, что при длительном занятии рельсовой линии первого пути или смежных с ней рельсовых линий более 15 мин за опорное напряжение принимают текущее напряжение рельсовой линии второго пути перегона при свободности ее и обеих смежных с ней рельсовых линий, а при занятии любой из упомянутых рельсовых линий второго пути в качестве опорного напряжения принимают текущее напряжение рельсовой линии междупутья, при этом пороговые напряжения определяются с учетом поправки на то, что сопротивление изоляции между рельсами меньше сопротивления изоляции между путями.
РИСУНКИ
MM4A – Досрочное прекращение действия патента СССР или патента Российской Федерации на изобретение из-за неуплаты в установленный срок пошлины за поддержание патента в силе
Дата прекращения действия патента: 01.04.2008
Извещение опубликовано: 27.03.2010 БИ: 09/2010
|
|