|
|
(21), (22) Заявка: 2005126946/11, 15.09.2003
(24) Дата начала отсчета срока действия патента:
15.09.2003
(30) Конвенционный приоритет:
13.09.2002 (пп.1-17) DE 10242736.4
(43) Дата публикации заявки: 27.01.2006
(46) Опубликовано: 10.01.2008
(56) Список документов, цитированных в отчете о поиске:
US 3924713 А, 09.12.1975. ЕР 0932539 A1, 04.08.1999. RU 2216467 C2, 20.11.2003. SU 1323439 A1, 15.07.1987. WO 9815725 A1, 16.04.1998.
(85) Дата перевода заявки PCT на национальную фазу:
25.08.2005
(86) Заявка PCT:
EP 03/10249 (15.09.2003)
(87) Публикация PCT:
WO 2004/026651 (01.04.2004)
Адрес для переписки:
129010, Москва, ул. Б.Спасская, 25, стр.3, ООО “Юридическая фирма Городисский и Партнеры”, пат.пов. С.А.Дорофееву
|
(72) Автор(ы):
ФОГЕЛЬЗАНГ Клаус (DE), ХАЙЛИНГЕР Петер (DE)
(73) Патентообладатель(и):
ФОЙТ ТУРБО ГМБХ УНД КО.КГ (DE)
|
(54) ПРИВОДНОЙ УЗЕЛ С ТОРМОЗОМ-ЗАМЕДЛИТЕЛЕМ
(57) Реферат:
Изобретение относится к области машиностроения, а именно к тормозным устройствам механических транспортных средств, в частности к транспортным средствам с сильно изменяющимся режимом эксплуатации. Приводной узел с охлаждающим контуром содержит гидродинамический тормоз-замедлитель с ротором, оснащенным направляющими лопатками, и статором, оснащенным направляющими лопатками. Гидродинамический тормоз-замедлитель расположен в охлаждающем контуре. Тормоз-замедлитель включает в себя средство для выпуска количества остаточной жидкости в режиме отсутствия торможения, преодолевающее внешнее давление, созданное охлаждающим контуром. Достигается значительное уменьшение гидравлических ударов при переключении из режима торможения в нетормозной режим и наоборот тормоза-замедлителя. 16 з.п. ф-лы, 4 ил.
Изобретение касается приводного узла, в частности, с признаками ограничительной части п.1 формулы изобретения.
В двигатели автомобилей или стационарные установки часто интегрирован тормоз-замедлитель в качестве средства для уменьшения скорости или, соответственно, числа оборотов. Тормоз-замедлитель при применении в автомобилях или в установках со значительным изменением режима работы включается или выключается путем заполнения или опорожнения рабочего контура с рабочей жидкостью.
Стационарные или передвижные устройства, например автомобили, в которые встроены названные выше приводные узлы, имеют, как правило, другие агрегаты, которые требуют охлаждения. В данном случае речь может идти, например, о двигателях, тормозах, сцеплении, передачах.
Указанные агрегаты могут также иметь систему охлаждения их рабочей среды.
Из многочисленных патентов известны тормоза-замедлители, в которых рабочей средой является охлаждающая среда автомобиля. При этом можно сослаться на EP 0716966 A1, WO 98/15725, EP 0885351 B1, EP 0932539 B1.
Недостатком этих известных тормозов-замедлителей является высокая теряемая мощность в режиме отсутствия торможения.
В US-A-3924713, который может рассматриваться в качестве ближайшего уровня техники, описан тормоз-замедлитель, в котором предусмотрено устройство для отсасывания газообразного объема изнутри рабочей полости тормоза-замедлителя, вследствие чего тормоз-замедлитель может быстрее заполняться и быстрее достигаться желаемый тормозной момент. Известные из этого документа признаки объединены в ограничительной части п.1 формулы изобретения.
Задачей изобретения является минимизация теряемой мощности в приводных узлах с подобными тормозами-замедлителями.
Задача решается с помощью приводного узла с признаками п.1 формулы изобретения. В особом варианте осуществления изобретения применяется цилиндр для отсасывания количества остаточной жидкости рабочей среды в режиме отсутствия торможения.
Теряемая мощность может быть еще в большей степени минимизирована, если ротор и/или статор рассчитаны с возможностью аксиального перемещения, так что между ротором и статором в режиме отсутствия торможения образуется большой зазор. Подобное решение для тормозов-замедлителей, использующих масло в качестве рабочей среды, описано в WO 98/35171. Содержание этого документа в полном объеме включено в настоящую заявку.
Другие предпочтительные варианты осуществления изобретения являются предметом зависимых пунктов формулы изобретения. Ниже изобретение описывается посредством чертежей, на которых:
Фиг.1 – первый вариант осуществления изобретения;
Фиг.2 и 3 – второй вариант осуществления изобретения;
Фиг.4 – третий вариант осуществления изобретения.
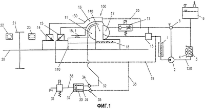
На фиг.1 показан вторичный тормоз-замедлитель 100, который приводится охлаждающей средой автомобиля. Теплота от охлаждающей среды отводится с помощью автомобильного радиатора 3 и при необходимости с помощью вентилятора 4, при этом с помощью термостата определяется, какое количество охлаждающей среды направляется через радиатор 3, а какое количество следует мимо него. Показанный на фиг.1 тормоз-замедлитель отличается очень низкой теряемой мощностью.
Согласно одному из первых мероприятий ротор 11, оснащенный лопатками, установлен с возможностью аксиального смещения на валу 110 ротора, так что ротор 11 может переводиться в рабочее положение близко к статору 12 или в состояние покоя со значительным расстоянием до статора 12. На фиг.1 тормоз-замедлитель показан в состоянии покоя. Относительно возможности смещения ротора следует обратиться к WO 98/35171.
Показанный на фиг.1 тормоз-замедлитель включает в себя ротор 11, который без возможности проворота и с односторонним закреплением установлен на установленном, например, в коробке передач быстроходном валу 110, так называемом валу тормоза-замедлителя. Вал 110 с подшипниками 22 и 23 приводится в действие через шестерню 21 от не показанного здесь выходного вала коробки передач. Ротор 11 продольно подвижен на валу 110 за счет не показанного здесь косозубого зацепления, так что имеется возможность регулировки расстояния между ротором и статором. Пружина 18 перемещает ротор 11 в режиме отсутствия торможения в показанное здесь положение с малыми потерями, т.е. между ротором и статором 12 имеется максимально возможный зазор. Тормоз-замедлитель имеет корпус 130 с внутренней полостью 16, при этом внутренняя полость 16 может заполняться охлаждающей средой и тогда функционировать в качестве охлаждающей рубашки. Пространство между ротором 11 и статором 12 называется рабочим пространством 140 и заполнено рабочей средой. Гидродинамический тормоз-замедлитель встроен в охлаждающий контур 120 автомобиля. Таким образом, в представленном варианте осуществления тормоза-замедлителя, его рабочей средой является охлаждающая среда автомобиля. Чтобы поддерживать потери при холостом ходе на низком уровне, необходимо в режиме отсутствия торможения опорожнять тормоз-замедлитель, при этом под опорожнением следует понимать выпуск определенного количества рабочей среды тормоза-замедлителя, которое предпочтительно приводит к минимальной теряемой мощности.
Процесс опорожнения, который в значительной степени выполняется за счет действия ротора 11 в качестве насоса, по существу управляется с помощью регулировочного клапана 17, однако, этому процессу препятствует положенное давление, которое устанавливается в уравнительном резервуаре 6 системы охлаждения автомобиля с помощью предохранительного клапана.
Из-за противодавления в охлаждающем контуре автомобиля тормоз-замедлитель имеет остаточное заполнение, которое соответственно внешнему противодавлению приводит к нежелательно высокой теряемой мощности. Поэтому в представленном на фиг.1 первом варианте осуществления изобретения дополнительно к увеличению зазора между ротором 11 и статором 12 в состоянии отсутствия торможения, часть неизбежного остаточного заполнения из контура тормоза-замедлителя отсасывается с помощью цилиндра 30. Отсасываемое количество задается таким образом, что контур тормоза-замедлителя постоянно работает с минимальной теряемой мощностью.
В представленном на фиг.1 первом варианте осуществления изобретения цилиндр 30 через трубопровод 32 соединен с контуром тормоза-замедлителя и через трубопровод 33 с контуром водяного охлаждения, т.е. с частью внешнего охлаждающего контура, к которому подсоединен внутренний контур тормоза-замедлителя. Кроме того, в трубопроводе 32 находится обратный клапан 34, а в трубопроводе 33 – обратный клапан 35. Представленное на фиг.1 состояние «тормоз выключен», т.е. состояние режима отсутствия торможения достигается с помощью удаления воздуха из трубопровода 38 через клапан 31. Поршень 37 в цилиндре 30 с помощью пружины 36 устанавливается в положение, в котором через трубопровод 32 и обратный клапан 34 из контура тормоза-замедлителя откачивается необходимое количество воды, чтобы обеспечить желаемый минимум теряемой мощности. Этот процесс регулярно повторяется после каждого отключения тормоза-замедлителя. Объем цилиндра 30 задается таким образом, что создающее помехи количество остаточной жидкости, которое приводит к нежелательным потерям тормоза-замедлителя в режиме отсутствия торможения, надежно принимается. Уравнительный резервуар 6 выполнен таким образом, что это количество остаточной жидкости не вызывает нарушения в работе системы охлаждения. Подобные нарушения в принципе возможны, так как контур тормоза-замедлителя забирает охлаждающую среду из замкнутого контура водяного охлаждения автомобиля и снова возвращает ее, при этом в уравнительном резервуаре изменяется уровень охлаждающей воды.
В представленном на фиг.1 варианте осуществления гидродинамический тормоз-замедлитель имеет три различных уплотнения. Одно постоянно омываемое охлаждающей средой уплотнение 14, которое представляет собой торцевое уплотнение с абсолютной герметичностью относительно внешней среды, здесь атмосферы. Другое уплотнение 15 по своей уплотнительной функции должно выполнять две задачи. В режиме отсутствия торможения охлаждающая жидкость, которая по трубопроводу 19 может постоянно протекать в качестве охлаждающего потока через внутреннюю полость 16 корпуса тормоза-замедлителя, абсолютно изолируется в направлении ротора и статора, т.е. уплотнение 15 в режиме отсутствия торможения выполняет уплотнительные функции. Щелевое кольцевое уплотнение 15.1 действует в режиме торможения как бесконтактное лабиринтное уплотнение, и охлаждающая жидкость протекает через уплотнение 15, которое в данном случае не обеспечивает герметичность. Это может быть реализовано, например, за счет того, что уплотнение 15 выполнено таким образом, что оно в определенной мере проницаемо в направлении от внутренней полости тормоза-замедлителя в сторону окружающей среды (в направлении влево на фиг.1) и герметично, или по существу герметично, в направлении от окружающей среды в сторону внутренней полости тормоза-замедлителя (в направлении вправо на фиг.1). При падении давления через уплотнение 15 в режиме торможения гарантировано, что на уплотнение 14 воздействует давление замкнутой (внешней) системы охлаждения.
Внутренняя полость 16 выполнена таким образом, что она функционирует в качестве отводящей тепло охлаждающей рубашки тормоза-замедлителя, в которую охлаждающая среда может поступать по трубопроводу 19 и отводиться по трубопроводу 20.
На фиг.2 и 3 представлены альтернативные варианты осуществления изобретения, которые отличаются тем, что цилиндр 40, оснащенный поршнем и пружиной, встроен посредством трубопроводов 41 и 42 в контур тормоза-замедлителя таким образом, что функция «отсасывания количества остаточной жидкости» осуществляется автоматически.
В режиме отсутствия торможения через трубопровод 41, который подсоединен к месту низкого давления в контуре охлаждения автомобиля, т.е. в направлении потока перед рабочей полостью тормоза-замедлителя, посредством нагружаемого нажимной пружиной поршня, осуществляется отсасывание количества остаточной жидкости из тормоза-замедлителя. В режиме отсутствия торможения именно нажимная пружина в цилиндре 40 преодолевает давление в трубопроводе 42, которое в режиме отсутствия торможения сравнительно низкое ввиду опорожненного тормоза-замедлителя.
В режиме торможения с помощью насоса 2 через переключающий клапан 13 тормоз-замедлитель 100 настраивается и заполняется охлаждающей жидкостью. В трубопроводе 42, который подсоединен со стороны поршня, противоположной нажимной пружине, в цилиндре 40, создается, именно теперь, в режиме торможения, относительно более высокое давление, так как трубопровод 42, как это можно видеть на фиг.2, подсоединен в направлении потока позади рабочей полости тормоза-замедлителя. Подсоединение трубопровода 42 в направлении потока позади клапана 17 приведено только в качестве примера. Как потом показано на фиг.4, подсоединение предпочтительно может быть осуществлено внутри клапана 17, а именно между обратным клапаном и дросселем. Таким образом, создаваемое тормозом-замедлителем давление передается через трубопровод 42 к стороне поршня, противоположной нажимной пружине в цилиндре 40. Таким образом, количество остаточной жидкости, находящееся в цилиндре 40, преодолевая давление усилия пружины, расположенной в цилиндре 40, для режима торможения снова автоматически отводится в контур тормоза-замедлителя, например в тормоз-замедлитель. Теперь цилиндр 40 в следующей фазе отключения, т.е. режим отсутствия торможения, снова в состоянии отсасывать остаточную жидкость.
Вариант осуществления изобретения согласно фиг.3 по существу соответствует варианту по фиг.2. Одинаковые элементы обозначены теми же позициями, что и на фиг.2. Различие заключается в расположении контура тормоза-замедлителя в охлаждающем контуре 120 автомобиля. При включенном тормозе-замедлителе (фиг.3) ответвление охлаждающего контура с тормозом-замедлителем 100 расположено между насосом 2 для охлаждающей среды и мотором 1. На фиг.2 это контурное ответвление в охлаждающем контуре 120 расположено позади мотора 1. Как и в варианте осуществления согласно фиг.2 предусмотрен переключаемый в пропускном отверстии клапан 62 выключения давления, а также разгрузочный трубопровод 64, который соединен с уравнительным резервуаром 6. Клапан 62 выключения давления расположен в разгрузочном трубопроводе 64 и открывается при возникновении максимумов давления, например ударного импульса при опорожнении тормоза-замедлителя. С помощью этих дополнительных мероприятий могут быть уменьшены максимумы давления, возникающие в охлаждающем контуре при работе тормоза-замедлителя. Такие максимумы давления возникают, в частности, при включении или отключении или резком изменении нагрузки в тормозе-замедлителе. Разгрузочный трубопровод 64 соединен непосредственно с уравнительным резервуаром 6.
На фиг.4 представлен усовершенствованный вариант изобретения. Представленная схема показывает мероприятия, которые были использованы для того, чтобы при переходе из режима торможения в режим отсутствия торможения избежать гидравлического удара в системе, в частности в трубопроводе 51. Далее представлены мероприятия, которые могут быть проведены дополнительно или в качестве альтернативы, чтобы исключить гидравлический удар или резкое снижение давления при переходе из режима отсутствия торможения в режим с торможением.
Названные первыми мероприятия (исключение гидравлического удара) реализуются по существу с помощью переключаемого давлением клапана 62 с подсоединенными трубопроводами 64 и 65. Трубопровод 64 своим обращенным от клапана 62 концом расположен в зоне высокого давления охлаждающего контура. Оно может быть, например, в области выпускного отверстия в тормозе-замедлителе для рабочей среды или, соответственно, в отводящем канале, который образован в корпусе тормоза-замедлителя. Там, например, в начале режима отсутствия торможения может создаваться давление 11 бар. Другая предпочтительная возможность подсоединения имеется за счет положения между изображенным обратным клапаном и регулируемым дросселем в регулировочном клапане 17. Там может иметься давление, например, 30 бар.
Трубопровод 64 своим обращенным от клапана 62 концом может быть подсоединен к зоне низкого давления. В этой зоне давление предпочтительно составляет максимум 2 бара. Подсоединение может быть предусмотрено, например, в области приемного отверстия тормоза-замедлителя 100, в частности в подающем канале, который выполнен в тормозе-замедлителе.
Управление клапаном 62 осуществляется предпочтительно одним и тем же переключающим импульсом, который также управляет клапаном 13. Оба клапана включаются, в частности, с помощью гидравлического удара (р-включение). При переходе из режима с торможением в режим отсутствия торможения клапан 62 переключается из закрытого положения в открытое. Благодаря этому устанавливается короткозамкнутый поток, т.е. рабочая жидкость, в данном случае охлаждающая жидкость автомобиля, течет из названной зоны высокого давления через трубопроводы 64 и 65 в названную зону низкого давления. Благодаря этому выпуск всей рабочей жидкости, которая в режиме с торможением была накоплена в тормозе-замедлителе и, соответственно, в присоединенных трубопроводах, постепенно подается в трубопровод 51, так как за счет короткозамкнутого потока значительное количество сначала удерживается в области тормоза-замедлителя 100. Таким образом, удается избежать гидравлического удара в трубопроводе 51. При этом происходит равномерное опорожнение области охлаждающего контура системы охлаждения между клапанами 13 и 17 через тормоз-замедлитель 100 и подсоединенные к нему трубопроводы.
Оптимальное остаточное количество рабочей жидкости в тормозе-замедлителе в режиме отсутствия торможения снова регулируется с помощью цилиндра 40. Как видно, в этом варианте осуществления цилиндр 40 через трубопровод 42 соединен с зоной высокого давления между обратным клапаном и регулируемым дросселем регулировочного клапана 17. В трубопровод 42 включен дроссель 43, так что при переходе из режима отсутствия торможения в режим с торможением отсосанное для уменьшения теряемой мощности количество жидкости из цилиндра 40 под контролем отводится через трубопровод 41 в находящуюся под давлением систему трубопроводов.
Для достижения оптимальной, т.е. по возможности минимальной, теряемой мощности в режиме отсутствия торможения регулировочный клапан 17 предпочтительно выполнен таким образом, что в режиме отсутствия торможения охлаждающий контур автомобиля (начиная от трубопровода 51) изолирован от ответвления с тормозом-замедлителем 100. В равной степени это относится к клапану 13, который предпочтительно также в режиме отсутствия торможения полностью изолирует охлаждающий контур автомобиля (начиная с ответвления трубопровода, в котором изображен мотор 1) от области трубопроводов, в которой расположен тормоз-замедлитель 100. Кроме того, клапан 13 в режиме отсутствия торможения включен таким образом, что все поступающее количество охлаждающей среды через трубопровод 66 направляется в трубопровод 51.
Чтобы избежать импульса при включении, как отмечено выше, клапан 13 при переходе из режима отсутствия торможения в режим с торможением может занимать промежуточное положение, так что сначала через трубопровод 67 к тормозу-замедлителю направляется только часть охлаждающей среды, в то время как другая часть далее по трубопроводу 66 направляется к трубопроводу 51 и таким образом остается в охлаждающем контуре автомобиля и не направляется в тормоз-замедлитель.
Как обозначено штрихпунктирной линией на фиг.4 определенные отдельные детали могут быть встроены в узел 70 гидравлического тормоза-замедлителя. Этот соответствующий изобретению узел 70 гидравлического тормоза-замедлителя включает в себя в варианте осуществления тормоз-замедлитель 100 и средство для выпуска количества остаточной жидкости с преодолением создаваемого системой охлаждения, к которой подсоединен узел 70 гидравлического тормоза-замедлителя внешнего давления. В особом варианте осуществления это средство для выпуска представляет собой показанный цилиндр 40, в частности, вместе с дросселем 43, регулировочным клапаном 17 и переключающим клапаном 13. В особо предпочтительном варианте осуществления узел 70 гидравлического тормоза-замедлителя также включает в себя трубопроводы 64 и 65 сброса давления с расположенным между ними клапаном 62 выключения давления. Разумеется, что на узле 70 гидравлического тормоза-замедлителя предпочтительно предусмотрено место подсоединения для настройки давления или, соответственно, управления давлением, например для управления давлением клапана 13 и для регулирования давления клапана 17. Также в узел 70 гидравлического тормоза-замедлителя предпочтительно встроены и остальные очерченные штрихпунктирной линией трубопроводы, так что этот узел в качестве гибкого универсального стандартного модуля может присоединяться к охлаждающему контуру автомобиля, при этом узел 70 гидравлического тормоза-замедлителя снабжен, в частности, только одним подсоединением 71 для подачи охлаждающей среды и единственным подсоединением 72 для отвода охлаждающей жидкости.
Благодаря настоящему изобретению впервые получена приводная система, в которой тормоз-замедлитель встроен в охлаждающий контур автомобиля, и достигается снижение теряемой мощности путем целенаправленного опорожнения тормоза-замедлителя в режиме отсутствия торможения на заданное количество остаточной жидкости. Далее с помощью представленных других мероприятий эффективно исключается возникновение гидравлических ударов в системе.
Формула изобретения
1. Приводной узел, в частности, автомобиля, с охлаждающим контуром, включающий в себя гидродинамический тормоз-замедлитель (100) с ротором (11), оснащенным направляющими лопатками, и статором (12), оснащенным направляющими лопатками, при этом гидродинамический тормоз-замедлитель (100) расположен в охлаждающем контуре, и рабочей средой тормоза-замедлителя (100) является охлаждающая среда, отличающийся тем, что тормоз-замедлитель (100) включает в себя средство для выпуска количества остаточной жидкости в режиме отсутствия торможения, преодолевающее внешнее давление, созданное охлаждающим контуром.
2. Узел по п.1, отличающийся тем, что средство для выпуска является средством для отсасывания количества остаточной жидкости из тормоза-замедлителя.
3. Узел по п.1, отличающийся тем, что средство для выпуска включает в себя по меньшей мере один цилиндр (30, 40), который соединен с охлаждающим контуром (120) и/или тормозом-замедлителем (100) через трубопроводы (32, 33, 41,42).
4. Узел по п.3, отличающийся тем, что цилиндр (30, 40) через трубопровод (32, 42) в месте наибольшего давления подсоединен к охлаждающему контуру (120).
5. Узел по п.4, отличающийся тем, что в трубопроводе (32, 42) от цилиндра (30, 40) к месту наибольшего давления установлен дроссель (43), в частности регулируемый дроссель.
6. Узел по одному из пп.1-3, отличающийся тем, что средство для выпуска включает в себя другой переключаемый клапан (31).
7. Узел по п.3 или 4, отличающийся тем, что цилиндр через трубопровод (41) соединен с охлаждающим контуром (120) в месте наименьшего давления в охлаждающем контуре.
8. Узел по п.7, отличающийся тем, что трубопровод (42), который подсоединен в месте наибольшего давления в охлаждающем контуре (120), и трубопровод (41), который подсоединен в месте наименьшего давления в охлаждающем контуре (120), подсоединены к цилиндру (40) с противоположных сторон поршня (37), и при этом поршень (37) нагружается нажимной пружиной (36), которая нажимает на поршень (37) против подводимого по трубопроводу (41) давления.
9. Узел по п.1, отличающийся тем, что трубопровод (64, 65) сброса давления с клапаном (62) выключения давления подсоединен к охлаждающему контуру (120) и/или тормозу-замедлителю (100), причем клапан (62) выключения давления установлен в трубопроводе (64, 65) сброса давления и управляется таким образом, что он открывается при переходе тормоза-замедлителя из режима с торможением в режим отсутствия торможения.
10. Узел по п.9, отличающийся тем, что трубопровод (64, 65) сброса давления одним своим концом подключен к месту низкого давления в направлении потока в режиме с торможением перед тормозом-замедлителем (100), а другим своим концом – к месту высокого давления в тормозе-замедлителе (100) или позади тормоза-замедлителя (100), причем давление в месте низкого давления составляет, в частности, максимум 2 бара, а давление в месте высокого давления находится между 11 и 30 бар.
11. Узел по п.1, отличающийся тем, что имеет мотор (1) и коробку передач, а тормоз-замедлитель (100) представляет собой вторичный тормоз-замедлитель, который расположен в направлении силового потока позади коробки передач.
12. Узел по п.1, отличающийся тем, что средство для выпуска количества остаточной жидкости включает в себя цилиндр (40), который имеет поршень (37), который на одной стороне через трубопровод (42), который в направлении потока подсоединен позади тормоза-замедлителя (100) к месту высокого давления в узле тормоза-замедлителя в охлаждающем контуре, нагружается первым, высоким давлением, и на противоположной стороне через трубопровод (41), который в направлении потока подсоединен перед тормозом-замедлителем к месту низкого давления в узле тормоза-замедлителя в охлаждающем контуре, нагружается вторым, низким давлением.
13. Узел по п.12, отличающийся тем, что в трубопроводе (42) установлен дроссель (43).
14. Узел по одному из пп.11-13, отличающийся тем, что узел тормоза-замедлителя имеет в трубопроводе (64, 65) сброса давления клапан (62) выключения давления, причем трубопровод (64, 65) одним своим концом в направлении потока подсоединен позади тормоза-замедлителя или к тормозу-замедлителю (100) в месте высокого давления, а своим другим концом в направлении потока перед тормозом-замедлителем (100) в месте низкого давления системы охлаждения.
15. Узел по пп.12 и 13, отличающийся тем, что трубопровод (42) своим противоположным цилиндру (40) концом подсоединен к регулировочному клапану (17), причем приводной узел в направлении потока перед тормозом-замедлителем (100) и позади подсоединения (71) для подвода охлаждающей среды в тормоз-замедлитель имеет переключающий клапан (13), который выполнен таким образом, что в заданном включенном положении охлаждающая среда проходит через тормоз-замедлитель (100) или через обводной трубопровод (66) в обход тормоза-замедлителя (100), причем регулировочный клапан (17), клапан (62) выключения давления и переключающий клапан (13) включаются или регулируются с помощью нагружения давлением.
16. Узел по п.12, отличающийся тем, что тормоз-замедлитель (100) имеет единственное подсоединение (71) для подвода охлаждающей среды и единственное подсоединение (72) для отвода охлаждающей среды.
17. Узел по п.15, отличающийся тем, что регулировочный клапан (17) и переключающий клапан (13) в заданных включенных положениях, в которых охлаждающая среда направляется через обводной трубопровод (66) в обход тормоза-замедлителя, полностью закрыты в направлении тормоза-замедлителя.
РИСУНКИ
|
|