|
|
(21), (22) Заявка: 2005111679/11, 19.04.2005
(24) Дата начала отсчета срока действия патента:
19.04.2005
(43) Дата публикации заявки: 27.10.2006
(46) Опубликовано: 10.01.2008
(56) Список документов, цитированных в отчете о поиске:
SU 1323789 A1, 15.07.1987. SU 1162644 A1, 23.06.1985. DE 2219212 A1, 31.10.1973. GB 2002471 A, 21.02.1979.
Адрес для переписки:
61002, г. Харьков, ул. Петровского, 25, Харьковский автомобильно-дорожный университет
|
(72) Автор(ы):
Туренко Анатолий Николаевич (UA), Ломака Степан Иосифович (UA), Клименко Валерий Иванович (UA), Богомолов Виктор Александрович (UA), Рыжих Леонид Александрович (UA), Чебан Андрей Анатольевич (UA), Мельник Сергей Петрович (UA), Кирчатый Юрий Владимирович (UA), Назаренко Игорь Николаевич (UA), Красюк Александр Николаевич (UA)
(73) Патентообладатель(и):
Харьковский национальный автомобильно-дорожный университет (ХНАДУ) (UA), Туренко Анатолий Николаевич (UA), Ломака Степан Иосифович (UA), Клименко Валерий Иванович (UA), Богомолов Виктор Александрович (UA), Рыжих Леонид Александрович (UA), Чебан Андрей Анатольевич (UA), Мельник Сергей Петрович (UA), Кирчатый Юрий Владимирович (UA), Назаренко Игорь Николаевич (UA), Красюк Александр Николаев (UA)
|
(54) МОДУЛЯТОР ЭЛЕКТРОННОЙ ТОРМОЗНОЙ СИСТЕМЫ
(57) Реферат:
Изобретение относится к области машиностроения, а именно к тормозным системам транспортных средств. Модулятор содержит корпус, в полости которого помещен золотник, зубчатую рейку, шестерню вала шагового электродвигателя и отверстия. Золотник имеет сквозное осевое отверстие и на наружной боковой поверхности по центру зубчатую рейку. Зубчатая рейка связана с шестерней вала шагового электродвигателя. Вал шагового электродвигателя поджат в исходное положение пружиной. Два отверстия в корпусе сообщены с атмосферой, а одно перекрыто золотником, при этом отверстие, перекрытое в исходном положении золотником, непосредственно соединено с ресивером сжатого воздуха. Достигается улучшение технических характеристик модулятора. 1 ил.
Изобретение относится к транспортному машиностроению, в частности к тормозным системам автотранспортных средств.
Электронная тормозная система, как правило, имеет электропневматический тормозной привод и может включать в себя регулятор тормозных сил, антиблокировочную и противобуксовочную системы, систему обеспечения динамической устойчивости автотранспортного средства, которые функционируют при необходимости в определенной последовательности при движении как на тормозном, так и тяговом режимах. При применении электронной тормозной системы в качестве рабочей тормозной системы предусматривается резервная система, которая в случае выхода из строя электронной составляющей управления обеспечивает торможение при дальнейшем движении автотранспортного средства с предписанной эффективностью.
Модулятор электронной тормозной системы должен обеспечивать возможность функционирования, кроме всех перечисленных ее подсистем, также и резервной тормозной системы.
Известны два варианта модуляторов, способных решать эти задачи [1].
Первый вариант исполнен на базе трех релейных электропневматических клапанов и интегрированного ускорительного клапана. Формируемые электропневматическими клапанами по командам электронного блока управления электронной тормозной системы пневматические управляющие сигналы во время торможения продаются на ускорительный клапан, посредством которого, согласно поданному сигналу, сжатый воздух либо поступает к исполнительным органам тормозов, либо выпускается из них в атмосферу.
Второй вариант этого модулятора – комплексный. Применительно к одной оси автотранспортного средства, с учетом индивидуального регулирования тормозных сил на колесах, он включает в себя один осевой модулятор, по конструкции практически аналогичный вышеописанному, и два колесных, выполненных каждый на основе двух релейных электропневмоклапанов. Совместная работа осевого и двух колесных модуляторов на каждой из осей автотранспортного средства обеспечивает выполнение функций, возлагаемых на электронную тормозную систему.
Оба рассмотренные модуляторы отличаются повышенной сложностью и, соответственно, стоимостью, позволяют управлять только одним параметром – временем нахождения клапанов в открытом и закрытом состояниях, т.е. работают в режиме «открыто-закрыто», каждый режим – определенное время, что снижает качество регулирования, например, приводит к неудовлетворительному распределению тормозных сил по осям или к блокированию колес и тем самым к снижению качества всего процесса торможения автотранспортного средства.
Наиболее близким к заявляемому по количеству общих конструктивных признаков и выполняемых функций является пропорциональный модулятор давления для пневматического тормозного привода [2].
Этот модулятор давления для пневматического тормозного привода содержит корпус с цилиндрическими камерами, в одной из которых расположен золотник нормально открытого впускного клапана, а в другой – золотник нормально закрытого выпускного клапана. При этом золотники кинематически связаны между собой подпружиненным штоком, который в свою очередь посредством зубчатого зацепления связан с валом шагового электродвигателя; отверстия впускного и выпускного клапанов имеют прямоугольные сечения, цилиндрические камеры сообщаются между собой соединительным каналом, расположенным в теле штока; в корпусе модулятора выполнено компенсационное отверстие, которое через обводное сверление соединяет камеру впускного клапана с входным каналом, к которому подводится сжатый воздух во время торможения. С использованием такого модулятора, например, при неработающей антиблокировочной системе торможение осуществляется следующим образом. При нажатии на тормозную педаль сжатый воздух от тормозного крана через штуцер и нормально открытый впускной клапан поступает в тормозную камеру и по соединительному каналу в теле штока к нормально закрытому выпускному клапану. При таком конструктивном исполнении системы подачи сжатого воздуха к тормозным камерам увеличивается время наполнения их воздухом и, соответственно, снижается эффективность торможения автотранспортного средства, в частности, при работе регулятора тормозных сил и антиблокировочной системы, а отсутствие у данного модулятора непосредственной подачи к нему сжатого воздуха делает невозможным его использование в составе электропневматического тормозного привода, а также противобуксовочной системы и системы обеспечения динамической устойчивости автотранспортного средства во время движения на тяговом режиме.
В основу изобретения поставлена задача усовершенствования модулятора для электронной тормозной системы автотранспортного средства за счет подачи сжатого воздуха непосредственно к модулятору, что позволяет обеспечить его работу в составе электропневматического тормозного привода, системы регулирования тормозных сил, антиблокировочной и резервной тормозных систем и системы обеспечения динамической устойчивости автотранспортного средства в период движения на тормозном режиме, а на тяговом режиме – в составе антибуксовочной системы и системы обеспечения динамической устойчивости и сократить время подачи сжатого воздуха к исполнительным органам тормозных механизмов как на тормозном, так и на тяговом режимах.
Поставленная задача решается за счет того, что в известном модуляторе пневматического тормозного привода, содержащем корпус, в полости которого размещен золотник, имеющий сквозное осевое отверстие и на наружной боковой поверхности по центру зубчатую рейку, связанную с шестерней вала шагового электродвигателя, и поджатый в исходное положение пружиной, при котором два отверстия в корпусе сообщаются с атмосферой, а одно перекрыто золотником, согласно изобретению отверстие, перекрытое золотником в исходном положении, непосредственно соединено с ресивером сжатого воздуха.
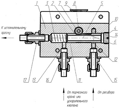
На чертеже представлена схема заявляемого модулятора, где в полости корпуса 1 модулятора расположен двойной (общий) золотник 2, прижимаемый в исходное положение пружиной 3 к регулировочному винту – упору 4, с помощью которого достигается необходимая точность первоначальной установки золотника 2. Золотник 2 имеет осевое сквозное отверстие 5 и на наружной боковой поверхности по центру – зубчатую рейку 6, находящуюся в зацеплении с шестерней 7 вала 8 шагового электродвигателя 9.
На концах двойного (общего) золотника 2 располагаются золотники 10 и 11, соответственно нормально закрытого впускного и нормально открытого впускного-выпускного клапанов.
К отверстиям 12 и 13 впускного клапана через штуцер 14 от ресивера соответствующего контура электропневматического тормозного привода постоянно подводится сжатый воздух. Отверстие 13 служит для компенсации давления на золотник 10 впускного клапана со стороны отверстия 12 и устранения таким образом дополнительного сопротивления перемещению золотника 2.
К штуцеру 15 присоединяется магистраль привода резервной тормозной системы, которая может связывать модулятор с тормозным краном напрямик или посредством ускорительного клапана. Через открытое отверстие 16 впускного-выпускного клапана и штуцеры 15 и 17 исполнительный орган тормоза (тормозная камера) обычно сообщается с атмосферой, а при срабатывании резервной тормозной системы – с источником сжатого воздуха.
Принцип действия модулятора, например, в случае торможения состоит в следующем.
При нажатии на тормозную педаль по команде электронного блока управления шаговый электродвигатель 9 перемещает общий золотник 2 влево. При этом сначала золотник 11 перекрывает отверстие 16 впускного-выпускного клапана, разобщая исполнительный орган данного тормоза с атмосферой, а затем золотник 10 открывает отверстия 12 и 13 впускного клапана. Сжатый воздух из питающей магистрали через открывшийся впускной клапан и осевое отверстие 5 общего золотника 2 поступает к исполнительному органу тормоза (тормозной камере).
Пропорционально выбранному ходу тормозной педали электронный блок управления посредством шагового электродвигателя 9 устанавливает величину проходного сечения впускного клапана и формирует пороговое значение давления воздуха в исполнительном органе тормоза, по достижении которого впускной клапан закрывается. При этом впускной-выпускной клапан остается закрытым.
Особенностью работы модулятора электронной тормозной системы является то, что его функция в процессе торможения или обычного движения, как правило, последовательно изменяется и управление им, соответственно, переходит от одного модуля электронного управляющего блока к другому в зависимости от того, какая из подсистем электронной тормозной системы в данный момент включается в работу и управление модуляторами каких колес автотранспортного средства в это время должно осуществляться.
Во время движения на тяговом режиме без нарушения динамической устойчивости функционируют модуляторы только ведущих колес, управляемые модулем электронного блока, относящимся к противобуксовочной системе. В случае торможения состояние модуляторов определяется другими модулями блока управления. Так, в самом начале хода тормозной педали управление всеми модуляторами автотранспортного средства осуществляет модуль электропневматического тормозного привода. С возникновением тормозных сил на колесах включается в работу регулятор тормозных сил, модуль которого в зависимости от условий торможения и загрузки автотранспортного средства принимает на себя управление модуляторами колес передней или задней оси. Модуляторы колес другой оси продолжают оставаться управляемыми модулем электропневматического привода.
В процессе торможения или обычного движения автотранспортное средство может отклоняться от заданного направления. Если такое отклонение превышает установленное пороговое значение, то управление модуляторами соответствующего борта автотранспортного средства (правого или левого) принимает на себя модуль системы обеспечения динамической устойчивости автотранспортного средства – единственной составляющей электронной тормозной системы, которая функционирует как на тяговом, так и на тормозном режимах движения автотранспортного средства. Таким образом, при движении до возникновения блокирования колес возможна ситуация, когда состояние модуляторов разных колес может определяться модулями разных подсистем электронной тормозной системы. С возникновением блокирования хотя бы одного из колес управление всеми модуляторами автотранспортного средства принимает на себя модуль антиблокировочной системы.
Так как заявляемый модулятор непосредственно соединяется с ресивером сжатого воздуха и имеет независимый отвод его в атмосферу через ускорительный клапан или тормозной кран, электронная тормозная система с такими модуляторами имеет возможность выполнять все вышеперечисленные функции, которые могут быть на нее возложены. При этом регулирование, осуществляемое каждой из ее подсистем, позволяет обеспечивать выбор желаемых проходных сечений впускных и впускных-выпускных клапанов модуляторов и времени их нахождения в данном состоянии.
Все это в конечном итоге обеспечивает протекание процесса торможения или обычного движения автотранспортного средства в любых сцепных, скоростных и нагрузочных условиях на режимах, близких к оптимальным.
При отпускании тормозной педали электропитание шаговых двигателей всех модуляторов и соответствующих систем управления прекращается. Под действием пружин 3 золотники 2 возвращаются в исходное положение. Сжатый воздух из исполнительных органов тормозов через открытые впускные-выпускные клапаны модуляторов и далее через атмосферные выводы ускорительного клапана или тормозного крана выходит в атмосферу. При этом электропитание противоблокировочной системы возобновляется, а системы обеспечения динамической устойчивости автотранспортного средства – сохраняется.
В случае выхода из строя привода электронной тормозной системы во время движения автотранспортное средство затормаживается резервной тормозной системой. Общие золотники 2 модуляторов в это время находятся в положении, при котором впускные-выпускные клапаны последних остаются открытыми. Требуется лишь увеличить усилие на тормозной педали и привести в действие тормозной кран обычного пневмопривода [1]. Сжатый воздух при этом поступает в исполнительные органы тормозов по схеме, указанной выше.
Описанные отличительные качества модулятора находятся в причинно-следственной связи с полученным новым техническим результатом – возможностью выполнения модулятором соответствующих функций в составе электропневматического тормозного привода, регулятора тормозных сил, антиблокировочной системы, системы обеспечения динамической устойчивости и резервной тормозной системы – при движении автотранспортного средства на тормозном режиме и в составе противобуксовочной системы и системы обеспечения динамической устойчивости – при движении автотранспортного средства на тяговом режиме.
Заявляемый модулятор отличается относительной простотой конструкции и может обеспечить эффективность работы электронной тормозной системы, близкую к оптимальной. Другие решения, которые бы имели такие качества, авторам не известны из патентной и технической литературы, поэтому предлагаемое изобретение соответствует критерию «новизна». Решение является актуальным в области автомобилестроения, технически завершенным и промышленно пригодным.
Источники информации
1. Клюшкин Г.П., Галакшин В.А., Перфильев В.С., Кравцов И.В. Электронная тормозная система Кнорр – Бремзе – шаг к новому уровню активной безопасности грузового автотранспорта Грузовик, 2002, №9, с. 43-45.
2. А.С. 1441672 Пропорциональный модулятор давления для пневматического тормозного привода В 60 Т 8/36 1987 г. (прототип).
Формула изобретения
Модулятор электронной тормозной системы, содержащий корпус, в полости которого помещен золотник, имеющий сквозное осевое отверстие и на наружной боковой поверхности по центру зубчатую рейку, связанную с шестерней вала шагового электродвигателя, поджатый в исходное положение пружиной, при котором два отверстия в корпусе сообщены с атмосферой, а одно перекрыто золотником, отличающийся тем, что отверстие, перекрытое в исходном положении золотником, непосредственно соединено с ресивером сжатого воздуха.
РИСУНКИ
MM4A – Досрочное прекращение действия патента СССР или патента Российской Федерации на изобретение из-за неуплаты в установленный срок пошлины за поддержание патента в силе
Дата прекращения действия патента: 20.04.2008
Извещение опубликовано: 10.06.2010 БИ: 16/2010
|
|