|
|
(21), (22) Заявка: 2002107142/11, 21.03.2002
(24) Дата начала отсчета срока действия патента:
21.03.2002
(30) Конвенционный приоритет:
29.03.2001 DE 10115767.3 25.01.2002 EP 02001780.2
(43) Дата публикации заявки: 10.12.2003
(46) Опубликовано: 10.01.2008
(56) Список документов, цитированных в отчете о поиске:
US 4405143 А, 29.09.1983. RU 2156202 С2, 20.09.2000. RU 2049679 C1, 10.12.1995. DE 3318929 A1, 29.11.1984. ЕР 0045889 А, 17.02.1982. DE 3305338 A1, 30.08.1984.
Адрес для переписки:
117303, Москва, ул.Б.Юшуньская, д. 1-а, корп. 2, офис № 407, “Константин Шилан и Ко.”, пат.пов. К.А.Шилану, рег.№ 367
|
(72) Автор(ы):
ГУМПЕРТ Хорст Ёахим (DE), КАРАСЕК Дженс (DE), КОХ Роберт (DE)
(73) Патентообладатель(и):
Хюбнер ГмбХ (DE)
|
(54) УСТРОЙСТВО ДЛЯ ШАРНИРНОГО СОЕДИНЕНИЯ ДВУХ ТРАНСПОРТНЫХ СРЕДСТВ ИЛИ ЧАСТЕЙ ТРАНСПОРТНОГО СРЕДСТВА
(57) Реферат:
Изобретение относится к транспорту. Устройство для шарнирного соединения двух транспортных средств, например в сочлененном автобусе или рельсовом транспортном средстве, в котором шарнирное соединение (100) имеет не менее двух шарнирных звеньев (111a, 112a), расположенных на расстоянии от центральной продольной оси транспортного средства (102, 103), а также два шарнирных плеча (113, 114), вращающихся вокруг обоих шарнирных звеньев. Шарнирные звенья (111a, 112a) подвижно закреплены при помощи салазок (111, 112) перпендикулярно средней продольной оси (50) транспортного средства. Салазки (111, 112) при помощи консольной направляющей соединены с транспортным средством или его частью. Оба шарнирных плеча (113, 114) на их другом конце соединены с другим транспортным средством или его частью при помощи шарнира (120), расположенного на средней продольной оси (50) транспортного средства. Сочлененное транспортное средство содержит описанное устройство для шарнирного соединения. Изобретение обеспечивает сокращение расстояния между транспортными средствами. 2 н. и 11 з.п. ф-лы, 6 ил.
Изобретение касается устройства для шарнирного соединения между двумя транспортными средствами или элементами транспортного средства, например, в сочлененном автобусе или рельсовом транспортном средстве, причем шарнирное соединение включает в себя как минимум два шарнирных элемента, расположенных на расстоянии относительно средней оси транспортного средства, а также как минимум один, но более предпочтительно – два поворотных шарнирных кронштейна, расположенных вокруг обоих шарнирных элементов.
Шарниры между двумя транспортными средствами или элементами транспортных средств, например, в сочлененном автобусе, известны достаточно хорошо. При этом предусмотрен центральный шарнир в форме сочлененного шарнира с центральной осью, проходящей через среднюю продольную ось транспортного средства. Вокруг этой оси транспортное средство выполняет изгиб при движении на поворотах.
Недостатком известных сочлененных шарниров является то, что вследствие растяжения шарнира между двумя транспортными средствами или элементами транспортных средств требуется расстояние около 1.600 мм. Ввиду того, что пространство, которое занимает шарнир между двумя транспортными средствами или элементами транспортных средств, в принципе является лишь ограниченным полезным пространством, есть заинтересованность в том, чтобы свести к минимуму это пространство, а тем самым – и расстояние между двумя транспортными средствами или элементами транспортных средств, для того чтобы в транспортном средстве или в элементах транспортного средства можно было разместить дополнительный ряд сидений.
Из патента US 4,405,143 известен шарнир со средним шарнирным элементом, на котором расположены шарнирные элементы, закрепленные на элементах транспортного средства. В принципе речь идет при этом о сдвоенном шарнире, т.к. оба элемента транспортных средств соответственно могут занимать разное угловое положение по отношению к среднему шарнирному элементу. Из-за среднего шарнирного элемента длина шарнира очень велика.
Также известный из ЕР 0045889 шарнирное соединение соответствующий US 4,421,339 шарнир также имеет очень большую длину, т.к. шарнир образован известным шарниром с поворотной тележкой, а с обеих сторон поворотной тележки предусмотрены шарнирные кронштейны, воспринимающие вертикальные усилия.
US 5,052,707 показывает шарнир, имеющий форму шарнирной станины, которая, во-первых, имеет очень сложную конструкцию, а во-вторых, требует много места между элементами транспортного средства.
US 4,241,270 показывает двухфазный электродвигатель с закрытым редуктором.
В связи с этим в основе изобретения поставлена задача предоставления шарнирного приспособления, в частности, сочлененного приспособления, позволяющего, в отличие от обычного сочлененного шарнира, сократить расстояние между двумя транспортными средствами или элементами транспортных средств, соединенными друг с другом при помощи шарнирного приспособления.
Задача согласно изобретению решается таким образом, что шарнирные элементы закреплены в салазках перпендикулярно средней продольной оси транспортного средства, а салазки соединены с транспортным средством или элементом транспортного средства при помощи направляющей консоли, причем оба шарнирных кронштейна с другого своего конца соединены с другим транспортным средством или элементом транспортного средства, расположенным на средней оси транспортного средства. Отсюда видно, что поворотное движение шарнирного приспособления формируется в две ступени. Во-первых, благодаря соединению шарнирных элементов с поворотным шарниром с другим транспортным средством или элементом транспортного средства при помощи расположенной на средней оси вращательной пары образуется определенный угол изгиба, а именно – главным образом угол изгиба до 15°. В случае необходимости большего угла изгиба, например, при движении такого автобуса на крутых поворотах, в результате смещения одного из шарнирных элементов перпендикулярно средней продольной оси транспортного средства происходит дальнейшее увеличение угла изгиба.
Это происходит в результате того, что, в зависимости от пересекаемой кривой, один шарнирный элемент, например, с вертикально направленной осью, на которой расположен шарнирный кронштейн, перемещается к другому шарнирному элементу с другим шарнирным кронштейном. При этом шарнирный кронштейн раскачивается вокруг соответствующего шарнирного элемента. Это значит, что при этом расстояние между двумя транспортными средствами или элементами транспортного средства с внешней стороны кривой увеличивается, а размер увеличения расстояния между двумя транспортными средствами или элементами транспортного средства определяется в зависимости от того, на какое расстояние может сместиться шарнирный элемент, на котором расположен один шарнирный кронштейн, к другому шарнирный кронштейну. Увеличение расстояния между двумя транспортными средствами или элементами транспортного средства зависит, кроме того, от длины шарнирных кронштейнов.
Базу для такого двухступенчатого изгиба шарнирного приспособления создает знание того факта, что при 90% времени движения сочлененного автобуса можно реализовать только угол изгиба максимум 15°. Лишь в исключительных случаях требуется больший угол изгиба, причем выяснилось, что углов изгиба более 26° не бывает. Угол 26° соответствует в остальном также максимальному углу изгиба шарнира по данным последнего уровня развития техники.
Выяснилось, что и такая специальная конструкция шарнира может сократить первоначальное расстояние между двумя транспортными средствами или элементами транспортного средства с первоначально 1.600 мм до менее 1.100 мм. Длина сильфона составляет в сложенном состоянии всего около 800 мм. Это позволяет разместить дополнительно еще одни ряд сидений в одном из транспортных средствах или в элементах транспортного средства.
Как известно, в зоне шарнира предусмотрен переход, позволяющий переходить из одного транспортного средства в другое. Переход включает в себя переходной мостик и сильфон, окружающий в виде туннеля мостик и шарнир.
И здесь имеют место преимущества относительно конструкции и прочности сильфона, представленные в первом варианте. В частности, длина сильфона сокращена. На основе кинематики изгиба сильфон имеет лишь незначительное поперечное смещение, что положительно сказывается на сроке службы. Благодаря незначительному поперечному смещению сильфона он может быть выполнен с большей жесткостью, что обеспечивает его меньшую растяжку, особенно книзу.
Другие преимущественные особенности указаны в пунктах формулы 2-13.
Преимуществом являются салазки на направляющей консоли, здесь, в частности, расположенные на направляющей консоли с круговым движением, соединенной с транспортным средством или элементом транспортного средства. Преимущество такой направляющей консоли с круговым движением заключается в том, что благодаря этой направляющей консоли салазки закреплены с возможностью вертикального поворота, поэтому шарнирное соединение в целом может воспринимать изгибающие движения, например, когда такие сочлененные средства транспорта проезжают по впадине или гребню.
На другом транспортном средстве или элементе транспортного средства предусмотрена консоль для плоского шарнира, при помощи которого шарнирные консоли могут быть закреплены с возможностью вращения.
Для демпфирования вращательного движения шарнирных консолей вокруг плоского шарнира предусмотрено демпфирующее устройство. Такое демпфирующее устройство включает в себя как минимум один демпфер, соединенный с одной стороны с шарнирной консолью, а с другой – с транспортным средством или элементом транспортного средства, или же с консолью. Такой демпфер, выполненный преимущественно в виде демпфера двойного действия, следит, например, за тем, чтобы при выезде транспортного средства на прямой участок дороги задний элемент транспортного средства, если речь идет о так называемом толкателе, т.е. о транспортном средстве с приводом последней, задней оси, не выехал в сторону. Кроме того, преимуществом является то, что консоль или шарнирный кронштейн сконструированы таким образом, что демпфер при поворотном движении шарнира погружается в консоль или шарнирный кронштейн, следовательно, в распоряжении имеется полный угол изгиба.
Кроме того, предусматриваемым изобретением преимущественным признаком является то, что между салазками и шарнирным кронштейном предусмотрено демпфирующее звено. Альтернативно демпфирующее звено может быть расположено между шарнирными кронштейнами или лучше – между салазками. Поскольку при расположении по одному демпфирующему звену между салазками и шарнирным кронштейном в общей сложности требуются два таких демпфирующих элемента, форма исполнения с одним, но выполняющим двойное действие демпфирующим звеном между салазками и шарнирными кронштейнами является более дешевой. Эти демпфирующие элементы, или один демпфирующий элемент, выполняют прежде всего задачу выполнения второй ступени изгиба лишь в том случае, если при помощи плоского шарнира достигнута 15° – граница угла изгиба в качестве первой ступени. До угла изгиба 15° салазки блокируются демпфирующим элементом или демпфирующими элементами в их положении. По достижении угла изгиба 15° демпфирующий элемент или демпфирующие элементы отводятся, в результате чего соответствующие салазки в зависимости от пересекаемой кривой перемещаются по консольной направляющей к другим салазкам. Правда, демпфирующий элемент или демпфирующие элементы с углом изгиба более 15° вызывают определенное, хотя и лишь незначительное демпфирование, но основная составляющая демпфирования обеспечивается демпфером, действующим в соответствии с направлением кривой. Это демпфер, который находится с внешней стороны кривой.
Как уже было сказано ранее, консольная направляющая может быть выполнена в виде круговой направляющей, поэтому салазки, закрепленные на круговой направляющей, могут быть повернуты вертикально. Чтобы альтернативно следовать таким движениям изгиба, можно предусмотреть, чтобы консоль на другом транспортном средстве могла поворачиваться вокруг горизонтальной оси. В таком случае консольную направляющую салазок можно было бы выполнить также и неподвижно в вертикальном направлении. Консольная направляющая и консоль могут также одновременно образовать и поперечину шасси транспортного средства или элемента транспортного средства в целях уменьшения веса, с одной стороны, и снижения затрат, с другой стороны.
Для обеспечения возможности выдерживать незначительные колебательные движения в качестве преимущественного признака предусмотрено, что салазки оснащены скользящей втулкой для движения по круговой направляющей.
При помощи чертежей оба варианта изобретения с их формами исполнения рассмотрены далее более подробно.
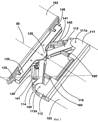
Фиг. 1 показывает шарнирное соединение согласно изобретению, прямое движение сочлененного автобуса;
Фиг. 2 показывает шарнирное соединение согласно фиг.1 с углом поворота 15°;
Фиг. 3 показывает шарнирное соединение согласно фиг.1 с углом поворота 15° и дополнительно – с углом маятникового движения 11°;
Фиг. 4 показывает вариант шарнирного соединения при прямом движении сочлененного автобуса;
Фиг. 5 показывает шарнирное соединение согласно фиг.4 с углом поворота 15°;
Фиг. 6 показывает шарнирное соединение согласно фиг.4 с углом поворота 15° и с углом маятникового движения 11°.
Шарнирное соединение с общим обозначением 100 находится между схематически показанным головным вагоном 102 и также схематически показанным задним вагоном 103. На головном вагоне 103 имеется консольная направляющая 110, в которой закреплены двое салазок 111 и 112 с возможностью поперечного относительно продольной оси 50 перемещения. На салазках 111 и 112 оба шарнирных кронштейна 113 и 114 закреплены при помощи выполненных в виде плавающих шарниров шарнирных элементов 111а и 112а. В частности, плавающий шарнир 111а и 112а окружает вертикально направленную ось, вокруг которой расположены поворотно-откидные шарнирные кронштейны 113 и 114. С другого конца шарнирные кронштейны 113 и 114 соединены друг с другом при помощи шарнирного соединения 120. Это шарнирное соединение 120 является составной частью консоли 130, расположенной, в свою очередь, на головном вагоне 102. Соединение консоли 130 с головным вагоном выполнено при помощи шарнирных подшипников 135, 136, образующих соответственно горизонтальную ось, в результате чего консоль 130 крепится с вертикальным перемещением, поэтому транспортное средство может проезжать или переезжать впадины и гребни. Этот поворотный подшипник 135, 136 выполнен в виде подшипника из металла и резины, поэтому соединение между обеими частями транспортного средства в определенной степени является упругим.
Кроме того, предусмотрено демпфирующее приспособление 140 с двумя демпферами 141, причем один из этих демпферов соединен с одной стороны с шарнирным кронштейном 113, 114, а с другой – с консолью 130. Эти демпферы 141 выполнены в виде гидравлических цилиндров двойного действия и и обеспечивают в конечном итоге стабильность или жесткость шарнира.
Кроме того, предусмотрены демпфирующие элементы 160 в форме гидравлических цилиндров, расположенных, с одной стороны, между салазками 111, 112, и шарнирным кронштейном 113, 114 – с другой стороны. Главное назначение демпфирующих элементов 160 заключается в том, чтобы с углом изгиба до 15° салазки оставались в своем крайнем конечном положении, т.е. не перемещались относительно друг друга. Лишь после задействования всего угла изгиба 15° за счет поворота шарнирных кронштейнов вокруг шарнирного соединения 120 демпфирующие элементы 160 принимают такую форму, что соответствующие салазки – в зависимости от преодолеваемой кривой – перемещаются по средней продольной оси 50, т.е. в направлении других салазок. Соответствующий демпфирующий элемент 160 выполняет при этом в определенном, незначительном объеме демпфирующее действие, однако основное демпфирование выполняется соответствующим демпфером 141 в соответствии с преодолеваемой кривой.
Консольная направляющая 110 в форме исполнения согласно фиг. с 1 по 6 выполнена в виде горизонтальной направляющей салазок 111 и 112. Таким образом, как уже было сказано выше, существует необходимость, чтобы поворотные подшипники 135, 136 допускали вертикальное движение.
Шарнир согласно фиг. с 4 по 6 отличается от шарнирного соединения согласно фиг. с 1 по 3, в числе прочего, тем, что консольная направляющая 110 имеет круговую направляющую 190 для салазок 111, 112, поэтому консоль 130 может быть расположена на головном вагоне102 непосредственно, т.е. без поворотных подшипников 135, 136. Кроме того, в данном шарнирном соединении вместо двух демпфирующих элементов 160 предусмотрен один демпфирующий элемент 166, расположенный непосредственно между двумя салазками 111, 112. Функция этого демпфирующего элемента 166 соответствует функции демпфирующего элемента 160 в форме исполнения согласно фиг. с 1 по 3. Одинаковые предметы обозначены в обеих формах исполнения также одинаковыми символами ссылок.
Формула изобретения
1. Шарнирное соединение между двумя транспортными средствами или частями транспортных средств, например в сочлененном автобусе или рельсовом транспортном средстве, причем шарнирное соединение 100 включает в себя как минимум два шарнирных звена 111a, 112a, расположенных на расстоянии относительно средней оси транспортного средства 102, 103, а также два шарнирных плеча 113, 114, расположенных вокруг обоих шарнирных звеньев с возможностью вращения, отличающееся тем, что шарнирные звенья 111a, 112a подвижно закреплены при помощи салазок 111, 112 перпендикулярно средней продольной оси 50 транспортного средства, причем салазки 111, 112 при помощи консольной направляющей соединены с транспортным средством или его частью, а оба шарнирных плеча 113, 114 на их другом конце соединены с другим транспортным средством или его частью при помощи шарнира 120, расположенного на средней продольной оси 50 транспортного средства.
2. Шарнирное соединение по п.1, отличающееся тем, что консольная направляющая 110 имеет круговую направляющую 190, а салазки 111, 112 закреплены при помощи круговой направляющей 190 с вертикальным поворотом относительно круговой направляющей 190.
3. Шарнирное соединение по п.1, отличающееся тем, что между салазками 111, 112 и шарнирным плечом 113, 114 предусмотрен демпфирующий элемент 160.
4. Шарнирное соединение по п.1, отличающееся тем, что между обоими шарнирными плечами 113, 114 расположен демпфирующий элемент 166.
5. Шарнирное соединение по п.1, отличающееся тем, что демпфирующий элемент 166 расположен между салазками 111, 112.
6. Шарнирное соединение по п.1, отличающееся тем, что на другом транспортном средстве или части транспортного средства 102 находится консоль 130 для шарнира 120.
7. Шарнирное соединение по п.1, отличающееся тем, что для демпфирования маятникового движения шарнирных плеч 113, 114 вокруг шарнирных звеньев 111a, 112a предусмотрено демпфирующее приспособление 140.
8. Шарнирное соединение по п.7, отличающееся тем, что демпфирующее приспособление 140 включает в себя как минимум один демпфер 141, с одной стороны соединенный с шарнирным плечом 113, 114, а с другой стороны – с транспортным средством 102, или частью транспортного средства, или с консолью 130.
9. Шарнирное соединение по п.8, отличающееся тем, что консоль 130 имеет такую конструкцию, что демпфер 141 при поворотных движениях шарнира 100 погружается в консоль 130 или шарнирное плечо 113, 114.
10. Шарнирное соединение по п.6, отличающееся тем, что консоль 130 закреплена на транспортном средстве или части транспортного средства 102 с возможностью поворота вокруг горизонтальной оси 135, 136.
11. Шарнирное соединение по п.1, отличающееся тем, что салазки 111, 112 имеют эластичную гильзу для крепления круговой направляющей 190.
12. Шарнирное соединение по п.6, отличающееся тем, что консоль 130 или консольная направляющая 110 является поперечиной рамы транспортного средства или части транспортного средства 102, 103.
13. Сочлененное транспортное средство, например сочлененный автобус или рельсовое транспортное средстве, в котором отдельные элементы транспортного средства соединены друг с другом шарнирным соединением, отличающееся тем, что шарнирное соединение 100 изготовлено в соответствии с одним из пунктов с 1 по 12.
Приоритет по пунктам:
29.03.2001 – пп.2-4;
25.01.2002 – пп.1, 5-13.
РИСУНКИ
RH4A – Выдача дубликата патента Российской Федерации на изобретение
Дата выдачи дубликата: 28.01.2009
Наименование лица, которому выдан дубликат:
Хюбнер ГмбХ (DE)
Извещение опубликовано: 10.03.2009 БИ: 07/2009
TK4A – Поправки к публикациям сведений об изобретениях в бюллетенях “Изобретения (заявки и патенты)” и “Изобретения. Полезные модели”
Напечатано: Адрес для переписки: 117303, Москва, ул. Б.Юшуньская, д.1-а, корп. 2, офис 407, «Константин Шилан и Ко.», пат.пов. К.А.Шилану, рег. 367
Следует читать: Адрес для переписки: 117393, Москва, а/я 279, «Константин Шилан и Ко.», пат.пов. К.А.Шилану, рег. 367
Номер и год публикации бюллетеня: 1-2008
Код раздела: FG4A
Извещение опубликовано: 20.04.2009 БИ: 11/2009
|
|