|
|
(21), (22) Заявка: 2003133701/02, 21.11.2003
(24) Дата начала отсчета срока действия патента:
21.11.2003
(43) Дата публикации заявки: 10.05.2005
(46) Опубликовано: 10.01.2008
(56) Список документов, цитированных в отчете о поиске:
US 4128937 A, 12.12.1978. SU 1829993 A1, 23.07.1993. RU 7928 U1, 16.10.1998. RU 2161088 C2, 27.12.2000. GB 2117304 A, 12.10.1983.
Адрес для переписки:
127644, Москва, Карельский б-р, 21, к.1, кв.34, А.А.Палею
|
(72) Автор(ы):
Лапшин Владимир Борисович (RU), Палей Алексей Алексеевич (RU)
(73) Патентообладатель(и):
Лапшин Владимир Борисович (RU), Палей Алексей Алексеевич (RU)
|
(54) СТАНОК ДЛЯ БРИТЬЯ
(57) Реферат:
Изобретение относится к области удовлетворения потребности людей и может быть использовано для создания бритвенных принадлежностей. Станок содержит ручку, закрепленную на блоке, в котором установлено лезвие с выступающей режущей кромкой. Ручка расположена в плоскости, нормаль к которой отклонена от режущей кромки на угол 1°  15° или >20°. Крепление ручки выполнено с возможностью изменения и фиксации угла ее положения относительно режущей кромки. В результате обеспечивается повышение качества бритья и удобства эксплуатации. 1 з.п. ф-лы, 1 ил.
Изобретение относится к области удовлетворения потребности людей и может быть использовано для создания бритвенных принадлежностей.
Известен станок для бритья, содержащий лезвие с остро заточенной режущей кромкой, установленное одним из его концов на осевом шарнире в ручке, содержащей ножны, выполненные в виде углубление вдоль поверхности ручки по форме, соответствующей форме режущего лезвия.
В известном станке режущая кромка лезвия может укладываться в ножны, чем обеспечивается защита режущей кромки от повреждений и безопасность станка при его хранении и транспортировке. Для перевода станка в рабочее положение лезвие извлекается из ножен наружу. Поворотом относительно оси устанавливается удобное для удержания в руке пользователя станком взаимное положение ручки и лезвия. Перемещением лезвия вдоль поверхности кожи пользователь обеспечивает давление его режущей кромки на основание волосяного покрова, превышающее его прочностные свойства и срезает его. Требуемое усилие перемещения лезвия, а следовательно, и сила воздействия на волосяной покров, создающая необходимое давление срезания волос, в числе прочих факторов определяется положением режущей кромки относительно направления ее перемещения. Так как в известном станке лезвие не закреплено, то для установления оптимального положения и направление перемещения режущей кромки лезвия относительно волосяного покрова и достижения высокого качества бритья требует от пользователя наличия высоких профессиональных навыков. Кроме того, открытое положение лезвия станка с остро заточенной кромкой при ошибочных действиях может привести к травмам.
Известна безопасная бритва, содержащая лезвие, закрепленное в съемном горизонтальном держателе, который в свою очередь крепится к ручке перпендикулярно.
Наиболее близким к заявляемому техническому решению относится станок для бритья, содержащий закрепленное в блоке лезвие, с выступающей из блока прямолинейной режущей кромкой и ручку, установленную на блоке в плоскости, перпендикулярной к режущей кромке (US 4128937 А, 12.12.1978, В26В 21/22).
В этом станке лезвие находится внутри блока, а режущая кромка выступает из блока лишь на расстояние, достаточное для срезания волосяного покрова, чем обеспечивается безопасность его эксплуатации даже при отсутствии надлежащих навыков пользователя.
Однако в известном техническом решении в процессе перемещения станка по направлению расположения оси ручки (естественное движение пользователя) угол между режущей кромкой и направлением ее перемещения составляет 90° и не является оптимальным для процесса резания. Это обстоятельство вынуждает повышать нагрузки на волосяной покров, что приводит к излишнему возмущению кожного покрова и ухудшает качество бритья, либо вынуждает перемещать станок за ручку в направлении, отличном от направления оси ручки, что создает излишние неудобства для пользователя.
Задачей настоящего изобретения является повышение качества бритья и удобства эксплуатации.
Для решения указанной задачи в известном станке, содержащем ручку, закрепленную на блоке, в котором установлено лезвие с выступающей за пределы его поверхности режущей кромкой, ручка расположена в плоскости, нормаль к которой отклонена от режущей кромки на угол  1°;
крепление ручки выполнено с возможностью изменения и фиксации угла ее положения относительно режущей кромки.
Предлагаемое техническое решение позволит использовать в процессе бритья касательные силы, что обеспечит снижение нагрузок резания и повысит качества бритья и удобство эксплуатации.
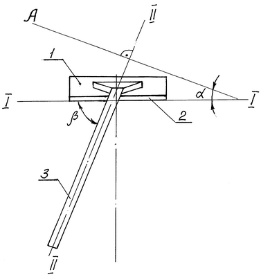
Условная схема предлагаемого станка представлена на чертеже.
Станок включает в себя блок 1 с установленным в нем лезвием 2, режущая кромка которого находится на линии 1-1 и выступает за пределы поверхности блока 1. К блоку 1 прикреплена ручка 3. Для упрощения чертежа конструкция крепления ручки не показана. Схема установки ручки 3 с возможностью изменения угла ее положения относительно плоскости, нормальной к режущей кромке, не влияет на достижение заявляемой цели. Конструктивно реализация предлагаемой схемы установки может быть выполнена известными техническими решениями. Например, в виде обычного соединения одного из концов ручки на оси, прикрепленной неподвижно к блоку в плоскости, перпендикулярной к кромке режущего лезвия. Схема фиксации ручки на оси также не принципиальна и может быть выполнена известными техническими решениями, например путем прижима элементов конструкции ручки к поверхности оси, например, с использованием резьбового соединения.
Ручка 3 расположена в плоскости II-II, нормаль к которой А пересекает линию режущей кромки 1-1, режущего лезвия 3 под углом  1°.
Предлагаемый станок работает следующим образом. В процессе перемещения станка за ручку в направлении ее оси (направление II-II) режущая кромка лезвия надвигается на волосы под острым углом = /2- , т.е. угол между режущей кромкой (I-I) и направлением ее перемещения (II-II) будет острым. Направление силы, действующей от режущей кромки на ткани волос в предлагаемой конструкции, не совпадает с направлением перемещения кромки. В результате чего создаются условия для относительного перемещения тканей волос вдоль режущей кромки. При наличии относительного перемещения перерезаемых волокон относительно режущего инструмента значение сил резания существенно уменьшается. Соответственно и уменьшается значение сил, воздействующих через срезаемые волоски и на кожный покров, улучшается качество бритья и уменьшается вероятность раздражения кожи. Вследствие действия сдвигающих усилий на волосяной покров, при движении режущей кромки станка, значительная часть срезаемых волос сдвигается вдоль кромки и не забивает зазоры конструкции блока, что создает дополнительные удобства при пользовании станком. Проведенные авторами экспериментальные исследования показали, что описываемый эффект начинает проявляться начиная с угла между направлением движения режущего инструмента и положением его режущей кромки, составляющим значение не менее 85°. Оптимальное же значение угла между направлением движения режущего инструмента и положением его режущей кромки может достигать значения 70° и определяется индивидуальными особенностями волосяного покрова пользователя, свойствами применяемого кремом для бритья, навыками и привычками пользователя.
Таким образом, установив ручку в плоскости, нормаль к которой образует с линией режущей кромки угол  1°, реализуются благоприятные условия резания.
Наличие у предлагаемой конструкции возможности изменять и фиксировать положение ручки относительно режущей кромки позволяет установить положение ручки станка в наиболее оптимальное положение с учетом вышеперечисленных особенностей, что создает дополнительные удобства пользования станком.
Кроме того, уменьшение усилий резания снижает нагрузки, действующие на кромку лезвия и, как следствие, уменьшает его износ, что позволяет увеличить срок службы станка.
Таким образом, предложенное техническое решение по сравнению с известным обладает новыми отличительными признаками и в совокупности с известными позволяет решить задачу повышения качества бритья и удобства эксплуатации, что позволяет достичь цели предлагаемого изобретения.
Формула изобретения
1. Станок для бритья, содержащий ручку, закрепленную на блоке, в котором установлено лезвие с выступающей режущей кромкой, отличающийся тем, что ручка расположена в плоскости, нормаль к которой отклонена от режущей кромки на угол 1°  15° или >20°.
2. Станок по п.1, отличающийся тем, что крепление ручки выполнено с возможностью изменения и фиксации угла ее положения относительно режущей кромки.
РИСУНКИ
|
|