|
|
(21), (22) Заявка: 2006106073/02, 26.02.2006
(24) Дата начала отсчета срока действия патента:
26.02.2006
(46) Опубликовано: 10.01.2008
(56) Список документов, цитированных в отчете о поиске:
RU 2191104, 20.10.2002. Подводный дыропробивной пистолет ПДП, Инструкция по эксплуатации. – М.: Военное издательство Министерства обороны, 1968. GB 1221259, 03.02.1971. GB 998896, 21.07.1965.
Адрес для переписки:
607188, Нижегородская обл., г. Саров, пр. Мира, 37, ФГУП “РФЯЦ-ВНИИЭФ”, начальнику ОПИНТИ
|
(72) Автор(ы):
Игнатов Олег Леонидович (RU), Драгунов Юрий Алексеевич (RU), Шестаков Александр Николаевич (RU)
(73) Патентообладатель(и):
Федеральное государственное унитарное предприятие “Российский федеральный ядерный центр-Всероссийский научно-исследовательский институт экспериментальной физики”-ФГУП “РФЯЦ-ВНИИЭФ” (RU)
|
(54) МОНТАЖНЫЙ ПИСТОЛЕТ И МЕТАЕМЫЙ ЭЛЕМЕНТ ДЛЯ НЕГО
(57) Реферат:
Монтажный пистолет и метаемый элемент для него применяются для пробития отверстий и забивки крепежных деталей в металлические конструкции как на воздухе, так и под водой и содержит патрон с пороховым зарядом. В качестве узла инициирования используется электродетонатор, размещенный вне ствола, примыкающий к нему через срезаемую мембрану. В стволе размещен поршень, в котором установлен метаемый элемент (пробойник или крепежная деталь). Пистолет устанавливается на пробиваемый материал на опорных элементах, снабженных магнитами. Метаемый элемент выполнен с конусной заточкой с концевой части наконечника под углом 90-120°, а остальной части-25-30°. Обеспечивается увеличение глубины пробития, повышение безопасности обращения и расширение функциональных возможностей. 2 н.п. ф-лы, 2 ил.
Изобретение относится к инструментам, использующим энергию, выделяющуюся при взрыве твердого взрывчатого материала (ВМ), в частности к пороховым монтажным пистолетам, в которых энергия, высвобождающаяся при взрывном горении порохового заряда, сообщается метаемому элементу, в качестве которого используются пробойники или крепежные детали (заклепки, шпильки), применяемым как на воздухе, так и под водой.
Известно устройство для соединения двух деталей без крепежных элементов, выполненное в виде монтажного пистолета, в качестве метаемого элемента в котором используется пробойник (пат.RU №2021862, «Устройство для соединения двух деталей», МПК: B 21 D 39/03, опубл.30.10.94 г.). В стволе пистолета помещен пробойник, выполненный в виде металлического стержня с заостренным наконечником, имеющим односторонний скос, снабженный возвратной пружиной и поршнем, сопряженным с каналом ствола. На конце ствола жестко закреплен упор-ограничитель с внешним скосом, противоположным по направлению скоса пробойника, и с отверстием, соосным каналу ствола. В стволе со стороны упора-ограничителя выполнено отверстие для выброса отработанного сжатого воздуха после завершения рабочего хода поршня. В момент выстрела пробойник выполняет три операции, обеспечивающие неразъемное соединение в стыке деталей конструкции: образование отверстия, формирование крепежного лепестка из материала самих деталей, загиб крепежного лепестка в рабочее положение.
Недостатком этого технического решения является небольшая глубина пробития, что ограничивает возможность применения данной конструкции, которая рассчитана на скрепление только тонких листов, а конусная заточка создает смятие и уплотнение пробиваемого материала.
Известен пороховой монтажный пистолет с регулировкой мощности, используемый для забивки крепежных деталей (стальных дюбелей), которые являются метаемыми элементами (пат.RU №2191104, «Пороховой монтажный пистолет», МПК: В 25 С 1/14, опубликован 20.10.02 г.). Этот монтажный пистолет содержит корпус, патрон с пороховым зарядом и устройством его инициирования, выполненным в виде ударно-спускового механизма, ствол с газоотводным отверстием и размещенным в канале ствола с возможностью хода поршнем, закрепленным в корпусе регулятором мощности, имеющим регулировочный винт и золотник, помещенные в полость в теле ствола, сообщающимся с газоотводным отверстием. Крепежная деталь (дюбель) устанавливается в конечной части ствола, с возможностью соприкосновения шляпки с разогнавшимся поршнем. Перед выстрелом рукояткой регулировочного винта устанавливают требуемый уровень мощности. После нанесения удара по капсюлю патрона пороховой заряд воспламеняется, и за счет давления образующихся газов начинается разгон поршня до соприкосновения его ударной части со шляпкой дюбеля, после чего заостренный наконечник дюбеля начинает внедряться в преграду. При дальнейшем движении поршня его торец достигает края газоотводного отверстия, и газ затекает в него. Положение золотника изменяет степень перекрытия газоотводного отверстия, и установленное регулятором количество газа стравливается за пределы ствола.
Недостатком данной конструкции является небольшая глубина пробития и возможность срабатывания при ударе, падении и т.д., что также ограничивает область применения пистолета, а заостренный наконечник дюбеля создает расслоение материала конструкции.
Известен монтажный пистолет (Подводный дыропробивной пистолет – ПДП, «Инструкция по эксплуатации». М.: Военное издательство министерства обороны, 1968), предназначенный для пробивания отверстий и забивки шпилек в различные конструкции, например в обшивку корпуса корабля, как под водой, так и на воздухе. Глубина пробития в корабельной стали составляет от 9 до 17 мм.
Данная конструкция выбрана в качестве прототипа как наиболее близкая к заявляемой по решаемой задаче, количеству сходных признаков и достигаемому результату. Конструкция ПДП включает полый корпус, в котором установлен ударно-спусковой механизм с предохранителем и возможностью перемещения в полости корпуса, ствол с газоотводным отверстием, в канале ствола установлен патрон с пороховым зарядом, обращенным к ударно-спусковому механизму, и метаемым элементом с противоположной стороны. В качестве метаемого элемента применяется пробойник или крепежная деталь (шпилька), а ударно-спусковой механизм является узлом инициирования капсюля порохового заряда. На концевом участке ствола выполнена резьба для навинчивания надульника, устанавливаемого в опорные элементы в виде треножника. Наконечник метаемого элемента, если это пробойник, имеет конусную заточку под углом 45-90°, а если шпилька – сферическую. Недостатками конструкции ПДП являются:
– невысокий уровень безопасности обращения, связанный: с невозможностью использования дистанционно ввиду наличия ударно-спускового механизма, запускаемого вручную, который может самопроизвольного срабатывать при неисправности предохранителя, а также с наличием опасного инициирующего взрывчатого вещества (ВВ) в своем составе, которое нестойко к действию статического электричества, трению, удару, падению и т.д., и необходимостью чистки и перезарядки ПДП непосредственно перед использованием, что требует специального помещения, строгого соблюдения правил ОТ и ТБ, специально обученного персонала и т.д.;
– возможность рикошета метаемого элемента, что угрожает жизни обслуживающего персонала, а для шпилек – расслоение, смятие и уплотнение пробиваемого материала, что уменьшает пробивную способность ПДП;
– невысокая пробивная способность;
– ограничение по глубине использования, не более 50 м.
Техническим результатом заявляемого решения является увеличение глубины пробития, повышение безопасности обращения с ПДП и расширение его функциональных возможностей. Дополнительным техническим результатом, который может быть достигнут при использовании изобретения, является упрощение конструкции и повышение удобства обращения с ним.
Указанный технический результат достигается за счет того, что в конструкции монтажного пистолета, включающей патрон с пороховым зарядом и узлом его инициирования, ствол с газоотводным отверстием, в канале которого установлен метаемый элемент, представляющий собой пробойник или крепежную деталь, опорные элементы для установки на пробиваемом материале, патрон с пороховым зарядом установлен вне ствола и примыкает к нему через срезаемую мембрану, а в стволе, с другой стороны мембраны, помещен, с возможностью перемещения вдоль канала ствола, поршень, в котором установлен метаемый элемент, при этом в качестве узла инициирования порохового заряда используется содержащий только бризантные ВВ электродетонатор, а опорные элементы снабжены магнитами, а также конструкции метаемого элемента, включающей основание и наконечник с двойной конусной заточкой: конусная заточка концевой части наконечника выполнена под углом 90-120°, а остальной части – под углом 25-30°.
Размещение порохового заряда отдельно от метаемого элемента вне ствола упрощает снаряжение пистолета, повышает безопасность обращения и позволяет использовать различные пороховые составы, что позволяет влиять на глубину пробития и расширяет функциональные возможности.
Примыкание патрона к стволу через срезаемую мембрану позволяет отделить патрон от ствола с метаемым элементом и сформировать замкнутый объем, в котором начинается и надежно развивается процесс горения заряда, а установка поршня с метаемым элементом с другой стороны мембраны позволяет обеспечить более полное сгорание заряда и эффективную передачу энергии пороховых газов метаемому элементу, что повышает пробивную способность и тем самым увеличивает глубину пробития при повышении безопасности обращения, позволяет использовать пистолет на больших глубинах.
Использование в качестве узла инициирования содержащего только бризантные взрывчатые вещества электродетонатора позволяет осуществить инициирование порохового заряда по другому принципу, отличному от принципа действия ударно-спускового механизма, и передать инициирующий импульс пороховому заряду через преграду, которой является дно патрона, что позволяет отказаться от использования инициирующих ВВ, как в прототипе, и сформировать отдельно от узла инициирования замкнутую герметичную полость, в которую помещают пороховой заряд, при этом улучшаются условия формирования импульса рабочего давления, что оказывает положительное влияние на пробивную способность, а сам заряд становится надежно защищенным от действия внешней среды. Данный принцип инициирования позволяет использовать пистолет дистанционно, без резкой и сильной подачи вперед корпуса пистолета при выстреле, как в прототипе, и исключить возможность самопроизвольного срабатывания, что повышает безопасность обращения. Появляется возможность забивки нескольких крепежных деталей, синхронного закрепления детали несколькими крепежными элементами, сохранение работоспособности пистолета на глубине до 200 м, в отличие от прототипа, работающего на глубине до 50 м, что существенно расширяет его функциональные возможности. Снабжение опорных элементов магнитами позволяет надежно фиксировать его на металлических корпусах плавсредств, что улучшает его работу и упрощает обращение с ним, позволяя установить его на пробиваемом материале до срабатывания, заранее и дистанционно управлять им, что также расширяет его функциональные возможности.
Применение двойного угла заточки наконечника метаемого элемента, определенного экспериментальным путем в указанных выше пределах, позволяет добиться большей глубины пробития (забивки), производить забивку и пробитие в металлических конструкциях с различными механическими свойствами, исключить рикошет метаемых элементов и смятие пробиваемого материала. Лабораторные испытания различных образцов метаемых элементов с двойным углом заточки показали эффективность данного предложения.
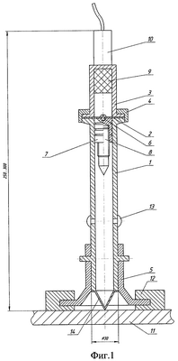
На фиг.1 представлен общий вид заявляемого пистолета, на фиг.2 – наконечник метаемого элемента, где:
1 – ствол;
2 – мембрана;
3 – патрон;
4 – гайка;
5 – надульник;
6 – винт;
7 – поршень;
8 – метаемый элемент;
9 – пороховой заряд;
10 – электродетонатор;
11 – пробиваемый материал;
12 – магнит;
13 – разгрузочные отверстия;
14 – колпачок.
Примером конкретного выполнения заявляемых устройств может служить пробивной монтажный пистолет и пробойник для него.
Монтажный пистолет включает в себя стальной патрон, выполненный в виде гильзы, в которую помещен пороховой заряд. На дно гильзы, снаружи, установлен электродетонатор. Патрон подсоединен с помощью гайки к стальному стволу, в котором установлен поршень с метаемым элементом (пробойником), выполненным в виде стального стержня с конусным наконечником. Поршень при помощи винта крепится к срезаемой мембране, которая отделяет полость гильзы от канала ствола и выполнена в виде стальной пластины толщиной 0,5 мм. В стволе выполнены два газоотводных отверстия диаметром 7 мм, а на нижнюю часть ствола крепится надульник, совмещенный с опорными элементами магнитами. Дуло пистолета закрыто колпачком.
Метаемый элемент – пробойник выполнен в виде стального стержня, наконечник которого имеет двойную конусную заточку, концевой участок наконечника, составляющий четверть его длины, выполнен с конусной заточкой под углом 100°, а остальная часть – под углом 28°.
Работа заявляемого пистолета осуществляется следующим образом. Пистолет устанавливается опорными элементами надульника 5, снабженными магнитами 12, на пробиваемый материал. Подается высоковольтный импульс на подрыв электродетонатора 10. При подрыве электродетонатора 10, подсоединенного к дну патрона 3, в котором помещен заряд 9, инициирующий импульс (ударная волна) проходит через дно патрона и воспламеняет заряд 9. В герметичной полости, образованной стенками патрона 3 и мембраной 2 за счет их крепления со стволом 1 гайкой 4, нарастает давление газов, образующихся при сгорании порохового заряда 9. При достижении определенного давления срезается мембрана 2, к которой привинчен винтом 6 поршень 7 с пробойником 8, и поршень начинает движение. Поршень 7 вместе с пробойником 8 разгоняется в канале ствола 1 и попадает в надульник 5, далее пробойник внедряется в пробиваемый материал 11, а поршень опускается ниже газоотводных отверстий 13, через которые стравливаются газы, толкающие его. Двойной угол заточки метаемого элемента и возможность применение более мощных зарядов позволяет увеличить глубину пробития в 2 раза и более по сравнению с прототипом и обеспечить более надежное и прочное внедрение в пробиваемый материал. Забивка крепежных деталей на такую глубину с исключением рикошета значительно повышает возможность их использования при подводных работах, когда шпильки испытывают большие нагрузки.
Формула изобретения
1. Монтажный пистолет, содержащий патрон с пороховым зарядом и узлом его инициирования, ствол с газоотводным отверстием, в канале которого установлен метаемый элемент, представляющий собой пробойник или крепежную деталь, и опорные элементы для установки на пробиваемый материал, отличающийся тем, что патрон с пороховым зарядом размещен вне ствола и примыкает к нему через срезаемую мембрану, метаемый элемент размещен в поршне, который установлен с возможностью перемещения вдоль канала ствола с другой стороны мембраны, при этом в качестве узла инициирования порохового заряда использован содержащий бризантные взрывчатые вещества электродетонатор, а опорные элементы снабжены магнитами.
2. Метаемый элемент, содержащий цилиндрическое основание и наконечник с конусной заточкой, отличающийся тем, что на концевой части наконечник выполнен с конусной заточкой под углом 90-120°, а на остальной части – под углом 25-30°.
РИСУНКИ
|
|