|
(21), (22) Заявка: 2004130949/02, 21.10.2004
(24) Дата начала отсчета срока действия патента:
21.10.2004
(43) Дата публикации заявки: 10.04.2005
(46) Опубликовано: 10.01.2008
(56) Список документов, цитированных в отчете о поиске:
RU 2107608 C1, 27.03.1998. GB 230996 A, 26.03.1925. DE 10020409 C1, 16.08.2001. GB 2074062 A, 28.10.1981.
Адрес для переписки:
620049, г.Екатеринбург, ул. Студенческая, 15, кв.17, А.П. Мазуренко
|
(72) Автор(ы):
Мазуренко Александр Петрович (RU)
(73) Патентообладатель(и):
Мазуренко Александр Петрович (RU)
|
(54) УНИВЕРСАЛЬНЫЙ ШЛИФОВАЛЬНЫЙ ИНСТРУМЕНТ
(57) Реферат:
Изобретение относится к области машиностроения и может быть использовано в конструкциях ручных шлифовальных инструментов при столярных и ремонтных работах изделий как с плоской, так и с профильной поверхностью. Опора рукоятки инструмента выполнена с продольной выемкой в средней части ее плоскости контакта с основанием с образованием торцовых и продольных опорных элементов. Основание инструмента имеет выступ, повторяющий контур выемки опоры рукоятки. Величина ширины торцовых опорных элементов выбрана оптимальной из условия исключения нейтральных зон на плоскости контакта опоры при обработке плоских поверхностей и ее равенства величинам двойной ширины полосы прихвата краев шлифовальной шкурки продольными опорными элементами опоры рукоятки и ширины выемки между ними. В результате снижается вес инструмента при надежном креплении шлифовальной шкурки и обеспечивается возможность использования узких облегченных оснований для шлифовки профильных поверхностей. 3 ил.
Изобретение относится к области ручных шлифовальных инструментов. Оно может быть использовано при столярных и ремонтных работах изделий как с плоской, так и с профильной поверхностью.
Его производство может быть осуществлено на малом предприятии с использованием вторичного сырья заводов по выпуску столярных изделий или изделий из пластмасс.
Известны ручные инструменты для шлифовки поверхностей. Они имеют специальные рукоятки с укрепленными на их концах отъемными основаниями, на которых закреплена шлифовальная шкурка (US 3842549 A, 22.10.1974 г.; GB 805790 A, 10.12.1958 г.; DE 3725656 Ф1, 16.02.1989 г.).
Недостатки известных инструментов в том, что они сложны в изготовлении, рукоятки не являются узлом крепления шлифовальной шкурки на основании, а для этого имеется промежуточное звено, с помощью которого концы шкурки крепятся на основании известным способом, когда опорные края звена соответствуют ширине шлифовальной шкурки. Они предназначены для обработки только плоских или профильных поверхностей.
Наиболее близким аналогом является «Устройство для шлифования» RU 2107608 C1, кл. GB 240.15/00, содержащее рукоятку с опорой, отъемное основание, имеющие равные контактные плоскости прямоугольной формы и механизм крепления шлифовальной шкурки на основании под опорными элементами рукоятки. Узлы соединения механизма крепления шлифовальной шкурки расположены: один – на рукоятке, второй – на выступе основания, в средней их части.
Недостатки известного шлифовального устройства в том, что:
во-первых, прямоугольный контур контактной плоскости опоры рукоятки для прихвата концов (краев) шлифовальной шкурки под ее торцовыми и продольными опорными элементами соответствует контуру контактной плоскости основания для шлифовки плоских поверхностей. Поэтому для шлифовки профильных поверхностей могут использоваться только основания, равные по ширине основанию для шлифовки плоских поверхностей. Такие отъемные основания имеют значительный вес, работа с ними является трудоемкой;
во-вторых, при креплении краев шлифовальной шкурки продольными элементами рукоятки на ее контактной поверхности образуются две нейтральные зоны между краем полосы прихвата шкурки и выступом на отъемном основании;
в-третьих, в большинстве случаев при ручной обработке отдельных фрагментов профильных поверхностей рационально использовать узкие, более легкие основания. Но крепить края шлифовальной шкурки под широкой опорой рукоятки на узком основании затруднительно, а при работе излишне широкая опора затрудняет использование инструмента в работе. Рукоятка аналога не универсальна, она не предназначена для соединения с узкими, облегченными основаниями для шлифовки профильных поверхностей;
в-четвертых, надежное крепление шлифовальной шкурки для шлифовки плоских поверхностей осуществляется за счет силы давления на узкой полосе прихвата торцовыми опорными элементами рукоятки концов шлифовальной шкурки. У аналога ширина торцовых опорных элементов рукоятки равна ширине шлифовальной шкурки и основанию. При этом через механизм крепления шлифовальной шкурки требуется развивать значительную силу прихвата концов шкурки.
Технической задачей изобретения является создание универсального шлифовального инструмента для шлифовки как плоских, так и профильных поверхностей при снижении веса инструмента, надежном креплении шлифовальной шкурки на основании и обеспечение удобства работы с ним.
Поставленная задача достигается тем, что в шлифовальном инструменте, содержащем рукоятку с опорой, отъемное основание и механизм крепления шлифовальной шкурки на основании, для обработки как плоских, так и профильных поверхностей опора рукоятки выполнена с продольной выемкой в средней части ее плоскости контакта с основанием с образованием торцовых и продольных опорных элементов, а основание – с выступом, повторяющим контур выемки опоры рукоятки, причем величина ширины торцовых опорных элементов выбрана оптимальной из условия исключения нейтральных зон на плоскости контакта опоры при обработке плоских поверхностей и ее равенства величинам двойной ширины полосы прихвата краев шлифовальной шкурки продольными опорными элементами опоры рукоятки и ширины выемки между ними.
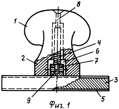
На фиг.1 дан вид с торца на шлифовальный инструмент для шлифовки плоских поверхностей с широким отъемным основанием;
на фиг.2 – узкое отъемное основание с выступом;
на фиг.3 – вид с торца на вариант инструмента для шлифовки плоских и профильных поверхностей с оптимально узким основанием для крепления шлифовальной шкурки.
Универсальный шлифовальный инструмент для шлифовки плоских поверхностей состоит из рукоятки 1 с опорой 2, отъемного основания 3, механизма крепления 4 шлифовальной шкурки 5 на основании 3. В средней части плоскости контакта с отъемным основанием 3 на опоре 2 выполнена продольная выемка 6, а на отъемном основании 3 выполнен выступ 7, повторяющий контур выемки 6. Механизм крепления 4 шлифовальной шкурки 5 соединен узлами 8 и 9 соответственно с рукояткой 1 и выступом 7 отъемного основания 3.
Концы шлифовальной шкурки 5 для шлифовки плоских поверхностей крепятся на широком основании 3 в средней его части под торцовыми опорными элементами 10 рукоятки 1 на участке, ширина которого равна двойному размеру оптимальной ширины полосы 11 прихвата краев шлифовальной шкурки 12 под продольными опорными элементами 13 и 14 опоры 2 рукоятки 1 и ширине выемки 6 между ними.
Снижение ширины торцовых опорных элементов 10 рукоятки 1 до оптимально узкого размера за счет исключения нейтральных зон на контактной плоскости опоры 2 рукоятки позволяет усилить крепление шлифовальной шкурки на широком основании для шлифования плоских поверхностей, снизить вес инструмента. Создается возможность использовать узкие, облегченные основания для шлифовки профильных поверхностей (фрагментов), например угловых выемок 15 и 16 и других узких отъемных оснований для шлифовки профильных поверхностей.
Формула изобретения
Универсальный шлифовальный инструмент, содержащий рукоятку с опорой, отъемное основание и механизм крепления шлифовальной шкурки на основании, отличающийся тем, что для обработки как плоских, так и профильных поверхностей, опора рукоятки выполнена с продольной выемкой в средней части ее плоскости контакта с основанием с образованием торцовых и продольных опорных элементов, а основание – с выступом, повторяющим контур выемки опоры рукоятки, причем величина ширины торцовых опорных элементов выбрана оптимальной из условия исключения нейтральных зон на плоскости контакта опоры при обработке плоских поверхностей и ее равенства величинам двойной ширины полосы прихвата краев шлифовальной шкурки продольными опорными элементами опоры рукоятки и ширины выемки между ними.
РИСУНКИ
|