|
|
(21), (22) Заявка: 2004126638/02, 06.02.2003
(24) Дата начала отсчета срока действия патента:
06.02.2003
(30) Конвенционный приоритет:
04.03.2002 IL 148475
(43) Дата публикации заявки: 10.05.2005
(46) Опубликовано: 10.01.2008
(56) Список документов, цитированных в отчете о поиске:
DE 3114460 A1, 04.02.1982. SU 645769 A, 10.02.1971. SU 772735 A, 23.10.1980. SU 1761385 A1, 06.09.1992.
(85) Дата перевода заявки PCT на национальную фазу:
04.10.2004
(86) Заявка PCT:
IL 03/00096 (06.02.2003)
(87) Публикация PCT:
WO 03/074217 (12.09.2003)
Адрес для переписки:
103062, Москва, ул. Покровка, д.33/22, стр.1, Агентство “ИНТЭЛС”, пат.пов. О.М.Дьяконовой
|
(72) Автор(ы):
ХЕЧТ Джил (IL)
(73) Патентообладатель(и):
ИСКАР ЛТД. (IL)
|
(54) РЕЖУЩИЙ ИНСТРУМЕНТ
(57) Реферат:
Изобретение относится к области обработки материалов резанием, сборному режущему инструменту. Инструмент содержит державку и режущую пластину, закрепленную прижимом в гнезде державки, имеющем сквозное отверстие, проходящее от базовой стенки к периферийной поверхности державки. Режущая пластина имеет сквозное отверстие с цилиндрической боковой поверхностью и, по крайней мере, два разнесенных по периферии опорных выступа, расположенных радиально внутрь. Прижим имеет, по крайней мере, два разнесенных по периферии зажимных выступа, каждый из которых имеет зажимную поверхность и возможность вращения вокруг продольной оси между зажимным положением и открепленным положением. При этом в зажимном положении передняя часть прижима расположена в сквозном отверстии режущей пластины, а каждая зажимная поверхность взаимодействует с соответствующей опорной поверхностью. Для расширения технологических возможностей зажимная поверхность каждого зажимного выступа выполнена винтовой в форме заданной охватываемой винтовой резьбы, а опорная поверхность каждого опорного выступа выполнена винтовой в форме ответной охватывающей винтовой резьбы. Прижим выполнен с возможностью линейного перемещения в сквозном отверстии гнезда из открепленного положения в отведенное положение, в котором его передняя часть расположена в сквозном отверстии гнезда вне сквозного отверстия пластины, а режущая пластина может быть удалена из гнезда. 12 з.п. ф-лы, 17 ил.
Область техники
Изобретение относится к режущему инструменту, имеющему сменную режущую пластину.
Уровень техники
Такие режущие инструменты хорошо известны, в особенности те, в которых режущая пластина с возможностью замены удерживается посредством крепежного винта в соответствующем гнезде режущего инструмента. Часто при обслуживании таких инструментов возникают трудности, связанные с удалением или заменой режущей пластины, обусловленные тем, что это требует освобождения, удаления и ввинчивания крепежного винта в окружающей обстановке, в которой доступ к крепежному винту или затруднителен или невозможен. Например, на прутковых станках-автоматах режущие инструменты имеют державки, которые, как правило, выполнены в виде прямоугольных стержней, имеющих в поперечном сечении ширину между 7 и 12 мм. Режущая пластина закрепляется в гнезде как посредством винта, так и – прихвата. Закрепление винтом раскрыто в патенте США 5,779,400 и заявке Германии 3114460 А1. Прихваты образуют часто часть зажимного механизма, которая занимает достаточно много места и неудобна для державок с очень малым поперечным сечением.
С другой стороны, проблема, которая возникает при использовании закрепляемых винтами режущих пластин на режущих инструментах, имеющих вытянутые державки, состоит в том, что головка винта расположена с одной стороны державки. Это означает, что оператор для того, чтобы отвинтить, удалить и вставить винт, должен иметь доступ к той стороне державки, с которой расположена головка винта, что не всегда возможно.
Задача настоящего изобретения состоит в создании режущего инструмента со сменной режущей пластиной, в котором она закрепляется в гнезде таким образом, что преодолеваются вышеупомянутые недостатки.
Сущность изобретения
В соответствии с настоящим изобретением режущий инструмент содержит державку и режущую пластину, закрепленную прижимом в гнезде державки,
гнездо ограничено базовой стенкой и первой и второй боковыми стенками, в основном выступающими от базовой стенки, и имеет сквозное отверстие, проходящее от базовой стенки к периферийной поверхности державки,
режущая пластина имеет, по крайней мере, одну режущую часть с режущей кромкой и опорную часть со сквозным отверстием, имеющим цилиндрическую боковую поверхность и, по крайней мере, два разнесенных по периферии опорных выступа, расположенных радиально внутрь от цилиндрической боковой поверхности, каждый опорный выступ имеет наклонную опорную поверхность заданной формы, опорные выступы разделены промежутками,
прижим имеет переднюю часть, заднюю часть и в основном цилиндрическую промежуточную часть между ними с продольной осью, проходящей через заднюю и переднюю части, передняя часть имеет, по крайней мере, два разнесенных по периферии зажимных выступа, каждый из которых имеет наклоненную в основном назад торцовую зажимную поверхность с формой, соответствующей заданной форме опорных поверхностей, зажимные выступы разделены промежутками, прижим имеет возможность вращения вокруг продольной оси между зажимным положением и открепленным положением, при этом в зажимном положении передняя часть прижима расположена в сквозном отверстии пластины, а каждая зажимная поверхность взаимодействует с соответствующей опорной поверхностью.
В соответствии с настоящим изобретением зажимная поверхность каждого зажимного выступа выполнена винтовой в форме заданной охватываемой винтовой резьбы, а опорная поверхность каждого опорного выступа выполнена винтовой в форме ответной охватывающей винтовой резьбы.
Также в соответствии с настоящим изобретением в открепленном положении передняя часть прижима расположена в сквозном отверстии пластины так, что каждая зажимная поверхность расположена в соответствующем промежутке между опорными выступами, а каждая опорная поверхность расположена в соответствующем промежутке между зажимными выступами.
В соответствии с первым вариантом настоящего изобретения прижим имеет возможность линейного перемещения в сквозном отверстии гнезда из открепленного положения в отведенное положение, в котором передняя часть прижима расположена в сквозном отверстии гнезда, вне сквозного отверстия пластины, а режущая пластина может быть удалена из гнезда.
Предпочтительно в соответствии с первым вариантом настоящего изобретения в сквозном отверстии гнезда выполнен упор, предназначенный для предотвращения полного вывода из него прижима.
Предпочтительно также в соответствии с первым вариантом настоящего изобретения промежуточная цилиндрическая часть выполнена с продольно расположенной лыской, имеющей передний и задний концы, с переднего конца лыска ограничена уступом, а с заднего конца – открыта в проточку, промежуточная цилиндрическая часть имеет первый диаметр, проточка имеет второй диаметр, второй диаметр выполнен меньше, чем первый диаметр, упор размещен в выборке, образованной лыской, давая возможность прижиму для перемещения вперед и назад в сквозном отверстии гнезда, полный вывод прижима из сквозного отверстия предотвращается взаимодействием упора с уступом.
В соответствии с первым вариантом упор выполнен в виде штифта, расположенного в соответствующем отверстии, при этом часть штифта выступает в сквозное отверстие гнезда.
Также в соответствии с первым вариантом как в зажимном положении, так и в открепленном положении, часть штифта, выступающая в сквозное отверстие гнезда, размещена в проточке прижима.
Также в соответствии с первым вариантом в отведенном положении часть штифта, выступающая в сквозное отверстие гнезда, размещена в выборке, образованной лыской.
В соответствии со вторым вариантом настоящего изобретения в открепленном положении режущая пластина имеет возможность удаления из гнезда.
Предпочтительно в соответствии со вторым вариантом настоящего изобретения на прижиме установлено круглое пружинное кольцо, частично выступающее из кольцевой канавки на цилиндрической части.
Предпочтительно задняя часть прижима выполнена с направленной вперед головкой конической формы, предназначенной для взаимодействия с соответствующим коническим участком в сквозном отверстии гнезда.
В основном головка прижима выполнена с углублением под ключ для вращения прижима к и от зажимного и открепленного положения.
Если необходимо, углубление под ключ и ключ выполнены шестигранными.
Более того, если необходимо, ключ может иметь, по крайней мере, два выступа для вставления в промежутки между зажимными выступами для поворота прижима к и от зажимного и открепленного положения.
Краткое описание чертежей
Для лучшего понимания и только в качестве примера изобретение будет описано с отсылками к приложенным чертежам, на которых
на фиг.1 показан вид в перспективе сверху спереди на режущий инструмент в разобранном состоянии в соответствии с первым вариантом настоящего изобретения, показан также шестигранный ключ,
на фиг.2 показан вид в перспективе на режущий инструмент в соответствии с первым вариантом настоящего изобретения с удаленной режущей пластиной и прижимом в отведенном положении,
на фиг.3 показан вид в перспективе сверху сзади на режущий инструмент в разобранном состоянии с прижимом в соответствии с первым вариантом настоящего изобретения, показан также ключ с двумя выступами,
на фиг.4 показан вид сбоку на режущую пластину в соответствии с первым вариантом настоящего изобретения,
на фиг.5 показан вид в перспективе на прижим в соответствии с первым вариантом настоящего изобретения,
на фиг.6 показан первый вид сбоку на прижим в соответствии с первым вариантом настоящего изобретения,
на фиг.7 показан второй вид сбоку на прижим в соответствии с первым вариантом настоящего изобретения,
на фиг.3 показан вид сбоку на измененный прижим в соответствии со вторым вариантом настоящего изобретения,
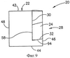
на фиг.9 показан вид спереди на режущий инструмент в соответствии с первым вариантом настоящего изобретения,
на фиг.10 показан вид спереди на измененный режущий инструмент в соответствии со вторым вариантом настоящего изобретения,
на фиг.11 частично показано поперечное сечение режущего инструмента на фиг.2 по линии XI-XI, на котором прижим показан в отведенном положении,
на фиг.12 показано то же сечение, как на фиг.11, но прижим находится в открепленном положении,
на фиг.13 показано то же сечение, как на фиг.12, но прижим находится в зажимном положении,
на фиг.14 частично показан вид сбоку на режущий инструмент в соответствии с первым вариантом настоящего изобретения с прижимом, находящимся в открепленном положении,
на фиг.15 частично показан вид сбоку на режущий инструмент в соответствии с первым вариантом настоящего изобретения с прижимом, находящимся в зажимном положении,
на фиг.16 представлено сечение, аналогичное сечению на фиг.12 и показывающее измененный прижим в открепленном положении в соответствии со вторым вариантом настоящего изобретения, и
на фиг.17 представлено сечение, аналогичное сечению на фиг.16, но с измененным прижимом в зажимном положении.
Детальное описание изобретения
В изложенном ниже описании изобретение показано для режущего инструмента того типа, который обычно используется на токарных прутковых станках-автоматах. Однако изобретение создано, чтобы гарантировать удержание режущей пластины в гнезде режущего инструмента. Более точно изобретение относится к соединительному устройству между прижимом и режущей пластиной, и поэтому следует подчеркнуть, что изобретение никак не ограничивается только режущими инструментами того типа, который используется на токарных станках-автоматах, и применимо ко многим типам режущих инструментов, в которых режущая пластина должна быть закреплена в гнезде посредством прижима.
Рассмотрим вначале фиг.1-3, показывающие режущий инструмент 20 в соответствии с первым вариантом настоящего изобретения. Режущий инструмент 20 содержит державку 22 и режущую пластину 24, закрепленную прижимом 26 в гнезде 28 державки 22. Гнездо 28 ограничено базовой стенкой 30 и первой и второй боковыми стенками 32, 34, выступающими в основном от базовой стенки 30. Державка 22 имеет периферийную поверхность 36, расположенную между ее передним и задним концами. Периферийная поверхность 36 состоит из четырех продольных граней: верхней грани 42, нижней грани 44 и передней и задней боковых граней 46, 48, расположенных между верхней и нижней гранями 42, 44. Гнездо 28 расположено на передней боковой грани 46 вблизи переднего конца 38 державки 22.
Сквозное отверстие гнезда 50 проходит от базовой стенки 30 к задней боковой грани 48 периферийной поверхности 36 державки 22. В сквозном отверстии гнезда 50 выполнен конический участок 52, открытый в сторону задней грани 48. В державке в соответствующем отверстии 56 размещен штифт 54. Отверстие под штифт 56 ориентировано перпендикулярно сквозному отверстию гнезда 50 и расположено так, чтобы часть штифта 54 выступала в сквозное отверстие гнезда 50.
Рассмотрим дополнительно фиг.4. Режущая пластина 24 имеет первую плоскую боковую поверхность 58, противолежащую вторую плоскую боковую поверхность 60, в основном параллельную первой боковой поверхности 58, и периферийную кромочную поверхность 62, расположенную между ними. Режущая пластина 24 имеет две режущие части 64, каждая режущая часть имеет режущую кромку 66, одна режущая кромка является рабочей режущей кромкой 68, а другая – нерабочей режущей кромкой 70. Рабочая режущая комка 68 образована на пересечении рабочей задней поверхности 72 с рабочей передней поверхностью 74, а нерабочая режущая кромка 70 образована на пересечении нерабочей задней поверхности 76 с нерабочей передней поверхностью 78. Между режущими частями 64 расположена опорная часть 80. В опорной части выполнено сквозное отверстие пластины 82, проходящее между первой и второй боковыми поверхностями 58, 60. Сквозное отверстие пластины 82 имеет боковую поверхность 86 и два разнесенных по периферии опорных выступа 88, выступающих радиально внутрь от боковой поверхности 86 сквозного отверстия пластины и разделенных промежутками 90. Каждый опорный выступ имеет наклонную опорную поверхность 92. Опорные поверхности 92 выполнены предпочтительно винтовыми в форме охватывающей резьбы. Режущая пластина 24 имеет четыре опорные поверхности: первую опорную поверхность 94 на нижней периферийной стороне опорной части 80, две вторых опорных поверхности 96 на периферийной кромочной поверхности 62, рабочую вторую опорную поверхность 98 вблизи нерабочей задней поверхности 76 и нерабочую вторую опорную поверхность 100 вблизи рабочей задней поверхности 72, а первая боковая поверхность 58 образует третью опорную поверхность. Когда режущая пластина удерживается в гнезде 28 (см. также фиг.9, 14 и 15), первая опорная поверхность 94 взаимодействует с первой боковой стенкой 32 гнезда 28, рабочая вторая опорная поверхность 98 взаимодействует со второй боковой стенкой 34 гнезда 28 и первая боковая поверхность 58 режущей пластины 24 взаимодействует с базовой стенкой 30 гнезда 28.
Прижим 26, который показан более детально на фиг.5-7, имеет переднюю часть 102, заднюю часть 104 и в основном цилиндрическую промежуточную часть 106 между ними. Продольная ось А проходит через переднюю и заднюю части 102, 104. Передняя часть выполнена с двумя разнесенными по периферии зажимными выступами 118, разделенными промежутками 120. Каждый зажимной выступ 118 имеет обращенную в основном назад торцовую наклонную зажимную поверхность 122. Зажимные поверхности 122 и опорные поверхности 92 имеют ответные формы для возможности плавного взаимодействия друг с другом и взаимного скольжения одна по другой. Зажимные поверхности 122 выполнены предпочтительно винтовыми в форме охватываемой резьбы ответной охватывающей резьбе опорных поверхностей 92. Задняя часть 104 прижима 26 выполнена с направленной вперед конической головкой 124 ответной коническому участку 52 сквозного отверстия гнезда 50. Промежуточная цилиндрическая часть 106 выполнена с продольно расположенной плоской лыской 108, имеющей передний и задний концы 110, 112, ограниченной уступом 114 на переднем конце 110 и выходящей в проточку 116 задним концом 112. Промежуточная цилиндрическая часть имеет первый диаметр D1, а проточка 116 – второй диаметр D2, выполненный меньше, чем первый диаметр D1.
Измененный прижим 126 в соответствии со вторым вариантом изобретения показан на фиг.8. Измененный прижим 126 очень похож по конструкции на прижим 26 по первому варианту. Фактически главное отличие состоит в том, что по сравнению с прижимом 26 по первому варианту измененному прижиму 126 не требуется проточка 116 или лыска 108 и, следовательно, он не имеет этих элементов. С другой стороны, измененный прижим 126 в соответствии со вторым вариантом предпочтительно содержит круглое пружинное кольцо 128, частично выступающее из кольцевой канавки 130 на промежуточной цилиндрической части 106. Одинаковые позиции были использованы для тех элементов измененного прижима 126, которые остались прежними по сравнению с прижимом 26 по первому варианту.
Рассмотрим фиг.9, показывающую вид спереди на первый вариант режущего инструмента 20 в соответствии с настоящим изобретением. В соответствии с первым вариантом первая боковая стенка 32 гнезда под пластину 28 наклонена вниз от передней грани 46 к нижней грани 44. Режущая пластина 24 имеет такую конструкцию, что первая опорная поверхность 94 имеет наклон, ответный по отношению к наклону первой боковой стенки 32. В соответствии со вторым вариантом настоящего изобретения, показанным на фиг.10, выполнен измененный режущий инструмент 132, содержащий измененную режущую пластину 134, закрепленную в измененном гнезде 136 измененной державки 138 посредством измененного прижима 126. В соответствии со вторым вариантом настоящего изобретения, показанным на фиг.10, первая боковая стенка 140 измененного гнезда 136 расположена перпендикулярно к базовой стенке 30. Соответственно измененная режущая пластина 134 имеет первую опорную поверхность 142, расположенную перпендикулярно к ее первой боковой поверхности 58. Как будет описано ниже, хотя закрепление и открепление режущей пластины 24 или 134 является двухшаговым процессом для обоих вариантов, размещение режущей пластины 24 в гнезде 28 и удаление режущей пластины из гнезда 28 по первому варианту требует дополнительного шага. Следовательно, процесс закрепления режущей пластины 24 в гнезде 28 в соответствии с первым вариантом является трехшаговым процессом.
Рассмотрим фиг.11-15, которые показывают закрепление/открепление режущей пластины 24 в гнезде 28 в соответствии с первым вариантом настоящего изобретения. На фиг.11 частично показано поперечное сечение державки по линии XI-XI на фиг.2 с удаленной режущей пластиной и с головкой 124 прижима 26, размещенной в сквозном отверстии гнезда 50. Это положение прижима, в котором его передняя часть 102 расположена в сквозном отверстии гнезда 50, будем называть отведенным положением прижима 26. Следует отметить, что прижим показан нерассеченным, поэтому ясно может быть видна ориентация зажимных выступов 118. В отведенном положении никакая часть прижима 26 не размещена в гнезде 28 и режущая пластина может быть свободно вставлена или удалена из него. Это положение будет более подробно обсуждено ниже. Следует отметить, что в отведенном положении уступ 114 и лыска 108 прижима 26 взаимодействуют со штифтом 54, который частично выступает в сквозное отверстие гнезда 50. По существу штифт 54 представляет собой упор, предотвращающий полный вывод прижима 26 из сквозного отверстия гнезда 50. При взаимодействии уступа 114 со штифтом 54 вывод прижима 26 предотвращается в результате того, что уступ не может пройти часть штифта 54, выступающую в сквозное отверстие гнезда 50. Однако прижим 26 должен быть вначале собран с державкой 22. Для того чтобы вначале разместить прижим 26 в сквозном отверстии гнезда 50, штифт 54 должен быть удален из соответствующего отверстия под него 56. После того как прижим 26 размещен в сквозном отверстии гнезда 50, штифт 54 размещается в отверстии 56. Понятно, что если по каким-либо причинам необходимо полностью вывести прижим 26 из сквозного отверстия гнезда 50, штифт 54 должен быть удален из отверстия 56.
Прижим 26 имеет возможность линейного перемещения в сквозном отверстии гнезда 50 из отведенного положения в положение, показанное на фиг.12, которое будет обозначено как “открепленное” положение. В этом положении часть конической головки 124 взаимодействует с коническим участком 52, а штифт размещается в проточке 116 прижима 26. Поскольку штифт 54 больше не взаимодействует с плоскостью лыски 108, прижим 26 может быть повернут вокруг оси А, чтобы перейти в положение, показанное на фиг.13, которое будет обозначено как “зажимное” положение.
Рассмотрим трехшаговый процесс закрепления режущей пластины 24 в гнезде 28 в соответствии с первым вариантом и фиг.11-15. Первый шаг: прижим 26 перемещается в отведенное положение (фиг.11), и режущая пластина 24 устанавливается в гнездо 28. Второй шаг: прижим 26 линейно перемещается в открепленное положение. В этом положении передняя часть 102 прижима 26 расположена в сквозном отверстии пластины 82, каждый зажимной выступ 118 с соответствующей зажимной поверхностью 112 расположен в промежутке 90 между опорными выступами, а каждая опорная поверхность 92 расположена в промежутке между зажимными выступами (см. фиг.14, а также фиг.12, показывающую положение прижима 26 и ориентацию зажимных выступов 118 и их соответствующих зажимных поверхностей 122). В завершение шаг 3: прижим 26 поворачивается в направлении по часовой стрелке вокруг оси А в зажимное положение, в котором каждая зажимная поверхность 122 зажимных выступов 118 прижима 26 контактирует с соответствующей опорной поверхностью 92 опорных выступов 88 в сквозном отверстии пластины 82 (см. фиг.13 и 15).
Для того, чтобы открепить и удалить режущую пластину 24 из гнезда 28, вышеуказанные три шага выполняются в обратном порядке. Сначала прижим 26 поворачивается в направлении против часовой стрелки вокруг оси А, затем он линейно перемещается до выхода из сквозного отверстия 82 и располагается внутри сквозного отверстия гнезда 50. В завершение режущая пластина 24 удаляется из гнезда 28.
Следует подчеркнуть, что в соответствии с первым вариантом прижим должен быть в отведенном положении для того, чтобы как установить режущую пластину 24 в гнезде 28, так и удалить ее из него. Это необходимо вследствие наклона первой стенки 32 гнезда 28 и соответствующего наклона первой опорной поверхности 94 режущей пластины 24.
Закрепление режущей пластины 134 в соответствии со вторым вариантом будет описано со ссылками на фиг.14-17. В соответствии с этим вариантом передняя часть 102 измененного прижима 126 всегда расположена в измененном гнезде 136 и отсутствует необходимость в линейном перемещении режущей пластины. Во время шага 1 измененный прижим 126 перемещается в открепленное положение (фиг.16), если он уже не находится в этом положении, и измененная режущая пластина вставляется в измененное гнездо 136, при этом первая боковая поверхность 58 измененной режущей пластины 134 удерживается параллельно базовой стенке 30 измененного гнезда 136. Это возможно, поскольку в соответствии со вторым вариантом первая боковая стенка 14 и базовая стенка 30 измененного гнезда 136 расположены перпендикулярно друг другу (см. фиг.10). В этом положении передняя часть 102 измененного прижима 126 расположена в сквозном отверстии пластины 82 так, что каждый зажимной выступ 118 и соответствующая зажимная поверхность 122 расположены в промежутке 90 между опорными выступами, а каждая опорная поверхность 92 расположена в промежутке 120 между зажимными выступами точно так же, как это показано на фиг.14 для первого варианта.
Во время шага 2 измененный прижим 126 поворачивается в направлении по часовой стрелке вокруг оси А в зажимное положение, в котором каждая зажимная поверхность зажимных выступов 118 измененного прижима 126 взаимодействует с соответствующей опорной поверхностью 92 опорных выступов 88 сквозного отверстия пластины 82 (фиг.17 и 15). Понятно, что для раскрепления и удаления измененной режущей пластины 134 из измененного гнезда 136, вышеизложенные два шага выполняются в обратном порядке. Сначала измененный прижим 126 поворачивается в направлении против часовой стрелки вокруг оси А, а затем измененная режущая пластина 134 удаляется из измененного гнезда 136 путем вытягивания при сохранении первой боковой поверхности 58 измененной режущей пластины 134, параллельной базовой стенке 30 измененного гнезда 136.
Возвращаясь к фиг.1 и 2, следует отметить, что головка прижима 124 выполнена с углублением 144 под ключ 146 для поворота прижима 126 вокруг оси А в и из зажимного и открепленного положений. Как правило, углубление и ключ выполнены шестигранными. Таким же образом измененный прижим выполнен с гнездом 144 под ключ 146. Двухрожковый ключ 148, имеющий два выступа 150, также используется. Два выступа 150 так выполнены по размерам и расположены, что они могут быть вставлены в промежутки 90 между зажимными выступами, чтобы поворачивать прижим в и из зажимного и открепленного положений.
Другими словами, шестигранный ключ 146 взаимодействует с прижимом 26 или измененным прижимом 126 со стороны его задней части 104 в то время, как двухрожковый ключ взаимодействует с прижимом 26 или измененным прижимом 126 со стороны его передней части 102. Обеспечение двумя ключами, один из которых поворачивает прижим 26 или измененный прижим 126 с одного конца, а другой поворачивает прижим 26 или измененный прижим 126 с другого конца, является особенно удобным для обстоятельств, в которых иногда доступ к одному или другому концу прижима может быть ограничен. Следует отметить, что в отличие от инструментов, требующих использования винтов, которые должны быть полностью удалены для того, чтобы индексировать или заменить режущую пластину, в соответствии с настоящим изобретением прижим 26 (или измененный прижим 126) остается в державке 22 (или измененной державке 138) во время всех шагов по сборке, закреплению или откреплению и удалению режущей пластины 24 (или измененной режущей пластины 134).
Хотя настоящее изобретение было описано с определенной степенью детализации, следует понимать, что различные изменения и модификации могут быть выполнены без отхода от существа или объема изобретения, изложенных в приведенной ниже формуле изобретения. Например, настоящее изобретение было показано в отношении режущей пластины, имеющей две режущие кромки. Однако для специалиста ясно, что изобретение может быть легко применено к режущим пластинам, имеющим более чем две режущие кромки. Также ясно, что число опорных выступов 88 и соответствующее число зажимных выступов 118 предпочтительно равно числу режущих кромок.
Формула изобретения
1. Режущий инструмент (20), содержащий державку (22) и режущую пластину (24), закрепленную прижимом (26) в гнезде (28) державки, ограниченном базовой стенкой (30) и первой и второй боковыми стенками (32, 34), в основном выступающими от базовой стенки (30), и имеет сквозное отверстие (50), проходящее от базовой стенки (30) к периферийной поверхности (36) державки (22), режущая пластина (24) имеет, по крайней мере, одну режущую часть (64) с режущей кромкой (66) и опорную часть (80) со сквозным отверстием (82), имеющим цилиндрическую боковую поверхность (86) и, по крайней мере, два разнесенных по периферии опорных выступа (88), расположенных радиально внутрь от цилиндрической боковой поверхности (86), каждый опорный выступ имеет наклонную опорную поверхность (92) заданной формы, опорные выступы разделены промежутками (90), прижим (26) имеет переднюю часть (102), заднюю часть (104) и в основном цилиндрическую промежуточную часть (106) между ними с продольной осью (А), проходящей через заднюю и переднюю части (102, 104), передняя часть (104) имеет, по крайней мере, два разнесенных по периферии зажимных выступа (118), каждый из которых имеет наклоненную в основном назад торцовую зажимную поверхность (122) с формой, соответствующей заданной форме опорных поверхностей (92), зажимные выступы (118) разделены промежутками (120), прижим имеет возможность вращения вокруг продольной оси (А) между зажимным положением и открепленным положением, при этом в зажимном положении передняя часть (102) прижима расположена в сквозном отверстии (82) режущей пластины, а каждая зажимная поверхность (122) взаимодействует с соответствующей опорной поверхностью (92), отличающийся тем, что зажимная поверхность (122) каждого зажимного выступа (118) выполнена винтовой в форме заданной охватываемой винтовой резьбы, опорная поверхность (92) каждого опорного выступа (88) выполнена винтовой в форме ответной охватывающей винтовой резьбы, а прижим (26) выполнен с возможностью линейного перемещения в сквозном отверстии гнезда (50) из открепленного положения в отведенное положение, в котором передняя часть (102) прижима (26) расположена в сквозном отверстии гнезда (50) вне сквозного отверстия пластины (82), а режущая пластина (24) может быть удалена из гнезда (28).
2. Режущий инструмент (20) по п.1, отличающийся тем, что в открепленном положении передняя часть (102) прижима (26) расположена в сквозном отверстии пластины (82), при этом каждая зажимная поверхность (122) расположена в соответствующем промежутке (90) между опорными выступами, а каждая опорная поверхность (92) расположена в соответствующем промежутке (120) между зажимными выступами.
3. Режущий инструмент (20) по п.1, отличающийся тем, что в сквозном отверстии гнезда (50) выполнен упор, предназначенный для предотвращения полного вывода из него прижима (26).
4. Режущий инструмент (20) по п.3, отличающийся тем, что промежуточная цилиндрическая часть (106) выполнена с продольно расположенной лыской (108), имеющей передний (110) и задний (112) концы, с переднего конца лыска ограничена уступом (114), а с заднего конца (112) открыта в проточку (116), промежуточная цилиндрическая часть (106) имеет первый диаметр (D1), проточка имеет второй диаметр (D2), второй диаметр (D2) выполнен меньшим, чем первый диаметр (D1), упор размещен в выборке, образованной лыской (108), давая возможность прижиму для перемещения вперед и назад в сквозном отверстии гнезда (50), полный вывод прижима (26) из сквозного отверстия гнезда (50) предотвращается взаимодействием уступа (114) с упором.
5. Режущий инструмент (20) по п.4, отличающийся тем, что упор выполнен в виде штифта (54), расположенного в соответствующем отверстии (56), при этом часть штифта (54) выступает в сквозное отверстие гнезда (50).
6. Режущий инструмент (20) по п.5, отличающийся тем, что как в зажимном положении, так и в открепленном положении часть штифта (54), выступающая в сквозное отверстие гнезда (50), размещена в проточке (116) прижима (26).
7. Режущий инструмент (20) по п.5, отличающийся тем, что в отведенном положении часть штифта, выступающая в сквозное отверстие гнезда, размещена в выборке, образованной лыской.
8. Режущий инструмент (20) по п.1, отличающийся тем, что в открепленном положении режущая пластина (24) имеет возможность удаления из гнезда (28).
9. Режущий инструмент (20) по п.1, отличающийся тем, что на прижиме (126) установлено круглое пружинное кольцо (128), частично выступающее из кольцевой канавки (130) на цилиндрической части (106).
10. Режущий инструмент (20) по п.1, отличающийся тем, что задняя часть (104) прижима (26) выполнена с направленной вперед головкой конической формы, предназначенной для взаимодействия с соответствующим коническим участком (84) в сквозном отверстии гнезда (50).
11. Режущий инструмент (20) по п.1, отличающийся тем, что головка прижима (26) выполнена с углублением (144) под ключ (146) для вращения прижима (26) к и от зажимного и открепленного положения.
12. Режущий инструмент (20) по п.11, отличающийся тем, что углубление под ключ (144) и ключ (146) выполнены шестигранными.
13. Режущий инструмент (20) по п.1, отличающийся тем, что ключ имеет, по крайней мере, два выступа (150) для вставления в промежутки (120) между зажимными выступами для поворота прижима (26) к и от зажимного и открепленного положения.
РИСУНКИ
|
|