|
(21), (22) Заявка: 2006119405/02, 05.06.2006
(24) Дата начала отсчета срока действия патента:
05.06.2006
(46) Опубликовано: 10.01.2008
(56) Список документов, цитированных в отчете о поиске:
RU 2080209 C1, 27.05.1997. JP 9094631 А, 08.04.1997. GB 1426805 А, 03.03.1976. GB 1275030 А, 24.05.1972. RU 2070476 С1, 20.12.1996.
Адрес для переписки:
105118, Москва, пр-кт Буденного, 16, ФГУП “ММПП “САЛЮТ”, правовое управление, С.Е. Кирееву
|
(72) Автор(ы):
Никишин Владимир Андреевич (RU), Виноградов Владимир Александрович (RU), Чумаков Максим Владимирович (RU), Харюткина Татьяна Ивановна (RU), Огарков Арсений Александрович (RU)
(73) Патентообладатель(и):
Федеральное государственное унитарное предприятие “Московское машиностроительное производственное предприятие “САЛЮТ” (ФГУП “ММПП “САЛЮТ”) (RU)
|
(54) УСТРОЙСТВО ДЛЯ ИЗГОТОВЛЕНИЯ ОТЛИВОК С МОНОКРИСТАЛЛИЧЕСКОЙ СТРУКТУРОЙ
(57) Реферат:
Изобретение относится к области литейного производства и может быть использовано для изготовления монокристальных отливок из сплавов на никелевой, кобальтовой и интерметаллидной основе. Устройство содержит керамическую форму с затравочной полостью, затравкой, теплозащитной полостью и полостью для формирования отливки. Затравочная полость выполнена в дне керамической формы. Теплозащитная полость расположена между затравочной полостью и полостью для формирования отливки. Теплозащитная полость сообщается с полостью для формирования отливки посредством кристаллоотборника, выполненного в виде полого стержня. Расстояние между нижним торцом стержня и верхней торцевой поверхностью затравки составляет (0,1-5)d, где d – внутренний диаметр стержня кристаллоотборника. Затравка зафиксирована в керамической форме с помощью фиксатора. Достигается повышение качества структуры получаемых монокристаллических отливок. 4 з.п. ф-лы, 3 ил.
Изобретение относится к области литейного производства и может быть использовано для изготовления монокристальных отливок из сплавов на никелевой, кобальтовой и интерметаллидной основе.
Известно устройство для получения монокристаллических отливок, содержащее керамическую оболочку с последовательно соединенными стартовой полостью, полостью кристаллоотборника и рабочей полостью отливки (RU №2070476 С1, В22D 27/04, опубл. 27.03.2003 г., бюл. №9).
Однако в данном устройстве отсутствует теплозащитная полость, которая позволяет промыть струей расплава верхнюю торцевую поверхность затравки, для исключения образования в отливке посторонних зерен.
Наиболее близким устройством, принятым за прототип, является устройство для получения монокристальных отливок (RU №2080209 С1, В22D 27/04, опубл. 27.05.1997 г., бюл. №15), позволяющее выполнить дополнительную полость с размещенной в ней керамической вставкой с кристаллоотборником в виде криволинейного литникового хода. Причем площадь выходного отверстия криволинейного литникового хода вставки больше площади примыкающего к нему входного отверстия соединительного литникового хода, а площадь входного отверстия криволинейного литникового хода вставки меньше площади примыкающего к нему торца затравочного кристалла.
Однако использование дополнительной керамической вставки с кристаллоотборником также не обеспечивает высокого качества получения отливки с монокристаллической структурой, так как при высокотемпературной прокалке в результате усадки керамической вставки образуется зазор между вставкой и полостью формы, который образует дополнительный заусенец металла при затвердевании. И в результате образуется дополнительный затравочный литниковый ход, образующий затравку произвольной формы, что не обеспечивает контролируемого зарождения кристалла.
Техническим результатом данного изобретения является повышение качества получаемых монокристаллических отливок и увеличение выхода годных монокристаллических отливок.
Указанный технический результат достигается тем, что устройство для получения монокристаллических отливок, содержащее керамическую форму, в дне которой выполнена затравочная полость с размещенной в ней затравкой, полость для формирования отливки и кристаллоотборник, дополнительно содержит теплозащитную полость, расположенную между затравочной полостью и полостью для формирования отливки, причем теплозащитная полость сообщается с полостью для формирования отливки посредством кристаллоотборника, выполненного в виде полого стержня, расстояние между нижним торцом стержня и верхней торцевой поверхностью затравки выбирается в пределах от 0,1 до 5 d, где d -внутренний диаметр стержня кристаллоотборника, при этом затравка зафиксирована в керамической форме с помощью фиксатора, который может быть выполнен в виде штифта.
Нижняя торцевая поверхность затравки может быть выполнена с возможностью контакта с жидкометаллическим хладагентом, а на верхнюю торцевую поверхность затравки может быть установлена накладка.
Затравочная полость, а также размещенная в ней затравка могут быть выполнены в виде усеченного конуса.
Новым здесь является то, устройство для получения монокристаллических отливок дополнительно содержит теплозащитную полость, расположенную между затравочной полостью и полостью для формирования отливки, причем теплозащитная полость сообщается с полостью для формирования отливки посредством кристаллоотборника, выполненного в виде полого стержня, расстояние между нижним торцом стержня и верхней торцевой поверхностью затравки выбирается в пределах от 0,1 до 5 d, где d – внутренний диаметр стержня кристаллоотборника, при этом затравка зафиксирована в керамической форме с помощью фиксатора, который может быть выполнен в виде штифта.
Такое выполнение устройства позволяет повысить качество получаемых монокристаллических отливок за счет использования теплозащитной полости, позволяющей промыть струей расплава верхнюю торцевую поверхность затравки, для исключения образования в отливке посторонних зерен.
Нижняя торцевая поверхность затравки может быть выполнена с возможностью контакта с жидкометаллическим хладагентом, что позволяет повысить теплопроводность от жидкометаллического хладагента к отливке.
Затравочная полость, а также размещенная в ней затравка могут быть выполнены в виде усеченного конуса, что позволяет более точно установить затравку в керамическую форму на требуемую глубину.
На верхнюю торцевую поверхность затравки может быть установлена накладка, причем накладка может закрывать либо часть верхней торцевой поверхности, либо всю торцевую поверхность, и устанавливается таким образом, чтобы полностью закрыть выходное отверстие кристаллоотборника. При этом накладка может быть выполнена в форме “лежачей капли” (фиг.2) или в форме “пробки” (фиг.3). Такое использование накладки позволяет промыть затравку, без нанесения на нее защитного слоя, например поливинилбутираля (углеродосодержащего вещества).
Предложенное изобретение иллюстрируется чертежами, представленными на фиг.1, фиг.2 и фиг.3.
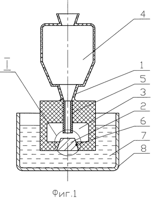
На фиг.1 представлен общий вид устройства для получения монокристаллических отливок (без накладки).
На фиг.2 показано устройство с накладкой, выполненной в виде “капли”.
На фиг.3 показано устройство с накладкой, выполненной в виде “пробки”.
Устройство для изготовления отливок с монокристаллической структурой из жаропрочных сплавов содержит керамическую форму 1, которая выполнена с последовательно расположенными затравочной полостью, в которую устанавливается затравка 2, теплозащитной полостью 3 и полостью 4 для формирования отливки. Причем затравочная полость выполнена в дне керамической формы 1. Теплозащитная полость 3, которая одновременно является емкостью для расплава, расположена между затравочной полостью и полостью 4 для формирования отливки, причем теплозащитная полость 3 сообщается с полостью 4 для формирования отливки посредством кристаллоотборника 5. Кристаллоотборник 5 выполнен в виде полого стержня. Расстояние между нижним торцом стержня и верхней торцевой поверхностью затравки выбирается в пределах от 0,1 до 5 d, где d – внутренний диаметр стержня кристаллоотборника 5.
При выборе расстояния между нижним торцом стержня и верхней торцевой поверхностью затравки меньше 0,1d затравка может расплавиться, либо нарушится защитный слой (углеродосодержащего вещества, например поливинилбутираля) затравки, если он нанесен, что приведет к зарождению посторонних кристаллов, а при выборе расстояния между нижним торцом стержня и верхней торцевой поверхностью затравки больше 5d не будет обеспечиваться смывание с торцевой поверхности затравки неметаллических включений, что также приведет к зарождению дополнительных кристаллов и, следовательно, не обеспечится высокого качества получения отливки с монокристаллической структурой.
При этом затравка 2 зафиксирована в керамической форме 1 с помощью фиксатора 6, который может быть выполнен в виде штифта.
Фиксатор устанавливается в керамическую форму через сквозное отверстие, выполненное в форме, которое после установки фиксатора заливается жидкой керамической массой.
Нижняя торцевая поверхность затравки 2 может быть выполнена с возможностью контакта с жидкометаллическим хладагентом 7, который заливается в контейнер 8, что позволяет повысить теплопроводность от жидкометаллического хладагента к отливке.
Затравочная полость, а также размещенная в ней затравка 2 могут быть выполнены в виде усеченного конуса, что позволяет более точно установить затравку 2 в керамическую форму 1 на требуемую глубину.
Для повышения эффективности зарождения и роста монокристалла, формирующегося при изготовлении отливки, на верхнюю и нижнюю торцевые поверхности затравки может быть нанесен слой углеродсодержащего вещества, например раствор поливинилбутираля в этиловом спирте. Причем данным покрытием можно покрыть и внутреннюю поверхность керамической формы.
На верхнюю торцевую поверхность затравки 2 может быть установлена накладка 9. Материал накладки 9 выбирают из условия, чтобы температура плавления материала накладки 9 была не выше температуры расплава металла.
Причем накладка 9 может закрывать либо часть верхней торцевой поверхности затравки 2, либо всю верхнюю торцевую поверхность затравки 2 и устанавливается таким образом, чтобы полностью закрыть выходное отверстие стержня кристаллоотборника 5. При этом накладка 9 может быть выполнена в форме “лежачей капли” (фиг.2) или в форме “пробки”(фиг.3).
В процессе заливки керамической формы верхнюю торцевую поверхность затравки промывают струей расплава, поступающего через кристаллоотборник, с заполнением теплозащитной полости, для исключения образования в отливке посторонних зерен. Поступающий через кристаллоотборник расплав используют для теплозащиты кристаллоотборника, а нижнюю торцевую поверхность затравки используют для контакта с жидкометаллическим хладагентом.
Оптимальные результаты достигаются, когда в устройстве для изготовления отливок с монокристаллической структурой кристаллоотборник, выполненный в виде полого стержня, имеет длину L=(5÷10)d и толщину стенки S=(0,2÷0,5)d, где d – внутренний диаметр стержня кристаллоотборника.
Причем такие параметры длины выбираются исходя из того, что при длине стержня L равной менее 5 внутренних диаметров стержня кристаллоотборника имеется возможность зарождения посторонних зерен, которые в дальнейшем могут перейти в отливку, которая уже не будет монокристаллической, а выбирать длину стержня L более 10 внутренних диаметров нецелесообразно, поскольку такой длины достаточно для отбора монокристалла.
Выбор вышеуказанных параметров толщины стенки S в пределах от 0,2 до 0,5 d кристаллоотборника обусловлен тем, что стержень толщиной менее 0,2 диаметров кристаллоотборника может разрушиться.
Изготавливать стержень толщиной более 0,5 диаметра стержня кристаллоотборника нецелесообразно, поскольку это может привести к тому, что расплав будет отдавать свое тепло керамическому стержню и тем самым охладит струю расплава, что может привести к затвердеванию расплава не дошедшего до верхней торцевой поверхности затравки или до накладки, если она установлена на верхнюю торцевую поверхность затравки.
Наиболее оптимальными параметрами для данного устройства являются также:
– Отношение диаметра затравки 2 к внешнему диаметру стержня кристаллоотборника 5 выбирают в пределах от 1 до 5, т.е. 1 D3/Dк 5,
где Dз – диаметр затравки, если затравка выполнена не в виде усеченного конуса. Если затравка выполнена виде усеченного конуса, то берется средний диаметр затравки.
Dк – внешний диаметр стержня кристаллоотборника;
Данный выбор обусловлен тем, что если отношение диаметра затравки 2 к внешнему диаметру стержня кристаллоотборника 5 будет меньше 1, т.е. если Dз меньше диаметра Dк, то верхняя торцевая поверхность затравки может расплавиться, а если отношение диаметра затравки 2 к внешнему диаметру кристаллоотборника 5 будет больше 5, т.е., если Dз в 5 раз больше диаметра Dк, то может не обеспечиться смывание с верхней торцевой поверхности затравки неметаллических включений и, следовательно, возможно зарождение посторонних кристаллов.
– Теплозащитная полость может быть выполнена шириной в пределах от 3Dк до 5Dк, где Dк – внешний диаметр стержня кристаллоотборника 5, и высотой в пределах от 3Dк до 5Dк, где Dк – внешний диаметр стержня кристаллоотборника 5 соответственно.
Данные параметры выбираются исходя из времени, необходимого для удержания расплава в жидком состоянии при кристаллизации монокристалла от затравки.
Пример.
Изобретение проверялось при отливке монокристаллов из жаропрочного сплава ЖС-32. Плавка проводилась на установке направленной кристаллизации с радиационным теплоотводом от литейной формы.
Режим плавки: температура нагревателей 1500-1550°С, скорость вытягивания формы – 3 мм/мин.
Отливались монокристаллы в виде цилиндров 15 мм и высотой Н=150 мм. Заданные ориентации (001), (001), (111) достигались за счет использования затравок соответствующих ориентаций, полученных методом ориентированной вырезки из заготовок направленной ориентации.
Форму помещали в установку для направленной кристаллизации с жидкометаллическим хладагентом, создавали вакуум, производили нагрев и заполнение формы расплавом жидкого сплава. После чего производили направленную кристаллизацию путем погружения в жидкометаллический хладагент со скоростью 10 мм/мин. Контроль структурного совершенства и ориентации отливок осуществлялся на рентгеновском дифрактометре ДРОН-3.
Как показала аттестация ростовой структуры, точность заданной ориентации составляла 2°, а структурное совершенство (разориентация блоков) не превышала 1-2°, что примерно в два раза меньше, чем для отливок, полученных по устройству-прототипу.
Применение предложенной конструкции значительно повышает структурное совершенство отливки и повышает выход годного до 95-98% за счет исключения образования посторонних кристаллов в зоне зарождения.
Формула изобретения
1. Устройство для изготовления отливок с монокристаллической структурой, содержащее керамическую форму с затравочной полостью, выполненной в дне формы, затравкой, кристаллоотборником и полостью для формирования отливки, отличающееся тем, что в нем выполнена теплозащитная полость, расположенная между затравочной полостью и полостью для формирования отливки, причем теплозащитная полость сообщена с полостью для формирования отливки посредством кристаллоотборника, выполненного в виде полого стержня, при этом расстояние между нижним торцом стержня и верхней торцевой поверхностью затравки составляет (0,1-5)d, где d – внутренний диаметр стержня, а затравка зафиксирована в керамической форме с помощью фиксатора.
2. Устройство по п.1, отличающееся тем, что нижняя торцевая поверхность затравки выполнена с возможностью контакта с жидкометаллическим хладагентом.
3. Устройство по п.1, отличающееся тем, что затравочная полость, а также размещенная в ней затравка выполнены в виде усеченного конуса.
4. Устройство по п.1, отличающееся тем, что фиксатор выполнен в виде штифта.
5. Устройство по п.1, отличающееся тем, что на верхнюю торцевую поверхность затравки установлена накладка.
РИСУНКИ
|