|
| На основании пункта 3 статьи 13 Патентного закона Российской Федерации от 23 сентября 1992 г. № 3517-I патентообладатель обязуется передать исключительное право на изобретение (уступить патент) на условиях, соответствующих установившейся практике, лицу, первому изъявившему такое желание и уведомившему об этом патентообладателя и федеральный орган исполнительной власти по интеллектуальной собственности, – гражданину РФ или российскому юридическому лицу. |
|
(21), (22) Заявка: 2006101518/15, 20.01.2006
(24) Дата начала отсчета срока действия патента:
20.01.2006
(43) Дата публикации заявки: 10.08.2007
(46) Опубликовано: 10.01.2008
(56) Список документов, цитированных в отчете о поиске:
Адрес для переписки:
123458, Москва, ул. Твардовского, 11, кв.92, О.С. Кочетову
|
(72) Автор(ы):
Кочетов Олег Савельевич (RU), Кочетова Мария Олеговна (RU)
(73) Патентообладатель(и):
Кочетов Олег Савельевич (RU)
|
(54) УСТАНОВКА АКУСТИЧЕСКАЯ ПЫЛЕУЛАВЛИВАЮЩАЯ ТИПА АКФ-2
(57) Реферат:
Изобретение относится к технике пылеулавливания. Пылеулавливающая установка включает циклон, акустическую колонку с расположенным в ее верхней части генератором звуковых колебаний. Акустическая колонка в нижней части соединена с периферийным вводом газового потока циклона. Установка снабжена тонким фильтром, содержащим циклонный элемент, периферийный ввод газового потока, выполненный в виде входного патрубка, связанного воздуховодом с осевым выходным патрубком циклона и соединенного под прямым углом с корпусом циклонного элемента, имеющего два соосных патрубка, на одном из которых закреплен фильтрующий элемент, а на другом – бункер для сбора пыли, выполненный в виде пылесборного мешка. Фильтр содержит механизм регенерации, выполненный в виде жестко закрепленных на соосном с фильтром валу, по крайней мере, двух пластин. Вал приводится во вращение от привода, закрепленного в верхней части проволочного каркаса фильтра. Циклонный элемент снабжен закрепленным на нем вентилятором, входной патрубок закреплен соосно оси вентилятора, а патрубок, к которому присоединен бункер для сбора пыли, выполнен по длине, по крайней мере, в два раза превышающей длину патрубка, на котором закреплен фильтрующий элемент. Оси этих патрубков совпадают с осями фильтрующего элемента и пылесборного мешка. Технический результат: повышение эффективности пылеулавливания. 1 з.п. ф-лы, 3 ил.
Изобретение относится к технике пылеулавливания и может применяться в химической, текстильной, пищевой, легкой и других отраслях промышленности для очистки запыленных газов.
Наиболее близким техническим решением к заявляемому объекту является установка пылеулавливания, содержащая циклон, содержащий корпус, состоящий из цилиндрической и конической частей, расположенные в его верхней части периферийный ввод газового потока и осевой выходной патрубок очищенного газа, акустическую колонку с расположенным в верхней части генератором звуковых колебаний (В.Страус. Промышленная очистка газов. М.: Химия, 1981 г., стр.532, рис.11-7а.) – прототип.
Недостатком прототипа является сравнительно невысокая эффективность пылеулавливания за счет частичного возврата мелкодисперсной пыли в осевой патрубок.
Технический результат – повышение эффективности пылеулавливания.
Это достигается тем, что в пылеулавливающей установке, состоящей из предварительного и тонкого фильтров, связанных между собой воздуховодом таким образом, что выход предварительного фильтра соединен со входом тонкого, предварительный фильтр содержит корпус, состоящий из цилиндрической и конической частей, расположенные в его верхней части периферийный ввод газового потока и осевой выходной патрубок очищенного газа, акустическую колонку с расположенным в верхней части генератором звуковых колебаний, акустическая колонка в своей нижней части связана байпасным отводом с периферийным вводом газового потока, причем генератор звуковых колебаний связан с блоком управления, а тонкий фильтр выполнен в виде рукавного фильтра с системой регенерации.
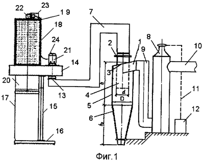
На фиг.1 изображен общий вид пылеулавливающей установки, на фиг.2 – разрез системы регенерации фильтра, на фиг.3 – конструктивная схема циклонного элемента.
Пылеулавливающая установка, состоящая из предварительного 5 и тонкого 17 фильтров, связанных между собой воздуховодом 7 таким образом, что выход 2 предварительного фильтра соединен со входом 13 тонкого фильтра. Предварительный фильтр содержит корпус, состоящий из цилиндрической 5 и конической 6 частей, расположенные в его верхней части периферийный ввод 1 газового потока и осевой выходной патрубок 4 очищенного газа, акустическую колонку 8 с расположенным в верхней части генератором звуковых колебаний, акустическая колонка в своей нижней части связана байпасным отводом с периферийным вводом 1 газового потока, причем генератор звуковых колебаний 8 связан с блоком управления 12, а вход загрязненного воздуха осуществляется через патрубок 10.
Оптимальными параметрами для звуковой обработки являются уровень звукового давления в диапазоне 130…145 дБ, частота звуковых колебаний в диапазоне 900…2000 Гц, время озвучивания в диапазоне 1,5…2,5 сек, концентрация пыли в воздушном потоке не менее 2 г/м3.
Тонкий фильтр выполнен как пылеулавливающий аппарат с кассетным фильтром из фильтровальной бумаги класса очистки F9 и содержит корпус, включающий, по крайней мере одну, стойку 15, основание 16 и циклонный элемент 14 с вентилятором (на чертежах не показан) и электродвигателем 24 с автоматическим выключателем 21. Периферийный ввод газового потока 13 расположен в центральной части аппарата и выполнен в виде входного патрубка, соединенного под прямым углом с корпусом циклонного элемента 14, имеющего два соосных патрубка, на одном из которых закреплен фильтрующий элемент 18, выполненный в виде кассетного фильтра из фильтровальной складчатой бумаги гофрированного типа, размещенного в проволочном каркасе, а на другом – бункер для сбора пыли, выполненный в виде пылесборного мешка 17. Циклонный элемент 14 выполнен в виде корпуса улиточного типа с закрепленным в нем вентилятором, ось которого параллельна оси патрубков, причем соосно оси вентилятора закреплен входной патрубок 13. Патрубок 20, к которому присоединен бункер 17 для сбора пыли выполнен по длине, по крайней мере в два раза превышающей длину патрубка, на котором закреплен фильтрующий элемент 18, причем оси этих патрубков совпадают с осями фильтрующего элемента 18 и пылесборного мешка 17, а в патрубке 20, соединенном с бункером для сбора пыли, расположена вставка из цилиндроконической гильзы 29, соосно которой в патрубке, соединенном с пылесборным мешком 17, закреплена отражающая шайба 30. Вставка включает в себя цилиндрическую гильзу 29 с диффузором 28.
Фильтрующий элемент 18 содержит механизм регенерации, выполненный в виде жестко закрепленных на соосном с фильтром 18 валу 27 по крайней мере двух пластин 25 и 26, причем вал 27 приводится во вращение от привода, закрепленного в верхней части проволочного каркаса 19 фильтра и состоящего из электродвигателя 22 и редуктора 23, а пластины 26 и 25 входят во впадины гофра кассетного фильтра 18 не более чем на 25% высоты гофра.
Процесс пылеулавливания протекает в оптимальном гидродинамическом режиме при следующих соотношениях основных конструктивных параметров предлагаемого устройства:
Отношение диаметра D2 цилиндрической части гильзы к диаметру D1 патрубка, к которому присоединен бункер для сбора пыли, находится в оптимальном интервале величин D2/D1=0,7…0,9, а отношение диаметра D2 цилиндрической части гильзы к диаметру D3 отражающей шайбы находится в оптимальном интервале величин D2/D3=0,8…1,2.
Отношение диаметра d входного патрубка к диаметру D1 патрубка, к которому присоединен бункер для сбора пыли, находится в оптимальном интервале величин: d/D1=0,2…0,7, а отношение длины А корпуса (не показан) циклонного элемента к его ширине В находится в оптимальном интервале величин А/В=1,45…2,35, причем отношение длины А корпуса циклонного элемента к расстоянию С от оси вентилятора до периметра в этой части корпуса циклонного элемента находится в оптимальном интервале величин А/С=3,4…3,6. Отношение высоты H аппарата к высоте h расположения входного патрубка от основания аппарата находится в оптимальном интервале величин Н/h=1,4…2,5. Гидравлическое сопротивление фильтрующего элемента составляет 15…25% от гидравлического сопротивления всего аппарата, а материал фильтрующего элемента обладает повышенными звукопоглощающими свойствами.
В качестве материала фильтрующих рукавных элементов используются как тканые материалы со способами переплетения: полотняные, саржевые, сатиновые; с видами волокон в нити: штапельные, филаментные, текстурированные; с обработкой поверхности: гладкие и ворсованные, так и нетканые со способами закрепления волокон: иглопробивные, холстопрошивные и клееные, полученные вышеперечисленными способами из естественных волокон животного и растительного происхождения, искусственных органических волокон (лавсан, нитрон, капрон, хлорин, оксалон, полипропилен, поливинилхлорид, фторопласт, тефлон и др.), искусственных неорганических волокон (например, стеклянное волокно).
Пылеулавливающая установка работает следующим образом.
Запыленный газовый поток подается через патрубок 10 в акустическую колонку 8, параметры звуковых колебаний которой настраиваются от блока управления 12. В звуковой колонке 8 происходит отделение от воздуха пылевых частиц, так как под действием звукового поля и связанных с ним колебательных процессов, происходящих в воздушной среде, пылевые частицы коагулируются, а крупные частицы оседают вниз колонны, откуда воздушный поток поступает на вторичную очистку в циклоне через воздуховод 9 на ввод 1.
Здесь он закручивается за счет тангенциального периферийного ввода и винтообразной крышки 3. Затем направляется по нисходящей винтовой линии вдоль стенок аппарата. В результате чего частицы пыли под действием центробежной силы движутся от центра аппарата к периферии и, достигая стенок аппарата, транспортируются вниз в коническую часть 6 корпуса для сбора уловленной пыли. Предварительно очищенный воздух выводится из циклона через выходной патрубок 4. При этом легкие, мелкодисперсные фракции частиц пыли, не уловленные в конической части корпуса, задерживаются на тонком фильтре 17 связанными с ним воздуховодами 2 и 7.
После предварительной очистки в фильтре 5 газ поступает по каналу 7 в патрубок 13 для входа запыленного газового потока, а затем поступает в циклонный элемент 14 через патрубок 13, закручивается за счет тангенциального периферийного ввода и движется далее по нисходящей винтовой линии вдоль стенок патрубка, к которому присоединен бункер 17 для сбора пыли. В результате чего частицы пыли под действием центробежной и инерционной сил движутся от центра аппарата к периферии и, достигая стенок аппарата, транспортируются вниз в бункер (пылесборный мешок 17) для сбора уловленной пыли. Очищенный воздух выводится из аппарата, минуя отбойную шайбу 30, через гильзу 29 и фильтровальную кассету 18. При этом легкие, мелкодисперсные фракции частиц пыли, не уловленные в бункер 17, задерживаются на фильтрующем элементе 18. В аппарате происходит снижение виброакустической энергии, так как фильтрующий элемент 18 одновременно является аэродинамическим глушителем шума активного (сорбционного) типа. Специально для аппаратов, оснащенных фильтровальными кассетами, разработана система автоматической регенерации 27. Процесс регенерации, в ходе которого осуществляется очистка внутренней поверхности фильтровальной кассеты, запускается автоматически после выключения аппарата.
Гидравлическое сопротивление фильтрующего элемента составляет 15…25% от гидравлического сопротивления всего аппарата, а материал фильтрующего элемента обладает повышенными звукопоглощающими свойствами.
Формула изобретения
1. Пылеулавливающая установка, включающая циклон, содержащий корпус, состоящий из цилиндрической и конической частей, расположенные в его верхней части периферийный ввод газового потока и осевой выходной патрубок очищенного газа, акустическую колонку с расположенным в ее верхней части генератором звуковых колебаний, причем акустическая колонка в нижней части соединена с периферийным вводом газового потока циклона, отличающаяся тем, что генератор звуковых колебаний связан с блоком управления, а установка снабжена тонким фильтром, содержащим циклонный элемент, выполненный в виде корпуса улиточного типа, периферийный ввод газового потока, выполненный в виде входного патрубка, связанного воздуховодом с осевым выходным патрубком циклона и соединенного под прямым углом с корпусом циклонного элемента, имеющего два соосных патрубка, на одном из которых закреплен фильтрующий элемент, выполненный кассетным, из фильтровальной складчатой бумаги гофрированного типа, размещенный в проволочном каркасе, а на другом – бункер для сбора пыли, выполненный в виде пылесборного мешка, при этом фильтр содержит механизм регенерации, выполненный в виде жестко закрепленных на соосном с фильтром валу, по крайней мере, двух пластин, причем вал приводится во вращение от привода, закрепленного в верхней части проволочного каркаса фильтра и состоящего из электродвигателя и редуктора, а пластины входят во впадины гофра не более чем на 25% высоты гофра, а циклонный элемент снабжен закрепленным на нем вентилятором, ось которого параллельна оси патрубков, входной патрубок закреплен соосно оси вентилятора, а патрубок, к которому присоединен бункер для сбора пыли, выполнен по длине, по крайней мере, в два раза превышающей длину патрубка, на котором закреплен фильтрующий элемент, причем оси этих патрубков совпадают с осями фильтрующего элемента и пылесборного мешка, в патрубке, соединенном с бункером для сбора пыли, расположена вставка из цилиндроконической гильзы, соосно которой в патрубке закреплена отражающая шайба.
2. Пылеулавливающая установка по п.1, отличающаяся тем, что в качестве материала фильтрующих рукавных элементов используют как тканые материалы со способами переплетения: полотняные, саржевые, сатиновые; с видами волокон в нити: штапельные, филаментные, текстурированные; с обработкой поверхности: гладкие и ворсованные, так и нетканые со способами закрепления волокон: иглопробивные, холстопрошивные и клееные, полученные вышеперечисленными способами из естественных волокон животного или растительного происхождения, искусственных органических волокон: лавсан, нитрон, капрон, хлорин, оксалон, полипропилен, поливинилхлорид, фторопласт, тефлон, искусственных неорганических волокон, например стеклянного волокна.
РИСУНКИ
|
|