|
|
(21), (22) Заявка: 2006116453/03, 12.05.2006
(24) Дата начала отсчета срока действия патента:
12.05.2006
(46) Опубликовано: 10.01.2008
(56) Список документов, цитированных в отчете о поиске:
SU 1297908 А1, 23.03.1987. SU 956015 А1, 07.09.1982. SU 65958 А1, 29.11.1940. SU 1651961 А1, 30.05.1991. SU 1519776 А1, 07.11.1989. RU 2264865 А1, 27.11.2005.
Адрес для переписки:
690001, Приморский край, г.Владивосток, ул. Пушкинская, 37, ДВГТУ, патентный отдел, пат.пов. М.И.Звонареву, рег. № 958
|
(72) Автор(ы):
Дядин Валерий Иванович (RU), Латкин Александр Сергеевич (RU), Козырев Андрей Владимирович (RU), Подковыров Виктор Георгиевич (RU), Сочугов Николай Семенович (RU)
(73) Патентообладатель(и):
Дядин Валерий Иванович (RU), Латкин Александр Сергеевич (RU), Козырев Андрей Владимирович (RU), Подковыров Виктор Георгиевич (RU), Сочугов Николай Семенович (RU)
|
(54) СПОСОБ ВЫДЕЛЕНИЯ ПРОВОДЯЩИХ ЧАСТИЦ ИЗ СМЕСИ ДИСПЕРСНЫХ НЕМАГНИТНЫХ МАТЕРИАЛОВ
(57) Реферат:
Использование: для извлечения немагнитных проводящих дисперсных материалов из смеси с дисперсными непроводящими немагнитными материалами, таких как частицы редких и благородных металлов, содержащихся в естественных и техногенных россыпных месторождениях. Может быть использовано в цветной металлургии, металлообрабатывающей промышленности, производстве строительных материалов и пищевой промышленности. Обеспечивает возможность извлечения мелких и тонких фракций цветных, редких и драгоценных металлов из смеси дисперсных немагнитных материалов. Способ включает воздействие на поток смеси мощным высокоградиентным импульсным магнитным полем. Импульсам магнитного поля придают форму ассиметричную во времени, при которой длительность переднего фронта импульса меньше заднего. Напряженность поля (H(t)) не менее 106 А/м при скорости изменения (dH(t)/dt) не менее 107 А/м·с и градиенте (grad Н) не менее 108 А/м2. 2 ил.
Изобретение относится к обогащению полезных ископаемых и может быть использовано для извлечения немагнитных проводящих дисперсных материалов из смеси дисперсных немагнитных материалов, таких как частицы редких и благородных металлов, содержащихся в естественных и техногенных россыпных месторождениях.
Известен способ выделения проводящих частиц из смеси дисперсных немагнитных материалов, включающий воздействие на поток смеси высокочастотным электромагнитным полем с формированием в рабочем пространстве электромагнитной силы, направленной перпендикулярно оси потока (см. а.с. СССР №784922, Кл. В03С 1/02, 1980). Исходный материал, представляющий собой смесь двух или более немагнитных материалов с различной электропроводностью, из загрузочного устройства поступает в межполюсное пространство. При воздействии высокочастотного электромагнитного поля в электропроводных частицах индуктируются вихревые токи, при этом в результате взаимодействия внешнего переменного магнитного поля с наведенным в электропроводных частицах возникает электромагнитная сила, выталкивающая электропроводные частицы в сторону уменьшения интенсивности магнитного поля. Частицы различной электропроводности движутся по различным траекториям. Разделяемые материалы попадают в приемный бункер, имеющий три отсека: центральный и боковые. В центральный попадают неэлектропроводные частицы, а в боковые отсеки – частицы электропроводные.
Недостаток способа – ограниченный диапазон крупности разделяемых частиц вследствие низкой величины магнитной индукции в рабочей зоне.
Известен также способ выделения проводящих частиц из смеси дисперсных немагнитных материалов, включающий воздействие на поток смеси переменным магнитным полем (см. а.с. СССР №1297908, Кл. В03С 1/02, 1987).
Недостаток способа – невозможность извлечения мелких и тонких частиц цветных, редких и самородных металлов из смеси дисперсных немагнитных материалов, особенно при первичном обогащении – из потока обрабатываемого материала эффективно выделяются крупные (более 1 мм) частицы металлов. Но извлечение частиц такого размера уже не может удовлетворить требованиям горной промышленности, прежде всего ее золотодобывающей отрасли. Актуальна задача извлечения частиц металла размером 0,1 мм и менее.
Задачей, на решение которой направлено изобретения, является обеспечение возможности извлечения мелких и тонких фракций цветных, редких и драгоценных металлов из смеси дисперсных немагнитных материалов.
Технический результат, достигаемый при решении поставленной задачи, выражается в обеспечении возможности почти полного выделения (улавливания более 90% частиц свободного золота размерностью 0,1 мм и практически полное улавливание фракций до 0,5 мм) тонкодисперсных цветных редких и драгоценных металлов и тем самым возможности создания эффективного обогатительного оборудования для первичного обогащения россыпных месторождений различной природы (естественных и техногенных) безреагентным способом (т.е. экологически безопасным по выбросам реагентов в окружающую среду).
Поставленная задача решается тем, что способ выделения проводящих частиц из смеси дисперсных немагнитных материалов, включающий воздействие на поток смеси переменным магнитным полем, отличается тем, что для воздействия на смесь используют мощное высокоградиентное импульсное магнитное поле, напряженность которого (H(t)) не менее 106 А/м при скорости изменения (dH(t)/dt) не менее 107 А/м·с и градиенте (grad H) не менее 10 А/м2, причем импульсам магнитного поля придают форму ассиметричную во времени, при которой длительность переднего фронта импульса меньше заднего.
Сопоставление признаков заявленного способа с признаками прототипа и аналогов подтверждает соответствие заявленного решения критерию “новизна”.
Признаки отличительной части формулы изобретения обеспечивают решение комплекса функциональных задач:
Совокупность признаков «…используют мощное высокоградиентное импульсное магнитное поле … импульсам магнитного поля придают форму ассиметричную во времени, при которой длительность переднего фронта импульса меньше заднего» обеспечивает возможность пространственного разделения частиц металла и вмещающих пород за счет придания названным частицам соответствующих импульсов движения, причем конфигурационные особенности импульсов исключают обратное «гашение» импульсов движения металлических частиц при снижении напряженности магнитного поля (когда начинается спад внешнего магнитного поля, частицу начинает тащить обратно, но тащит обратно ее уже с меньшей силой, т.к. задний фронт импульса пологий (медленнее меняется во времени), и потому металлическая частица после окончания импульса останется в точке пространства, отличной от той, из которой она стартовала.
Признаки, указывающие на параметры магнитного поля «напряженность которого (H(t)) не менее 106 А/м при скорости изменения (dH(t)/dt) не менее 107 А/м·с и градиенте (grad H) не менее 108 А/м2», позволяют оптимизировать (по энергопотреблению или качеству сепарации) процесс разделения частиц, преимущественно выделение тонкодисперсного золота.
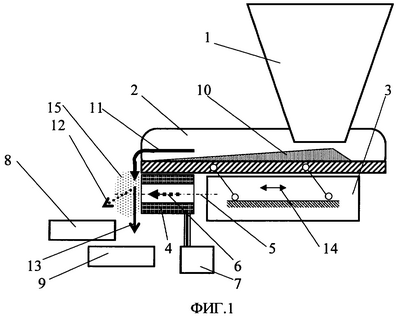
Заявленный способ иллюстрируется чертежами, на которых показаны: на фиг.1 схема обогатительного устройства, обеспечивающего реализацию способа; на фиг.2 показана форма и амплитуда импульса тока, вырабатываемого генератором импульсных токов.
На чертежах показаны загрузочный бункер 1, желоб 2 вибрационного питателя 3, соленоид 4, продольная ось 5 соленоида, направление 6 действия магнитного поля соленоида на протяжении переднего фронта импульса (его возрастающем участке), генератор 7 импульсных токов, приемная емкость 8, емкость сбора отходов 9. Кроме того, показаны слой 10 смеси дисперсных немагнитных материалов и направление 11 движения ее потока, направление 12 движения потока проводящих частиц, направление 13 движения потока непроводящих частиц, направление 14 движения желоба питателя.
Конструктивно названные элементы обогатительного устройства не отличаются от известных устройств, используемых по сходному назначению.
Вибрационный питатель 3 представляет собой желоб с плоским дном, прикрепленный к основанию через плоские пружины и снабженный приводом движения, что позволяет каждой точке поверхности желоба совершать движение по замкнутой траектории, передаваемое частицам транспортируемого материала, как вертикальные и горизонтальные (вдоль продольной оси желоба) возвратно-поступательные движения. При необходимости разделения смесей, содержащих магнитные материалы, транспортировку дисперсной смеси в рабочую зону 15 соленоида можно осуществлять конвейером типа ленточного или перепускать по наклонному желобу или использовать роторный орган подачи. Соленоид 4 выполнен в виде горизонтального ряда одинаковых соосных кольцевых катушек прямоугольного сечения, в каждой соседней паре которых протекают импульсные токи встречного направления. Ось катушек (продольная ось 5 соленоида) перпендикулярна направлению потока сепарируемого материала, подающегося вибрационным питателем 3 в рабочую зону соленоида 4. Соленоид установлен на кронштейне под желобом вибрационного питателя, так, что дисперсная смесь, сходя с желоба 2 вибропитателя 3, попадает в его рабочую зону 15. Обязательное требование к соленоиду – сохранение работоспособности в диапазоне токов, поступающих от генератора 7 импульсных токов, с возможностью формирования высокоградиентного мощного импульсного магнитного поля с параметрами: с напряженностью (H(t)) не менее 106 А/м, при скорости изменения (dH(t)/dt) не менее 107 А/м·с и градиенте (grad H) не менее 108 А/м2.
В качестве генератора 7 импульсных токов можно использовать генератор импульсных токов с емкостным накопителем энергии и тиристором в качестве прерывателя тока. Скорость нарастания тока в импульсе dI(t)/dt) не менее 108 А/с (что позволяет получать в соленоиде dH(t)/dt) порядка 106-107 А/м·с). Форма, амплитуда и длительность импульса тока генератора показаны на фиг.2.
Заявленный способ реализуется следующим образом.
Смесь немагнитных дисперсных материалов, содержащих проводящие и непроводящие частицы (например, россыпной материал, содержащий частицы редких и благородных металлов и пустую породу), подается самотеком из загрузочного бункера 1 в желоб 2 вибрационного питателя 3 и за счет направленных вибраций последнего “растекается” в сравнительно тонкий слой 1, а также перемещается в направлении 11. Дойдя до края желоба 2 вибрационного питателя 3, смесь немагнитных дисперсных материалов падает вниз, попадая в рабочую зону 15 соленоида 4. Здесь в результате взаимодействия с мощным высокоградиентным импульсным магнитным полем сепарируемым частицам в зависимости от их физических свойств сообщаются различные траектории движения и осуществляется их пространственное разделение. Например, золото- и платиносодержащие россыпные месторождения представляют собой естественные дисперсные смеси минералов, в которых частицы свободного металла отличаются от вмещающих пород своей высокой электропроводностью. При воздействии на такую смесь импульсным магнитным полем в частичках минералов будут индуцироваться вихревые токи (в металлических частицах благодаря их высокой проводимости вихревые токи будут значительно сильнее, чем в частицах вмещающих пород, которые чаще всего являются хорошими изоляторами). Импульсы магнитного поля имеют ассимметричную форму – крутой подъем (передний фронт) и пологий спуск (задний фронт), соответствующую форме импульсов тока генерируемых генератором 7 импульсных токов. Во время нарастания импульса внешнего магнитного поля в частицах индуцируется сильный вихревой ток (причем величина этого тока тем больше, чем быстрее нарастает, меняется во времени внешнее магнитное поле). Вихревые токи в металлических частицах взаимодействуют с индуцирующим их магнитным полем и частица выталкивается в пространство, где магнитное поле слабее (что обеспечивается неоднородностью поля – его высокоградиентностью).
Когда начинается спад внешнего магнитного поля, частицу начинает тащить обратно. Но тащит обратно ее уже с меньшей силой, т.к. задний фронт импульса пологий (медленнее меняется во времени), и частица после окончания импульса продолжает двигаться на участке пространства, лежащем вдоль направления 12 (на расстоянии от направления 13, вдоль которого движутся непропроводящие частицы). Кроме того, ко времени начала спада магнитного поля частицы металла находятся уже на значительном расстоянии от соленоида и уже не могут возвратиться в общий поток.
После достаточно большого числа импульсов достигается пространственное разделение потоков проводящих и непроводящих частиц (их траектории соответственно, 12 и 13), что обеспечивает их размещение в различных приемных емкостях (частицы вмещающих пород с магнитным полем практически не взаимодействуют и падают в емкость сбора отходов 9, расположенную непосредственно под кромкой желоба вибропитателя). При необходимости “оптимизации” процесса сепарации под конкретный материал оперируют данными об удельной проводимости материала частицы и ее крупностью, при этом используют математическое выражение, позволяющее определить требуемую величину силы взаимодействия (F ×r4×H(t)×dH(t)/dt, где – удельная проводимость частицы; r – линейный размер частицы; H(t) – напряженность магнитного поля; dH(t)/dt – скорость изменения магнитного поля), и рассчитать необходимые конструктивные параметры магнитной системы.
Для проверки работоспособности предложения проводились эксперименты с искусственными смесями минералов, составленными из кварцевого песка крупностью от 0,5 до 0,1 мм и опилок меди, алюминия и латуни крупностью от 3,0 до 0,1 мм. Смеси не были классифицированы, чтобы сразу было видно, частицы каких размеров извлекаются. В результате экспериментов выяснилось, что в извлеченном материале присутствуют частицы всех металлов и всех классов крупности, в том числе класса 0,1 мм. Основную массу извлеченного металла составляют частицы классов 0,5-0,2 мм, причем частицы алюминия выталкиваются магнитным полем дальше, чем латунь и медь. Это объясняется тем, что алюминий имеет проводимость лишь ненамного меньшую, чем медь, а плотность – в три раза меньшую. Легкие частицы выталкиваются дальше.
Лабораторный образец аппарата, реализующего заявленный способ, был испытан. Испытания показали работоспособность способа и возможность его реализации в рамках существующих в настоящее время технических средств. При этом обеспечивалось надежное извлечение из россыпи частиц золота размером 0,1 мм или других более легкоизвлекаемых материалов.
Формула изобретения
Способ выделения проводящих частиц из смеси дисперсных немагнитных материалов, включающий воздействие на поток смеси переменным магнитным полем, отличающийся тем, что для воздействия на смесь используют мощное высокоградиентное импульсное магнитное поле, напряженность которого (H(t)) не менее 106 А/м, при скорости изменения (dH(t)/dt) не менее 107 А/м·с и градиенте (grad Н) не менее 108 А/м, причем импульсам магнитного поля придают форму, ассиметричную во времени, при которой длительность переднего фронта импульса меньше заднего.
РИСУНКИ
MM4A – Досрочное прекращение действия патента СССР или патента Российской Федерации на изобретение из-за неуплаты в установленный срок пошлины за поддержание патента в силе
Дата прекращения действия патента: 13.05.2008
Извещение опубликовано: 10.06.2010 БИ: 16/2010
|
|