|
|
(21), (22) Заявка: 2006119415/03, 02.06.2006
(24) Дата начала отсчета срока действия патента:
02.06.2006
(46) Опубликовано: 10.01.2008
(56) Список документов, цитированных в отчете о поиске:
SU 1398903 A1, 30.05.1988. RU 2049548 C1, 10.12.1995. RU 2058819 C1, 27.04.1996. SU 1435282 A1, 07.11.1988. SU 1547845 A1, 07.03.1990.
Адрес для переписки:
199106, Санкт-Петербург, В.О., 22 линия, 3, ОАО “НПК”Механобр-техника”
|
(72) Автор(ы):
Вайсберг Леонид Абрамович (RU), Зарогатский Леонид Петрович (RU), Пирогова Ольга Александровна (RU)
(73) Патентообладатель(и):
Открытое акционерное общество “НПК “Механобр-техника” (RU)
|
(54) КОНУСНАЯ ИНЕРЦИОННАЯ ДРОБИЛКА
(57) Реферат:
Изобретение относится к горнорудной промышленности. Дробилка содержит корпус с наружным конусом и сферической опорой для внутреннего конуса с валом, на котором с помощью подшипника размещен дебалансный вибратор, соединенный трансмиссией с приводным электродвигателем. Внутренний конус снабжен ограничителем амплитуды. Ограничитель амплитуды выполнен в виде смонтированного в корпусе подшипника, внутреннее кольцо которого футеровано резиной, а ответное кольцо ограничителя смонтировано на дебалансном вибраторе концентрично оси вала конуса, при этом ограничительный радиальный зазор «d» между ответным кольцом и футерованным резиной кольцом подшипника определяется из зависимости: d=S·L/l, где S – разгрузочный зазор между конусами, L – расстояние от центра сферической опоры до геометрического центра ответного кольца; l – расстояние от центра сферической опоры до нижнего края рабочей поверхности футеровки внутреннего конуса. Изобретение повышает надежность и долговечность инерционной дробилки. 2 ил.
Изобретение относится к конусным дробилкам мелкого дробления, а точнее – к инерционным конусным дробилкам.
Наиболее широко изобретение может быть использовано в горнорудной промышленности.
В конусных эксцентриковых дробилках приводным элементом внутреннего конуса является эксцентриковая втулка, она же является ограничителем его амплитуды.
Ось внутреннего конуса может отклоняться от оси дробилки не более и не менее чем на эксцентриситет приводной втулки. Поэтому на холостом ходу внутренний конус в процессе нутации не касается брони наружного конуса и не приводит к поломкам механизма дробилки,
В инерционных дробилках приводного эксцентрика нет. Вместо него приводным элементом является дебалансный вибратор, который не может быть ограничителем амплитуды внутреннего конуса. Поэтому в рабочем режиме внутренний конус обкатывается по слою дробимого материала, находящемуся в дробящей полости, а при его отсутствии – непосредственно по наружной броне, что может привести к аварии.
Известна конусная инерционная дробилка (а.с. СССР № 1068165 от 08.02.80 г.), содержащая корпус с наружным конусом и сферической опорой для внутреннего конуса с валом, на котором с помощью подшипника размещен приводной дебалансный вибратор, снабженный на радиальной периферии магнитом, взаимодействующим при вращении вибратора с электромагнитной катушкой, установленной на корпусе. Чем ближе магнит приближается к катушке с ростом разгрузочного зазора, тем большая величина ЭДС индуктируется катушкой. По величине ЭДС можно косвенно определять размер разгрузочного зазора.
Недостатком устройства является недостоверность его показаний по нескольким причинам:
– катушка постепенно покрывается слоями грязи и продуктов износа подшипников, что снижает магнитную проницаемость;
– положение магнита с износом опор вибратора постепенно смещается вниз, что увеличивает расстояние магнита до катушки и искажает сигнал.
Известна принимаемая за прототип конусная инерционная дробилка (а.с. СССР № 1398903, от 23.12.86 г.), содержащая корпус с наружным конусом и сферической опорой для внутреннего конуса с валом, на котором с помощью подшипника размещен дебалансный вибратор и ограничительная втулка, контактирующая при превышении разгрузочного зазора с корпусом сферической опоры.
Недостатком известного устройства является быстрый износ ограничительной втулки из-за проскальзывания относительно сферической опоры и большого удельного давления в зоне контакта из-за расположения втулки в верхней части вала.
Задачей настоящего изобретения является повышение надежности дробилки путем исключения ее выхода на аварийный режим.
Поставленная задача решается тем, что в конусной инерционной дробилке, содержащей корпус с наружным конусом и сферической опорой для внутреннего конуса с валом, на котором с помощью подшипника размещен дебалансный вибратор, при этом внутренний конус снабжен ограничителем амплитуды, в которой в соответствии с настоящим изобретением ограничитель амплитуды выполнен в виде смонтированного в корпусе подшипника, внутреннее кольцо которого футеровано резиной, а ответное кольцо ограничителя смонтировано на дебалансном вибраторе концентрично оси вала конуса, при этом ограничительный радиальный зазор «d» между ответным кольцом и футерованным кольцом подшипника определяется из зависимости

где s – разгрузочный зазор между конусами; L – расстояние от центра сферической опоры до геометрического центра ответного кольца; l – расстояние от центра сферической опоры до нижнего края рабочей футеровки внутреннего конуса.
Отличительные признаки формулы позволяют обеспечить надежное предохранение дробилки от выхода на аварийный режим при превышении разгрузочного зазора вне зависимости от побочных причин.
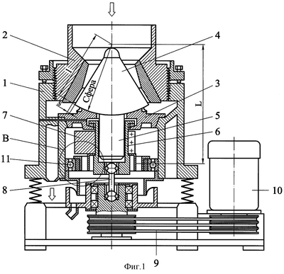
Предлагаемая конусная инерционная дробилка в продольном разрезе показана на фиг.1, а на фиг.2 показан узел ограничения амплитуды.
Предлагаемая дробилка (фиг.1) содержит корпус 1 с наружным конусом 2 и сферической опорой 3 для внутреннего конуса 4 с валом 5, на котором с помощью подшипника 6 размещен дебалансный вибратор 7, соединенный промежуточным валом 8 и клиноременной передачей 9 с двигателем 10. В корпусе 1 (фиг.2) установлен подшипник качения 11, внутреннее кольцо 12 которого зафутеровано резиной 13, покрытой контактным кольцом 14. На дебалансном вибраторе 7 закреплено ответное кольцо 15, концентричное валу 5, причем ограничительный зазор «d» между ответным кольцом и радиальным футерованным кольцом подшипника определяется из зависимости

где s – разгрузочный зазор между конусами, L – расстояние от центра сферической опоры до геометрического центра ответного кольца; l – расстояние от центра сферической опоры до нижнего края футеровки внутреннего конуса.
Дробилка работает следующим образом.
При вращении двигателя 10 крутящий момент передается дебалансу 7 через клиноременную передачу 9 и промежуточный вал 8. Дебаланс 7 развивает центробежную силу, заставляющую внутренний конус 4 совершать гирационные колебания на своей сферической опоре 3. При этом материал, загружаемый в дробилку, дробится между конусами 2 и 4. Разгрузочный зазор s между конусами имеет конструктивное ограничение своей величины, превышение которого может привести к столкновению дебаланса 7 с корпусом 1, что вызывает поломку механизма. В процессе обкатки внутреннего конуса 4 по слою дробимого материала идет износ броней конусов и соответственно растет слой материала и разгрузочный зазор s. Если величина s превысила допустимое значение, а материал в дробилку перестал подаваться, то ось внутреннего конуса 4 отклоняется от оси дробилки так, что ответное кольцо 15 касается контактного кольца 14, резина 13 демпфирует силу внутреннего конуса, подшипник 11 получает вращение и далее конус не отклоняется. Тем самым, конуса 2 и 4 не входят в соприкосновение и аварии не происходит.
Таким образом, реализация заявляемых отличительных признаков обеспечивает надежное ограничение амплитуды внутреннего конуса при превышении разгрузочного зазора между конусами, что предотвращает аварию.
Формула изобретения
Конусная инерционная дробилка, содержащая корпус с наружным конусом и сферической опорой для внутреннего конуса с валом, на котором с помощью подшипника размещен дебалансный вибратор, соединенный трансмиссией с приводным электродвигателем, при этом внутренний конус снабжен ограничителем амплитуды, отличающаяся тем, что ограничитель амплитуды выполнен в виде смонтированного в корпусе подшипника, внутреннее кольцо которого футеровано резиной, а ответное кольцо ограничителя смонтировано на дебалансном вибраторе концентрично оси вала конуса, при этом ограничительный радиальный зазор d между ответным кольцом и футерованным резиной кольцом подшипника определяется из зависимости
,
где S – разгрузочный зазор между конусами; L – расстояние от центра сферической опоры до геометрического центра ответного кольца; l – расстояние от центра сферической опоры до нижнего края рабочей поверхности футеровки внутреннего конуса.
РИСУНКИ
|
|