|
|
(21), (22) Заявка: 2006110446/13, 03.04.2006
(24) Дата начала отсчета срока действия патента:
03.04.2006
(46) Опубликовано: 10.01.2008
(56) Список документов, цитированных в отчете о поиске:
RU 2175273 C1, 27.10.2001. SU 889143 A, 25.12.1981. SU 713613 A, 07.02.1980. US 4124498 A, 07.11.1978. US 3834534 A, 10.09.1974.
Адрес для переписки:
115583, Москва, ул. Елецкая, 33, корп.2, кв.243, А.С. Сафонову
|
(72) Автор(ы):
Мамедов Фуад Алиевич (RU), Сафонов Александр Сергеевич (RU)
(73) Патентообладатель(и):
Федеральное государственное образовательное учреждение высшего профессионального образования “Российский государственный аграрный заочный университет” (RU)
|
(54) ЗЕРНООЧИСТИТЕЛЬНАЯ МАШИНА
(57) Реферат:
Зерноочистительная машина содержит раму и решето с прикрепленными к его боковым кромкам выпуклыми козырьками. Вал машины расположен под углом к горизонтальной плоскости, соединен с рамой посредством подшипниковых узлов. Решето для фракции схода зерна связано с валом жестко. Поддон для фракций прохода зерна закреплен на валу посредством подшипниковых узлов. Механизм уравновешивания сил инерции и преобразования амплитуды колебания соединяет поддон и решето и имеет ось, закрепленную в раме. Решето приводится в движение трехфазным дугостаторным асинхронным двигателем, состоящим из статора, состоящего из трех трехфазных статорных модулей с обмоткой, имеющих форму дуги с центральным углом 1 и образующих при совместном включении дугу с центральным углом , размещенных внутри зерноочистительной машины между решетом и поддоном и закрепленных на металлической косынке, имеющей форму дуги, размещенной внутри зерноочистительной машины между решетом и поддоном и закрепленной на раме, и ротора, выполненного массивным из магнитопроводящего материала с покрытием из электропроводящего материала и являющегося частью решета, охватываемой статорными модулями. Одна обмотка трех трехфазных статорных модулей трехфазного дугостаторного асинхронного двигателя соединена с сетью переменного тока, а две другие, включенные последовательно, соединены с выходом однофазного частотного преобразователя, вход которого соединен с сетью переменного тока. Такое выполнение зерноочистительной машины позволяет упростить кинематическую схему привода, снизить массу, габариты и стоимость, при этом появляется возможность ступенчатого изменения мощности и частоты колебаний, повышаются надежность и производительность зерноочистительной машины. 4 ил.
Изобретение относится к зерноочистительным машинам и предназначено для очистки и сортирования семян сельскохозяйственных культур.
Известна зерноочистительная машина, включающая раму, решето для фракции схода зерна, снабженное выпуклыми козырьками, прикрепленными к боковым кромкам решета. Машина снабжена валом, расположенным под углом к горизонтальной плоскости и соединенным с рамой подшипниковыми узлами, поддоном для фракции прохода зерна и механизмом уравновешивания сил инерции и преобразования амплитуды колебания. Решето жестко связано с первым концом вала, а поддон для фракции прохода зерна закреплен на валу посредством подшипниковых узлов и связан с решетом при помощи механизма уравновешивания сил инерции и преобразования амплитуды колебания, ось которого закреплена в раме. Асинхронный трехфазный двигатель, одна обмотка которого соединена с сетью переменного тока, а две другие, включенные последовательно, соединены с выходом частотного преобразователя, соединен со вторым концом вала и установлен на раме. Вход однофазного преобразователя частоты соединен с сетью переменного тока.
Недостатками известного решетного стана являются пониженные технико-экономические показатели из-за увеличенных массогабаритных показателей привода и наличия в конструкции элементов с повышенными механическими напряжениями. (А.с. RU 2175273, МКИ 7 В07В 1/28, 1/38; А.с. СССР № 889143, МКИ В07В 1/38, 1981; А.с. СССР № 713613, МКИ В07B 1/28, 1978).
Целью изобретения является улучшение технико-экономических показателей (снижение стоимости, габаритных размеров и массы привода, повышение коэффициента полезного действия, надежности и производительности машины).
Поставленная цель достигается тем, что зерноочистительная машина, содержащая раму, вал, расположенный под углом к горизонтальной плоскости и соединенный с рамой посредством подшипниковых узлов, поддон, закрепленный на валу посредством подшипниковых узлов, решето с прикрепленными к его боковым кромкам выпуклыми козырьками, жестко связанное с валом, соединяющий поддон и решето механизм уравновешивания сил инерции и преобразования амплитуды колебания, ось которого закреплена в раме, однофазный частотный преобразователь, вход которого соединен с сетью переменного тока, согласно изобретению снабжена трехфазным дугостаторным асинхронным двигателем, расположенным внутри зерноочистительной машины между решетом и поддоном и закрепленным на металлической косынке, имеющей форму дуги, размещенной внутри зерноочистительной машины между решетом и поддоном и закрепленной на раме, причем статор трехфазного дугостаторного асинхронного двигателя имеет модульную конструкцию, т.е. состоит из трех трехфазных статорных модулей, имеющих одинаковую конструкцию и закрепленных на металлической косынке, одна обмотка которых соединена с сетью переменного тока, а две другие, включенные последовательно, соединены с выходом частотного преобразователя, а ротором трехфазного дугостаторного асинхронного двигателя является часть решета, охватываемая статорными модулями, выполненная массивной из магнитопроводящего материала и покрытая электропроводящим материалом.
Благодаря тому, что зерноочистительная машина снабжена трехфазным дугостаторным асинхронным двигателем, расположенным внутри зерноочистительной машины между решетом и поддоном и закрепленным на металлической косынке, имеющей форму дуги, размещенной внутри зерноочистительной машины между решетом и поддоном и закрепленной на раме, а статор трехфазного дугостаторного асинхронного двигателя имеет модульную конструкцию, т.е. состоит из трех трехфазных статорных модулей, имеющих одинаковую конструкцию и закрепленных на металлической косынке, а в качестве ротора трехфазного дугостаторного асинхронного двигателя используется часть решета, охватываемая статорными модулями, выполненная массивной из магнитопроводящего материала и покрытая электропроводящим материалом, происходит улучшение технико-экономических показателей (снижается масса и габариты, удешевляется привод и повышается надежность и производительность работы зерноочистительной машины).
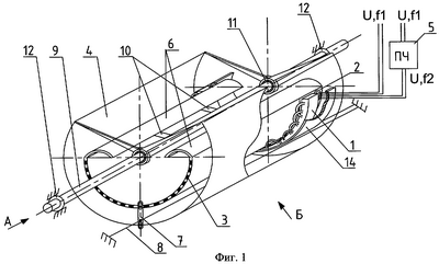
На фиг.1, фиг.2, фиг.3 и фиг.4 представлены схемы зерноочистительной машины. Сущность изобретения поясняется схемами, представленными на фиг.1, фиг.2, фиг.3 и фиг.4.
Зерноочистительная машина содержит раму, вал 9, расположенный под углом к горизонтальной плоскости, соединенный с рамой посредством подшипниковых узлов 12, поддон 4, закрепленный на валу посредством подшипниковых узлов 11, решето 3 с прикрепленными к его боковым кромкам выпуклыми козырьками 6, жестко связанное с валом 9, соединяющий поддон и решето механизм уравновешивания сил инерции и преобразования амплитуды колебания 7, ось которого 8 закреплена в раме, однофазный частотный преобразователь 5, вход которого соединен с сетью переменного тока, трехфазный дугостаторный асинхронный двигатель, состоящий из трех трехфазных статорных модулей 1 с обмоткой, имеющих форму дуги с центральным углом 1, одна обмотка которых соединена с сетью переменного тока, а две другие, включенные последовательно, соединены с выходом частотного преобразователя 5, и ротора 2, отличающаяся тем, что она снабжена трехфазным дугостаторным асинхронным двигателем, размещенным внутри зерноочистительной машины между решетом 3 и поддоном 4 и закрепленным на металлической косынке 14, имеющей форму дуги, размещенной внутри зерноочистительной машины между решетом 3 и поддоном 4 и закрепленной на раме, состоящим из статора, состоящего из трех трехфазных статорных модулей 1 с обмоткой, имеющих форму дуги с центральным углом 1 и образующих при совместном включении дугу с центральным углом , размещенных внутри зерноочистительной машины между решетом 3 и поддоном 4 и закрепленных на металлической косынке 14, имеющей форму дуги, размещенной внутри зерноочистительной машины между решетом 3 и поддоном 4 и закрепленной на раме, и ротора 2, представляющего собой часть решета 3, охватываемую статорными модулями 1, выполненную массивной из магнитопроводящего материала и покрытую электропроводящим материалом.
Зерноочистительная машина работает следующим образом.
Исходная зерновая смесь подается на решето 3, приводимое в колебательное движение посредством вала 9 и существующих между валом, закрепленным на раме подшипниковыми узлами 12, и решетом жестких механических связей 10 от трехфазного дугостаторного асинхронного двигателя, состоящего из трех трехфазных статорных модулей 1 с обмоткой, имеющих форму дуги с центральным углом 1 и образующих при совместном включении дугу с центральным углом , размещенных внутри зерноочистительной машины между решетом 3 и поддоном 4 и закрепленных на металлической косынке 14, имеющей форму дуги, размещенной внутри зерноочистительной машины между решетом 3 и поддоном 4 и закрепленной на раме, и ротора 2, который является частью решета 3, охватываемой статорными модулями 1, выполненной массивной из магнитопроводящего материала и покрытой электропроводящим материалом. Затем зерновая смесь под действием колебаний и выпуклых козырьков 6 перемещается поперек решета 3, а за счет наклона – вдоль решета 3. Часть зерна попадает сквозь отверстия решета 3 на поддон для фракции прохода зерна 4, а часть перемещается к сходовой кромке решета 3 и попадает на лоток для фракции прохода зерна 13 для сбора. Поддон для фракции прохода зерна 4 связан с валом 9 при помощи подшипниковых узлов 11 и приводится в движение при помощи трехфазного дугостаторного асинхронного двигателя, размещенного внутри зерноочистительной машины между решетом 3 и поддоном 4 и закрепленного на металлической косынке 14, имеющей форму дуги, размещенной внутри зерноочистительной машины между решетом 3 и поддоном 4 и закрепленной на раме, и рычага 7, с одного конца закрепленного на торце решета 3, а с другой стороны – на поддоне 4. Рычаг 7 совершает колебательное движение относительно неподвижно закрепленной на раме оси 8 механизма уравновешивания сил инерции и преобразования амплитуды колебания. Вследствие того, что колебание решета 3 и поддона для фракции прохода зерна 4 происходит в противофазе, осуществляется уравновешивание сил инерции, возникающих при колебании. При этом из-за разности длин плеч L1 и L2 рычага 7 (фиг.2) колебание решета 3 и поддона для фракции прохода зерна 4 происходит с различной амплитудой. Зерновая смесь, попадая на козырьки 6, направляется ими обратно на решето, за счет чего происходит интенсивное перемешивание зерна.
Для преобразования вращательного движения двигателя в колебательное движение решета одна обмотка трех трехфазных статорных модулей трехфазного дугостаторного асинхронного двигателя подключена непосредственно к сети, а две другие, включенные последовательно, соединяются с преобразователем частоты, напряжение на выходе которого имеет частоту, отличную от частоты сети. При данном способе включения трехфазного дугостаторного асинхронного двигателя происходит непрерывное изменение сдвига фаз между двумя напряжениями питания, обусловливаемое различными величинами периодов питающих напряжений. Поле в рабочем зазоре при этом меняется от кругового до пульсирующего с изменением чередования фаз, что приводит к появлению периодически меняющегося электромагнитного момента двигателя. Частота изменения момента, а следовательно, и скорости ротора двигателя определяется абсолютной разностью частот питающих напряжений (Луковников В.И. Электропривод колебательного движения. – М.: Энергоатомиздат, 1984, – 152 с., ил.; Мамедов Ф.А., Беспалов В.Я., Резниченко В.Ю., Малиновский А.Е. Асинхронный двигатель в “синусном” режиме. – Минск: Энергетика, № 5, 1977, – 57 с., ил.):

где к – частота изменения величины момента; 1 – частота напряжения сети переменного тока; 2 – частота напряжения на выходе однофазного частотного преобразователя.
Из этого следует, что существует возможность регулирования частоты колебания решета и получения таких значений частот колебаний, при которых достигается наиболее интенсивная сепарация зерновой смеси для известных технологических свойств компонентов смеси, что позволяет в свою очередь существенно повысить пропускную способность машины (Послеуборочная обработка семян зерновых культур: / ВАСХНИЛ. – М.: Агропромиздат, 1986, – 44 с., ил. – б/ц.).
Согласно теории дугостаторных асинхронных двигателей (Фридкин П.А. Безредукторный дугостаторный электропривод. – Л.: Энергия, 1970) частота вращения ротора определяется выражением:

где s – скольжение двигателя, о.е.; f1 – частота питающей сети, Гц; р – число пар полюсов двигателя; – центральный угол дуги статора, рад.
Из (2) следует, что за счет правильного выбора величины центрального угла дуги статора, соответствующего требуемой для данного технологического процесса сепарации зерновой смеси частоте вращения ротора, обеспечивается повышение качества сепарации зерновой смеси и повышение производительности работы зерноочистительной машины.
Благодаря применению в приводе зерноочистительной машины трехфазного дугостаторного асинхронного двигателя, три трехфазных статорных модуля которого имеют форму дуги с центральным углом 1 и образуют при совместном включении дугу с центральным углом (фиг.4), закреплены на металлической косынке, размещенной внутри зерноочистительной машины между решетом и поддоном и закрепленной на раме, а ротор выполнен массивным из магнитопроводящего материала с покрытием из электропроводящего материала и является частью решета, охватываемой статорными модулями, осуществляется непосредственный привод рабочего органа зерноочистительной машины – решета. Это упрощает кинематическую схему привода, повышает надежность, снижает массу, габариты и стоимость зерноочистительной машины.
Благодаря применению в приводе зерноочистительной машины трехфазного дугостаторного асинхронного двигателя, статор которого состоит из трех трехфазных статорных модулей с обмоткой, имеющих форму дуги с центральным углом 1 и образующих при совместном включении дугу с центральным углом , появляется возможность ступенчатого изменения мощности и частоты вращения двигателя, а следовательно, и частоты колебаний решета зерноочистительной машины путем отключения одного или двух статорных модулей в зависимости от величины нагрузки. При отключении одного статорного модуля мощность двигателя снижается на 1/3 его номинальной мощности, двух – на 2/3 номинальной мощности (Вольдек А.И. Электрические машины. – 3-е изд., перераб. – Л.: Энергия, 1978, – 832 с., ил.). Необходимость в этом возникает, когда зерноочистительная машина загружена частично или работает без нагрузки. Снижение мощности двигателя в этих режимах позволяет повышать КПД и коэффициент мощности.
При совместном включении трех статорных модулей частота вращения ротора трехфазного дугостаторного асинхронного двигателя, а следовательно, и колебания решета согласно (2) определяются величиной угла и являются в данной конструкции наибольшими. При отключении одного модуля частота вращения ротора трехфазного дугостаторного асинхронного двигателя снижается до величины, соответствующей углу 2· 1, а при отключении двух модулей – до частоты вращения, соответствующей углу 1, являющейся наименьшей в данной конструкции. Необходимость в изменении частоты вращения ротора трехфазного дугостаторного асинхронного двигателя, а следовательно, и колебаний решета возникает в зависимости от вида, сорта, влажности зерна. Таким образом, можно выбрать начальную частоту колебания решета, соответствующую углам , 2· 1 или 1, которую можно изменять при помощи преобразователя частоты. Это повышает эффективность работы зерноочистительной машины и качество зерноочистки.
Выполнение ротора дугостаторного асинхронного двигателя массивным из магнитопроводящего материала с покрытием из электропроводящего материала способствует повышению устойчивости работы дугостаторного асинхронного двигателя, а следовательно, и зерноочистительной машины, так как при таком исполнении ротора дугостаторного асинхронного двигателя он является дуговым аналогом цилиндрического асинхронного двигателя с массивным ротором (Куцевалов В.М. Вопросы теории и расчета асинхронных машин с массивными роторами. М. – Л.: Энергия, 1966).
При таком исполнении зерноочистительной машины упрощается ее кинематическая схема привода, снижаются масса, габариты и стоимость, повышаются надежность и производительность.
Формула изобретения
Зерноочистительная машина, содержащая раму, вал, расположенный под углом к горизонтальной плоскости, соединенный с рамой посредством подшипниковых узлов, поддон, закрепленный на валу посредством подшипниковых узлов, решето с прикрепленными к его боковым кромкам выпуклыми козырьками, жестко связанное с валом, соединяющий поддон и решето механизм уравновешивания сил инерции и преобразования амплитуды колебания, ось которого закреплена в раме, однофазный частотный преобразователь, вход которого соединен с сетью переменного тока, и трехфазный дугостаторный асинхронный двигатель, одна обмотка которого соединена с сетью переменного тока, а две другие, включенные последовательно, соединены с выходом частотного преобразователя, отличающаяся тем, что она снабжена трехфазным дугостаторным асинхронным двигателем, состоящим из статора, состоящего из трех трехфазных статорных модулей с обмоткой, имеющих форму дуги с центральным углом 1 и образующих при совместном включении дугу с центральным углом , размещенных внутри зерноочистительной машины между решетом и поддоном и закрепленных на металлической косынке, имеющей форму дуги, размещенной внутри зерноочистительной машины между решетом и поддоном и закрепленной на раме, и ротора, выполненного массивным из магнитопроводящего материала с покрытием из электропроводящего материала и являющегося частью решета, охватываемой статорными модулями.
РИСУНКИ
MM4A – Досрочное прекращение действия патента СССР или патента Российской Федерации на изобретение из-за неуплаты в установленный срок пошлины за поддержание патента в силе
Дата прекращения действия патента: 04.04.2008
Извещение опубликовано: 20.04.2010 БИ: 11/2010
|
|