|
| На основании пункта 3 статьи 13 Патентного закона Российской Федерации от 23 сентября 1992 г. № 3517-I патентообладатель обязуется передать исключительное право на изобретение (уступить патент) на условиях, соответствующих установившейся практике, лицу, первому изъявившему такое желание и уведомившему об этом патентообладателя и федеральный орган исполнительной власти по интеллектуальной собственности, – гражданину РФ или российскому юридическому лицу. |
|
(21), (22) Заявка: 2006111621/15, 11.04.2006
(24) Дата начала отсчета срока действия патента:
11.04.2006
(46) Опубликовано: 10.01.2008
(56) Список документов, цитированных в отчете о поиске:
SU 997751 А, 28.02.1983. SU 25703 А, 31.03.1932. SU 1699533 А1, 23.12.1991. SU 1834687 A3, 15.08.1993. GB 1384449 А, 19.02.1975. GB 282849 А, 28.12.1927.
Адрес для переписки:
123458, Москва, ул. Твардовского, 11, кв.92, О.С. Кочетову
|
(72) Автор(ы):
Кочетов Олег Савельевич (RU), Кочетова Мария Олеговна (RU)
(73) Патентообладатель(и):
Кочетов Олег Савельевич (RU)
|
(54) СПОСОБ РЕГЕНЕРАЦИИ КОЧЕТОВА ФИЛЬТРУЮЩИХ ЭЛЕМЕНТОВ РУКАВНОГО ТИПА
(57) Реферат:
Изобретение относится к технике пылеулавливания. Способ регенерации заключается в том, что рукава при очистке встряхивают посредством последовательного перемещения вверх и вниз их верхней части. Перемещение верхней части рукавов осуществляют перемещением вилок, охватывающих стальные патрубки, прикрепленные к верхним концам рукавов, а вилки перемещают путем освобождения тросика с крючка, при этом вилки соединены посредством стержней с втулкой, которая соединена с пружиной и тросиком. Стальные патрубки под тяжестью собственной массы опускаются, манжеты, установленные между стальными патрубками и пробками, закрывающими рукава, натягиваются, а натяжение рукавов ослабевает, затем под действием пружины стальные патрубки вместе с втулкой и вилками совершают колебательное движение, в результате чего пыль стряхивается с внутренней поверхности рукавов. Технический результат: повышение эффективности очистки, снижение гидравлического сопротивления и сохранение требуемой производительности. 3 ил.
Изобретение относится к технике пылеулавливания и может применяться в машиностроительной, деревообрабатывающей, легкой, пищевой и других отраслях промышленности для аспирации технологического оборудования.
Наиболее близким техническим решением к заявляемому объекту является способ регенерации фильтрующих элементов рукавного типа, заключающийся в том, что рукава при очистке встряхивают посредством последовательного перемещения вверх и вниз их верхней части по а.с. СССР № 997751 (прототип).
Недостатком прототипа является низкая эффективность пылеулавливания, высокое гидравлическое сопротивление и быстрое падение производительности вследствие малой площади фильтрующего элемента.
Технический результат – повышение эффективности очистки, снижение гидравлического сопротивления и сохранение во времени требуемой производительности.
Это достигается тем, что в способе регенерации фильтрующих элементов рукавного типа, заключающемся в том, что рукава при очистке встряхивают посредством последовательного перемещения вверх и вниз их верхней части, перемещение рукавных фильтров осуществляют перемещением вилок, охватывающих стальные патрубки, прикрепленные к верхним концам рукавов, а вилки перемещают путем освобождения тросика с крючка, причем стальные патрубки под тяжестью собственной массы опускают, а манжеты натягивают, а натяжение рукавов ослабляют, затем под действием пружины стальные патрубки 2 вместе со втулкой и вилками заставляют совершать колебательное движение в резонансном режиме, в результате чего пыль стряхивают с их внутренней поверхности.
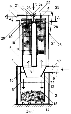
На фиг.1 представлен общий вид устройства для реализации предложенного способа, на фиг.2 – разрез А-А фиг.1, на фиг.3 – вид сверху фиг.1.
Способ регенерации фильтрующих элементов рукавного типа осуществляют следующим образом.
Пылеулавливающий агрегат входным патрубком 17 подключают к системе аспирации оборудования и подают в фильтрующий элемент, выполненный в виде рукавных фильтров 5, в котором происходит окончательная очистка воздуха.
Регенерацию рукавных фильтров 5 осуществляют перемещением вилок 19, охватывающих стальные патрубки 28, прикрепленные к верхним концам рукавов 5. Вилки 19 перемещают путем освобождения тросика 22 с крючка 27; при этом стальные патрубки 28 под тяжестью собственной массы опускают, а манжеты 29 натягивают, при этом натяжение рукавов 5 ослабляют. Под действием пружины 21 стальные патрубки 28 вместе со втулкой 18 и вилками 19 заставляют совершать колебательное движение в резонансном режиме, натягивая и опуская рукава 5, в результате чего пыль стряхивают с их внутренней поверхности.
Устройство для реализации предложенного способа содержит выходной патрубок 1 для выхода очищенного воздуха, образованный корпусом фильтровальной секции 2 и установленной на нем крышкой 3, к которой присоединены посредством крепежных элементов 4, по крайней мере, два фильтрующих рукавных элемента 5 диаметром D. Один из концов каждого рукавного элемента 5 наглухо закрыт пробкой 6, жестко связанной через крепежный элемент 4 с крышкой 3, а другой конец выполнен открытым и соединен с перфорированной перегородкой 7, в которой выполнены отверстия 8 диаметром, равным диаметру рукавного элемента 5. Перфорированная перегородка 7 одновременно является верхней частью корпуса циклонного элемента 9 с завихрителем 10 улиточного типа и патрубком 11, внутри которого размещена коническая гильза 12, обращенная своим меньшим диаметром в сторону основания.
Циклонный элемент 9 установлен на, по крайней мере, одной опоре 13, соединенной с основанием 14, на котором расположен контейнер 15 для сбора и транспортирования пыли, соединенный с патрубком 11 посредством герметичного замка 16.
Пылеулавливающий агрегат снабжен устройством регенерации и очистки рукавов в виде механизма встряхивания, который состоит из втулки 18, соединенной с, по крайней мере, двумя вилками 19 посредством стержней 20. Втулка 18 соединена с пружиной 21 и тросиком 22, проходящим внутри пружины, через отверстие 23 в крышке 3, и перекинутым через блоки 24 и 25, закрепленные на крышке, и оканчивающимся жестко связанным с ним шариком 26, входящим в режиме фильтрации в прорезь крючка 27. Вилки 19 охватывают стальные патрубки 28, прикрепленные к верхним концам рукавов 5. Между стальными патрубками 28 и пробками 6 установлены манжеты 29, выполненные из той же ткани, что и рукава 5. Жесткость пружины 21 подбирается таким образом, чтобы частота затухающих колебаний движущихся масс стальных патрубков 28 вместе со втулкой 18 и вилками 19 обеспечивала наименьший декремент затухания колебаний движущихся масс.
Пылеулавливающий агрегат выходит на оптимальный режим работы, когда отношение диаметра D рукавов 5 к диаметру d входного патрубка 17 циклонного элемента 9 находится в оптимальном интервале величин: D/d=0,1…0,9.
Пылеулавливающий агрегат работает следующим образом.
Пылеулавливающий агрегат входным патрубком 17 подключается к системе аспирации оборудования. Запыленный воздух, отсасываемый из зоны пылевыделения вентилятором (на чертеже не показан), поступает в циклонный элемент 9 с завихрителем 10 улиточного типа, где приобретает вращательное движение, что приводит к центробежной сепарации улавливаемой пыли, которая нисходящим винтовым пристенным потоком и под действием силы тяжести выводится из циклонного элемента в контейнер для сбора пыли 15. Затем циклонный вихрь меняет свое осевое направление движения на противоположное и проходит через коническую гильзу 12 и перегородку 7 в фильтрующий элемент, выполненный в виде рукавных фильтров 5, в котором происходит окончательная очистка воздуха.
Устройство регенерации работает за счет перемещения вилок 19, охватывающих стальные патрубки 28, прикрепленные к верхним концам рукавов 5. Вилки 24 перемещаются при освобождении тросика 22 с крючка 27. В рабочем состоянии стальные патрубки 28 подняты втулкой 18 посредством тросика 22, зацепленного за крючок 27; при этом рукава 5 натянуты, а манжеты 29 сжаты. При встряхивании пыли с рукавов тросик 22 снимают с крючка 27; при этом стальные патрубки 28, прикрепленные к верхним концам рукавов 5, вместе с вилками 19 под тяжестью собственной массы опускаются, причем манжеты 29 натягиваются, а натяжение рукавов 5 ослабевает. Под действием пружины 21 стальные патрубки 28 вместе со втулкой 18 и вилками 19 совершают колебательное движение в резонансном режиме, натягивая и опуская рукава 5, в результате чего пыль стряхивается с их внутренней поверхности, падает вниз и собирается в контейнере 15, откуда удаляется пневмотранспортом или вручную.
Пылеулавливающие агрегаты предназначены для отсоса и очистки воздуха от мелкодисперсной пыли и стружки.
Формула изобретения
Способ регенерации фильтрующих элементов рукавного типа, заключающийся в том, что рукава при очистке встряхивают посредством последовательного перемещения вверх и вниз их верхней части, отличающийся тем, что перемещение верхней части рукавов осуществляют перемещением вилок, охватывающих стальные патрубки, прикрепленные к верхним концам рукавов, а вилки перемещают путем освобождения тросика с крючка, при этом вилки соединены посредством стержней с втулкой, которая соединена с пружиной и тросиком, причем стальные патрубки под тяжестью собственной массы опускаются, манжеты, установленные между стальными патрубками и пробками, закрывающими рукава, натягиваются, а натяжение рукавов ослабевает, затем под действием пружины стальные патрубки вместе с втулкой и вилками совершают колебательное движение, в результате чего пыль стряхивается с внутренней поверхности рукавов.
РИСУНКИ
|
|