|
|
(21), (22) Заявка: 2006125271/15, 13.07.2006
(24) Дата начала отсчета срока действия патента:
13.07.2006
(46) Опубликовано: 10.01.2008
(56) Список документов, цитированных в отчете о поиске:
RU 2266772 C1, 27.12.2005. SU 1650206 A1, 23.05.1991. GB 725346 A, 02.03.1955. DE 3345069 А, 12.07.1984.
Адрес для переписки:
660025, г.Красноярск, пр.им.газ. Красноярский рабочий , 95, ГОУ ВПО “ГУЦМиС”, отдел интеллектуальной собственности
|
(72) Автор(ы):
Федотов Владимир Петрович (RU)
(73) Патентообладатель(и):
Федотов Владимир Петрович (RU)
|
(54) ЦЕНТРОБЕЖНЫЙ СЕПАРАТОР
(57) Реферат:
Изобретение предназначено для очистки газов от пыли и капелек жидкости с помощью центробежной силы. Центробежный сепаратор содержит корпус с размещенными в нем основными вентиляторами, расположенными один над другим, имеющими торцевые стенки, с жестко прикрепленными к ним дополнительными вентиляторами, имеющими с основными вентиляторами одну ось вращения. Внутри корпуса установлена диафрагма, делящая последний на верхнюю и нижнюю секции, установленная выше патрубка ввода запыленного газа и ниже патрубка для отвода очищенного газа. К торцу нижнего основного вентилятора прикреплена юбка, а по периметру снизу корпуса прикреплены карманы для сбора пыли, соединенные с бункером. Основные вентиляторы установлены на отдельных валах с возможностью вращения независимо друг от друга. В нижней торцевой стенке верхнего основного вентилятора и в верхней торцевой стенке нижнего основного вентилятора имеются отверстия, через которые основные вентиляторы сообщены между собой внутренним пространством при помощи неподвижной трубы. Технический результат: повышение качества очистки газа от механических примесей, возможность регулирования качества очистки газа за счет возможности регулирования частоты вращения каждого вентилятора в отдельности. 5 ил.
Изобретение относится к устройствам для очистки газов от пыли с помощью центробежной силы. Данное изобретение может применяться везде, где идет выделение пыли. В металлургической промышленности имеется множество переделов, где имеется пылевынос и на этих переделах данное устройство может с успехом использоваться.
Известен центробежный сепаратор, содержащий корпус, размещенный в нем на приводном валу вентилятор и два концентрично установленных усеченных конуса с размещенными между ними радиальными лопатками (Патент США № 2104683, кл. 55-43, 04.01.38).
Недостатком конструкции является недостаточно полная очистка воздуха от пыли.
Также известно устройство центробежного действия для очистки газа от пыли [Авторское свидетельство СССР № 703123, кл. В01D 45/14, 1979], оно представляет собой корпус, верхняя часть которого образует спиральный кожух центробежного вентилятора и нижняя – кожух сепаратора. Внутри корпуса, в нижней его части, на валу концентрично установлены два усеченных конуса с размещенными между ними радиальными лопатками, снизу у большего основания внутреннего конуса имеется диск. Стенки меньшего конуса выполнены с продольными гофрами и зубчатой кромкой, выступающей за наружный край диска. В верхней части корпуса – кожухе центробежного вентилятора, на одном валу с усеченными конусами установлено колесо центробежного вентилятора, которое соединено с большим конусом, и пространство внутри колеса центробежного вентилятора соединяется с внутренним пространством большего конуса.
Устройство имеет следующие недостатки:
1. Так как устройством аппарата предусмотрено перемещение пыли к основанию конусов по внутренней поверхности стенок усеченных конусов, то в зависимости от свойств пыли требуется определенный угол наклона боковой поверхности усеченных конусов. При очистке газа от пыли, обладающей свойством слипаться, применение данного устройства может стать неэффективным, так как внутренние поверхности стенок конусов окажутся залепленными пылью.
2. Возможно неполное отделение пыли от газа, так как при сочетании движения газового потока вблизи внешней поверхности внутреннего цилиндра в камере тонкой очистки и размера пылинок величина центробежной силы может оказаться недостаточной для притягивания пыли к внутренней поверхности большего конуса. Увеличение частоты вращения конусов может не дать эффекта улучшения очистки газа, так как с увеличением частоты вращения конусов возрастает и скорость движения газового потока вследствие увеличения частоты вращения центробежного вентилятора.
Наиболее близким по совокупности существенных признаков к заявляемому является центробежный сепаратор, содержащий корпус с размещенными в нем на приводном валу двумя центробежными вентиляторами, соединяющимися внутреннем пространством между собой, с жестко прикрепленными к ним дополнительными вентиляторами. Внутри корпуса установлена диафрагма, делящая последний на две секции, с тангенциально установленными патрубками для отвода очищенного газа и для ввода запыленного газа. К корпусу снизу, по периметру, прикреплены карманы для сбора пыли (Патент RU 2266772, 30.09.2004, опубл. 27.12.05, бюл. № 36).
Недостатком конструкции является отсутствие возможности регулирования степени очистки газа, так как вентиляторы жестко соединены и их частота вращения одинакова.
Задачей изобретения является повышение качества очистки газа путем регулирования процесса очистки.
Поставленная задача решается следующим образом. Центробежный сепаратор, содержащий корпус с размещенными в нем основными вентиляторами, расположенными один над другим, имеющими торцевые стенки, с жестко прикрепленными к ним дополнительными вентиляторами, имеющими с основными вентиляторами одну ось вращения, при этом внутри корпуса установлена диафрагма, делящая последний на верхнюю и нижнюю секции, установленная выше патрубка ввода запыленного газа и ниже патрубка для отвода очищенного газа, причем к торцу нижнего основного вентилятора прикреплена юбка, а по периметру, снизу корпуса прикреплены карманы для сбора пыли, соединенные с бункером, согласно изобретению основные вентиляторы установлены на отдельных валах с возможностью вращения независимо друг от друга, при этом в нижней торцевой стенке верхнего основного вентилятора и в верхней торцевой стенке нижнего основного вентилятора имеются отверстия, через которые основные вентиляторы сообщены между собой внутренним пространством при помощи неподвижной трубы.
По отношению к прототипу у предлагаемого устройства имеются следующие отличительные признаки.
Основные вентиляторы установлены на отдельных валах с возможностью вращения независимо друг от друга, при этом в нижней торцевой стенке верхнего основного вентилятора и в верхней торцевой стенке нижнего основного вентилятора имеются отверстия, через которые основные вентиляторы сообщены между собой внутренним пространством при помощи неподвижной трубы.
Между отличительными признаками и решаемой задачей существуют следующие причинно-следственные связи.
Возможность вращения основных вентиляторов независимо друг от друга дает возможность регулировать частоту вращения вентиляторов, при этом частоту вращения верхнего вентилятора нужно устанавливать так, чтобы между вентиляторами была тяга, тогда газ из внутреннего пространства нижнего вентилятора попадал во внутреннее пространство верхнего вентилятора и выбрасывался из него в верхнюю секцию сепаратора. Наличие отверстий на торцевых стенках основных вентиляторов обеспечивает сообщение внутренних пространств основных вентиляторов.
Изобретение поясняется чертежами.
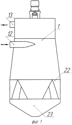
На фиг.1 изображен общий вид газоочистительного сепаратора; на фиг.2 – общий вид газоочистительного сепаратора, в разрезе; на фиг.3 – разрез А-А фиг.2; на фиг.4 – разрез Б-Б фиг.2; на фиг.5 – разрез В-В фиг.2.
Центробежный сепаратор состоит из неподвижного корпуса 1, верхняя часть которого представляет собой кожух центробежного вентилятора, а нижняя – кожух сепаратора, в корпусе на приводных валах 2 и 3 установлены центробежные вентиляторы 4 и 5. Центробежные вентиляторы 4 и 5 в торцевых стенках 6, 7 имеют отверстия 8, 9, через которые вентиляторы 4 и 5 соединены между собой внутреннем пространством с помощью неподвижной трубы 10. Внутренний диаметр трубы 10 немного больше диаметров вентиляторов 4 и 5, и эти вентиляторы частично входят в трубу 10: вентилятор 4 нижней частью, вентилятор 5 верхней. Корпус газоочистительного сепаратора разделен на две секции с помощью диафрагмы 11, которая устанавливается выше тангенциально установленного патрубка ввода запыленного газа 12 и ниже тангенциально установленного патрубка для отвода очищенного газа 13. Диафрагма 11 выполнена в форме воронки, которая сверху вниз сужается, немного не доходя боковой поверхности центробежного вентилятора 5, затем к низу расширяется, внутри патрубка 13 установлена дроссельная заслонка 14. На внешней стороне торцевых стенок 15 и 16, на оси вращения вентиляторов 4 и 5, жестко установлены дополнительные вентиляторы 17 и 18. Снизу к торцевой стенке 16 прикреплена юбка 19. В корпусе 1, в отверстиях для приводных валов, установлены патрубки 20 и 21, диаметр которых меньше внутреннего диаметра вентиляторов 17 и 18 и которые входят внутрь вентиляторов 17 и 18. К корпусу снизу, по периметру, прикреплены карманы 22 для сбора пыли, соединенные с бункером 23, служащим для накопления пыли.
Работает газоочистительный сепаратор следующим образом. При включении приводов начинают вращаться валы 2 и 3 с центробежными вентиляторами 4 и 5, закрепленными на них. Внутри вентиляторов 4 и 5 и трубы 10 возникает разрежение. Регулируя частоту вращения вентиляторов 4, 5 и устанавливая скорость вращения вентилятора 4 больше скорости вращения вентилятора 5, запыленный газ через патрубок 12 попадает в нижнюю секцию газоочистительного сепаратора, ниже уровня диафрагмы 11, после чего протягивается между лопастями внутрь центробежного вентилятора 5, при этом пылинки, находящиеся в очищаемом газе, испытывают действие центробежной силы и выбрасываются из вентилятора 5, пыль затем оседает и через карманы 22 попадает в бункер 23. Очищенный газ из внутреннего пространства вентилятора 5 через трубу 10 попадает внутрь вентилятора 4, из которого, пройдя между лопастями, выбрасывается в верхнюю секцию газоочистительного сепаратора, выше диафрагмы 11, откуда через патрубок 13 покидает аппарат. Дроссельная заслонка 14, установленная в патрубке 13, дает дополнительную возможность регулировки качества очистки газа. Вентиляторы 17, 18 и патрубки 20, 21 предотвращают выход газа из аппарата наружу. При работе газоочистительного сепаратора дополнительные вентиляторы 17 и 18, вращаясь, создают внутри себя разрежение, благодаря чему происходит подсос воздуха через патрубки 20 и 21 снаружи внутрь аппарата, а не наоборот. Юбка 19 препятствует попаданию пыли под вентилятор 5.
Технический результат заявляемого изобретения заключается в следующем:
1. Повышается эффективность отделения очищаемого газа от пыли.
2. Устройство позволяет регулировать качество очистки газа.
3. В устройстве предусмотрено более простое удаление отделенной пыли из рабочего пространства аппарата.
Формула изобретения
Центробежный сепаратор, содержащий корпус с размещенными в нем основными вентиляторами, расположенными один над другим, имеющими торцевые стенки, с жестко прикрепленными к ним дополнительными вентиляторами, имеющими с основными вентиляторами одну ось вращения, при этом внутри корпуса установлена диафрагма, делящая последний на верхнюю и нижнюю секции, установленная выше патрубка ввода запыленного газа и ниже патрубка для отвода очищенного газа, причем к торцу нижнего основного вентилятора прикреплена юбка, а по периметру снизу корпуса прикреплены карманы для сбора пыли, соединенные с бункером, отличающийся тем, что основные вентиляторы установлены на отдельных валах с возможностью вращения независимо друг от друга, при этом в нижней торцевой стенке верхнего основного вентилятора и в верхней торцевой стенке нижнего основного вентилятора имеются отверстия, через которые основные вентиляторы сообщены между собой внутренним пространством при помощи неподвижной трубы.
РИСУНКИ
|
|