|
|
(21), (22) Заявка: 2003106177/12, 04.03.2003
(24) Дата начала отсчета срока действия патента:
04.03.2003
(43) Дата публикации заявки: 10.09.2004
(46) Опубликовано: 10.01.2008
(56) Список документов, цитированных в отчете о поиске:
RU 2088302 C1, 27.08.1997. SU 1556713 A1, 15.04.1990. RU 26964 U1, 10.01.2003. JP 10057718 A, 03.03.1998. JP 2000279717 A, 10.10.2000. US 1579205 A, 06.04.1926.
Адрес для переписки:
40004, г. Сумы, ул. Горького, 58, СКБ ХО
|
(72) Автор(ы):
Гайковой Вячеслав Павлович (UA), Лущик Валерий Александрович (UA), Галенко Василий Петрович (UA)
(73) Патентообладатель(и):
Открытое акционерное общество “Сумское машиностроительное научно-производственное объединение им. М.В. ФРУНЗЕ ” (UA)
|
(54) ФИЛЬТР-ГРЯЗЕУЛОВИТЕЛЬ
(57) Реферат:
Изобретение относится к машиностроению и может быть использовано для улавливания механических примесей при транспортировке по трубопроводам жидкостей, например нефти. Фильтр-грязеуловитель содержит камеру с входным и выходным патрубками, внутри которой расположено фильтрующее устройство в виде перфорированной трубы с днищем и отсоединяющимся фильтрующим элементом в виде сетки. Фильтрующее устройство соединено с камерой посредством кронштейнов с болтами, установленными по периметру внутренней полости камеры и роликовых опор с направляющими для его выдвижения, закрепленных в нижней части полости камеры, а также концевой затвор. Концевой затвор снабжен стягивающим и поворотным устройствами, а днище фильтрующего устройства выполнено сплошным с углублениями. Противоположный днищу конец изготовлен в виде срезанного конуса и размещен во входном патрубке. Фильтрующий элемент расположен внутри перфорированной трубы. Площадь проходной ячейки сетки меньше площади проходного отверстия перфорации трубы, кроме того, в торцах направляющих выполнены углубления. Изобретение позволяет значительно снизить металлоемкость изделия и улучшить качество фильтрации. 8 з.п. ф-лы, 4 ил.
Предлагаемое изобретение фильтр-грязеуловитель относится к машиностроению и может быть использовано для улавливания механических примесей при транспортировке по трубопроводам жидкостей, например нефти.
Известен фильтр, применяемый в автомобилях, тракторах, тепловозах и т.д., то есть в двигателях внутреннего сгорания для очистки топлива и масла. По величине фильтр малогабаритный. Состоит из корпуса с входным и выходным патрубками и фильтрующего элемента, расположенного внутри корпуса. Недостатком такого фильтра является одноразовое использование фильтрующего элемента.
Также известен фильтр-грязеуловитель, содержащий камеру с входным и выходным патрубками, расположенный в ней фильтрующий элемент, выполненный в виде перфорированной трубы со съемной фильтрующей сеткой на ее поверхности. Камера снабжена концевым затвором с диаметром прохода, равным диаметру камеры. Фильтрующая сетка выполнена металлической, причем диаметр перфораций трубы меньше диаметра ячеек сетки. Один конец фильтрующего элемента размещен в выходном патрубке, а другой снабжен торцевой перфорированной пластиной и соединен с камерой посредством кронштейнов и упорных болтов. Фильтр снабжен размещенным в нижней части камеры и жестко соединенным с фильтрующим элементом лотком-грязеудовителем, установленным на роликовых опорах с возможностью выдвижения фильтрующего элемента по направляющим через концевой затвор.
Указанное устройство имеет несколько отрицательных решений, так диаметр перфораций трубы меньше диаметра ячейки сетки. Это означает, что при эксплуатации фильтра-грязеуловителя фильтрующим элементом является стационарная его часть, а не съемная, которая при промывке или повреждении может заменяться. В известном устройстве фильтрующий элемент выполняет второстепенную роль. Так как нефть, поступившая через входной патрубок, проходит через ячейки сетки и механические примеси меньшей фракции, чем размер ячеек сетки, но больше диаметра отверстий перфорации трубы, наслаиваются на трубе. А фильтрующая сетка улавливает механические примеси более крупной фракции. Известный фильтр-грязеуловитель конструктивно громоздкий. Так, наличие лотка-грязеуловителя под фильтрующим элементом не обеспечивает чистоту рабочего места. А именно: фильтр-грязеуловитель работает под избыточным давлением. Вся его внутренняя часть находится в нефти, включая все стороны лотка-грязеуловителя. При открывании концевого затвора и извлечении из фильтра грязеуловителя фильтрующего элемента с лотком-грязеуловителем много нефти с грязью стекает на обслуживающую площадку. Также в известном фильтре-грязеуловителе один конец фильтрующего элемента снабжен торцевой перфорированной пластиной (днищем). Это означает, что перфорированная пластина имеет внушительную площадь прохождения нефти и в процессе работы перфорация быстро засоряется. Перфорированная пластина становится нерабочей, следовательно, нет необходимости в пластине выполнять перфорацию.
Для устранения указанных недостатков, в основу изобретения фильтр-грязеуловитель поставлена задача улучшения конструкции путем усовершенствования внутренней части фильтра-грязеуловителя, что позволяет снизить металлоемкость.
Поставленная задача достигается тем, что так же, как и известный, заявляемый фильтр-грязеуловитель содержит камеру с входным и выходным патрубками, внутри которой расположено фильтрующее устройство в виде перфорированной трубы с днищем и отсоединяющимся фильтрующим элементом в виде сетки, соединенное с камерой посредством кронштейнов с болтами, установленными по периметру внутренней полости камеры и роликовых опор с направляющими для его выдвижения, закрепленных в нижней части полости камеры, а также концевой затвор. Но согласно изобретению, концевой затвор снабжен стягивающим и поворотным устройствами, а днище фильтрующего устройства выполнено сплошным с углублениями, к тому же противоположный днищу конец изготовлен в виде срезанного конуса и размещен во входном патрубке, при этом фильтрующий элемент расположен внутри перфорированной трубы и площадь проходной ячейки сетки меньше площади проходного отверстия перфорации трубы. При том в торцах направляющих выполнены углубления, а также согласно изобретению днище может жестко соединяться с перфорированной трубой или иметь разъем с цилиндром. Кронштейны с болтами закреплены с противоположной стороны входного патрубка. Стягивающее устройство изготовлено в виде двух скоб, внутри которых выполнена канавка, стороны которой расположены одна к одной под углом. Кроме того, углубления могут быть выполнены в пластинах, закрепленных на днище, а болты изготовлены с утонченным концом. Днище снабжено поворотным устройством, а на днище закреплено ухо.
Указанные отличительные признаки влияют на технический результат изобретения и находятся с ними в тесной связи. А именно:
– концевой затвор снабжен стягивающим устройством, которое позволяет ликвидировать зазор между фланцем концевого затвора и фланцем камеры;
– концевой затвор снабжен поворотным устройством, что повышает удобство в сборке и разборке фильтра-грязеуловителя;
– днище фильтрующего устройства выполнено сплошным. Такое техническое решение позволяет повысить жесткость изделия, а также снизить трудозатраты при изготовлении;
– на днище есть углубления, что позволяет с противоположной стороны входного отверстия удерживать и центрировать фильтрующее устройство;
– противоположный днищу конец изготовлен в виде срезанного конуса, что обеспечивает центровку фильтрующего устройства во входном патрубке;
– противоположный днищу конец расположен во входном патрубке, такое расположение обеспечивает более равномерное распределение потока нефти в полости фильтрующего устройства;
– фильтрующий элемент расположен внутри перфорированной трубы. При таком расположении фильтрующего элемента гарантируется его целостность при работе, т.к. он не несет нагрузки. Нагрузку несет перфорированная труба;
– площадь проходной ячейки сетки меньше площади проходного отверстия перфорации трубы. Такой подбор площадей обеспечивает оптимальную работу фильтрующего элемента. Он удерживает основную массу грязи и мезонических примесей;
– в торцах направляющих выполнены углубления, которые способствуют центровке при подсоединении специального устройства для очистки от механических примесей фильтра-грязеуловителя. Указанное выше устройство имеет направляющие, которые необходимо стыковать с направляющими заявляемого грязеуловителя;
– днище жестко скреплено с перфорированной трубой, что способствует устойчивости и повышению жесткости конструкции;
– днище имеет разъем с перфорированной трубой, что облегчает и улучшает обслуживание;
– кронштейны с болтами закреплены с противоположной стороны входного патрубка, что позволяет равно-отдаленно от стенки камеры удерживать фильтрующее устройство;
– стягивающее устройство изготовлено в виде 2-х скоб, внутри которых выполнена канавка, стороны которой расположены под углом одна к одной. Конструкция стягивающего устройства позволяет быстро и качественно собрать устройство, а также уплотнить его;
– углубления выполнены в пластинах, закрепленных на днище, что способствует улучшению центровки и увеличения жесткости днища;
– болты выполнены с утонченным концом, что обеспечивает центровку;
– разъемное днище снабжено поворотным устройством, что облегчает обслуживание при разборке и сборке фильтра грязеуловителя;
– днище снабжено ухом, это способствует улучшению условий обслуживания при промывке фильтра;
– в торце направляющих выполнены углубления. При выемке фильтрующего элемента из корпуса для промывки, а также при сборке применяется специальное устройство, которое своими направляющими с выступами стыкуется с направляющими заявляемого фильтра-грязеуловителя. Выступы специального устройства входят во впадины. Таким решением обеспечивается плавное перемещение фильтрующего элемента.
Указанные отличительные признаки как в отдельности, так и в совокупности, направлены на выполнение поставленной задачи.
Сущность изобретения поясняется чертежами.
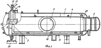
На фиг.1 показан фильтр-грязеуловитель.
На фиг.2 – кронштейн с болтом и стягивающим устройством.
На фиг.3 – центрирование фильтрующего элемента при помощи болта.
На фиг.4 – днище с поворотным устройством.
Фильтр-грязеуловитель содержит камеру 1 с входным 2 и выходным 3 патрубками. Внутри камеры 1 расположено фильтрующее устройство в виде перфорированной трубы 4 с днищем 5 и отсоединяющимся фильтрующим элементом 6 в виде сетки. Перфорированная труба 4 и днище 5 соединены с камерой 1 посредством кронштейнов 7 и болтов 8 с утонченным концом 9, установленных по периметру внутренней полости камеры 1. Также перфорированная труба 4 удерживается роликовыми опорами 10, движущимися по направляющим 11, расположенными в нижней части. Фильтр-грязеуловитель снабжен концевым затвором 12, который имеет поворотное 13 и стягивающее устройство 14. Последнее изготовлено в виде 2-х скоб 15, внутри которых выполнена канавка, стороны 16, 17 которой расположены одна к одной под углом. Днище 5 фильтрующего устройства выполнено сплошным с углублениями 18 в закрепленных в днище 5 пластинах 19. Также на днище 5 крепится ухо 20. Днище 5, как вариант, может жестко крепиться к перфорированной трубе 4, а может иметь разъем и поворотное устройство 21. Противоположный днищу 5 конец изготовлен в виде срезанного конуса 22. и размещен во входном патрубке 2. Фильтрующий элемент 6 расположен внутри перфорированной трубы 4 и площадь проходной ячейки сетки меньше площади проходного отверстия перфорации трубы 4. Концевой затвор 12 сопрягается с фланцем 23 камеры 1. Торец направляющих 11 выполнен с углублением 24.
Сборку фильтра-грязеуловители выполняют в такой последовательности. Фильтрующий элемент 6 помещают в перфорированную трубу 4 и закрывают ее днищем 5. Специальным устройством (на фиг. не показано) собранный фильтрующий элемент помещают в камеру 1, перемещая его роликовыми опорами 10 по направляющим 11. Для этого стыкуют направляющие специального устройства, которое имеет выступы, с направляющими 11 фильтра-грязеуловителя. Выступ входит в углубление 24. Таким образом, собранное фильтрующее устройство плавно вводят в камеру, размещая его конический конец во входном патрубке 2. Другой конец фильтрующего устройства при помощи болтов 8 с утонченным концом 9, расположенных на кронштейнах 7, и углублений 18 на днище 5 центрируют, с окончательной его установкой. Далее концевым затвором 12 при помощи поворотного устройства 13 закрывают камеру 1. Для обеспечения герметичности камеры стягивающим устройством 14, в виде двух скоб 15, охватывают фланцы концевого затвора 12 и камеры 1. Наличие канавки в скобах и во фланцах выступов, соприкасаемые стороны которых выполнены под углом, позволяют уплотнить рабочие поверхности фланцев. После чего фильтр готов к работе.
Фильтр-грязеуловитель работает следующим образом.
Во входной 2 патрубок под давлением подают нефть с примесями механических включений. Проходя через ячейки фильтрующего устройства, примеси задерживаются, и, по мере работы фильтра-грязеуловителя, они накапливаются. Чистая нефть далее проходит через отверстия перфорированного цилиндра и поступает во входной патрубок 3. В случае, когда при работе в фильтре-грязеуловителе перепад давления на входе на 0,01 МПа – 0,04 МПа превысит давление на выходе – его отключают и очищают от механических примесей. Последовательность разборки фильтра обратная сборке. Разблокируется стяжное устройство 14, открывается кольцевой затвор 12 и отпускаются болты 8 с утонченными концами 9. Далее, за ухо 20 вытягивают фильтрующее устройство и промывают. Вынимание фильтрующего устройства проводится при помощи ранее упомянутого специального устройства
Заявляемый фильтр-грязеуловитель – новое техническое решение с существенными признаками, которые дают конкретный положительный эффект. Изобретение направлено на улучшение конструкции, снижение металлоемкости. Фильтры-грязеуловители разработаны разных типоразмеров Сумским НПО им. M.B.Фрунзе для поставки в страны СНГ и Украину для очистки нефти.
Формула изобретения
1. Фильтр-грязеуловитель, содержащий камеру с входным и выходным патрубками, внутри которой расположено фильтрующее устройство в виде перфорированной трубы с днищем и отсоединяющимся фильтрующим элементом в виде сетки, соединенное с камерой посредством кронштейнов с болтами, установленными по периметру внутренней полости камеры и роликовых опор с направляющими для его выдвижения, закрепленных в нижней части полости камеры, а также концевой затвор, отличающийся тем, что концевой затвор снабжен стягивающим и поворотным устройствами, а днище фильтрующего устройства выполнено сплошным с углублениями, к тому же, противоположный днищу конец изготовлен в виде срезанного конуса и размещен во входном патрубке, при этом фильтрующий элемент расположен внутри перфорированной трубы и площадь проходной ячейки сетки меньше площади проходного отверстия перфорации трубы, кроме того, в торцах направляющих выполнены углубления.
2. Фильтр-грязеуловитель по п.1, отличающийся тем, что днище жестко соединено с перфорированной трубой.
3. Фильтр-грязеуловитель по п.1, отличающийся тем, что днище имеет разъем с перфорированной трубой.
4. Фильтр-грязеуловитель по пп.1-3, отличающийся тем, что кронштейны с болтами закреплены с противоположной стороны входного патрубка.
5. Фильтр-грязеуловитель по п.1, отличающийся тем, что стягивающее устройство изготовлено в виде двух скоб, внутри которых выполнена канавка, стороны которой расположены одна к одной под углом.
6. Фильтр-грязеуловитель по п.1, отличающийся тем, что углубления выполнены в пластинах, закрепленных на днище.
7. Фильтр-грязеуловитель по п.1, отличающийся тем, что болты изготовлены с утонченным концом.
8. Фильтр-грязеуловитель по п.1, отличающийся тем, что днище снабжено поворотным устройством.
9. Фильтр-грязеуловитель по п.1, отличающийся тем, что на днище закреплено ухо.
РИСУНКИ
|
|