|
|
(21), (22) Заявка: 2005139749/15, 19.12.2005
(24) Дата начала отсчета срока действия патента:
19.12.2005
(46) Опубликовано: 10.01.2008
(56) Список документов, цитированных в отчете о поиске:
RU 2238781 C1, 27.10.2004. RU 2077364 C1, 20.04.1997. RU 93027488 A, 10.03.1996. SU 982714 A, 23.12.1982. SU 1725955 A, 15.04.1992. CA 2193771 A, 23.06.1998. CA 2202210 A, 09.10.1998.
Адрес для переписки:
452323, Республика Башкортостан, г. Дюртюли, ул. Зайлалова, 16, кв.82, И.З. Денисламову
|
(72) Автор(ы):
Денисламов Ильдар Зафирович (RU), Ситдиков Ирек Файрузович (RU), Фархетдинов Илдар Рашитович (RU)
(73) Патентообладатель(и):
Денисламов Ильдар Зафирович (RU), Ситдиков Ирек Файрузович (RU), Фархетдинов Илдар Рашитович (RU)
|
(54) УСТАНОВКА СБРОСА ПОПУТНОЙ ВОДЫ
(57) Реферат:
Установка сброса попутной воды представляет собой наклонный трубопровод большого диаметра со значительной длиной и служит для отделения воды от нефти и газа непосредственно в районе добычи многофазной продукции. Газожидкостной поток в установке разделяется на водную и нефтегазовую части благодаря силе гравитации и конструкции установки. Чтобы исключить попадание нефти в патрубок сброса воды при выходе установки из режимной работы в нижней части установки имеется водосборный патрубок с шаром и кольцевой седловиной. Шар имеет промежуточную плотность между попутной водой и водонефтяной эмульсией. При подходе водонефтяного раздела (ВНР) к патрубку сброса воды шар под действием появившегося перепада давления с опережением ВНР закрывает отверстие в седловине, идущее к патрубку сброса воды. Для пуска установки в режимную работу патрубок сброса воды снабжен задвижкой и линией с вентилем выравнивания давления выше и ниже шара при его нахождении на седловине. Технический результат состоит в отсутствии затрат на очистку от нефти водоводов, насосов и другого оборудования потребителей отделенной попутной воды. 1 ил.
Предлагаемое изобретение относится к нефтеперерабатывающей промышленности и может быть использовано в системах сбора нефти, газа и воды для предварительного отделения попутно добываемой воды.
Известна установка сброса воды (патент РФ № 2098166, кл. В01D 19/00, опубл. 10.12.97, бюл. № 34), содержащая две наклонные сепарационные трубы, соединенные перемычками, успокоитель для ввода газожидкостной смеси и патрубки для отвода нефти, газа и воды. Газожидкостная смесь (ГЖС) в установке разделяется на водную и нефтегазовую части благодаря силе гравитации и конструкции сепарационных труб – их значительной длине и определенному углу наклона этих труб к горизонту. Водонефтяной раздел (ВНР) в установке поддерживается в верхней части сепарационных труб регулировкой расходов жидкостей с помощью задвижек на входе и выходах из установки. Недостатком является то, что при повышении доли нефти в поступающей ГЖС ВНР снижается и проникает в патрубок для отвода воды. Это ведет к засорению нефтью водоводов, насосов и емкостей потребителя – кустовых насосных станций.
Известна установка по сбросу воды в виде трубного водоотделителя (ТВО), оборудованная регулятором уровня нефть-вода (статья “Совершенствование предварительного сброса воды на месторождениях ОАО “Юганскнефтегаз” в журнале “Нефтяное хозяйство”, 2003 г., № 4, с.114-116, рис.2).
Регулятор уровня устанавливается на линии (патрубке) отвода воды, представляет собой электрозадвижку, расход воды через которую регулирует датчик межфазного уровня, находящийся в верхней части ТВО. Такое высокотехнологичное оборудование требует наличия электрической энергии и значительных финансовых затрат на приобретение, монтаж и эксплуатацию устройства. При отключении электрической энергии, поломке датчика уровня или электрозадвижки не исключено попадание нефти в патрубок сброса воды при выходе установки из режимной работы.
Целью предлагаемого изобретения является исключение попадания нефти в патрубок отвода воды при приближении водонефтяного раздела к нижней части установки. Поставленная цель достигается тем, что установка сброса воды, содержащая патрубки для подвода газонефтяной смеси, отвода газа, нефти и воды, наклонный трубопровод с успокоителем потока для ввода водогазонефтяной смеси, газоотводящий трубопровод меньшего диаметра исполнена так, что патрубок для отвода воды дополнен задвижкой и соединен с наклонным трубопроводом в самой нижней его части и имеет свое продолжение внутри наклонного трубопровода в виде равномерно перфорированного водосборного патрубка с прикрытым верхом и шаром внутри с плотностью, меньшей, чем плотность сбрасываемой воды, но большей, чем плотность поступающей в установку водонефтяной эмульсии, переход водосборного патрубка в патрубок для отвода воды снабжен седловиной в форме кольца с проходным диаметром, меньшим, чем диаметр шара, а общая площадь отверстий водосборного патрубка значительно превышает площадь сливного отверстия седловины, а часть патрубка для отвода воды между седловиной и задвижкой соединена через вентиль трубкой с наклонным трубопроводом.
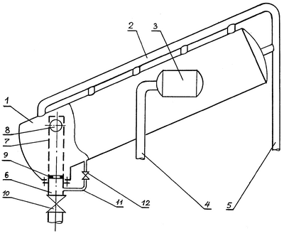
Схема установки сброса воды приведена на чертеже.
Установка включает наклонный трубопровод 1, газоотводящий трубопровод 2, успокоитель потока 3, патрубок 4 для подвода газоводонефтяной смеси в успокоитель, патрубок 6 для отвода отделенной воды, водосборный патрубок 7, шар 8, седловину 9, задвижку 10, трубку 11 и вентиль 12.
Установка сброса воды работает следующим образом.
Многофазовый состав из нефти, газа и воды поступает через успокоитель 3 в наклонный трубопровод 1 и под действием силы гравитации разделяется на водную и газонефтяные части. В режимной работе установки водонефтяной раздел находится в верхней части трубопроводов 1 и 2 вблизи успокоителя 3. В нижней части трубопровода 1 находится освобожденная от нефти сбрасываемая вода, поэтому шар 8 с меньшей плотностью под действием силы Архимеда всплывает в такой воде и находится в верхней части водосборного патрубка 7. Общая площадь отверстий в патрубке 7 намного превосходит площадь сливного отверстия седловины 9, поэтому скорость движения воды внутри патрубка 7 равна установившейся скорости движения воды в наклонном трубопроводе 1. Эта ситуация меняется при отсутствии отстоя воды из поступающей в установку многофазной смеси. Водонефтяной раздел будет снижаться и достигнет шара 8 через отверстия патрубка 7. В такой смеси шар будет тонуть из-за своей большей плотности и все время оставаться в зоне ВНР движущегося вниз потока. При движении ВНР вниз количество отверстий патрубка 7 под шаром 8 будет снижаться и наступит момент, когда площадь отверстий водосборного патрубка 7 будет сопоставима и даже меньше, чем площадь сливного отверстия седловины 9. Тогда скорость движения воды под шаром 8 будет превышать скорость движения водонефтяного раздела в трубопроводе 1. Исходя из законов гидравлики (уравнение Бернулли) давление под шаром 8 станет меньшим, чем над ним. Так как кольцевой зазор между шаром и патрубком 7 имеет малую площадь, шар 8 под действием образовавшегося перепада давления притянется к седловине 9 раньше, чем ВНР опустится до седловины. Таким образом, будет выполнена поставленная цель – в патрубок для отвода воды не попадет вода с нефтью.
После посадки шара 8 на седловину 9 установка сброса воды на время перестанет выполнять свое назначение. С появлением гравитационного разделения ГЖС на водную и нефтегазовые части ВНР будет подниматься вверх и достигнет своей оптимальной зоны возле успокоителя 3. Для пуска установки в режимную работу необходимо закрыть задвижку 10 и открыть вентиль 12. Благодаря трубке 11 давления выше и ниже шара 8 выравниваются, после чего шар 8 всплывет и займет свое верхнее положение в водосборном патрубке 7. В завершении работ по пуску установки вентиль 12 закрывается, а задвижка 10 открывается для сброса чистой воды потребителю.
Предложенное усовершенствование установки сброса попутной воды, заключающееся в регулировании положения шара с заданной плотностью в роли отсекающего клапана, придает установке новую функцию – без участия персонала и энергозависимых технических устройств линия сброса воды защищена от попадания водонефтяной эмульсии. Равномерность перфорации водосборного патрубка и задание зазора между шаром и водосборным патрубком с небольшой площадью определяют новый технический эффект – шар опускается на седловину до подхода ВНР к седловине.
Эффективность эксплуатации предложенной установки заключается в отсутствии затрат на очистку от нефти водоводов, насосов и другого оборудования потребителей отделенной попутной воды.
Формула изобретения
Установка сброса попутной воды, включающая патрубки для подвода газоводонефтяной смеси, отвода газа, нефти и воды, наклонный трубопровод, параллельно которому расположен газоотводящий трубопровод, успокоитель потока перед подачей газоводонефтяной смеси в наклонный трубопровод, отличающаяся тем, что патрубок для отвода воды дополнен задвижкой, соединен с наклонным трубопроводом в самой нижней его части и имеет свое продолжение внутри наклонного трубопровода в виде равномерно перфорированного водосборного патрубка с прикрытым верхом и шаром внутри с плотностью, меньшей чем плотность сбрасываемой воды, но большей чем плотность поступающей в установку водонефтяной эмульсии, переход водосборного патрубка в патрубок для отвода воды снабжен седловиной в форме кольца с проходным диаметром меньшим, чем диаметр шара, общая площадь перфорированных отверстий водосборного патрубка значительно превышает площадь сливного отверстия седловины, а часть патрубка для отвода воды между седловиной и задвижкой соединена через вентиль трубкой с наклонным трубопроводом.
РИСУНКИ
MM4A – Досрочное прекращение действия патента СССР или патента Российской Федерации на изобретение из-за неуплаты в установленный срок пошлины за поддержание патента в силе
Дата прекращения действия патента: 20.12.2007
Извещение опубликовано: 27.07.2009 БИ: 21/2009
|
|