|
|
(21), (22) Заявка: 2006108885/14, 22.03.2006
(24) Дата начала отсчета срока действия патента:
22.03.2006
(46) Опубликовано: 10.01.2008
(56) Список документов, цитированных в отчете о поиске:
RU 2266144 C2, 20.12.2005. UA 58684 A, 15.08.2003. ХАБАРОВА О.В. Биоэффективные частоты и их связь с собственными частотами живых организмов. – Биомедицинские технологии и радиоэлектроника, 2002, №5, с.56-66. US 5135468 B1, 04.08.1992. MIRANDA DE SA AM et al., Evaluating the entrainment of the alpha rhythm during stroboscopic flash stimulation by means of coherence analysis, Med Eng Phys., 2005 Mar, 27(2): 167-73.
Адрес для переписки:
630097, г.Новосибирск-97, а/я 21, В.В. Скорому
|
(72) Автор(ы):
Афтанас Любомир Иванович (RU), Байдужа Валерий Прокофьевич (RU), Грищук Игорь Владимирович (RU), Морозова Наталья Борисовна (RU), Новопашина Анна Вадимовна (RU), Труфакин Валерий Алексеевич (RU)
(73) Патентообладатель(и):
Общество с ограниченной ответственностью “Научно-производственная медицинская компания “Антистрессовый центр” (RU)
|
(54) СПОСОБ НЕМЕДИКАМЕНТОЗНОЙ КОРРЕКЦИИ ПСИХОЭМОЦИОНАЛЬНОГО, НЕЙРОГОРМОНАЛЬНОГО И ИММУННОГО СТАТУСОВ ЧЕЛОВЕКА
(57) Реферат:
Изобретение относится к медицине и предназначено для немедикаментозной коррекции психоэмоционального, нейрогормонального и иммунного статусов человека. Одновременно используют ритмические когерентные световые, звуковые и вибротактильные воздействия, сформированные в функциональных частотных диапазонах биоэлектрической активности головного мозга человека. Когерентно связанные световые, звуковые и вибротактильные воздействия осуществляются на основе гармонической сетки колебаний, образуемой от базовой частоты путем ее мультипликации. Световое воздействие осуществляется на базовой частоте. Звуковое и вибротактильные воздействия – на базовой частоте и/или ее гармониках. Предлагаемое изобретение позволяет обеспечить комплексное воздействие на организм человека с заранее предсказуемым результатом воздействия на специализированные регулирующие системы головного мозга. 3 з.п. ф-лы, 7 табл., 1 ил.
Изобретение относится к области медицины, а именно к способам немедикаментозной коррекции психосоматического состояния человека, измененного в результате действия острого или хронического эмоционального стресса, и может быть использовано для профилактики и терапии вызванных эмоциональным стрессом патологических состояний.
Известно, что в целом ряде профессий (напр., машинисты локомотивов, пилоты гражданской и военной авиации, оперативные сотрудники силовых структур, менеджеры, руководители среднего и высшего звеньев управления и др.) исполнение профессиональных обязанностей сопряжено с возникновением повышенного психического и эмоционального напряжения, длительное нахождение в которых приводит к формированию состояния эмоционального стресса. В свою очередь, состояния эмоционального стресса характеризуются широким спектром сопутствующих невротических, эмоциональных, психосоматических, нейроиммунных и нейрогормональных нарушений. Одним из основных методов борьбы с последствиями эмоционального стресса является периодическое проведение релаксационных и/или энергизирующих мероприятий, позволяющих за короткий срок полностью восстанавливать психическое и психосоматическое состояние человека. Метод профилактики эмоционального стресса и постстрессорной реабилитации должен быть абсолютно безопасным и не приводить к возникновению эффектов привыкания, психологической, физиологической и в случае медикаментозной коррекции фармакологической зависимости.
Известны способы аудиовизуальной стимуляции [1, 2, 3], сочетающие световое и звуковое воздействия на уши и глаза человека, т.е. комбинацию зрительных стимулов различной интенсивности, частоты и цветности и звуковых стимулов различной интенсивности, частоты и тональности.
Основным недостатком указанных способов является не использование для релаксации человека его кинестетического сенсорного входа, хотя известно, что приблизительно одна треть ствола головного мозга занята переработкой тактильной информации.
Наиболее близким к заявляемому решению является способ постстрессорной реабилитации путем виброакустического восстанавливающего массажа, взятый в качестве прототипа [4], включающий проведение вибромассажа с одновременным воздействие на организм световых и звуковых стимулов переменной интенсивности, получаемых за счет синхронизации указанных воздействий звуковым произведением.
Главным недостатком известного способа является недостаточная эффективность нейрореабилитации, т.к. основным воздействием в известном способе является массаж, а не работа с мозговыми регулирующими системами. Светомузыкальная стимуляция призвана лишь усиливать основной расслабляющий эффект от массажа мышц тела.
Кроме того, за счет неопределенным образом подобранных произведений создаются предпосылки для фактически произвольного воздействия на структуры головного мозга, не учитывающего физиологические частотные особенности ритмики мозговой активности. Это может привести к непредсказуемым эффектам, в том числе и к перевозбуждению отдельных регулирующих систем, т.е. к прямо противоположному, по сравнению с ожидаемым, результату.
Задачей настоящего изобретения является обеспечение комплексного воздействия на организм с заранее предсказуемым результатом воздействия на специализированные регулирующие системы головного мозга.
Указанная задача в способе немедикаментозной коррекции психоэмоционального, нейрогормонального и иммунного статусов человека, заключающемся в одновременном использовании световых, звуковых и вибротактильных воздействий на человека, решена тем, что используют ритмические световые, звуковые и вибротактильные воздействия, сформированные в функциональных частотных диапазонах биоэлектрической активности головного мозга человека, при этом когерентно связанные световые, звуковые и вибротактильные воздействия осуществляются на основе гармонической сетки колебаний, образуемой от единой базовой частоты путем ее мультипликации, причем световое воздействие осуществляется на базовой частоте, а звуковое и вибротактильные воздействия – на базовой частоте и/или гармониках.
Хорошо известно, что изменение активности в различных частотных диапазонах биоэлектрической активности головного мозга человека (0,1-140 Гц) ассоциируется с характерными изменениями (т.е. усилением, ослаблением или оптимизацией) когнитивной деятельности на этапах внимания, восприятия, запоминания и хранения в памяти информации [11, 12, 14], психоэмоционального [5], нейрогормонального, иммунного и нейро-висцерального статусов человека [9, 15]. В свою очередь, направленные изменения ритмики биоэлектрической активности мозга с помощью различных подходов (медитативные техники [7], тренинг в системах биологически обратной связи по показателям электроэнцефалограммы [10], слабые ритмические воздействия на зрительный и слуховой анализаторы [16, 17]), приводят к возникновению запланированных физиологических эффектов в центральной нервной, вегетативной и иммунной системах. В предлагаемом нами способе механизм оптимизирующего воздействия основывается на постулатах резонансной теории деятельности мозга, рассматривающей его ритмическую электрическую активность в различных частотных диапазонах в качестве механизма, обеспечивающего системную организацию мозговой нейродинамики, реализующей процессы переработки информации и кортико-висцеральной интеграции [6, 8, 13, 14]. Слабые ритмические световые, звуковые и вибротактильные воздействия фактически представляют собой мощное средство переключения внимания от внешних источников информации на внутренние. Одновременная мультимодальная стимуляция с изменяющейся частотой прерывистых воздействий вызывает синхронизацию ранее нескоррелированных источников спонтанной ритмики головного мозга, а также выявляет потенциальные осцилляторы с повышенной резонансной активностью [8, 13, 16]. Указанное применение ритмических стимулов в зрительной, слуховой и тактильной модальностях обеспечивает активацию большого числа разнообразных рецепторов, позволяя достигать необходимых эффектов нейротерапии относительно низкими по интенсивности сенсорными стимулами. Присутствие в комплексе воздействий вибротактильной стимуляции в результате активации механорецепторов усиливает резонансный отклик внутренних органов и функциональных систем. В целом, синхронизация стимуляции в зрительной, слуховой и тактильной модальностях путем использования единой частотной сетки создает предпосылки для возникновения когерентного сенсорного резонанса (КСР) в мозговых регулирующих системах с вовлечением таламуса и ретикулярной формации [8, 14, 16]. Эффект КСР достигается путем синхронизации зрительных, слуховых и вибротактильных входов в частотах биоэлектрической активности коры головного мозга, что позволяет получить на выходе переупорядочивание корковых нейронных сетей и ликвидацию обусловленных стрессом очагов “застойного” возбуждения в мозге. В результате возникающего резонанса в нейронных сетях коры больших полушарий и подкорковых образований происходит интеграция эффектов мультимодальных сенсорных воздействий, что приводит к переупорядочиванию мозговых нейронных ансамблей, оптимизации кортико-висцеральных взаимоотношений, синхронизации активности гомеостатических систем, нормализации баланса между ветвями симпатической и парасимпатической нервной системы, снятию психического и соматического напряжения. Эффекты релаксации сопровождаются генерацией ярких зрительных образов и ощущением переживания возникающих положительных эмоций всем телом.
Оптимизацию указанных статусов осуществляют путем предъявления сенсорных воздействий в режиме динамического управления значениями базовой частоты ритмических стимулов постоянной и/или переменной интенсивности в процессе сеанса воздействия. А именно, перед началом каждого сеанса громкость, яркость световых сигналов и интенсивность тактильного раздражения подбирают индивидуально, ориентируясь на индивидуальные пороги восприятия и субъективные ощущения пациента. Управление процессами оптимизации психоэмоционального, нейрогормонального и иммунного статусов осуществляют путем изменения в течение сеанса базовой частоты ритмических воздействий, т.е. девиацией базовой частоты добиваются достижения запланированных эффектов (например, усиление релаксации, снижение уровней тревоги и депрессии, снижение симпатической активации). В ряде случаев производится изменение интенсивности воздействий в процессе сеанса нейрореабилитации.
Оптимизацию указанных статусов осуществляют, ориентируясь на данные субъективной самооценки индивидуума и/или на данные объективных методов оценки его состояния. Т.е. в качестве данных об эффективности прохождения реабилитации пациента могут быть использованы не только показатели субъективного самоотчета, получаемые с помощью специализированных психометрических шкал (самочувствие, профиль переживаемых эмоций, настроение и др.), но и данные объективных методов физиологического и нейрогормонального контроля (показатели вариабельности сердечного ритма и артериального давления, электрического сопротивления или проводимости кожи, электроэнцефалограммы, данные о состоянии активности различных звеньев иммунной системы, показатели нейрогормональной активности).
Для оптимизации психоэмоционального, нейрогормонального и иммунного статусов человека световое воздействие осуществляют на зрительный анализатор, звуковое – на слуховой, а вибротактильное – на тело человека, включая его туловище и конечности, при этом в качестве зон вибротактильного воздействия выбирают дорзальную поверхность тела.
Заявленное техническое решение основано на использовании эффекта КСР, возникающего в результате синхронизации зрительных, слуховых и вибротактильных входов в частотах биоэлектрической активности коры головного мозга, позволяет достигать максимальной эффективности управляющих немедикоментозных нейротерапевтических воздействий, что не имеет аналогов среди известных решений, а значит, соответствует критерию “изобретательский уровень”.
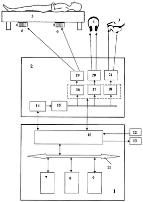
На чертеже приведена блок-схема устройства для одновременного когерентного воздействия на человека светового, звукового и вибротактильного факторов, используемых при реализации заявляемого способа.
Устройство включает: компьютерный блок управления 1, блок формирования сигналов 2, очки с излучателями 3, стереотелефоны 4, виброкушетка 5 с трансдьюссерами 6.
Компьютерный блок управления 1 включает: микропроцессор 7, постоянное запоминающее устройство (ПЗУ) 8, оперативное запоминающее устройство (ОЗУ) 9, устройство ввода-вывода (УВВ) 10, системную шину 11, клавиатуру 12 и индикатор 13.
Блок формирования сигналов 2 включает: управляемый задающий генератор 14, формирователь сетки частот 15, перестраиваемые управляемые частотные фильтры 16-18, выходные усилители 19-21.
Устройство работает следующим образом. Перед началом сеанса, ориентируясь на индивидуальные пороги восприятия и субъективные ощущения пациента, подбирают громкость, яркость световых сигналов и интенсивность тактильного раздражения, задают начальную базовую частоту задающего генератора 14 и девиацию ее изменения во времени, продолжительность сеанса, а также определяют частоты сигналов, воздействующие через очки с излучателями 3, стереотелефоны 4 и трансдьюссеры 6. Вся необходимая для проведения информация о сеансе с клавиатуры 12 заносится в ПЗУ 8 и используется для контроля базовой частоты генератора 14, на основе которой формирователь 15 формирует сетку рабочих частот, которые выделяются полосовыми фильтрами 16-18, усиливаются усилителями 19-21 и поступают на очки с излучателями 3, стереотелефоны 4 и трансдьюссеры 6.
Конкретную реализацию способа рассмотрим на следующих примерах реабилитации.
Пример 1. Пациентка М., 32 года. Диагноз: паническое расстройство в виде эпизодической пароксизмальной тревоги. Сеанс (48 минут) начинается на базовой частоте 12 Гц и продолжается в течение 7 минут, при этом на глаза, через закрытые веки, при помощи очков 3 подаются световые импульсы базовой частоты синхронно в оба глаза. На уши невозможно подавать такие низкие частоты, т.к. нижний порог слышимости обычно находится в интервале 18-20 Гц. Поэтому через телефоны 4 подается бинауральный сигнал (на левое ухо 9-я гармоника базовой частоты – 108 Гц, а на правое 10-я гармоника базовой частоты – 120 Гц, разностная частота которых соответствует основной базовой частоте 12 Гц). Вибровоздействие подается на частоте 6-й гармоники (72 Гц) – торакальная проекция (“грудной трансдьюссер”) и на частоте 7-й гармоники (84 Гц) – ножной трансдьюссер, разностная частота которых тоже соответствует базовой частоте 12 Гц. Затем в процессе сеанса базовая частота на протяжении 10 минут плавно линейно уменьшается до 8 Гц, в течение 7 минут удерживается на этой величине, после чего в течение 7 минут плавно снижается до 6 Гц и удерживается на этом значении в течение 10 минут. В завершение сеанса базовая частота в течение 7 минут плавно возрастает от 6 до 10 Гц. Пациент заканчивает процедуру в состоянии спокойного бодрствования.
Проведено 12 сеансов нейротерапии (3 сеанса в неделю). В результате проведенного курса нейротерапии наблюдается явное улучшение психологического статуса больной – снижение количества панических атак и их интенсивности, снижение уровней ситуативной тревоги, депрессии и алекситимии (табл.1). В нейросоматической сфере наблюдается нормализация сна. А данные динамики вариабельности сердечного ритма (табл.2) свидетельствуют о снижении симпатического тонуса вегетативной нервной системы. Как видно из табл.2, этот эффект нейротерапии достигается за счет повышения активности холинергического и снижения активности симпатического звеньев регуляции.
Табл.1 Психометрические показатели |
| |
До курса нейротерапии |
После 10 сеансов нейротерапии |
| Ситуативная тревожность (STAI) |
48 |
29 |
| Депрессия (BDI) |
22 |
6 |
| Алекситимия – общий уровень (TAS-20) |
68 |
47 |
Табл.2 Вариабельность сердечного ритма (данные спектрального анализа) |
| |
До курса нейротерапии |
После 10 сеансов нейротерапии |
| LF (0.04-0.15 Hz), ms2 |
1470.1 |
1111.4 |
| HF (0.15-0.4 Hz), ms2 |
391.5 |
814.3 |
| LF/HF |
3.76 |
1.37 |
Пример 2. Пациент П., 40 лет. Диагноз: повышенная эмоциональная лабильность вследствие эмоционального стресса, эссенциальная гипертония 1-й степени. Сеанс (40 минут) начинается на базовой частоте 16 Гц, при этом на глаза, через закрытые веки, при помощи очков 3 подаются световые импульсы базовой частоты синхронно в оба глаза. На уши невозможно подавать такие низкие частоты, т.к. нижний порог слышимости обычно находится в интервале 18-20 Гц. Поэтому через телефоны 4 подается бинауральный сигнал (на левое ухо 160 Гц – 10-я гармоника базовой частоты, а на правое 11-я гармоника базовой частоты – 176 Гц, разностная частота которых соответствует основной базовой частоте 16 Гц). Вибровоздействие подается на частоте 11-й гармоники (176 Гц) – торакальная проекция (“грудной трансдьюссер”) и на частоте 12-й (192 Гц) гармоники «ножной трансдьюссер», разностная частота которых соответствует базовой частоте 16 Гц. В процессе сеанса базовая частота в течение 10 минут плавно линейно уменьшается до 8,5 Гц, в течение 5 минут удерживается на этой величине, в течение следующих 10 минут плавно снижается до 4 Гц и удерживается на этом значении в течение 15 минут. Сеанс заканчивается на частоте 4 Гц, в состоянии глубокой нейрорелаксации. У пациента П. на данной базовой частоте в 8 сеансах из 10 состояние глубокой нейрорелаксации переходило в сон.
В результате проведенного курса нейротерапии (всего 10 сеансов, частота – 3 сеанса в неделю) наблюдается улучшение психологического статуса пациента, заключающееся в снижении показателей ситуативной тревожности, депрессии, алекситимии (табл.3). А как видно из табл.4, показатели систолического и диастолического артериального давления (САД и ДАД) демонстрируют отчетливую динамику к нормализации.
Табл.3 Психометрические показатели |
| |
До курса нейротерапии |
После 10 сеансов нейротерапии |
| Ситуативная тревожность (STAI) |
44 |
14 |
| Депрессия (BDI) |
12 |
7 |
| Алекситимия – общий уровень (TAS-20) |
58 |
44 |
Табл.4 Артериальное давление (мм рт. ст.) |
| |
До курса нейротерапии |
После 10 сеансов нейротерапии |
| Систолическое АД |
141 |
123 |
| Диастолическое АД |
90 |
83 |
В нейрогормональной сфере (табл.5), в результате курса нейротерапевтической коррекции, у пациента наблюдается снижение концентраций стресс-реализующих гормонов – кортизола и АКТГ, что является объективным коррелятом снижения психоэмоционального напряжения.
Табл.5 Концентрации гормонов в плазме крови |
| |
До курса нейротерапии |
После 10 сеансов нейротерапии |
| Кортизол (нмоль/л) |
504 |
297 |
| АКТГ (пикограмм/л) |
25 |
23 |
Наконец, по данным нейрофизиологических исследований (64-канальная электроэнцефалография в условиях физиологического покоя и стандартных функциональных проб), в начале курса нейротерапии пациент характеризовался повышенной активацией центрально-теменной области (СР3) левого полушария в альфа-1 (8-10 Гц), альфа-2 (10-12 Гц) и бета-1 (13-18 Гц) частотных диапазонах ЭЭГ, свидетельствующей о наличии патологического очага застойного возбуждения. В результате коррекции нормализация состояния пациента сопровождалась уменьшением левополушарной активации и симметризацией межполушарных взаимоотношений (табл.6).
Табл.6 Индексы асимметрии мощности ЭЭГ в центрально-теменных отведениях (EEG PRH-EEG РLH), |
| |
До курса нейротерапии |
После 10 сеансов нейротерапии |
| Альфа-1 (8-10 Гц) |
-0,293 |
-0,049 |
| Альфа-2 (10-12 Гц) |
-0,233 |
-0,056 |
| Бета-1 (12-18 Гц) |
-0,016 |
-0,039 |
Пример 3. Пациентка К., 49 лет. Диагноз: умеренный депрессивный эпизод с соматическими проявлениями. Пациентка жаловалась на сниженное настроение, интеллектуальную и моторную заторможенность, ангедонию, расстройства сна в виде утренних просыпаний. Сеанс (40 мин) и начинается на базовой частоте 10 Гц. При этом на глаза, через закрытые веки, при помощи очков 3 подаются световые импульсы базовой частоты синхронно в оба глаза. На телефоны 4 подается бинауральный сигнал (на левое ухо – 19-я гармоника базовой частоты (190 Гц), а на правое ухо 20-я гармоника базовой частоты (200 Гц), разностная частота которых соответствует основной базовой частоте – 10 Гц). Вибровоздействие подается на частотах 5-й гармоники (50 Гц) – торакальная проекция (“грудной трансдьюссер”) и на частотах 6-й гармоники (60 Гц) – “ножной трансдьюссер”. В процессе сеанса базовая частота в течение 10 минут плавно линейно уменьшается до 6 Гц, в течение 5 минут удерживается на этой величине, в течение следующих 5 минут плавно повышается до 10,5 Гц и удерживается на этом значении в течение 5 минут. В завершение сеанса базовая частота плавно повышается до частоты 12 Гц в течение 10 минут и поддерживается на этом значении в течение 5 последних минут. Пациент заканчивает сеанс в состоянии активного бодрствования.
Всего проведено 10 сеансов нейротерапии (частота – 3 сеанса в неделю). Начиная с 3-го сеанса, пациентка стала отмечать улучшение настроения, нормализацию сна, повышение психомоторной активности. Показатели уровня депрессии по шкале BDI отчетливо свидетельствуют о положительной клинической динамике: до курса нейротерапии – 27 баллов, после курса – 7 баллов. Курс нейротерапии привел также к оптимизации иммунного статуса, которая заключалась в увеличении общего количества лимфоцитов: Т-лимфоцитов (CD3), Т-хелперов (CD4), цитотоксических киллеров (CD8) и натуральных киллеров (CD16) (табл.7).
Табл.7 Показатели клеточного звена иммунитета (количество клеток) |
| |
До курса нейротерапии |
После 10 сеансов нейротерапии |
| CD3 |
63 |
66 |
| CD4 |
41 |
42 |
| CD8 |
32 |
36 |
| CD16 |
7 |
10 |
| HLA-DR |
13 |
14 |
Для реализации способа использовалось устройство, разработанное на базе серийно выпускаемого фирмой “Innersense” (США) прибора “Sensorium”, предназначенного для аудиальной, визуальной и вибротактильной стимуляции. Прибор дополнительно снабжен программируемым генератором базовой частоты, формирователем сетки частот и управляемыми частотными фильтрами.
Таким образом, как видно из представленных примеров 1-3, заявляемый способ позволяет с высокой эффективностью осуществлять коррекцию психоэмоционального, нейрогормонального и иммунного статусов человека.
Источники информации
1. Патент США №5304112, кл. А61М 21/00,1994 г.
2. Патент США №6443977, кл. A61N 05/06.
3. Патент США №5135468, кл. А61М 21/00, 1992 г.
4. Патент РФ №2229278, кл. А61Н 23/00, А61М 21/00, 2004 г.
5. Афтанас Л.И. Эмоциональное пространство человека: психофизиологический анализ. Новосибирск. Изд-во Сибирского отделения РАМН. 2000.
6. Иваницкий А.М. Синтез информации в ключевых отделах коры как основа субъективных переживаний. Журн. высш. нервн. деят. – 1997. – Т.47. – С.209-225.
7. Aftanas L, Golosheykin S. Impact of regular meditation practice on EEG activity at rest and during evoked negative emotions. – Int. J. Neurosci. – 2005. – V.115. – P.893-909.
8. Basar E., Basar-Eroglu С., Karakas S., Schurmann M. Gamma, alpha, delta and theta oscillations govern cognitive processes. – Int. J. Psychophysiol. – 2001. – V.39. – P.241-248.
9. Davidson R.J., Kabat-Zinn J., Schumacher J., Rosenkranz M., et al. Alterations in brain and immune function produced by mindfulness meditation. Psychosom. Med. – 2003. – V.65. – P.564-570.
10. Egner T, Zech TF, Gruzelier JH. The effects of neurofeedback training on the spectral topography of the electroencephalogram. Clin Neurophysiol. – 2004. – V.115. – P.2452-2460.
11. Klimesch W. EEG alpha and theta oscillations reflect cognitive and memory performance: a review and analysis. Brain Res. Rev. 1999. – V.29. – P.169-195.
12. Lopes da Silva F. Neural mechanisms underlying brain waves: from neural membranes to networks. EEG din. Neurophysiol. – 1991. – V.79. – P.81-93.
13. Lopes da Silva F.H., Pijn J.P., Velis D., Nijssen P.C. Alpha rhythms: noise, dynamics and models. Int. J. Psychophysiol. -1997. – V.26. – P.237-249.
14. Niedermeyer E., Lopes da Silva F. Electroencephalography, Basic Principles, Clinical Applications and Related Fields. Lippincott Williams & Wilkins, 5th edition. – 2004. – 1256 P.
15. Rosenkranz M.A., Jackson D.C., Dalton K.M., Dolski I. et al. Affective style and in vivo immune response: neurobehavioral mechanisms. – 2003. – Proc. Natl. Acad. Sci. USA. – V.100. – P.11148-11152.
16. Salansky N., Fedotchev A., Bondar A. Responses of the nervous system to low frequency stimulation and EEG rhythms: clinical implications. Neurosci. Biobehav. Rev. – 1998. – V.22. – P.395-409.
17. Teplan M, Krakovska A, Stole S. EEG responses to long-term audio-visual stimulation. Int J Psychophysiol. – 2005. – V.59. P.81-90.
Формула изобретения
1. Способ немедикаментозной коррекции психоэмоционального, нейрогормонального и иммунного статусов человека, заключающийся в одновременном использовании световых, звуковых и вибротактильных воздействий на человека, отличающийся тем, что используют ритмические когерентные световые, звуковые и вибротактильные воздействия, сформированные в функциональных частотных диапазонах биоэлектрической активности головного мозга человека, при этом когерентно связанные световые, звуковые и вибротактильные воздействия осуществляются на основе гармонической сетки колебаний, образуемой от базовой частоты путем ее мультипликации, причем световое воздействие осуществляется на базовой частоте, а звуковое и вибротактильные воздействия – на базовой частоте и/или ее гармониках.
2. Способ по п.1, отличающийся тем, что оптимизацию указанных статусов осуществляют путем предъявления сенсорных воздействий в режиме динамического управления значениями базовой частоты ритмических стимулов постоянной и/или переменной интенсивности в процессе сеанса воздействия.
3. Способ по п.1, отличающийся тем, что оптимизацию указанных статусов осуществляют, ориентируясь на субъективные ощущения индивидуума и/или данные объективных методов оценки его состояния.
4. Способ по п.1, отличающийся тем, что световое воздействие осуществляют на зрительный анализатор, звуковые – на слуховой, а вибротатильные – на тело человека, включая его туловище и конечности.
РИСУНКИ
|
|