|
|
(21), (22) Заявка: 2006121300/09, 15.06.2006
(24) Дата начала отсчета срока действия патента:
15.06.2006
(46) Опубликовано: 27.12.2007
(56) Список документов, цитированных в отчете о поиске:
RU 2246168 C1, 10.02.2005. SU 462255 A, 26.06.1975. SU 278836 A, 18.11.1970. RU 2246167 C1, 10.02.2005. RU 2024163 C1, 30.11.1994. RU 2079949 C1, 20.05.1997. DE 3142913 A1, 11.05.1983. ЕР 0660494 A1, 28.06.1995.
Адрес для переписки:
660074, г.Красноярск, ул. Киренского, 26, КГТУ, ПИО
|
(72) Автор(ы):
Встовский Алексей Львович (RU), Головин Михаил Петрович (RU), Полошков Николай Евгеньевич (RU), Головина Людмила Николаевна (RU), Коков Сергей Александрович (RU)
(73) Патентообладатель(и):
Государственное образовательное учреждение высшего профессионального образования Красноярский государственный технический университет (КГТУ) (RU)
|
(54) ТОРЦЕВАЯ ЭЛЕКТРИЧЕСКАЯ МАШИНА
(57) Реферат:
Изобретение относится к области электротехники и электромашиностроения, а именно к конструкциям торцевых асинхронных машин с одним статором и двумя роторами. Технический результат, достигаемый при использовании предлагаемого изобретения, состоит в повышении технологичности изготовления торцевой электрической машины, а также в повышении ее энергетических показателей при одновременном снижении материалоемкости. Данный технический результат достигается тем, что в торцевой электрической машине, которая содержит статор, включающий диск, закрепленный в корпусе, и обмоточные модули, обращенные рабочими поверхностями к соответствующим дискообразным роторам с короткозамкнутыми обмотками, расположенным с двух сторон от статора и установленным в подшипниках качения, согласно изобретению в диске статора выполнены прорези под обмоточные модули, края которых (отгибы) у двух соседних прорезей направлены в одну сторону диска, а у двух следующих прорезей – в противоположную, в которых обмоточные модули размещены таким образом, что между двумя пакетами пластин одного обмоточного модуля расположены по одному пакету пластин двух соседних обмоточных модулей с противоположной стороны диска, кроме того, на диске статора в промежутках между прорезями под обмоточные модули в радиальном направлении выполнены щелевидные прорези, обеспечивающие снижение потерь мощности. 2 ил.
Изобретение относится к электромашиностроению и электротехнике, а именно к конструкции торцевых асинхронных машин с одним статором и двумя роторами.
Известен беспазовый статор электрической машины, описанный в а.с. 278836, кл. Н02К 5/10. В нем, с целью упрощения технологии изготовления, активная часть выполнена в виде обмоточных модулей, состоящих из пакетов, набранных из чередующихся между собой проводников обмотки и отделенных слоем изоляции листовых ферромагнитных элементов и лобовых частей. Пакеты установлены на ярме статора с помощью клиньев, выполненных заодно с ярмом.
Основными недостатками этой конструкции являются низкая технологичность изготовления ярма, обусловленная наличием клиньев, худшие энергетические показатели машины за счет неравномерности активной длины магнитопровода, обусловленной отсутствием фиксации пакетов обмоточных модулей в радиальном направлении.
Известна также торцевая электрическая машина (а.с. №462255, Н02К 17/02), содержащая беспазовый статор, набранный из катушечных групп, остов которого имеет посадочные места для установки в них катушечных групп и два ротора, расположенные по разные стороны статора. Остов статора имеет посадочные места для установки в них катушечных групп.
Существенным недостатком этой конструкции является то, что остов статора является несущим элементом конструкции машины и для обеспечения жесткости и прочности должен иметь значительную массу. Кроме того, в конструкции сложно проконтролировать и обеспечить равенство рабочих воздушных зазоров, сложно реализовать разнесение лобовых частей и их базирование.
Наиболее близкой к заявляемой машине является торцевая электрическая машина (пат. РФ №2246168, МПК7 Н02К 21/24) со статором, закрепленным в корпусе, обращенным рабочими поверхностями к двум дискообразным роторам, установленным на валу в подшипниках качения.
Статор выполнен из двух половин, в каждой из которых выполнена распределенная обмотка в виде обмоточных модулей и ярмо, навитое из стальной ленты, установленных по разные стороны диска статора. На дисках роторов со стороны рабочих поверхностей статора смонтированы постоянные магниты, закрытые полюсными наконечниками.
Основной недостаток этой конструкции – сложность и трудоемкость монтажа обмоточных модулей на ярма дисков статора; большая масса и габариты машины из-за наличия двух ярм статора.
Заявляемое изобретение направлено на решение технической задачи, состоящей в создании машины переменного тока, технологичной в производстве и имеющей повышенные энергетические показатели при меньших габаритах и материалоемкости.
Поставленная задача решается тем, что в торцевой электрической машине, содержащей статор, включающий диск, закрепленный в корпусе, и обмоточные модули, обращенные рабочими поверхностями к соответствующим дискообразным роторам с короткозамкнутыми обмотками, расположенным с двух сторон от статора и установленным в подшипниках качения, согласно изобретению в диске статора выполнены прорези, края которых (отгибы) у двух соседних прорезей направлены в одну сторону диска, а у двух следующих прорезей – в противоположную, в прорезях размещены обмоточные модули так, что между двумя пакетами пластин одного обмоточного модуля расположены по одному пакету пластин двух соседних обмоточных модулей с противоположной стороны диска, кроме того. на диске статора в промежутках между прорезями под обмоточные модули в радиальном направлении выполнены щелевидные прорези.
Технологичность конструкции достигается применением в электрической машине тонкого диска статора с прорезями для размещения обмоточных модулей. В этом случае нет потребности в двух ярмах, выполненных навивкой ленты из электротехнической стали, что уменьшает трудоемкость изготовления статора. Использование в конструкции тонкого диска статора с прорезями резко повышает производительность и качество сборки статора, точность монтажа обмоточных модулей за счет их автоматической базировки в прорезях.
Повышение энергетических показателей машины обусловлено несколькими причинами. Выше КПД машины за счет уменьшения погрешностей углового расположения обмоточных модулей, снижения магнитных потерь из-за отсутствия ярм статора и за счет наличия радиально ориентированных щелевидных прорезей в диске статора, расположенных вне зоны размещения обмоточных модулей. Отсутствие ярм статора приводит к снижению материалоемкости машины и увеличению удельной мощности машины.
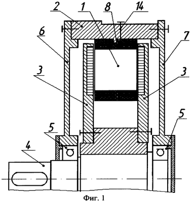
На фиг.1 изображена торцевая электрическая машина, на фиг.2 – фрагмент статора машины.
Торцевая электрическая машина (фиг.1) содержит статор 1, смонтированный в корпусе 2, и два дискообразных ротора 3, закрепленных на валу 4, в подшипниках 5 подшипниковых щитов 6 и 7. Основой статора 1 служит диск 8 (фиг.2) с радиальными прорезями 9, края которых имеют отгибы 10 и 11, отогнутые в направлении зубцов модуля, свободных от обмоток, так что на диске отгибы двух соседних прорезей для модуля направлены в одну сторону, а двух следующих прорезей – в противоположную, и по этому принципу чередуются по окружности. Прорези 9 выполняют роль шаблона для установки обмоточных модулей 12 в статор 1. В прорези 9 обмоточные модули 12 устанавливают так, что между двумя пакетами пластин одного обмоточного модуля расположены по одному пакету пластин двух соседних обмоточных модулей с противоположной стороны диска 8. Отгибы, направленные в противоположные стороны у соседних прорезей, повышают осевую жесткость статора 1. Для уменьшения потерь мощности от вихревых токов в диске 8 выше и ниже зоны размещения пластин обмоточных модулей 12 выполнены в радиальном направлении щелевидные прорези 13. Диск 8 зафиксирован в корпусе винтами 14 (фиг.1).
Машина может работать как в режиме двигателя, так и в режиме генератора (с короткозамкнутым ротором – асинхронная машина, с ротором на постоянных магнитах – синхронная машина).
Машина в режиме асинхронного двигателя работает следующим образом. Ток, протекающий по обмотке статора 1, создает вращающееся магнитное поле, которое индуцирует электродвижущую силу в обмотках роторов 3. При взаимодействии тока ротора с вращающимся магнитным полем создается электромагнитный момент, приводящий роторы во вращение. Частота вращения роторов 3 определяется количеством пар полюсов и частотой питающего напряжения, а способы пуска – общепринятые для асинхронных двигателей.
Принципиальных отличий во взаимодействии основных элементов машины в режимах синхронного двигателя, синхронного и асинхронного генераторов от описанного выше режима нет.
Применение этой конструкции за счет замены диска статора с его ярмами тонким диском статора с прорезями снижает материалоемкость конструкции, трудоемкость сборки статора, одновременно повышая точность углового позиционирования обмоточных модулей, что повышает КПД машины, снижает неравномерность вращения и уровень шума.
Таким образом, технологичность торцевой электрической машины существенно повышена за счет упрощения монтажа обмоточных модулей в статоре, вследствие применения в конструкции тонкого диска статора с прорезями, а повышение КПД влечет улучшение энергетических показателей. Снижена материалоемкость торцевой электрической машины и повышена ее удельная мощность. Указанные преимущества заявляемой машины свидетельствуют о решении поставленной задачи.
Формула изобретения
Торцевая электрическая машина, содержащая статор, включающий диск, закрепленный в корпусе, и обмоточные модули, обращенные рабочими поверхностями к соответствующим дискообразным роторам с короткозамкнутыми обмотками, расположенным с двух сторон от статора и установленным в подшипниках качения, отличающаяся тем, что в диске статора выполнены прорези под обмоточные модули, края которых (отгибы) у двух соседних прорезей направлены в одну сторону диска, а у двух следующих прорезей – в противоположную, в которых обмоточные модули размещены таким образом, что между двумя пакетами пластин одного обмоточного модуля расположены по одному пакету пластин двух соседних обмоточных модулей с противоположной стороны диска, кроме того, на диске статора в промежутках между прорезями под обмоточные модули в радиальном направлении выполнены щелевидные прорези.
РИСУНКИ
|
|