|
|
(21), (22) Заявка: 2006107082/03, 06.03.2006
(24) Дата начала отсчета срока действия патента:
06.03.2006
(30) Конвенционный приоритет:
15.06.2005 (пп.1, 2) BY a20050597
(46) Опубликовано: 20.12.2007
(56) Список документов, цитированных в отчете о поиске:
ЕР 0805243 A3, 05.11.1997. RU 2249660 С2, 10.04.2005. SU 1724837 A1, 07.04.1992. SU 771273 A1, 15.10.1980. GB 1206435 А, 23.09.1970. NL 9001763 А, 02.03.1992. GB 1154478, 11.06.1969. DE 19901428 А1, 28.09.2000. ЕР 0346002 A1, 13.12.1989.
Адрес для переписки:
220050, г.Минск-50, а/я 22
|
(72) Автор(ы):
Голубович Александр Александрович (BY)
(73) Патентообладатель(и):
Голубович Александр Александрович (BY)
|
(54) НЕСУЩИЙ ЭЛЕМЕНТ УСТРОЙСТВА ДЛЯ КРЕПЛЕНИЯ ОБЛИЦОВОЧНЫХ ПЛИТ ФАСАДА ЗДАНИЯ
(57) Реферат:
Несущий элемент устройства для крепления облицовочных плит фасада зданий содержит основание, плоско прилегающее к вертикальному профилю устройства и снабженное, по меньшей мере, одной парой Г-образных зажимов, вырубленных из основания. Одни плечи зажимов направлены перпендикулярно основанию, а другие, расположенные параллельно основанию, направлены в противоположных направлениях относительно друг друга. Между перпендикулярными основанию плечами имеется зазор. Основание выполнено с отверстиями под крепежные элементы. Нижняя часть основания по всей длине снабжена изогнутой из основания перпендикулярной ему полкой для установки на ней концов облицовочных плит и ширина которой является перпендикулярным основанию плечом Г-образных зажимов. Г-образный зажим, параллельное основанию плечо которого направлено в противоположном направлении относительно плеча одного из зажимов, изогнут из свободного конца полки по радиусу 2-3 мм, обеспечивая упомянутый зазор между плечами зажимов, и снабжен дополнительным плечом, вырубленным из основания и параллельным основному плечу и расположенным в одной плоскости с основанием. Технический результат: повышение надежности крепления облицовочной плиты и снижение материалоемкости. 1 з.п. ф-лы, 3 ил.
Изобретение относится к строительству, в частности к устройствам для крепления облицовочных плит на наружной поверхности стен зданий с вентилируемыми фасадами.
Известна конструкция несущего элемента устройства для крепления облицовочных плит вентилируемого фасада, имеющая П-образный профиль, полка которого соединена с вертикальным профилем устройства, а свободные концы сторон имеют отходящие от боковых сторон под углом 90° плечи, между внутренней поверхностью каждого из которых, сопряженной с ней стороной П-образного профиля, и поверхностного вертикального профиля образован зазор для установки в нем концов облицовочных плит. Полка П-образного профиля несущего элемента снабжена лапкой для заглубления в гнездо, выполненное на вертикальном профиле устройства (Патент РБ №7188, аналог – патент России №2249660).
Недостатком известной конструкции является то, что при ее монтаже требуется все технологическое оборудование для пробивки установочных гнезд и отверстий в вертикальном профиле.
Прототипом изобретения является несущий элемент для крепления облицовочных плит фасада зданий, содержащий основание, плоско прилегающее к вертикальному профилю устройства и снабженное, по меньшей мере, одной парой Г-образных зажимов, вырубленных из основания и плечи которых, параллельно расположенные основанию, направлены в противоположном направлении относительно друг друга. Между перпендикулярными основанию плечами зажимов имеется перемычка, являющаяся частью основания несущего элемента и обеспечивающая зазор между зажимами (Проспект фирмы Евро Фоке, с.11, 1999 г., Альбом технических решений систем навесных вентилируемых фасадов “Краспан”, стр.7, Красноярск, 2004). К недостаткам прототипа относится низкая надежность крепления плитки на фасаде здания, поскольку вся масса плиток давит на достаточно узкую перемычку между Г-образными зажимами, которая ограничивает прочность крепления. Размер перемычки определяет размер шва между плитками, и поскольку размер перемычки не менее 5 мм, то шов между плитками достаточно велик, что снижает эстетические качества фасада. Прототип обладает высокой материалоемкостью, а также требует использования высококачественных материалов.
Задачей изобретения является повышение надежности крепления облицовочных плит на фасаде здания, эстетичности облицованного фасада и снижение материалоемкости.
Поставленная задача решается тем, что в несущем элементе устройства для крепления облицовочных плит фасада зданий, содержащем основание, плоско прилегающее к вертикальному профилю устройства и снабженное, по меньшей мере, одной парой Г-образных зажимов, вырубленных из основания, одни плечи которых направлены перпендикулярно основанию, а другие, параллельно расположенные основанию, направлены в противоположных направлениях относительно друг друга, при этом между перпендикулярными основанию плечами имеется зазор и основание снабжено отверстиями под крепежные элементы, согласно изобретению, нижняя часть основания снабжена изогнутой из основания перпендикулярно ему полкой для установки на ней концов облицовочных плит и ширина которой является перпендикулярным основанию плечом Г-образных зажимов, а Г-образный зажим, параллельное основанию плечо которого направлено в противоположном направлении относительно одного из зажимов, изогнут из свободного конца полки по радиусу 2-3 мм, обеспечивая упомянутый зазор между плечами зажимов, и снабжен дополнительным плечом, вырубленным из основания и параллельным основному плечу и расположенным в одной плоскости с основанием.
Предложенная конструкция несущего элемента обладает высокой надежностью крепления облицовочной плитки на фасаде здания за счет того, что края плитки опираются на полку основания и основная нагрузка плитки лежит на концах полки, которые усилены изогнутой частью. И поскольку нагрузку от плиток несет не сам несущий элемент, а в основном усиленные концы полки, то для изготовления несущего элемента можно использовать более легкие сорта стали, в том числе нержавеющей, что снижает его материалоемкость и стоимость. Изогнутые концы полки основания обеспечивают зазор между полками зажимов 2-3 мм, который является расстоянием между плитками и обеспечивает узкий шов, что придает фасаду зданий эстетичность.
Полка снабжена вырезом, отходящим от плеч зажимов под углом на глубину 3-7 мм и снабженным язычком, вырубленным из полки и загнутым под углом 90° в сторону основания.
Вырез полки обеспечивает эстетичность фасада, так как полка при этом не видна, а язычок предотвращает горизонтальное смещение плиток.
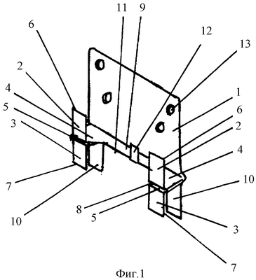
На фиг.1 изображен несущий элемент с двумя парами зажимов, общий вид; фиг.2 – то же с одной парой зажимов; фиг.3 – заготовка для изготовления несущего элемента.
Несущий элемент устройства для крепления облицовочных плит фасада зданий содержит основание 1, плоско прилегающее к вертикальному профилю (не показан) устройства и снабженное, по меньшей мере, одной парой Г-образных зажимов 2, 3, (фиг.2), вырубленных из основания 1. Плечи зажимов 4, 5 направлены перпендикулярно основанию 1, а плечи 6, 7, параллельно расположенные основанию 1, направлены в противоположных направлениях относительно друг друга. Между плечами 4, 5 имеется зазор 8. Нижняя часть основания 1 снабжена изогнутой из основания и перпендикулярной ему полкой 9 для установки на ней концов облицовочных плит. Ширина полки 9 является перпендикулярным основанию 1 плечом 4, 5 зажимов 2, 3. Г-образный зажим 3, параллельное основанию 1, плечо 7 которого направлено в противоположном направлении относительно плеча 6 зажима 2, изогнут из свободного конца полки по радиусу 2-3 мм, обеспечивая зазор 8 между плечами 4, 5, и снабжен дополнительным плечом 10, вырубленным из основания 1 и параллельным плечу 7 и расположенным в одной плоскости с основанием 1. Полка 9 снабжена вырезом 11 (фиг.1), отходящим от плеч 4 под углом на глубину 3-7мм и снабженным язычком 12, вырубленным из полки 9 и загнутым под углом 90° в сторону основания 1. Основание 1 снабжено отверстием 13 под крепежные элементы (не показаны).
Из плоской стальной пластины вырубают за одну операцию основание 1, плечи 4, 5, 6, 7, 10 зажимов 2, 3, вырез 11 и язычок 12, а также отверстия 13 под крепежные элементы. Затем отгибают из основания 1 и перпендикулярно ему полку 9 и перпендикулярно полке 9 отгибают плечи 6, 7, 10 и язычок 12. После чего концы полки 9 с плечами 7, 10 отгибают по радиусу 2-3 мм в противоположном направлении от основания 1 на угол 180° до образования, по меньшей мере, одной пары зажимов 2, 3 (фиг.2) или двух пар зажимов (фиг.1). Между плечами 4, 5 образуется зазор 8 для заделки швов между плитками.
При помощи заклепок основание 1 несущего элемента крепится к вертикальному профилю устройства и на полку 9, и в зажимы 2, 3 устанавливаются противоположные концы облицовочных плит. При необходимости зазор 8 заливают силиконом.
Формула изобретения
1. Несущий элемент устройства для крепления облицовочных плит фасада зданий, содержащий основание, плоско прилегающее к вертикальному профилю устройства и снабженное, по меньшей мере, одной парой Г-образных зажимов, вырубленных из основания, одни плечи которых направлены перпендикулярно основанию, а другие, параллельно расположенные основанию, направлены в противоположных направлениях относительно друг друга, при этом между перпендикулярными основанию плечами имеется зазор и основание снабжено отверстиями под крепежные элементы, отличающийся тем, что нижняя часть основания по всей длине снабжена изогнутой из основания перпендикулярной ему полкой для установки на ней концов облицовочных плит и ширина которой является перпендикулярным основанию плечом Г-образных зажимов, а Г-образный зажим, параллельное основанию плечо которого направлено в противоположном направлении относительно плеча одного из зажимов, изогнут из свободного конца полки по радиусу 2-3 мм, обеспечивая упомянутый зазор между плечами зажимов, и снабжен дополнительным плечом, вырубленным из основания, параллельным основному плечу и расположенным в одной плоскости с основанием.
2. Несущий элемент по п.1, отличающийся тем, что полка снабжена вырезом, отходящим от плеч зажимов под углом на глубину 3-7 мм и снабженным языком, вырубленным из полки и загнутым под углом 90° в сторону основания.
РИСУНКИ
|
|